高层楼宇火灾事故应急应急救援
- 格式:ppt
- 大小:1.04 MB
- 文档页数:60
一、编制目的为有效预防和应对高层楼宇火灾事故,确保人员生命财产安全,提高应急处置能力,特制定本预案。
二、适用范围本预案适用于本区域内所有高层楼宇(10层及以上或高度超过24米的建筑)发生的火灾事故。
三、组织机构及职责1. 成立高层楼宇火灾事故应急指挥部,负责火灾事故的统一指挥、协调和决策。
2. 应急指挥部下设以下工作组:(1)现场指挥组:负责现场指挥、调度和协调各部门、单位开展救援工作。
(2)灭火救援组:负责火灾扑救、人员疏散、伤员救治等工作。
(3)通讯保障组:负责现场通讯联络、信息收集和报送工作。
(4)物资保障组:负责现场物资供应、调配和保障工作。
(5)安全保卫组:负责现场安全保卫、交通管制和秩序维护工作。
(6)后勤保障组:负责现场后勤保障、饮食供应和卫生防疫工作。
四、应急处置流程1. 火灾报警:一旦发现火灾,立即拨打119报警,并通知应急指挥部。
2. 现场指挥:应急指挥部接到报警后,立即启动应急预案,组织相关部门、单位赶赴现场。
3. 人员疏散:现场指挥组根据火灾情况,迅速组织人员疏散,确保人员安全。
4. 灭火救援:灭火救援组根据火灾情况,采取有效措施扑救火灾,并配合现场指挥组进行人员疏散和伤员救治。
5. 伤员救治:现场指挥组组织医疗救护力量,对伤员进行救治。
6. 通讯保障:通讯保障组确保现场通讯联络畅通,及时收集、报送现场信息。
7. 物资保障:物资保障组根据现场需求,调配、供应相关物资。
8. 安全保卫:安全保卫组负责现场安全保卫、交通管制和秩序维护工作。
9. 后勤保障:后勤保障组负责现场后勤保障、饮食供应和卫生防疫工作。
10. 恢复工作:火灾扑灭后,现场指挥组组织相关部门、单位进行现场清理、善后处理等工作。
五、应急演练1. 定期组织高层楼宇火灾事故应急演练,提高应急处置能力。
2. 演练内容包括:火灾报警、人员疏散、灭火救援、伤员救治、通讯保障、物资保障、安全保卫、后勤保障等。
3. 演练结束后,对演练情况进行总结评估,不断完善应急预案。
高楼火灾应急处置预案一、前言高楼火灾是城市化发展中常见的灾害事件,由于高楼的特殊性和人员密集性,一旦发生火灾,可能造成严重后果。
因此,高楼火灾的应急处置成为各大城市管理部门和物业管理公司必须高度重视的工作。
本预案是为了指导高楼火灾应急处置工作,提高高楼火灾应急处置水平, 以最大限度减少火灾造成的人员伤亡和财产损失。
二、预案范围本预案适用于城市中的高楼火灾应急处置工作, 包括高级写字楼、住宅楼、商业大厦等各类高楼。
三、预案内容1. 应急处置组织体系1.1 领导机构:城市应急管理局为高楼火灾应急处置工作的领导机构,负责统一组织、协调、指导和监督。
1.2 应急指挥部:由领导机构设立应急指挥部,主要负责高楼火灾应急处置的具体协调指挥工作。
1.3 应急指挥组:应急指挥组成员由应急指挥部成员组成,负责现场应急处置的指挥工作。
2. 预防措施2.1 消防设施的检查和维护工作,包括消防通道、灭火器、自动喷水系统、疏散通道等设施的定期检查和维护。
2.2 定期开展消防演练,提高高楼内人员的火灾应急逃生能力。
2.3 加强高楼内部的火灾隐患排查和整改,确保消防安全。
3. 应急处置流程3.1 发现火灾隐患或发生火灾,立即拨打119火警电话,同时通知应急指挥部。
3.2 应急指挥部接到报警后,立即调度相关救援力量前往火灾现场。
3.3 救援力量到达火灾现场后,立即展开救援工作,确保人员安全疏散和扑救火灾。
3.4 同时,应急指挥部组织地铁、公交、出租车等交通工具,在确保自身安全的前提下,协助疏散火灾现场的人员。
4. 疏散和救援4.1 发生火灾时,首先要保证人员的安全疏散。
在消防力量赶到之前,要尽最大努力帮助人员疏散,避免人员伤亡。
4.2 对于被困人员,应在第一时间展开救援工作,确保被困人员的安全。
4.3 各类紧急医疗救援力量应随时准备,当火灾造成人员伤亡时,立即展开医疗救援工作。
5. 后续处置5.1 灭火工作:在火灾现场,应立即展开灭火工作,消除火势,避免火势蔓延。
楼宇火灾事故应急处置预案一、前言楼宇火灾事故是一种常见而严重的安全事故,一旦发生火灾事故,将对人员生命财产造成巨大的危害。
因此,针对楼宇火灾事故,及时有效的应急处置预案显得尤为重要。
本预案针对楼宇火灾事故的所有可能情况进行了全面的考虑,旨在最大限度的保障人员生命安全,减少火灾事故造成的财产损失,为楼宇火灾事故的应急处置提供指导。
二、适用范围本预案适用于一切楼宇建筑内的火灾事故,包括但不限于办公楼、商场、酒店、公寓等。
三、应急处置预案1. 组建应急处置小组一旦发生火灾事故,需立即组建应急处置小组,包括消防指挥员、医疗救护人员、现场疏散组织人员等,确保有序的应急处置工作。
2. 火灾事故报警一旦发现火灾,应立即拨打火警电话,同时通知楼宇内所有工作人员及居民,确保所有人员迅速撤离。
3. 疏散逃生在发生火灾事故时,各楼层人员需立即进行紧急疏散逃生,禁止乘坐电梯,需沿着安全疏散通道有序下楼,遵守现场人员指挥。
4. 灭火救援在疏散逃生的同时,消防队员需要迅速到达现场,进行灭火救援工作,同时阻止火势向周围扩散,确保火灾不再蔓延。
5. 伤员救护在火灾事故中,可能会有人员受伤,需及时进行医疗救护,将伤员送往医院接受进一步治疗。
6. 通讯联络在火灾事故中,需要保持良好的通讯联络,及时向相关部门报告火灾情况,及时协调应急处置工作。
7. 疏散点安排在火灾事故中,需提前确定好安全的疏散点,确保所有逃生人员都能够在安全地点得到疏散和安全保障。
8. 事后整理当火灾得到控制后,需要及时对火灾事故现场进行清理和整理工作,保护现场证据,进行火灾事故的调查和分析。
四、预案执行1. 应急处置小组成员需全面掌握预案内容,并定期进行演练,保证能够在火灾事故发生时快速有效的处置。
2. 在火灾事故发生后,应急处置小组成员需立即执行相关预案内容,确保所有人员能够得到有效的保护和救援。
3. 需要及时向相关部门报告火灾事故发生情况,并协助相关部门进行处理和调查工作。
高层建筑失火时抢险救援方案高层建筑失火时的抢险救援方案引言:高层建筑是现代城市的标志性建筑之一,然而,由于其特殊的结构和复杂的环境,一旦发生火灾事故,将给救援工作带来极大的挑战。
因此,制定科学高效的抢险救援方案至关重要。
本文将介绍高层建筑失火时的抢险救援方案,以提高公众对应急自救和救援的意识和能力。
一、快速报警与疏散1. 高效的火灾报警系统快速的火灾报警是确保及时疏散的首要条件。
高层建筑应装备先进的火灾报警系统,包括感烟探测器、感温探测器等。
同时,定期对报警设备进行维护保养,确保其正常运作。
2. 疏散通道的设置与标识高层建筑应合理设置疏散通道,并明确标识出口位置。
可以采用疏散指示标志、应急照明等手段,提高疏散效率。
此外,疏散通道内不得存放杂物,以确保通道畅通无阻。
二、灭火器材的配置与使用1. 定期维护灭火设备高层建筑内应配置灭火器并定期进行维护保养,确保其在需要时能够正常使用。
维护包括清洁、充装、更换零件等。
2. 正确使用灭火器在火灾初期,可能通过使用灭火器将火势控制住。
但使用灭火器时需注意自身安全,正确按照指示进行操作。
同时,不要对着人使用灭火器,以免造成伤害。
三、建立高楼救援队伍1. 培训专业救援人员高层建筑应建立专业的救援队伍,并定期进行培训。
培训内容包括火灾逃生、救助伤员、使用救生绳等。
这样,在火灾发生时,救援队员能迅速采取措施,确保救援工作的及时进行。
2. 加强应急演练定期组织高楼救援演练,提高救援队伍的协同作战能力。
演练内容包括火灾逃生、装备使用等。
通过演练,队员们可以更加熟悉应对火灾的流程和技能。
四、应急避难与救援1. 建立避难区域高层建筑应设立避难区域,以便在火灾发生时提供安全的场所。
避难区域应有足够的通风设施,并保持与外界的联络。
2. 救援方式的选择在火灾发生时,需要根据具体情况选择合适的救援方式。
可以使用灭火器扑灭小火,使用逃生绳等自救工具从窗外逃生,或等待救援人员的到来。
在任何情况下,保持冷静和清晰的头脑都是至关重要的。
高层楼房发生火灾后的应急预案一、前言随着城市化进程的加速,高层楼房在城市建设中占据着重要地位。
但随之而来的是高层楼房发生火灾的风险也大大增加。
一旦高层楼房发生火灾,一旦失去控制,就可能引发大面积灾害,影响到更多的人和财产。
因此,对于高层楼房发生火灾,我们必须提前做好充分的预案,以便及时、科学、有效地应对火灾事件,减少损失,保障人民生命和财产安全。
二、高层楼房火灾预防工作1、建筑设计高层建筑的设计应遵循国家法律法规和相关建筑标准,确保建筑具有防火阻燃性、防火分隔、疏散通道畅通等防火安全要求。
建筑设计人员应根据楼房的高度、使用性质和环境条件等因素,科学合理地设置防火分隔墙、疏散通道、防火门等防火设施,确保火灾发生时人员有足够的时间和空间逃生。
2、火灾自动报警系统高层建筑应安装火灾自动报警系统,确保在火灾初期及时发现火灾,并向消防部门和相关人员报警,以便及时处置火灾。
同时,要定期对火灾报警系统进行检查和维护,确保系统的灵敏性和可靠性。
3、消防设施高层建筑应配备完善的消防设施,包括室内固定灭火装置、消防水源、消防栓、自动喷水灭火系统等。
对于楼房内部的电梯及电梯井、通风管道等容易引发火灾的区域,应设置相应的自动灭火设备,以防止火灾扩散。
4、消防演练和培训高层建筑的业主、物业管理人员和住户应定期组织消防演练和培训,掌握基本的消防知识和技能,提高自救和互救能力。
特别是在楼房内部设置有易燃易爆物品的区域,应加强消防演练和培训,做好防范火灾的准备工作。
以上是高层楼房火灾预防工作的基本措施,只有加强预防工作,才能有效预防和减少高层楼房火灾的发生。
三、高层楼房火灾应急预案1、火灾初期处置一旦高层楼房发生火灾,应立即启动火灾应急预案,迅速组织扑救力量和疏散人员。
首先要确保火灾自动报警系统正常运行,向消防部门和相关人员报警,并启动消防设备。
同时,要组织楼房内部的人员尽快疏散到安全区域,并避免使用电梯,以免被困。
2、火灾扑救和控制一旦火灾发生,应立即向消防部门报告火灾情况,并全力扑救火灾。
一、编制目的为了确保高楼发生火灾时能够迅速、有效地进行应急救援,最大限度地减少人员伤亡和财产损失,保障人民群众的生命财产安全,特制定本预案。
二、适用范围本预案适用于所有高层建筑、住宅小区、办公楼、商场等高楼火灾事故的应急救援。
三、组织机构及职责1. 成立高楼火灾应急事故指挥部,由政府相关部门负责人担任指挥长,下设现场指挥组、灭火救援组、医疗救护组、疏散引导组、后勤保障组、信息宣传组等。
2. 各组职责如下:(1)现场指挥组:负责火灾现场指挥调度,确保应急救援工作有序进行。
(2)灭火救援组:负责火灾扑救、灭火器材使用、水源调度等工作。
(3)医疗救护组:负责火灾现场伤员的救治、转运等工作。
(4)疏散引导组:负责组织火灾现场人员疏散,确保疏散通道畅通。
(5)后勤保障组:负责应急救援物资的调配、运输、分发等工作。
(6)信息宣传组:负责收集、整理、发布火灾现场相关信息,及时向公众通报火灾事故进展。
四、火灾事故预防1. 定期对高楼进行消防安全检查,发现隐患及时整改。
2. 加强消防安全宣传教育,提高居民、员工的消防安全意识。
3. 定期组织消防安全演练,提高应急救援能力。
五、火灾事故应急响应1. 火灾报警(1)一旦发生火灾,立即启动火灾报警系统,确保火灾信息及时传递。
(2)报警内容包括火灾发生时间、地点、火势、被困人员情况等。
2. 应急响应(1)接到火灾报警后,立即启动本预案,启动应急响应程序。
(2)现场指挥组迅速到达火灾现场,组织灭火救援、医疗救护、疏散引导等工作。
3. 灭火救援(1)灭火救援组根据火灾情况,迅速采取灭火措施,确保火势得到控制。
(2)对被困人员实施救援,确保被困人员安全。
4. 疏散引导(1)疏散引导组组织火灾现场人员按照预定疏散路线迅速撤离。
(2)确保疏散通道畅通,防止人员拥挤、踩踏事故发生。
5. 医疗救护(1)医疗救护组对火灾现场伤员进行救治,确保伤员生命安全。
(2)对重伤员进行紧急转运,确保伤员得到及时救治。
高楼火灾应急救援预案
1. 背景
高楼火灾是城市中一种常见的紧急事件,可能导致人员伤亡和财产损失。
为了有效应对高楼火灾,制定一份应急救援预案是至关重要的。
2. 目标
本预案的目标是保障高楼火灾发生时人员的生命安全并尽快控制火势,最大限度减少火灾造成的损失。
3. 预案内容
3.1 火灾报警
一旦发现火灾,任何人都应立即触动火灾报警设备,并同时通知管理人员和应急救援队。
确保报警信息传达准确和及时。
3.2 疏散和人员安全
立即启动高楼内的疏散程序,确保所有人员安全撤离。
疏散过程中,遵循规定的疏散路线和出口,不要使用电梯。
残疾人和孕妇等特殊人群需要特别照顾和协助。
3.3 灭火和控制火势
尽快组织专业消防队进行灭火和控制火势。
在等待消防队抵达之前,可以使用紧急灭火器进行初期扑救,但要确保自身安全。
3.4 救援和应急资源
及时调动相关救援和应急资源,包括救护车、医疗人员和专业救援队伍。
提供急救和医疗服务给受伤人员,并确保安全隐患得到排除。
3.5 媒体和公众沟通
在火灾发生后,及时向媒体和公众发布相关信息,防止谣言扩散,保持透明和开放的沟通。
4. 预案演练和改进
为了确保高楼火灾应急救援预案的有效性,定期进行预案演练,并根据演练结果改进预案内容和操作流程。
5. 完成审核
本预案由相关部门进行审核并确认,确保其符合现行法规和标准。
---
以上为《高楼火灾应急救援预案》的内容概要,该预案旨在提
供应对高楼火灾的指导和规范行动,促进高楼火灾救援工作的有效
开展。
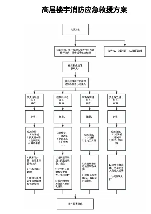
高层楼宇消防应急救援方案
火情发生
灭火行动组
组长:
电话:
组员:
应急物资:
1.对讲机
2.灭火器水带
3.防烟面具
4.隔热手套1.使用灭火器、消防水箱扑救火灾
2.分离现场可燃物
3.研判火势是否扩大并随时报告总指挥
初起火情,第一发现人就近用灭火器
进行灭火,报告现场值班经理
报告物业经理
联系人:
物业经理担任总指挥
通知各应急小组集合
疏散引导组
组长
电话:
组员:
应急物资:
1.对讲机
2.防烟面具
3.扩音器
1.组织引导现
场人员迅速疏
散、逃生
2.使用扩音器
提醒突发事
件,引导疏散
3.随时向总指
挥报告其他突
发情况
火势大,立即拨打119,组织疏散
安全保卫组
组长:
电话
组员:
应急物资:
1.对讲机
2.警戒线
3.围栏、雪糕
筒
1.现场拉警戒
线,防止无关
人员进入现场
2.劝离围观人
群
事件处置结束
1.负责现场水
电供应后勤保
障
2.根据总指挥
指示,做好某
区域断电
应急物资:
1.对讲机
2.水电工具箱
后勤保障组
组长:
电话:
组员:。
一、预案背景随着城市化进程的加快,高层建筑数量不断增加,火灾事故也时有发生。
为有效应对高层建筑火灾事故,最大限度地减少人员伤亡和财产损失,保障人民群众的生命财产安全,特制定本预案。
二、预案目标1. 提高火灾事故应急处置能力,确保火灾事故得到及时、有效处置。
2. 建立健全火灾事故应急救援体系,确保应急救援工作有序开展。
3. 强化各部门、各单位的应急救援协作,提高整体应急救援水平。
三、预案适用范围本预案适用于全市各类高层建筑火灾事故的应急救援工作。
四、组织机构及职责1. 成立高层建筑火灾应急救援指挥部,负责火灾事故的应急处置和协调指挥。
2. 指挥部下设以下工作小组:(1)现场指挥组:负责现场指挥、调度、协调工作。
(2)灭火救援组:负责火灾扑救、人员疏散、伤员救治等工作。
(3)安全保障组:负责现场安全、交通管制、警戒封锁等工作。
(4)信息宣传组:负责事故信息发布、舆论引导、新闻报道等工作。
(5)后勤保障组:负责应急救援物资、装备、车辆保障等工作。
五、应急处置流程1. 火灾事故发生后,现场指挥组立即向指挥部报告事故情况。
2. 指挥部根据事故情况,启动应急预案,通知各工作小组到位。
3. 灭火救援组迅速开展火灾扑救、人员疏散、伤员救治等工作。
4. 安全保障组对现场进行警戒封锁,确保现场安全。
5. 信息宣传组及时发布事故信息,做好舆论引导和新闻报道。
6. 后勤保障组提供应急救援物资、装备、车辆保障。
7. 火灾事故得到有效控制后,指挥部组织各部门、各单位进行现场清理和善后处置。
六、保障措施1. 加强应急救援队伍建设,提高队伍综合素质。
2. 完善应急救援物资、装备储备,确保应急救援工作需要。
3. 加强应急救援演练,提高应急处置能力。
4. 加强消防安全宣传教育,提高全民消防安全意识。
5. 加强与相关部门、单位的协作,形成应急救援合力。
七、附则1. 本预案自发布之日起实施。
2. 本预案由高层建筑火灾应急救援指挥部负责解释。
高楼失火应急要点
高楼失火是一种紧急情况,需要迅速采取措施来保障人员的安全和尽量减少财产损失。
以下是高楼失火应急的要点:
1.保持冷静:在发现火灾时,保持冷静是最重要的一步,迅速评估火势情况,并作出正确的决策。
2.立即报警:第一时间拨打火警电话,向消防部门报告火灾,提供详细的位置、情况和人员伤亡情况。
3.安全撤离:如果火势可控,根据逃生路线图或标示迅速撤离楼层。
如果火势较大,应立即采取逃生措施,按照逃生楼梯和紧急疏散路线有序撤离。
4.注意防烟:在逃生过程中,如果遇到烟雾,应用湿布遮住口鼻以防止吸入有毒烟雾。
5.助人自救:在逃生过程中,有能力的人员应帮助老人、孩子和有特殊需求者尽快撤离。
6.不乘电梯:在火灾事故中,电梯常常会停电或发生故障,千万不要乘坐电梯逃生。
7.湿毛巾包裹头部:火场蔓延时,烟雾密度较大,为尽量减少吸入有毒气体的量,可湿毛巾包裹头部。
8.关好门窗:逃离火场时,要尽量关好门窗,以防止火势蔓延。
9.不返回火场:一旦安全撤离,千万不能返回火场,等待消防人员进行救援。
10.等待救援:在安全区域等待消防人员的救援,遵守指挥人员的指示。
以上是高楼失火应急的要点,希望能对你有所帮助。
但请注意,实际情况可能会因场景、地点和环境等因素而有所不同,建议在火灾前就对逃生路线和应急措施进行了解和演练。
火灾现场突发情况如何应对高楼大厦火灾火灾是一种严重的灾害事故,尤其在高楼大厦中,火灾的危害性更加严重。
高楼大厦火灾往往伴随着较多人员和复杂的环境,因此在火灾现场应对突发情况尤为重要。
本文将阐述高楼大厦火灾现场突发情况的应对方法。
1. 快速报警火灾发生时,最先要做的是迅速报警。
在高楼大厦中,火灾往往难以察觉,因此应设立多个火灾报警器,以便在火灾发生时能够迅速发出警报。
同时,每层楼都应配备火灾报警按钮,方便人们在发现火灾时立即触发报警。
2. 疏散人员火灾发生后,疏散人员是最重要的任务之一。
高楼大厦中,人员众多,因此应建立完善的疏散通道和逃生楼梯。
在发生火灾时,人们应尽快远离火源,遵循疏散标志指示,按照疏散通道有序撤离。
3. 指导人员在火灾现场,应设立专门的人员进行指导和疏导。
这些人员应接受过专业培训,熟悉火灾现场的应对流程和安全规定。
他们应在火灾发生时,迅速组织人员疏散,并提醒人们不要乱跑、乱推,以免造成踩踏事故。
4. 灭火器材使用在高楼大厦中,灭火器材的使用至关重要。
在火灾发生时,人们应了解并掌握使用灭火器材的方法。
在实际操作中,应瞄准火源,将灭火器材喷向最旺盛的火焰部位,并在喷射时保持足够的距离,避免高温对自身构成危险。
5. 善用消防设备高楼大厦中应设有灭火器、灭火栓等消防设备。
在火灾现场,人们应善用这些设备,并遵循正确的操作方法。
例如,当火势较小时,可以使用灭火器直接扑灭火源;当火势较大时,应寻找灭火栓和消防设备的指示牌,及时联通消防水源进行扑救。
6. 保护逃生路线畅通火灾发生时,逃生路线的通畅至关重要。
因此,在高楼大厦中,应将易燃物品妥善存放,尽量减少火势蔓延的可能性。
同时,定期检查和维护逃生通道,确保其畅通无阻。
7. 组织应急疏散演练高楼大厦中的火灾应急疏散演练是非常必要的。
通过定期组织演练,可以提高人们的应对能力和逃生技巧。
演练应模拟真实的火灾场景,让人们在实际操作中掌握正确的逃生方法,并增加应对突发情况的应变能力。
高楼大厦火灾应急处置方法高楼大厦火灾应急处置方法在高楼大厦火灾发生时,迅速有效的应急处置是保障人员生命安全的关键。
以下是一些常用的高楼大厦火灾应急处置方法,供参考。
1. 急救与报警:火灾发生时,第一时间要及时拨打火警电话,向消防部门报警,同时通知大楼内的住户和工作人员。
如有人员受伤,要立即进行急救措施,如止血、人工呼吸等。
2. 疏散人员:火灾发生时,要迅速疏散人员。
首先利用广播、喇叭等工具向内外大声呼救,引导人员使用楼梯疏散,不得乘坐电梯。
要注意不要推挤、踩踏,保持队形,有序疏散。
同时,要尽量帮助年幼、老弱、残疾人员疏散。
3. 封闭房门:在疏散过程中,要尽量封闭房门,以防止火势扩大和烟气蔓延。
封闭门窗可以有效减少火势蔓延速度,保护逃生通道的畅通,同时也有利于消防人员灭火和营救。
4. 使用隔热层:如果疏散途中已经出现无法通行的火势或浓烟,继续向上疏散可能引发更大的危险,此时可以使用隔热层等设施避免烟雾毒气直接进入呼吸系统,可靠的隔热层可以帮助人员逃生或等待救援。
5. 消防器材的使用:在火灾发生时,如果周围没有明火,并且距离消防器材不远,可以考虑使用灭火器、灭火器等手持消防工具进行初期灭火。
但在使用消防器材时要注意避开火源和烟雾,保持合理距离,并按照使用方法正确操作。
6. 接受救援:当疏散途中出现困难或遇到无法脱险的情况时,要及时向消防人员、救援人员反映情况,积极配合救援人员进行营救。
不要慌张或盲目行动,要坚信救援人员会尽快赶到。
7. 遵循消防通道:高楼大厦内部通常都设有应急疏散通道和安全出口,疏散时要遵循密闭通道,不要乱闯乱窜。
紧急情况下,喊叫求救是最有效的方式。
8. 阻断电源:火灾发生时,要尽量阻断电源,避免火灾蔓延。
如果是飞机燃料、气体泄露等易燃物质引起的火灾,要立即关闭相关设备和管道。
以上是一些常用的高楼大厦火灾应急处置方法。
然而,最重要的是平时加强火灾预防措施,定期检查消防设施、疏散通道和灭火器材的运行情况,培训员工和住户的火灾应急知识和技能,提高火灾防范和逃生自救能力。
高楼失火应急要点
高楼失火是一种紧急情况,需要立即采取行动来确保人员的安全。
以下是高楼失火的应急要点:
1.立即报警:一旦发现高楼失火,应立即拨打火警电话,向消防部门报告火情,并提供准确的地址和火灾情况描述。
2.组织人员疏散:发生火灾后,应迅速组织人员疏散。
在高楼内,使用楼内的警报系统或者互联网进行广播通知,并指定逃生路线。
尽量避免使用电梯,而要选择楼梯逃生。
3.保持冷静:在疏散过程中,要保持冷静,按照疏散路线行动。
不要慌乱推挤,以免引发更多的危险。
4.关好门窗:在离开房间时,确保关闭门窗,以阻止火势蔓延,减少烟雾进入通道。
5.呼吸低缺氧、少烟尘的空气:佩戴口罩或用湿毛巾捂住口鼻,以防吸入烟尘。
如果烟雾过于浓厚,建议贴着墙壁摸索前进,以找到通风口。
6.滚到地面:如果发现自己的衣服起火,应尽量迅速躺倒在地上,用湿毛巾或滚动来熄灭火焰。
7.避免开启热门:在长时间失火后,门把手是极热的,所以不要开门超过界限线。
可以用湿毛巾堵住门缝,以减少烟雾进入和阻止火蔓延。
8.等待救援:在无法逃生的情况下,要尽量找到安全的地方隐蔽起来,并用湿毛巾堵住通风口,等待救援人员的到来。
以上是高楼失火的应急要点,希望能够对您有所帮助。
同时,还建议您平时多关注消防知识和逃生训练,以便在紧急情况下能够更加冷静应对。
一、预案背景随着城市化进程的加快,高层住宅小区越来越多,火灾事故也时有发生。
为提高小区居民消防安全意识,确保在火灾发生时能够迅速、有效地进行应急救援,减少人员伤亡和财产损失,特制定本预案。
二、预案目标1. 确保火灾发生时,能够迅速启动应急救援机制。
2. 最大限度地减少火灾对人员生命和财产安全的威胁。
3. 提高小区居民的消防安全意识和自救互救能力。
三、组织机构及职责1. 应急救援指挥部- 指挥长:小区物业总经理- 副指挥长:小区物业副总经理、消防负责人- 成员:各部门负责人、消防队员、安保人员等职责:负责火灾应急救援工作的全面指挥和协调。
2. 现场救援组- 组长:消防负责人- 成员:消防队员、安保人员、志愿者等职责:负责火灾现场的扑救、人员疏散、伤员救治等工作。
3. 通讯联络组- 组长:物业客服部经理- 成员:客服人员、志愿者等职责:负责与外界联络,确保应急救援信息的畅通。
4. 后勤保障组- 组长:物业后勤部经理- 成员:后勤人员、志愿者等职责:负责应急救援所需的物资保障、现场秩序维护等工作。
5. 医疗救护组- 组长:物业医疗室负责人- 成员:医护人员、志愿者等职责:负责火灾现场的伤员救治和转运。
四、应急救援流程1. 火灾报警- 发生火灾时,现场人员立即拨打119报警,并告知火灾位置、火势情况等。
- 通讯联络组立即启动应急预案,通知应急救援指挥部。
2. 现场扑救- 现场救援组立即组织人员使用灭火器材进行初期灭火。
- 消防队到达现场后,协助进行火灾扑救。
3. 人员疏散- 通讯联络组通过广播、喊话等方式,通知居民进行紧急疏散。
- 现场救援组协助居民有序疏散,确保不发生踩踏事故。
4. 伤员救治- 医疗救护组对受伤人员进行现场救治,并将伤员转运至医院。
5. 现场清理- 火灾扑灭后,现场救援组对火灾现场进行清理,确保无遗留火种。
6. 善后处理- 后勤保障组对受灾居民进行安抚,协助其恢复正常生活。
- 应急救援指挥部组织调查火灾原因,总结经验教训。
高楼失火应急要点范本一、立即报警,通知消防部门高楼失火发生后,第一时间要立即拨打火警电话,通知消防部门。
迅速准确地告知火警地点、楼层和情况,以便消防部门能够及时派遣相应的人员和装备前往扑灭火势。
二、迅速疏散人员高楼失火时,应立即开始疏散楼内人员。
首先要保持冷静,不要恐慌,按照预定的疏散路线和指示进行有序的撤离。
遇到浓烟和高温时,应用湿毛巾捂住口鼻,并尽量蹲低身体前进,以减少吸入有害物质的机会。
三、关闭电闸与门窗在疏散的过程中,应尽量关闭电闸和门窗,以防火势蔓延和空气流通导致火势加剧。
关闭电闸可避免短路引发更严重的火灾,关闭门窗能够减少供氧,阻止火势蔓延。
四、逃生时避免使用电梯高楼失火时,切勿使用电梯逃生。
因为电梯在火灾时容易出现故障,而且电梯井是火势传播的通道,可能会受到火灾烟气的侵袭。
因此,应选择安全的楼梯进行逃生。
五、湿毛巾捂住口鼻在逃生过程中,遇到浓烟和有害气体时应将湿毛巾捂住口鼻。
湿毛巾能够过滤部分有害物质,减少吸入的烟雾和热气,保护呼吸道和肺部免受伤害。
六、保持低姿势前进在有烟的环境中,应尽量保持低姿势前进。
因为烟雾通常较浓重的部分在较高的位置,所以低姿势有助于减少吸入有害物质的机会。
蹲低身体前进,有助于呼吸的畅通,提高生存能力。
七、避免冲进火源在逃生过程中,切勿冲进火源。
火势蔓延迅猛,火源周围的温度极高,冲进火源区域有可能导致被火焰直接伤害,甚至引发爆炸等更严重的事故。
八、寻找避难场所疏散时,应尽量寻找安全、开阔的地方作为避难场所。
避免靠近其他建筑物、易燃易爆物品等潜在危险物。
避难场所应远离火源,以确保人身安全。
九、等待救援在疏散到安全地点后,应等待消防部门和救援人员的到来。
不要贸然返回火灾现场,以免陷入更危险的境地。
应听从专业救援人员的指示,主动配合救援工作。
十、避免过度惊慌在高楼失火的紧急情况下,很容易产生惊慌情绪。
但惊慌并不能解决问题,反而会让自己陷入更大的危险中。
面对火灾,要保持冷静,按照预案和指示进行相应的处置,正确应对突发状况。
一、预案概述为确保高层住宅火灾事故的快速、有效处置,最大限度地减少人员伤亡和财产损失,特制定本预案。
本预案适用于高层住宅发生火灾时的应急处置工作。
二、组织机构及职责1. 成立高层住宅火灾应急处置指挥部,负责火灾应急处置工作的统一领导和指挥。
2. 指挥部下设以下工作组:(1)现场救援组:负责火灾现场人员搜救、受伤人员救治、物资供应等工作。
(2)疏散引导组:负责组织火灾现场及周边区域人员疏散,确保人员安全。
(3)灭火救援组:负责火灾现场灭火救援工作,包括消防车辆、人员、物资调度。
(4)通讯联络组:负责现场信息收集、上报,确保信息畅通。
(5)后勤保障组:负责火灾现场物资供应、生活保障等工作。
三、应急处置流程1. 火灾发生初期,现场人员应立即报警,并迅速采取自救措施,如使用灭火器、消防栓等进行初期灭火。
2. 疏散引导组接到报警后,应立即启动应急预案,组织火灾现场及周边区域人员疏散,确保人员安全。
3. 现场救援组接到报警后,迅速赶赴现场,开展人员搜救、受伤人员救治等工作。
4. 灭火救援组接到报警后,立即出动消防车辆、人员、物资,迅速开展灭火救援工作。
5. 通讯联络组负责收集现场信息,及时上报指挥部,确保信息畅通。
6. 后勤保障组负责火灾现场物资供应、生活保障等工作。
四、应急响应等级1. 一级响应:火灾现场火势较大,威胁到人员生命安全,需紧急处置。
2. 二级响应:火灾现场火势较小,但可能对周边区域造成一定影响,需及时处置。
3. 三级响应:火灾现场火势较小,影响较小,需及时处置。
五、应急保障措施1. 加强消防设施建设,确保高层住宅消防设施完好、有效。
2. 定期开展消防安全培训,提高居民消防安全意识。
3. 加强消防队伍建设,提高消防队伍灭火救援能力。
4. 建立健全火灾应急预案,定期组织应急演练。
5. 加强与周边单位、部门的沟通协作,形成合力。
六、预案修订与实施1. 本预案由高层住宅火灾应急处置指挥部负责修订。
2. 本预案自发布之日起实施,如遇重大变更,应及时修订并重新发布。
小区高层起火应急救援预案一、预案目的为确保小区居民的生命财产安全,提高小区应对火灾等突发事件的能力,依据《中华人民共和国消防法》、《中华人民共和国突发事件应对法》等法律法规,结合小区实际情况,制定本预案。
二、预案适用范围本预案适用于小区内高层建筑发生火灾等突发事件的应急救援工作。
三、预案原则1. 生命至上,安全第一。
确保居民生命安全和财产安全,把损失降到最低。
2. 快速反应,协同配合。
各部门、各单位要迅速行动,协同配合,形成合力。
3. 科学处置,规范操作。
严格按照火灾应急救援预案和相关规定,确保救援工作有序、高效进行。
4. 预防为主,综合治理。
加强消防安全宣传教育,提高居民消防安全意识,消除火灾隐患。
四、组织架构1. 成立应急救援指挥部,由小区物业公司经理担任指挥长,消防、安保、物业服务中心等部门负责人为成员。
负责组织、指挥火灾应急救援工作。
2. 设立应急救援小组,包括灭火行动组、疏散引导组、医疗救护组、后勤保障组、信息报道组等,分别负责灭火、疏散引导、医疗救护、后勤保障和信息报道等工作。
五、应急响应流程1. 火灾发生时,第一时间拨打119报警电话,报告火警。
2. 应急救援指挥部立即启动应急预案,组织应急救援小组展开救援。
3. 灭火行动组立即启动消防设施,进行初期灭火,同时对火源进行封控。
4. 疏散引导组负责组织居民迅速、有序地撤离火灾现场,防止人员伤亡。
5. 医疗救护组负责对受伤人员实施紧急救治,并迅速送往医院。
6. 后勤保障组负责提供救援所需的物资、设备、车辆等保障。
7. 信息报道组负责及时向上级部门和居民通报火灾救援情况,回应社会关切。
8. 火灾扑灭后,应急救援指挥部组织相关部门进行现场处理,查明火灾原因,消除火灾隐患。
六、后期处置1. 对火灾事故进行调查,总结经验教训,提出整改措施。
2. 对参与火灾救援的人员进行表彰和奖励。
3. 加强消防安全宣传教育,提高居民消防安全意识。
4. 定期组织消防演练,提高小区应对火灾的能力。