地产营销部组织架构与职务说明书
- 格式:doc
- 大小:90.00 KB
- 文档页数:8
房地产营销团队组织架构及岗位职责本文档旨在介绍房地产营销团队的组织架构和各岗位职责,以便更有效地管理和协调团队成员之间的工作。
组织架构房地产营销团队的组织架构应根据具体情况灵活设定,但通常包括以下职位和层级:1. 营销团队负责人(经理或总监级别):负责整个团队的运营和管理,包括制定战略计划、安排资源、监督团队成员的工作等。
营销团队负责人(经理或总监级别):负责整个团队的运营和管理,包括制定战略计划、安排资源、监督团队成员的工作等。
2. 市场调研专员:负责对目标市场进行调研和分析,包括消费者需求、竞争对手情况等,以帮助制定有效的营销策略。
市场调研专员:负责对目标市场进行调研和分析,包括消费者需求、竞争对手情况等,以帮助制定有效的营销策略。
3. 销售代表:负责与客户进行沟通,推销房地产项目并促成交易。
他们需要具备良好的沟通能力和销售技巧,能够有效地与潜在客户建立关系并推动销售。
销售代表:负责与客户进行沟通,推销房地产项目并促成交易。
他们需要具备良好的沟通能力和销售技巧,能够有效地与潜在客户建立关系并推动销售。
4. 市场推广专员:负责制定和执行市场推广活动,包括广告、宣传、品牌推广等。
他们需要具备市场营销策略的知识和创意,以吸引目标客户并提高品牌知名度。
市场推广专员:负责制定和执行市场推广活动,包括广告、宣传、品牌推广等。
他们需要具备市场营销策略的知识和创意,以吸引目标客户并提高品牌知名度。
5. 客户关系经理:负责与现有客户保持联系并维护良好的客户关系。
他们需要及时回复客户的咨询和投诉,并确保客户满意度的提高。
客户关系经理:负责与现有客户保持联系并维护良好的客户关系。
他们需要及时回复客户的咨询和投诉,并确保客户满意度的提高。
6. 数据分析师:负责收集、分析和解读市场数据,为团队提供决策支持。
他们需要具备数据分析和统计技能,以便提供准确的市场趋势和预测报告。
数据分析师:负责收集、分析和解读市场数据,为团队提供决策支持。
房地产销售部人员架构及岗位职责第1篇:房地产销售部人员架构及岗位职责销售部人员架构及岗位职责一、人员架构二、岗位职责1、销售部经理岗位职责:⌝负责楼盘的及与销售有关的管理、协调和监督工作。
⌝根据楼市情况,制定完善的销售计划(年度、月度销售计划)⌝参与制作调整销售策划报告,及时收集反馈与报告有关的信息。
⌝随时掌握销售进展情况。
⌝负责制定价格体系,并根据销售计划及销售进展情况,及时调整楼盘价格,付款方式和优惠方式。
⌝负责销售回款的监督和管理。
⌝组织销售推广例会(周会,月会及阶段性会议),为营销策略的调整提供依据。
⌝制定培训计划,定期组织销售人员的业务培训和考核,不断提高销售人员的业务素质。
⌝在带领销售人员努力完成销售任务的情况下,广泛收集房地产的有关信息,敏锐分析市场,定期向公司汇报。
⌝搞好销售部的管理,调动员工积极性,突出团队的协作精神。
⌝处理好客户投诉。
⌝负责与公司其他部门的沟通与协调,以便对项目的销售作出及时的调整。
⌝随时完成公司下达的临时性任务。
2、销售部主管岗位职责:⌝及时对项目的销售进行汇总和统计,以保证楼盘销售信息(日报、周报、月报)的准确上报。
⌝认真作好项目资料数据库的建立和管理工作。
⌝负责对销售人员楼款的催缴款工作进行监督,并及时与财务部对接。
⌝负责销售人员每月的提成上报工作。
⌝负责每天晨会的召开,和售楼部日常工作的安排。
⌝每周轮休和每天值日的安排。
⌝定期向上级反映各阶段各个置业顾问的工作状态,和需要解决的问题。
⌝作好订购协议,购买合同及附件,两书的补给和管理。
⌝及时解决客户的简单疑问及投诉。
⌝处理好客户的变更要求,做好协调跟进。
⌝始终坚持在公司利益不受损害的前提下,让客户得到最大的满意。
⌝随时完成上级交办的临时性任务。
3、置业顾问岗位职责:⌝在销售主管的带领下,积极完成销售任务。
⌝随时作好现场来电、来访的客户接待和讲解工作。
⌝严格遵守公司的各项规章制度,时刻体现出公司优秀的企业文化。
房地产营销部组织架构及岗位职责一、组织架构1.部门经理:负责整个房地产营销部门的管理和决策,并与其他部门协调合作,制定销售目标和策略。
2.销售经理:负责领导销售团队,制定销售计划和目标,并监督销售人员的销售工作。
负责宣传活动、广告和促销活动的组织和执行。
3.市场营销经理:负责市场调研和分析、竞争对手分析,制定市场营销策略,开发市场推广渠道,提高品牌知名度和市场份额。
4.销售人员:负责实施销售计划,进行客户拓展和维护,协助客户选房、签约和办理相关手续,完成销售目标。
5.网络营销专员:负责房地产项目的网上推广和销售,通过社交媒体、房产网站等渠道吸引潜在客户,提高线上销售业绩。
6.市场调研员:负责收集和分析市场信息,研究需求和消费者行为,为制定销售策略提供数据和建议。
7.客户关系经理:负责与客户建立和维护良好的关系,解答客户疑问,解决问题,确保客户满意度和忠诚度。
8.宣传推广员:负责策划和组织房地产项目的宣传活动,包括新闻发布会、展览会等,提高项目的知名度和美誉度。
9.售后服务人员:在客户购房后,负责后续售后服务工作,如提供房屋保修、装修等信息和服务,解决客户问题和投诉。
二、岗位职责1.部门经理负责:-制定房地产销售策略和计划,确保销售目标的实现。
-指导和监督销售团队成员的工作,并评估他们的绩效。
-与其他部门协调,共同制定整体营销战略。
-管理房地产销售预算,确保资源的合理利用。
-定期汇报房地产销售情况和市场动态。
2.销售经理负责:-设定销售目标和计划,并制定相应的销售策略和方法。
-领导销售团队,监督销售人员的工作,提供培训和指导。
-协调和推动销售过程中的各种工作,解决出现的问题。
-定期汇报销售情况和进展,提出改进和提高销售业绩的建议。
3.市场营销经理负责:-进行市场调研和竞争分析,为制定营销策略提供数据和建议。
-制定市场推广计划,选择合适的宣传渠道和工具。
-组织和执行各种市场宣传活动,提高品牌知名度和市场份额。
房地产公司营销部架构岗位分工说明1. 引言本文档旨在详细介绍房地产公司营销部门的架构以及各个岗位的分工,以便更好地组织和管理营销团队,提升公司的市场竞争力。
2. 背景房地产公司作为一个竞争激烈的行业,需要通过有效的营销策略来吸引潜在客户,促进销售业绩的增长。
因此,在营销部门中设立合理的岗位,将有助于协调各项营销工作,提高工作效率。
3. 营销部门架构根据公司业务和市场需求,房地产公司的营销部门可以划分为以下几个岗位:3.1. 营销总监•负责制定和执行战略营销计划,确保可持续发展。
•监督和管理整个营销团队的工作,确保团队目标的达成。
•对市场动态进行分析和研究,为公司决策提供有效的市场情报。
•与其他部门合作,协调各项资源,以支持销售目标的实现。
3.2. 市场调研员•负责对目标市场进行调研和分析,了解客户需求和竞争对手情况。
•收集和整理市场数据,为营销决策提供支持性的信息和建议。
•协助营销团队制定市场推广策略,提供参考数据和分析结果。
3.3. 品牌经理•负责公司品牌形象的建设和管理,包括标志设计、宣传素材等。
•确保公司的品牌传播和宣传活动与公司战略一致。
•跟踪市场反馈,调整品牌策略,提升品牌价值和知名度。
3.4. 市场推广经理•设计和执行市场推广计划,包括广告、促销和公关等活动。
•管理市场推广团队,确保活动的顺利进行和目标的实现。
•与媒体、广告代理商等合作,制定合适的宣传渠道和方式。
3.5. 销售支持专员•负责销售支持工作,包括提供销售文案、宣传资料等。
•协助销售团队开展销售活动,提供销售过程中的支持和协助。
•跟踪客户反馈,收集销售数据,为销售决策和推广策略提供参考。
4. 岗位职责分工以下是各个岗位的具体职责分工:4.1. 营销总监•制定公司营销策略和目标,并监督各团队的实施情况。
•分析市场趋势和竞争对手,提出相应的策略调整建议。
•确保各项营销活动的效果和目标的达成。
•管理营销团队,激励团队成员的工作动力。
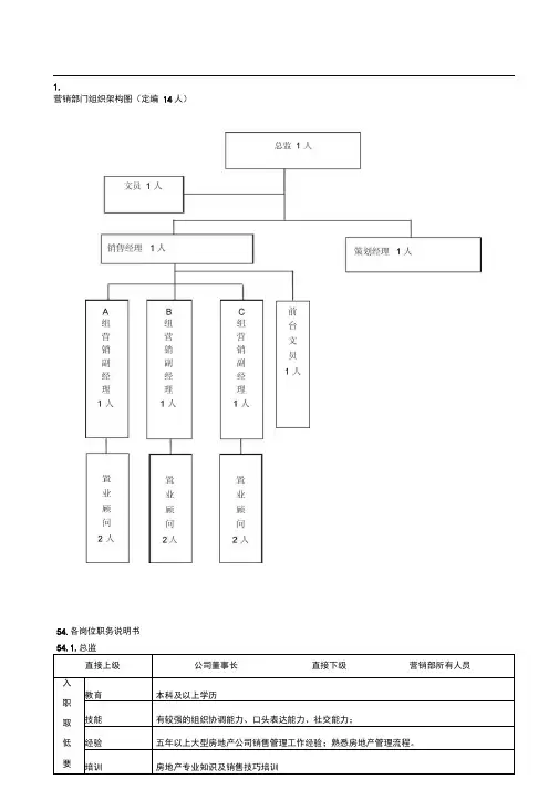
1、设立营销部经理 1 人2、配备案场主管 1 人、置业顾问 3~6 人、策划文案 1 人、策划平面 1 人、市场研究员 1 人.营销部经理1 人案场主管1 人策划文案1 人平面设计1 人市场研究员1人前期研策后期招商置业顾问3~6 人按揭专员 1职位名称直接上级营销部经理总经理所属部门直接下级营销部销售主管、策划部职责表述:编制销售战略规划及计划1 .依据项目总体经营计划,在总经理指导下编制营销战略规划职工作 2 .根据项目年度经营目标,制订年度销售计划并组织实施责任务 3 .根据项目年度销售计划制定详细的营销策略,报上级领导批一准后组织实施考核重点:销售计划的及时完成情况职责表述:销售费用控制职 1 .根据销售规划及市场状况,确定年度销售费用预算工作责 2 .将预算分解到具体的单位产品,严格对预算进行控制任务二 3 .控制销售过程中各项费用的支出,尽量控制销售成本考核重点:实际发生销售费用的控制程度职责表述:销售过程管理1 .及时了解部门员工的工作进度,监督检查营销计划的执行情职工作况和营销费用的使用情况责任务 2 .针对销售过程中存在的问题,及时进行解决三3 .参预重要客户谈判,并在权限范围内签订促成成交考核重点:年度销售计划的完成程度职职责表述:销售目标管理责 1.根据项目总体销售计划,将部门销售目标分解到个人,针对个四工作人情况的差异,提出具体的销售目标分解方案任务 2.跟踪销售目标的实施情况,根据实际情况及时提出调整方案, 修正目标考核重点:年度销售目标实现数量职责表述:客户关系管理1.组织建立并完善销售台账,楼款及时催收,并保障按揭款的有职工作效回收责任务 2 .制定客情维护制度与售后服务体系,指导销售人员建立、维五护与用户的良好合作关系考核重点:回款的及时性与销售额的提升职责表述:部门内部管理1.负责定期或者不定期对部门员工进行销售技能及专业知识培训,职提高员工工作效率与专业度工作责 2 .管理部门内部事务,控制部门费用支出任务六 3 .协助行政部做好部门员工的绩效考核工作4 .安排部门各项工作,调配与协调人员考核重点:各项任务完成的及时程度职位名称营销部主管所属部门营销部直接上级营销部经理直接下级置业顾问、按揭专员职职责表述:统一工作思路,计划协助管理有力责工作 1 .与营销经理沟通并统一工作思路,保证销售工作按计划执行一任务 2 .每天组织早会,提高置业顾问销售热情考核重点:销售计划的及时完成情况职责表述:做好客户、销售台账的存档、统计及分析工作职 1 .每天下班前做好客户资料存档及销售报表、台账工作责 2 .每周五做好每周客户统计、分析,并交策划部任务二 3 .每天下班前与财务核对当日销控及回款金额考核重点:客户资料、销售报表、销售台账的完整性、正确性职责表述:配合策划做好资料提供工作职 1 .每周五采集置业顾问、处理客户意见与投诉,并交策划部工作责 2 .每周五向策划部提出推广建议任务三 3 .做好市调,配合策划部同步更新市调报告考核重点:市调报告的更新情况职责表述:现场管理工作、促进销售职 1 .监控客户接待及电话接听,指导置业顾问对客户进行跟踪工作责 2 .严格执行现场管理制度,监督现场人员考勤情况任务四 3 .协助营销经理做好现场销控考核重点:销售任务完成情况职责表述:搞好队伍建设,创建和谐团队职工作 1 .定期学习岗位要求,并提出修改意见责任务 2 .协调置业顾问的协作,解决员工之间的普通性矛盾五考核重点:团队凝结力职位名称直接上级职责表述:市场调研1.负责研究房地产市场形势,提供市场竞争分析,整理相关资料,职 提出销售决策建议工作责 2 .负责进行房地产市场及政策的宏观研究,协助撰写研究分析任务一 报告,为公司决策及业务拓展提供支持3 .负责组织形成房地产市场常规性研究报告及专题性报告考核重点:市调更新情况 职责表述:招商工作职 1 .招商政策的制定工作责 2 .主力店的招商、谈判、协调工作任务二 3 .走访大小商户,定期将商户情况形成文字上报营销经理考核重点:招商任务的完成情况策划文案营销经理职责表述:营销推广工作1 .协助营销经理执行营销计划(广告、促销、制作、公关)工作 2 .负责市场营销推广的策略文案任务3 .编辑小区刊物市场调研员营销经理所属部门直接下级所属部门直接下级职位名称直接上级职 责 一营销部营销部——4 .塑造企业品牌形象,积累无形资产5 .协助营销经理根据销售各阶段变化及时制定对应策略并组织 实施考核重点:市调更新情况职责表述:销售数据、竞争楼盘的统计、分析1 .及时跟进客户信息、销售信息,并统计、分析职 工作 2 .及时跟进市场变化,并协助营销经理调整销售计划 责 任务 3 .了解竞争楼盘推出的活动,并针对性的作出推广调整方针二4 .负责与媒体建立良好稳定的关系考核重点:销售数据、竞争楼盘统计析的正确性和及时性所属部门直接下级职责表述:营销推广设计画面的落位1 .协助营销经理执行营销计划(广告、促销、制作、公关)2 .负责公司及服务项目形象设计(公司 VI)职 工作 3 .负责楼书、 DM 、广告位、活动展板、海报等宣传物料的设 责任务 计工作,并联络印制、验收一4 .协助营销经理根据销售各阶段变化及时制定对应策略并组织 实施考核重点:按计划执行各个阶段宣传画面的设计工作职 职责表述:销售数据、竞争楼盘的统计、分析职位名称直接上级平面设计营销经理营销部—责 1 .及时跟进客户信息、销售信息,并统计、分析二 工作 2 .及时跟进市场变化,并协助营销经理调整销售计划任务 3 .了解竞争楼盘推出的活动,并针对性的作出推广调整方针4 .负责优秀案例、技术及资源的整理考核重点:销售数据、竞争楼盘统计析的正确性和及时性所属部门直接下级职责表述:根据销售计划完成销售任务职 工作 1 .负责客户的接待洽谈与签定售房合同 责任务 2 .负责客户跟踪与外出拜访派发宣传资料 一考核重点:销售任务完成情况职责表述:做好客户管理及跟踪1 .每天下班前做好客户管理,定期对来访客户进行回访跟踪工作 2. 负责签署《商品房买卖合同》 ,追缴楼款及催办按揭手续 任务3 .每天下班前核对当日销控4 .认真登记每日来访客户情况考核重点:客户管理情况职责表述:工作 1 .定期接受培训,提高专业能力任务 2 .做好市调,配合策划部同步更新市调报告考核重点:市调报告的更新情况置业顾问案场主管职位名称直接上级职 责二职 责 三营销部—营销部 丁一之2022/5/16职位名称直接上级按揭专员案场主管所属部门直接下级营销部-职责表述:客户资料采集、预售、预抵、测绘报告办理1 .每天采集已签合同的按揭资料,并按银行要求审核职 工作 2 .记录每笔办理完毕的合同,并即时与案场主管交接 责任务 3 .协调不符合按揭条件的客户,及时补齐资料一4 .及时到房管所办理预售、预抵,测绘报告等工作考核重点:按揭客户放款数量、周期职责表述:业务开展1 .维护好房监所、银行信贷部关系职 工作 2 .严格按照公司既定计划开展工作责 任务 3 .每天清理按揭合同的签订、抵押登记、放贷进账,并上报二4 .及时学习银行新的信贷政策,并培训置业顾问信贷知识考核重点:开展业务过程中的统计工作。
营销部组织架构及工作职责、组织架构二、岗位职责A、营销总监1.直接上级:总经理2.直接下属:策划部经理、销售部经理3.本职工作:主持营销管理中心全面工作。
4.管理责任:5.根据公司有关开发经营发展战略,制订年度、季度、月度营销方案,编制项目营销战略计划,呈报总经理。
6.主持项目前期投资策划,配合资金管理中心编制项目评估可行性报告。
7.主持项目市场定位、产品定位、营销定位等前期定位工作。
8.主持项目营销推广、销售策划、广告策划、促销策划、客户服务策划等整体性营销方案。
9.根据项目营销目标和计划,组织相关部门实施并监督执行。
10•深入了解国家主管单位和房地产行业的相关政策信息动态,不断提出各种应对措施,并调整相应的营销策略和措施。
11・负责主持、协调好营销部门与政府相关主管单位的沟通、协调和服务工作。
12.负责协调好与公司其它部门的工作衔接和配合工作。
13.协助人力资源部做好本中心人员招聘、任免、考核、培训等工作。
14.积极完成总经理交办的其它各项工作。
B/销售经理1.向公司提供目标战略及实施行程。
2.对销售个案提出整体企划和营销思路的建议。
3.对市场作出详细的了解及判断。
4.对销售个案进行的整体包装、设计提出参考性建议。
5.协助公司领导的对外公关和宣传活动。
6.当需要时,协助其他部门的工作。
7.反馈企划结果的失常信息,不断提高企划水平。
8.参与公司计划的制定,提出建议。
9.对个案的市场前景进行分析并提出可行性意见。
10.对个案的潜质进行调研和综合分析。
11・直接进行对外销售以争取最大的收益。
12.树立公司对外形象,时时处处维护公司利益。
13.负责多渠道销售,拓展业务市场。
14.拟订员工培训计划并参与执行。
15.协助行政人事部门制定惩奖制度并参与执行。
16.协调客户关系,做好售后服务。
17.保持销售队伍质量,达到一流水准。
C、销售主管职责(兼任案场秘书)销售主管坚决执行经理交付的销售责任制,全面负责完成下达项目销售任务、销售合同的准确签订、房款的及时回收、房屋的顺利交付等工作。
房地产开发公司营销部组织架构及薪酬方案
一、组织架构
1.营销经理:负责监督整个营销团队的日常工作,指导决策,定期评
估业绩;
2.销售经理:负责招商、市场活动、维护客户关系等;
3.客户支持经理:负责收集客户信息、挖掘客户潜力,提供客户服务;
4.营销技术经理:负责建立营销技术体系,改善营销效率;
5.销售组长:直接负责销售工作,完成指定的销售任务;
6.客户支持组长:协助客户支持经理完成客户需求的调查和分析,提
供专业的技术问题解决方案;
7.销售专员:维护客户关系,直接负责客户招商和签约;
9.结算专员:负责日常的财务工作,收集客户资料,审核客户开票资料,分析收支情况,维护财务记账;
10.文档管理专员:负责整理和维护文档,给文档贴编号,以及给文
档建立档案;
二、薪酬方案
1.营销经理:底薪+项目提成+绩效奖金+季度奖金;
2.销售经理:底薪+项目提成+绩效奖金+季度奖金;。
房地产公司营销中心组织架构及岗位职责
房地产公司营销中心的组织架构通常包括市场部、销售部、客户服务部和广告宣传部等部门。
1. 市场部:
负责市场调研和分析,制定营销策略和计划;
管理市场推广活动,包括线上或线下的广告和宣传活动;
组织市场竞争情报的收集和分析,为公司决策提供参考;
负责品牌建设和公关活动。
2. 销售部:
负责销售团队的管理和业绩达成;
制定销售计划和目标,确保销售业绩的完成;
组织销售团队的培训和激励;
监测客户意见和市场反馈,提供定期报告。
3. 客户服务部:
负责与客户的沟通和接待工作;
确保客户满意度,处理客户投诉和问题;
负责售后服务,包括签约流程和交付手续;
收集客户需求和反馈,向公司提供相关建议。
4. 广告宣传部:
负责策划和执行广告和宣传活动;
确立媒体合作伙伴关系,进行广告投放;
设计和制作广告宣传资料;
维护公司在各大媒体平台上的形象和声誉。
还可以设立数据分析部门、市场营销培训中心等,根据公司规模和需求适当调整组织架构。
房地产营销策划部组织架构及岗位职责一、房地产营销策划部组织架构房地产营销策划部组织架构通常分为总监/经理、主管、专员/助理三个层级。
其中,总监/经理是部门的核心领导,主要负责部门的整体规划和管理;主管是负责具体部门中的某一功能的领导,比如品牌推广、市场调研等;专员/助理则是具体落实主管领导的工作,并完成日常操作和工作分配。
二、岗位职责1. 营销策划总监/经理负责房地产营销策划部门的管理和运作,包括拟定部门的整体策略和规划、协调部门内部各个工作岗位的协作和配合、跟进项目营销成果并制定调整方案,对部门整体工作质量和效率进行掌控和评估。
2. 营销策划主管负责具体的营销策划工作,包括制定营销计划、品牌策略、市场推广等,协调内部各项工作,提升品牌知名度和市场竞争力。
主要职责如下:(1)负责制定年度营销计划,明确公司市场策略以及推广方向和具体目标;(2)负责制定部门内部各项策划进度,包括活动策划、出版物的发行、公关策划等;(3)协调全公司各个部门的配合,制定营销推广方案和计划,统筹整合资源,提升公司品牌影响力和市场竞争力;(4)对市场变化及时监测、反馈,根据市场情况调整营销策略,及时处理各类应急情况。
3. 营销策划专员/助理根据上级领导的安排,负责具体的营销策划工作,支持主管开展营销策划任务。
主要职责如下:(1)参与制定和执行年度、季度和月度营销计划,包括各种品牌营销、活动策划与组织等;(2)负责协调活动策划、公关等部门之间的配合,以确保活动方案的成功实施;(3)参与竞品分析、市场调研、市场营销推广方案的制定,对市场变化及时监测、反馈;(4)根据公司销售情况对营销策略作出调整,并及时将营销情况向上级领导汇报。
以上就是房地产营销策划部组织架构及其岗位职责的详细介绍,希望对房地产企业有所启示,并严格执行不同岗位的职责规定,从而提升企业核心竞争力。
房地产营销中心组织架构和岗位职责一、组织架构通常情况下,房地产营销中心的组织架构可分为总经理/总经理助理、市场部、销售部、客户服务部等主要部门,并根据需要设立相应的职能部门,如人力资源部、财务部等。
1.总经理/总经理助理:负责整个营销中心的管理和决策,制定大体方向和发展战略,并协调各部门之间的工作关系;2.市场部:负责市场调研、营销策划、广告宣传等工作,主要职责包括市场定位、市场推广、市场竞争情报收集和分析等;3.销售部:负责房地产项目的销售工作,主要职责包括销售计划制定、销售策略制定、销售团队管理和培训等;5.人力资源部:负责招聘、培训、绩效考核、员工福利等工作,确保人力资源的合理配置和激励;6.财务部:负责财务管理和会计工作,包括资金管理、成本控制、财务报表编制等。
二、岗位职责1.总经理/总经理助理-制定企业战略,确保企业的长期发展;-领导和管理房地产营销中心,协调各部门间的工作;-确保营销策略的成功实施;-建立和维护与政府、供应商和合作伙伴的良好关系;-监控项目成本和财务状况,确保营销中心的盈利能力。
2.市场部-负责市场调研,收集分析市场数据,为企业决策提供参考;-制定市场营销策略和计划,推动产品销售;-策划和组织市场推广活动,提高品牌知名度;-跟踪行业竞争对手的动态,分析市场趋势。
3.销售部-制定销售计划和销售策略,完成销售目标;-管理销售团队,进行销售培训和业绩考核;-协助客户签订购房合同,跟进整个销售过程;-维护与客户的良好关系,提高客户满意度。
4.客户服务部-协助客户签订合同,办理相关手续;-跟踪客户购房进度,向客户提供相关信息;-处理客户投诉和问题,维护客户关系。
5.人力资源部-招聘、培训和管理销售团队和其他员工;-制定绩效考核制度,激励员工提高销售业绩;-管理员工福利和薪酬制度,解决员工问题。
6.财务部-监控项目成本,控制开支,确保项目盈利;-编制财务报表,提供财务数据和报表给管理层;-管理企业的资金,确保项目资金的正常运作;-税务管理和遵循财务法规。
房地产营销部组织架构及岗位职责薪资待遇一、组织架构房地产营销部的组织架构分为四个层级:部门总监、部门经理、销售主管和销售代表。
具体的组织结构如下:1.部门总监:负责整个营销团队的管理,包括规划和实施销售策略,进行市场研究和分析,管理营销预篇口销售计划等。
同时,还要与其他部门合作,协助开发新项目,并保证项目的顺利推进。
部门总监通常需要具备10年以上的相关工作经验以及卓越的领导力技能。
2.部门经理:直接下属为销售主管,负责完成公司的销售任务目标,并确保销售流程的顺畅。
部门经理还需要与其他部门合作,协调推广活动和销售策略的实施,并协助总监管理营销预算和销售计划。
部门经理需要具备5・8年的房地产销售经验和领导力技能。
3.销售主管:直接下属为销售代表,负责营销团队的日常管理工作,包括指导销售代表进行客户拓展、洽谈、签约等工作。
销售主管需要解决销售中的问题,并保持销售流程的顺畅。
销售主管需要具备3-5年的房地产销售经验和领导力技能。
4.销售代表:负责营销团队的销售工作,包括客户拓展、洽谈、签约等。
销售代表需要协助团队完成公司的销售任务目标,并积极推广公司的品牌和产品。
销售代表需要具有一定的沟通和协商能力以及2-3年的房地产销售经验。
二、岗位职责1.部门总监的岗位职责:-制定销售计划和战略,并确保执行;-分析市场状况和竞争对手,并调整销售策略;-管理销售预算和销售团队的绩效;-协助开发新项目,并对项目进行管理;-与其他部门合作,促进信息交湍口数据分析。
2.部门经理的岗位职责:■指导销售主管和销售代表的工作;-协调销售流程和销售策略的实施;-平衡销售团队的工作负载,并确保销售目标的完成;■对销售数据进行分析和报告,提出改进建议。
3.销售主管的岗位职责:-指导销售代表进行客户开发和沟通;-负责销售质量和流程的监督;-解决销售中的问题,确保销售目标的完成;-协调营销团队的日常管理工作。
4.销售代表的岗位职责:-进行客户拓展、洽谈和签约等工作;-对客户进行跟进和服务;-维护客户关系,促进品牌和产品推广;-对销售数据进行统计和分析。
房地产销售部人员架构及岗位职责(范文三篇)本站小编为你整理了多篇相关的《房地产销售部人员架构及岗位职责(范文三篇)》,但愿对你工作学习有帮助,当然你在本站还可以找到更多《房地产销售部人员架构及岗位职责(范文三篇)》。
第一篇:市场经营部人员架构及岗位职责市场经营部人员架构及岗位职责市场经营部人员架构及岗位职责一、人员架构市场经营部经理(1人) ? 销售部主管招商部置业专员销售策划设计人员顾问顾问内勤师二、岗位职责, 市场经营部经理岗位职责:(1人) 1、市场经营部经理:负责项目的销售管理、协调和监督工作; 2、根据市场情况制定完善的销售计划; 3、参与计划调整策划报告,及时收集市场反馈的有关信息; 4、随时掌握销售进展情况; 5、根据市场销售情况及时调整付款方式及优惠; 6、组织销售例会及调整策略7、制定培训计划,定期组织销售人员业务培训及考核,不断提高销售人员整体素质;8、搞好销售部管理工作,调动销售人员工作积极性,突出团队协作能力; 9、负责与其他部门沟通协调; 10、完成公司下达的制定目标。
薪金待遇:底薪5000元;万分之八佣金 , 销售主管岗位职责:(1人) 1、负责销售回款工作; 2、随时掌握销售进展情况3、负责销售人员言行举止规范化管理。
房地产销售主管职责4、负责项目销售的订单签定、合同签定的审核工作,确保准确无误。
5、处理好客户投诉; 薪金待遇:底薪4000元;万分之五佣金 , 销售内勤岗位职责:(1人) 1、认真做好客户资料数据库的建立和存档工作; 2、负责对客户的交款进行统计和上报经理; 3、负责项目工作中各种表格的建立和管理; 4、协助置业顾问做好客户的服务工作; 5、与置业顾问核对每天的销控表。
薪金待遇:底薪2800元;万分之二 , 策划师岗位职责:(1人) 1、开展市场调研工作,能够对市场信息进行汇总,并形成策划报告; 2、能够根据项目特点提出媒体推广的建议及方案; 3、监控广告投放实施情况,论证广告推广效益监控; 4、跟踪现场销售过程,能够对现场情况进行汇总。
房地产公司营销中心组织架构及岗位职责一、房地产公司营销中心的组织架构1.总经理:负责整个营销中心的工作,制定营销策略和目标,监督各个部门的运营状况。
2.副总经理:协助总经理完成工作,负责部门运营管理和协调各职能部门之间的合作。
3.销售总监:负责整个销售部的工作,制定销售策略和目标,组织销售团队开展业务。
4.市场总监:负责整个市场部的工作,制定市场推广策略和目标,进行市场调研和竞争分析。
5.销售部:主要负责项目销售工作,包括销售策划、销售渠道拓展、客户开发和售后服务等。
6.市场部:主要负责项目市场推广工作,包括品牌宣传、广告投放、媒体合作和市场活动策划等。
7.客户服务部:负责与客户的日常沟通和协调工作,包括客户需求分析、投诉处理和售后服务等。
二、各岗位职责介绍1.总经理:制定营销策略和目标,协调各职能部门的合作,监督整个营销中心的运营状况。
同时,与公司高层沟通,向上级汇报工作。
2.副总经理:协助总经理完成工作,负责部门运营管理和协调各职能部门之间的合作。
同时,制定绩效考核体系和管理制度。
3.销售总监:负责整个销售部的工作,制定销售策略和目标,组织销售团队开展业务。
同时,制定销售绩效考核标准和销售政策。
4.市场总监:负责整个市场部的工作,制定市场推广策略和目标,进行市场调研和竞争分析。
同时,与媒体、广告代理等合作伙伴进行业务合作。
5.销售部经理:负责销售部的日常工作,包括销售计划制定、销售指标考核和团队管理等。
协助销售总监制定销售策略,并与市场部紧密合作。
6.市场部经理:负责市场部的日常工作,包括市场调研和竞争分析、品牌宣传和市场推广活动策划等。
协助市场总监制定市场推广策略,并与销售部紧密合作。
8.市场推广专员:负责市场推广工作,包括广告宣传、媒体合作、市场活动等。
制定市场推广方案,并与广告代理和媒体进行合作。
总结:房地产公司营销中心的组织架构和岗位职责是为了顺利进行项目销售和市场推广工作。
各个岗位之间密切合作,共同实现销售目标,提高市场竞争力。
企业管理资料范本房地产公司营销中心组织架构及岗位职责一、营销中心组织架构1.营销总经理办公室-营销总经理:负责公司整体营销策略的制定和决策,对各营销团队进行管理和监督;-行政助理:协助营销总经理处理一些日常行政工作,提供必要的支持。
2.项目部-项目总监:负责指导和管理各项目的销售和推广工作,处理项目中遇到的各种问题;-项目经理:负责具体项目的组织和实施,包括策划、营销计划的制定、销售团队的管理等;-项目营销专员:负责项目的销售和推广工作,与客户进行溝通,解决客户问题,促进销售;-项目市场推广专员:负责项目推广的策划和执行,包括广告宣传、媒体合作、活动策划等;3.销售部-销售总监:负责整体销售部门的工作规划和目标制定,对销售团队进行管理和监督;-销售经理:负责具体销售团队的组织和实施,包括销售计划的制定、销售培训和团队管理等;-销售代表:负责销售和推广公司的房地产产品,与客户进行洽谈、促成销售;-销售助理:协助销售代表处理一些日常事务,提供必要的支持。
4.售后服务部-客户服务经理:负责客户的售后服务,包括问题解答、投诉处理、客户关系维护等;-售后服务专员:负责客户的售后服务工作,回访客户,解答问题,并及时处理客户的投诉;-售后服务助理:协助售后服务专员处理一些日常事务,提供必要的支持。
5.市场部-市场总监:负责公司整体市场营销策略的制定和决策,对市场团队进行管理和监督;-市场经理:负责市场推广团队的组织和实施,包括市场调研、品牌推广、市场活动等;-市场推广专员:负责执行市场推广计划,包括策划和组织各类市场活动、媒体推广等;-市场调研分析师:负责市场调研数据的收集和分析,为公司提供市场情报和决策支持。
二、岗位职责1.营销总经理:-制定公司整体营销策略和计划,并监督实施;-管理各销售项目部门,协调各部门间的合作和协同工作;-确保达成公司销售目标,并提供战略性建议和决策。
2.项目总监:-负责项目的规划和执行,包括市场策划、销售团队建设、销售目标达成等;-监控项目销售数据及市场趋势,及时调整销售策略;-协助营销总经理处理项目中的问题和矛盾,确保项目顺利进行。