营运部岗位设置及工作职责修(新改)
- 格式:doc
- 大小:48.50 KB
- 文档页数:5
营运部岗位职责
摘要:营运部是一个组织中非常重要的部门,它负责协调和管理企业的日常运营活动。
本文将介绍营运部的岗位职责,包括流程管理、团队协作、供应链管理和客户关系管理等方面。
一、岗位职责之流程管理
营运部的流程管理是保证企业运营高效、顺畅的关键之一。
在这个岗位下,员工需要负责分析和优化各个运营流程,确保它们能够高效地运转。
具体的职责包括:
1. 设计和改善运营流程,确保流程能够高效、准确地执行。
2. 分析每个环节的效率和质量,并提出改进意见。
3. 制定和实施监控指标,评估流程的表现并提供改进建议。
二、岗位职责之团队协作
团队协作是营运部的重要职责之一,它需要营运部员工与其他部门紧密合作,确保他们的工作能够协同进行。
具体的职责包括:
1. 与其他部门的领导和同事交流和协商,确保相关需求得到满足。
2. 解决和应对跨部门的问题和冲突。
3. 共享和传递信息,促进团队之间的合作和沟通。
三、岗位职责之供应链管理
供应链管理是营运部的另一个重要职责,它涉及到与供应商和分销商之间的关系,并确保物流、库存和采购的顺利进行。
具体的职责包括:
1. 管理供应商和分销商的关系,建立良好的合作伙伴关系。
2. 监督和协调物流过程,确保物料和产品的按时到达。
3. 管理库存水平,确保库存的适度和及时补充。
4. 协调采购活动,确保采购的成本和质量达到预期标准。
四、岗位职责之客户关系管理
营运部还需要负责与客户进行沟通和协调,确保他们的需求得到满足。
具体的职责包括:。
营运部各岗位职责营运部是一个企业的重要部门之一,在企业的日常运营中起着举足轻重的作用。
营运部的各个岗位职责根据企业的规模和行业的不同会有所差异,下面是一些常见的营运部岗位及其职责。
1. 营运总监/经理:营运总监或经理是负责整个营运部的管理和协调工作的岗位。
他们负责制定部门的发展战略和目标,并与其他部门进行沟通和协调,确保企业的运营顺利进行。
他们还负责监督和评估部门员工的绩效,并为他们提供指导和培训。
2. 供应链管理/物流经理:供应链管理/物流经理负责企业的供应链管理和物流运作。
他们负责与供应商进行沟通和谈判,确保企业能够获得高质量和低成本的原材料和产品。
他们还负责协调企业的仓储和物流网络,确保产品能够及时准确地送达客户手中。
3. 计划调度经理:计划调度经理负责制定和执行企业的生产计划。
他们与销售部门和供应链管理团队合作,确定产品的生产数量和时间表,以满足市场需求。
他们还负责监控生产进度,并及时调整计划,以应对不可预测的市场变化和生产问题。
4. 品质管理经理:品质管理经理负责制定和实施企业的品质管理体系,确保产品和服务的质量符合国家标准和客户要求。
他们负责监督生产过程,执行质量控制措施,并与质检部门合作,确保产品的合格率达到预期目标。
5. 销售运营经理:销售运营经理负责协调销售部门和营运部门之间的工作。
他们与销售团队合作,了解市场需求和客户需求,提供相应的产品和服务。
他们还负责监督销售渠道和销售业绩,确保销售目标的实现。
6. 客户服务经理:客户服务经理负责管理和协调客户服务团队的工作。
他们负责处理客户投诉和反馈,并根据客户的需求提供解决方案。
他们还负责建立和维护客户关系,提高客户满意度和忠诚度。
7. 营运数据分析师:营运数据分析师负责收集和分析营运部门的数据,为决策提供支持。
他们使用统计和数据分析方法,发现业务中的问题和机会,并提出相应的改进措施。
他们还负责监控关键绩效指标,并向管理层提供报告和建议。
运营部部门及岗位职责一、部门职责运营部是公司重要的职能部门,负责协调、组织和监督公司的运营工作。
其主要职责如下:1. 制定运营策略:根据公司的战略目标和市场需求,制定运营部门的长期和短期发展策略,并监督执行情况。
2. 注重流程管理:建立和优化运营流程,确保工作的高效进行,并提供持续改进意见。
3. 资源规划:负责人力资源、物资配备和预算的规划和管理,以保证运营工作的顺利进行。
4. 与其他部门协调:与销售部门、技术部门等其他部门保持紧密合作,提供必要的支持和协助,实现跨部门协同。
二、岗位职责1. 运营经理:负责制定和实施运营战略,管理和监督运营团队,推动运营目标的达成。
2. 运营专员:负责运营流程的执行和管理,协助运营经理完成日常工作,跟踪项目进展并提供及时报告。
3. 数据分析师:负责收集、整理和分析运营相关数据,为运营决策提供支持和指导。
4. 客户服务代表:负责处理客户的投诉和询问,维护客户关系,并向运营团队反馈客户需求和反馈。
5. 供应链管理:负责物资的采购和库存管理,确保物资供应的及时和有效。
6. 质量控制:负责产品和服务的质量控制,确保公司的运营达到高标准和客户的满意度。
三、共同职责除了各个岗位的特定职责外,运营部门的职员还应共同承担以下职责:1. 沟通协调:保持良好的沟通和协调,促进团队合作和信息流通。
2. 问题解决:及时发现和解决运营中的问题,并提供相应的改进建议。
3. 研究与发展:不断研究新知识和技能,提高自身运营管理能力和专业水平。
4. 持续改进:积极参与运营流程的改进,提高工作效率和质量。
以上是运营部门及岗位职责的概述,具体岗位职责和工作要求可根据公司的实际情况进行调整和细化。
超市营运部岗位设置及工作职责一、营运部职责描述1、部门建制部门架构图职位设置编制:99名杂货部经理:1名生鲜部经理:1名非食部经理:1名杂货部酒水课长:1名杂货部洗化课长:1 名杂货部休闲食品课长:1 名杂货部副食调料课长:1 名杂货部日配冷冻课长:1 名生鲜部蔬菜熟食课长:1 名生鲜部水产课长:1 名非食部家居用品课长:1 名非食部休闲百货课长:1 名非食部文化用品课长:1 名非食部鞋课课长:1 名非食部纺织用品课长:1 名杂货部酒水课助:2 名杂货部洗化课助:2 名杂货部休闲食品课助:2 名杂货部副食调料课助:2 名杂货部日配冷冻课助:2 名生鲜部蔬菜熟食课助:2名生鲜部水产课助:2 名非食部家居用品课助:2 名非食部休闲百货课助:2名非食部文化用品课助:2 名非食部鞋课课助:2 名非食部纺织用品课助:2名杂货部酒水课理货员:6 名杂货部洗化课理货员:6 名杂货部休闲食品课理货员:8 名杂货部副食调料课理货员:10 名杂货部日配冷冻课理货员:6 名生鲜部蔬菜熟食课理货员:无名生鲜部水产课理货员:无名非食部家居用品课理货员:8 名非食部休闲百货课理货员: 4 名非食部文化用品课理货员: 6 名非食部鞋课课理货员:2 名非食部纺织用品课理货员: 4 名2、部门职责负责与商品部的订货协调。
提出完善商品结构的需求方案本部商品的库存管理。
提出本部商品调价建议。
负责本部卖场管理。
组织本部促销活动的实施。
制订本部商品的陈列方法。
提出新品引进和滞销品的淘汰建议。
负责本部商品盘点。
组织市场调研工作、汇总、分析市场信息。
本部损耗统计、分析与控制。
本部联营柜台的日常管理。
负责本部员工的业务培训工作。
确保任何时候商品陈列应100% 完整、正确。
负责商品的订货、收货及安全。
负责排面商品卫生、摆放、补货及赠品管理。
负责商品的价签、条码、POP 广告牌管理。
负责本课设备、设施及计量器具的维护。
负责为顾客购物服务。
负责商品价格高低、畅销程度、质量等销售信息的反馈。
运营部职责运营部岗位职能(通用19篇)运营部职责运营部岗位职能篇11.保障执行电话中心制订的工作计划,确保电话中心的服务水平及服务质量持续提升。
2.认真贯彻执行公司和电话中心的各项、业务处理流程。
3.全面负责电话中心的系统维护、电脑维护、软件操作支持。
4.组织处理系统突发情况,确保系统的正常运作。
5.协助机构管理处完成业务报表及运营管理报表的数据提取工作。
6.编写电话中心系统、设备等故障报告,作出分析,提交建议和解决方案。
运营部职责运营部岗位职能篇21.协助部门经理主持运营部的各项日常管理工作,优化建设公司营运体系。
2.根据公司年度发展战略制定营运部及营运目标并贯彻落实。
3.制定、完善公司营运制度及标准化的营运作业工作流程,并监督和指导执行。
4.在管理公司日常营运工作的同时,与其他职能部门密切配合,加强部门间的横向联系。
运营部职责运营部岗位职能篇31.面向运营支撑业务领域的产品技术方案规划,制定产品技术路标。
2.面向市场前端的产品技术支持,提供符合客户需求的解决方案,负责向客户介绍产品技术解决方案。
3.负责运营支撑领域的核心、支撑技术的前瞻性研究,跟踪领域内的技术标准。
运营部职责运营部岗位职能篇41.负责人力资源发展规划,实施绩效考核、人员调配等人力资源管理性工作。
2.负责编制经营计划和财务预算、决算草案。
3.负责投入、产出分析和成本控制。
运营部职责运营部岗位职能篇51.负责独立制订产品运营计划,并推动计划顺利实施。
2.负责制订运营团队的工作计划,安排小组人员的日常工作,监督实施并对执行结果负责。
3.能够独立负责业务运营数据分析及市场状况分析,根据分析结果提出后续产品策略以及业务可行性建议。
4.熟悉产品收费策略、支付渠道策略,并针对市场的变化制订和调整后续运营计划。
5.负责与研发团队的工作沟通、配合、协调。
运营部职责运营部岗位职能篇61.流程与制度建设:依据公司战略规划与生产发展方针,完善生产体系的管理流程、操作流程、工艺流程等,组织制定实施细则,推行各种质量活动,培训、监督、指导员工了解、掌握各项细则并加以认真执行,不断提高生产管理的工作效率与管理水平,创造良好的生产环境,确保物流有序、高效生产。
营运部组织架构与工作职责营运部组织架构与工作职责一、营运部组织架构:营运部经理营运部文员营运部副主管彩票、水站管理员新项目筹备员A区督导B区督导C区督导D区督导E区督导F区督导二、各岗位工作职责1、岗位:营运部经理直属部门:营运部直属上级:副总岗位职责:1.1在副总的直接领导下,主持本部门的各项管理工作;1.2制定本部门的月工作计划、周工作计划;1.3定期召开部门业务会议,管理会议、专题会议,总结工作经验教训,提出今后改进目标;1.4制定年度、季度、月度销售指标,并分解到各个区域及门店,督导各区域完成计划目标;1.5贯彻公司经营方针,制度门店各项营运标准及工作指导书;1.6指导监督各区域督导对所辖门店的有效管理,包括:人员、商品、设备等基础工作的管理,制定周期巡定计划;1.7组织门店调整及改善的研讨,及时提报门店调整预案。
经批准后,组织实施门店整改定案;1.8负责销售绩效数据的收集、整理、分析,做工作成果报告,营运成果效益评估、改善报告;1.9负责进行市场调查工作。
研究各门店商圈,调查各竞争便利店的动态,商品结构,店面布局等。
将市场调查报告上报,并提出建设性意见。
1.10负责新增门店的筹备工作的统筹安排,并保障新增门店能按时开张及正常营运;1.11对公司促销活动预案提出改进意见,提出更适宜门店的促销方式;商品促销及市场推广活动的执行安排,落实公司促销活动方案在本部门实施的全部细节;1.12开展岗位职能培训工作。
配合人事部做好各岗位人员的培训指导工作,对新进员工指定专人负责传帮带;开展岗位技能竞赛;1.13定期对本部门职员进行人事考核,并对此提出升迁、奖惩建议;1.14门店突发事件、顾客投诉、安全事件等的控制与协调解决;1.15与公司其他部门间的协调工作,及其他需配合完成的事项2、岗位:营运部文员直属部门:营运部直属上级:营运部经理1、2.4对营运部门的各种资料、函电进行收集、传阅、收发与存档;2、对各楼层周、月报表、新进商户资料进行汇总统计;3、组织对营运部门的会务工作,做好会议纪要。
运营部工作职责及规范
1. 职责
- 负责公司产品或服务的运营管理,包括但不限于市场推广、销售支持、客户关系管理等方面的工作。
- 制定和执行销售计划和运营策略,保证达到销售目标和业绩指标。
- 负责市场调研和竞争对手分析,了解市场动态和趋势,为公司决策提供参考依据。
- 组织和协调团队成员的工作,确保任务的分配和执行高效和准确。
- 负责客户关系的维护和管理,与客户进行有效沟通,解决客户问题和需求。
- 跟踪产品或服务的上线及维护,确保产品或服务的质量和用户满意度。
- 监测和分析运营数据,为公司决策提供相关数据和建议。
2. 规范
为了保证运营工作的顺利进行,以下是一些规范和注意事项:
- 高效沟通:与公司内外部的各方保持及时和准确的沟通,确保信息的传递和共享。
- 保密工作:严格遵守公司的保密政策,确保公司和客户的信息安全。
- 团队合作:与团队成员密切合作,互相支持和帮助,共同完成工作目标。
- 时间管理:合理安排和管理工作时间,提高工作效率,保证任务按时完成。
- 自我研究:不断研究和研究相关领域的知识和技能,提升个人能力和专业水平。
- 注意细节:对工作中的细节保持敏感和注意,避免出现疏忽和错误。
以上是运营部的工作职责及规范,希望能够作为参考,帮助大家更好地开展工作。
如果有任何问题或需要进一步的信息,请随时与我们联系。
营运部门职责、岗位说明书-营运部门职责、岗位说明书1:职责概述营运部门负责组织和协调企业的运营活动,确保公司的正常运作和业务目标的实现。
本职责范围包括但不限于以下内容:2:职责细化2.1 运筹帷幄- 制定公司的运营策略和目标,确保公司的运作与发展与整体战略保持一致。
- 监督和协调部门之间的合作,确保流程的顺畅和各项业务的协同进行。
- 负责制定和实施营运项目计划,确保项目按时启动和按计划推进。
2.2 人员管理- 招聘、培训和管理营运部门的员工,确保部门的组织结构合理且人员配备充足。
- 设定员工绩效和目标,进行绩效考核与激励,提高团队的工作效率和质量。
2.3 销售与市场拓展- 制定销售策略和计划,与销售团队合作,确保销售目标的实现。
- 分析市场情况,寻找新的市场机会和拓展策略,推动公司业务的拓展。
2.4 生产与供应链管理- 指导生产和供应链团队,确保产品的质量和交付的准时性。
- 管理供应商关系,选择合适的供应商,并与其建立稳定的供应关系。
2.5 财务管理- 监督和协调部门的预算编制与执行,确保资源的合理分配和使用。
- 跟踪和分析业务数据和财务指标,提出对策和建议,优化部门的财务状况。
2.6 客户服务- 确保客户满意度,及时解决客户问题和投诉。
- 管理客户关系,与客户建立稳固的合作关系。
3:法律名词及注释- 合同:具备法律效力的双方或多方之间的协议书,明确双方的权利和义务。
- 人事管理:管理企业内部的人员组织、招聘、培训、薪酬、绩效管理等事宜的一系列管理活动。
- 生产管理:组织和协调企业生产活动的一系列管理活动,包括生产计划、生产过程控制、质量控制等。
- 供应链管理:管理和优化供应链中的物流、采购、仓储、分销等环节,确保供应链顺畅运作的一系列管理活动。
4:附件- 附件一、营运部门组织结构图- 附件二、营运部门工作流程图。
营运部门职责、岗位说明书-营运部门职责一.部门介绍营运部门是负责组织和协调企业生产、销售和物流等运营活动的部门。
本部门的主要职责是确保公司的运营顺利进行,提高运营效率和客户满意度。
二.部门职责细化1. 生产计划管理a. 制定生产计划,确保生产、销售和物流的协调一致。
b. 监控生产进度和质量,解决生产过程中的问题及时,保证按时交付产品。
c. 与采购部门协调,确保原材料供应和库存管理。
2. 销售管理a. 制定销售计划和目标,推动销售团队实现销售额度。
b. 分析市场需求,制定市场推广策略,提升产品销售额度。
c. 确保客户关系管理,及时回应客户问题和解决投诉。
3. 物流管理a. 管理供应链,建立良好的物流网络,确保原材料和产品的准时交货。
b. 协调仓储运输,管理库存,最大程度减少物料的积压和报废。
c. 优化物流成本,提高物流效率,降低运输成本。
4. 质量管理a. 建立和完善质量管理体系,提高产品质量。
b. 监控产品质量和过程控制,及时纠正和改进生产流程。
c. 处理质量投诉和产品召回,确保客户满意度。
5. 人员管理a. 负责部门人员的招聘和培训,确保员工具备所需的技能和知识。
b. 制定员工绩效评估体系,激励和奖励优秀员工。
c. 解决员工纠纷和冲突,维护良好的团队合作氛围。
6. 绩效管理a. 设定和监控部门绩效指标,确保达成运营目标。
b. 分析绩效数据,发现问题并提出改进方案。
c. 定期向高层管理层汇报部门运营情况和绩效分析。
附件:1. 《销售计划模板》2. 《员工绩效评估表》3. 《部门组织架构图》法律名词及注释:1. 供应链管理:是指通过协调和整合供应商、制造商、分销商和客户等各个环节的活动,以优化资源配置、降低成本、提高效率和客户满意度的管理方式。
2. 原材料供应:指企业从供应商处购买用于生产的各种原材料和零部件的活动。
3. 库存管理:是指对企业的原材料、半成品和成品进行统筹规划、准确计算、有效配比、合理调度、适当控制的管理活动。
商场营运部工作岗位职责要求模版商场营运部是商业公司中非常重要的一个部门,负责商场的日常运营管理,包括销售、客户服务、运营管理等方面的工作。
为了确保商场的正常运营和顾客的满意度,商场营运部需要设立多个工作岗位,并对每个岗位有具体的职责要求。
下面是商场营运部常见的几个工作岗位及其职责要求模板。
1. 销售顾问:职责要求:- 根据商场的销售目标和销售策略,积极主动地进行销售工作,提高商品销售额;- 维护好现有客户关系,并积极开发新客户;- 向客户介绍商品特点和优势,并协助客户进行购买决策;- 提供良好的客户服务,解答客户疑问,并及时处理客户投诉;- 协助进行商品陈列和促销活动;- 统计和分析销售数据,为销售策略的制定提供支持。
2. 客户服务专员:职责要求:- 热情接待顾客,了解顾客需求,并提供专业的产品和服务建议;- 解答顾客关于产品的疑问,并提供相关信息;- 处理顾客退换货事宜,并帮助解决顾客投诉;- 维护客户关系,及时解决客户问题,提高顾客满意度;- 协助进行商品陈列和促销活动;- 收集客户反馈信息,并向相关部门反馈,用于改进产品和服务质量。
3. 运营主管:职责要求:- 负责商场的日常运营管理工作,包括人员调度、仓储管理等;- 监督并协调各个部门的工作,确保商场的正常运营;- 制定并执行运营计划,提高运营效率和服务质量;- 确保商场设施设备的正常运作和维护;- 跟踪和分析运营数据,为决策提供支持;- 协助上级领导开展各项运营管理工作。
4. 供应链协调员:职责要求:- 负责商场商品的采购工作,包括寻找供应商、与供应商洽谈价格和合作条件等;- 跟踪和管理供应链,保证商品的供应稳定性和及时性;- 负责商场库存管理,确保库存水平处于合理范围;- 协调仓储和物流部门,确保商品的及时上架和顾客订单的及时配送;- 及时处理供应商投诉,并寻求解决方案;- 跟踪市场动态,了解商品价格和市场需求的变化,为采购决策提供参考。
运营部企业组织结构及岗位职责运营部是企业中至关重要的一个部门,负责协调和管理企业的运营和业务流程,确保企业的高效运作。
运营部的组织结构和岗位职责是根据企业的规模、产业特点和发展战略而定的,下面将介绍一个典型的运营部的组织结构和各岗位的职责。
一、运营部组织结构1.运营部总监:负责运营部的整体规划和管理,制定和实施运营策略,确保企业的运营目标的实现。
2.运营经理:负责协调和管理运营部的日常工作,包括制定工作计划、管理运营团队、跟进项目进展等。
3.项目经理:负责具体项目的管理和实施,包括项目的计划、组织、协调、监督和控制。
4.供应链经理:负责供应链的规划和管理,包括供应商的选择和管理、采购计划的制定、供应商的评估和合作关系的管理等。
5.生产经理:负责生产流程的规划和管理,确保生产的高效进行,包括物料的采购、生产计划的制定、生产线的管理等。
6.质量经理:负责质量管理体系的建立和运作,包括制定质量控制计划、质量检测和监控、质量问题的解决等。
7.技术支持经理:负责为工作人员提供技术支持和培训,解决技术问题,确保运营部的技术能力和水平的提升。
8.数据分析师:负责收集、分析和挖掘企业运营数据,提供数据支持和决策参考,为运营部的决策和改进提供依据。
9.人力资源经理:负责人力资源的规划和管理,包括人员招聘、培训与发展、薪酬福利的设计和管理等。
二、各岗位职责1.运营部总监:负责制定运营部的发展战略和目标,协调和管理运营部的各项工作,推动企业运营的高效进行。
2.运营经理:负责协调和管理运营部的日常工作,制定运营团队的工作计划,推动项目的顺利进行。
3.项目经理:负责具体项目的管理和实施,制定项目计划,组织和协调团队成员,确保项目按时完成和交付。
4.供应链经理:负责供应链的规划和管理,选择和管理供应商,制定采购计划,确保供应链的高效运转。
5.生产经理:负责生产流程的规划和管理,监督生产进度和质量,协调生产线的运作,确保生产高效进行。
营运部岗位及职责目 录(一) 序 言公司经营管理手册业务管理篇编写主要是为了让目前在营4个项目的中层业务管理人员了解其岗位职责,知悉其主要的工作内容、业务制度和流程,统一业务部门的规范化作业,同时加强与其他部门的沟通。
在日常的经营业务管理工作中,相关人员必须遵守此手册的规定。
商场的后期序 号 内 容 大 纲 页 码 内容索引 1(一) 序言2 (二)营运部组织架构 3 2.1 组织架构 32.2. 职能定位 42.2.1 客户管理职能 42.2.2 物业管理职能 42.2.3 策划管理职能 42.2.4 经营管理职能 4(三)主要岗位工作职责43.1 营运部主要工作职责 4 3.1.1 营运总监工作职责 4 3.1.2 营运总监助理工作职责 4 3.1.3营运经理工作职责 5 3.1.4 市场推广经理工作职责 6 3.1.5 工程经理工作职责 7 3.2 商场管理部主要工作职责 10 3.2.1 商场经理工作职责 103.2.2 商场副经理工作职责11营运管理主要包括四个方面:客户服务的优化管理、商场的整体经营管理、整体形象策划推广与促销推广活动、日常的物业服务管理。
营运管理的目的是通过统筹和整合各种营运资源,不断优化业态组合,提高租户质量,以有效最低的成本持续维护、改善商场的购物环境和建筑空间,从而保持商场的运营活力,提升项目整体商业价值。
(二)营运部组织架构设置2.1组织架构根据商业项目统一管理理念, 招商业务、市场推广、工程物业是商场营运管理中的核心业务部门。
营运部组织架构如下:2.2 营运管理职能定位客户服务咨询策划推广商场形象管理物业管理物业管理前期介入经营管理合同管理求助报修品牌形象管理物业外委服务质量评定经营户管理投诉管理广告宣传工程遗留问题整改方案经营调整费用收取活动实施公共物业经营管理经营风险管理营运总监营运部经理营运部文员工程部经理副总监/总监助理活动策划主管设计制作主管工程部主管市场推广部经理宣汉商场经理西门商场经理都江堰商场经理眉山商场经理商场副经理(三)主要岗位工作职责3.1 营运部主要岗位工作职责3.1.1 营运总监工作职责工作关系直接上级部门公司总经理/公司副总经理业务对接部门各项目主要评估考核人员公司总经理/公司副总经理内部关联部门公司行政部、财务部、企划部集团关联部门外部关联部门项次岗位职责概述1 在总经理领导下,全面支持各项目的营运日常管理工作;2 与项目部门共同完成公司下达的经济指标和重点工作;3 组织拟定(修改)营运部年度经济目标和重点工作计划并认真实施完成;4 组织拟定(修改)营运部的基本管理制度和业务流程;5 根据市场和商圈的变化,支持协助项目进行经营调整;6 在公司领导下,支持营运团队的管理和建设;7 配合公司实行目标管理及绩效考评;8 长期目标共同提升营运团队的管理水平,提高各项目的商业价值。
营运部岗位职责一、岗位概述营运部是一个组织中非常重要的部门,它负责组织和协调各个部门的运作,确保公司的正常运营。
营运部的岗位职责涉及多方面的工作,包括内部协调、外部合作、项目管理等等。
下面将从不同角度具体介绍营运部岗位职责。
二、内部协调1. 实施公司战略作为营运部门的一员,其首要职责之一是贯彻落实公司的战略目标。
他们需要理解公司的战略,并确保各个部门的工作和目标与公司战略相一致。
2. 资源管理营运部门需要统筹管理公司的资源,包括人力资源、财务资源和物料资源等。
他们需要根据各个部门的需求,合理配置资源,确保资源的有效利用和最大化利益。
3. 内部流程优化营运部门需负责内部流程的优化和改进。
他们需要与各个部门合作,识别和解决流程中的问题,并提出改进措施,提高工作效率和质量。
三、外部合作1. 供应商管理营运部门需要与供应商建立良好的合作关系,并进行供应商的评估和选择。
他们需要与供应商沟通,确保供应商能够按时交付货物和提供优质的服务。
2. 客户关系管理营运部门负责与客户进行良好的沟通和协调。
他们需要了解客户的需求,并及时回应客户的问题和投诉,确保客户满意度的提高。
3. 合作伙伴管理营运部门还需要与各种合作伙伴建立合作和协调关系。
他们需要与合作伙伴共同制定合作计划,并及时跟进和评估合作效果。
四、项目管理1. 项目策划营运部门负责项目的策划工作,包括项目目标的确定、项目资源的调配和项目计划的制定等。
他们需要充分了解项目的需求和约束,制定合理的实施方案。
2. 项目执行营运部门需要监督和协调项目的执行,确保项目按照计划进行,并及时解决项目中出现的问题和难题。
3. 项目评估营运部门负责对项目进行评估和总结,分析项目的成败因素,提出改进意见和建议,以提高项目管理的效果和质量。
综上所述,营运部岗位职责非常重要,涉及到内部协调、外部合作和项目管理等多个方面。
营运部门的有效运作直接关系到公司的正常运营和发展。
因此,营运部岗位职责的履行需要具备较高的综合能力和良好的沟通协调能力,以保证各项工作的顺利进行。
1 营运部岗位职责及规范1营运部岗位职责及规范一、岗位描述:职务名称:营运部经理/营运督导直接上级:总经理下属岗位:各门店店长、安全保卫、司机班、工程部、配送中心本职工作:负责公司营运规范的执行监督;各下属部门管理及考评督导工作二、工作职责1.执行公司既定的各项制度规范,并严格按制度规范监督指导;2.公司及门店各项管理制度、流程文件的修改完善工作;3.监督下属各部门各项考核指标的落实执行和达成;4.负责门店督导小组指导、管理工作;5.下属部门管理层的甄选、任用、任免、奖惩的建议提报6.下属各部的安全保卫工作;7.各门店良好形象的的监督维护;8.门店缺货、配送、损耗的监督控制,促销商品陈列监督执行;9.与业务部、财务部、人力资源部、总办保持良好的沟通;10.定期对各店、各部门的工作进行分析总结,并作工作汇报11.定期组织门店店长会议,并传达公司的各项新精神、新措施;12.执行门店定期或不定期盘点;13.门店突发事件、重大投诉的处理;14.定期对门店进行安全大检查,及时排除安全隐患,对门店的安全负责;15.负责公司的司机、车辆管理及调配工作;16.负责公司的所有工程管理、设备维修工作;17.同时直接管理公司配送中心;18.各下属单位的年度、季度、月工作计划的拟定。
三、每日工作1.每日各店各项管理工作、业绩跟进与落实;2.各店管理报表的阅读分析(客单价、客流量、销售额、新品引进、滞销品淘汰);3.及时跟进、处理门店“四大异常”(负库存、负毛利、畅销品缺货、滞销品);4.每日对下属单位有重点、有侧重的巡视检查:1.地堆、端架------------------整齐、清洁、饱满2.正常排面---------------------整齐、清洁、饱满、不缺货3.走道-------------------------通畅、通视不堆货4.陈列补货---------------------迅速、不遗留纸皮栈板5.POP、价签--------------------正确、更换是否及时无误6.栈板-------------------------堆放整齐7.孤儿商品---------------------及时回收8.破包商品---------------------及时处理9.商品、货架、销售区、库存区---每天清理。
运营部职责精编(32篇)运营部职责精编(精选32篇)运营部职责精编篇11.负责公司车辆和驾驶员各种基础信息、数据、资料的收集、记录、统计、存档工作。
2.负责对公司车辆养路费、相关投保、理赔、营运费等缴纳情况资料的收集、汇总、记录和存档工作。
3.负责按需求为其他岗位及时提供有关车辆相关情况的有效信息。
运营部职责精编篇21.负责对公司现有网站资源的整合、升级及策划。
2.负责对网站产品进行策划、包装,组织测试和推广。
3.负责支撑业务、营销部门制定网络营销计划和方案。
4.负责带领团队进行网络产品的营销及推广。
5.负责制订网站的宣传计划并实施,树立网站的品牌。
6.负责号百、声讯、短信网站发展战略的研究、制定及具体广告招商计划。
7.负责网络相关商业项目的研究、评估、咨询和策划。
运营部职责精编篇31.协助公司总经理参与日常经营决策、经营会议等,监督、执行董事会和集团对客户服务员工做的相关要求和制度体系,日常事务向公司总经理负责、涉及重大事项可同时向总经理和董事会及集团汇报。
2.主持与生产安全相关的各项工作,对分管工作涉及的组织结构提出方案或建议,对分管人员任用提出自己意见建议。
3.负责公司生产运营、设备技术、安全生产等方面的管理工作,整合分管资源,确保安全运营。
4.负责对公司技术革新、技术改造、日常运营维修维护,制定技术标准、工艺规程、工艺技术管理文件并监督执行,努力提高能耗管理、设备维修费用管理,加强公司生产运营成本的控制。
5.每月定期组织召开生产运营安全工作分析会,对公司生产运营安全的各类指标分析结果上报董事会。
6.负责对公司的生产运营安全工作进行指挥调度,及时解决生产运营安全过程中出现的问题,确保生产运营安全工作不发生事故。
7.认真贯彻董事会下发的各项生产安全规章制度,根据实际情况修订、维护下发的各项规程制度,制定符合现状的各项管理制度,负责制度落实情况、日常工作的检査管理工作。
8.负责完成董事会及总经理临时交办的其他各项任务,协助公司其他分管副总完成公司的其他业务工作。
2023年营运部岗位职责2023年营运部岗位职责1岗位职责:1、负责根据公司任务书中的营运指标,制定营运部的年度目标管理计划,并将目标分解下达执行,每月将执行情况上报上级领导及总部营运部;2、负责编制营运年度预算,根据公司审定的预算指标执行;负责制定每月资金计划,合理控制预算;3、负责协调与推广部的互动活动:包括商场活动与租户沟通执行;对租户促销活动的协助宣传;4、不定时巡场,检查店铺形象、人员纪律、商品陈列、环境卫生等现场情况;5、负责核查销售监察计划、每月销售数据统计表、每月acg报表、完成每月销售分析报告,上报上级领导及总部营运部;6、根据财务反馈的欠租情况,安排进行口头或书面催租工作,需要时协调法务协助处理;任职要求:1、27~38周岁,管理学、经济学或相关专业(本科或以上学历);2、具有3年以上大型商业广场或购物中心招商或营运管理经验,或5年以上零售品牌区域管理经验;3、对购物中心营运管理模式有系统的了解和实践经验,对购物中心营运管理各模块均有较深入的认识,能够统筹指导各模块的工作,特别是现场管理、货品陈列、营业员培训等;4、熟悉商业零售等品牌,熟悉商业连锁企业管理要求;5、具备良好的沟通能力与逻辑思维能力、客户沟通与技巧。
2023年营运部岗位职责2一、组织机构站长:副站长:消防员:二、站长职责站长负责微型消防站日常管理,组织制定各项管理制度和灭火应急预案,开展防火巡查、消防宣传教育和灭火训练;指挥初期火灾扑救和人员疏散。
三、消防员职责消防员负责扑救初期火灾:熟悉建筑消防设施情况和灭火应急预案,熟悉掌握器材性能和操作使用方法,并落实器材维护保养;参加日常防火巡查和消防宣传教育。
四、控制室值班人员职责控制室值班人员应熟悉灭火应急处置程序,熟练掌握自动消防设施操作方法,接到火情信息后启动预案。
2023年营运部岗位职责3一、定期向上级汇报各销售区域的销售业绩完成情况。
二、督促成品仓做好仓库管理工作,确保库存量控制在公司设定的目标内。
--
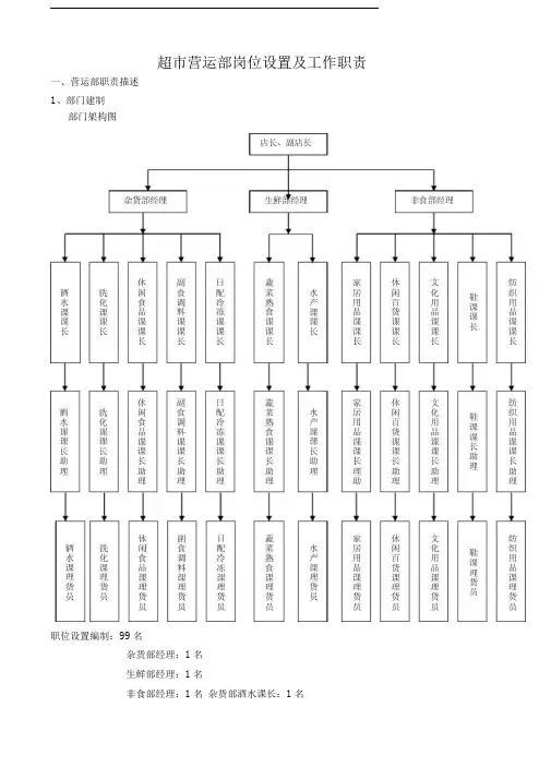
超市营运部岗位设置及工作职责
一、营运部职责描述
1、部门建制
部门架构图
职位设置编制:99名
●杂货部经理:1名
●生鲜部经理:1名
●非食部经理:1名
●杂货部酒水课长:1名
●杂货部洗化课长:1名
●杂货部休闲食品课长:1名
●杂货部副食调料课长:1名
●杂货部日配冷冻课长:1名
●生鲜部蔬菜熟食课长:1名
●生鲜部水产课长:1名
●非食部家居用品课长:1名
●非食部休闲百货课长:1名
●非食部文化用品课长:1名
●非食部鞋课课长:1名
●非食部纺织用品课长:1名
●杂货部酒水课助:2名
●杂货部洗化课助:2名
●杂货部休闲食品课助:2名
●杂货部副食调料课助:2名
●杂货部日配冷冻课助:2名
●生鲜部蔬菜熟食课助:2名
●生鲜部水产课助:2名
●非食部家居用品课助:2名
●非食部休闲百货课助:2名
●非食部文化用品课助:2名
●非食部鞋课课助:2名
●非食部纺织用品课助:2名
●杂货部酒水课理货员:6名
●杂货部洗化课理货员:6名
●杂货部休闲食品课理货员:8名
●杂货部副食调料课理货员:10名
●杂货部日配冷冻课理货员:6名
●生鲜部蔬菜熟食课理货员:无名
●生鲜部水产课理货员:无名
●非食部家居用品课理货员:8名
●非食部休闲百货课理货员:4名
●非食部文化用品课理货员:6名
●非食部鞋课课理货员:2名
●非食部纺织用品课理货员:4名
2、部门职责
●负责与商品部的订货协调。
●提出完善商品结构的需求方案。
●本部商品的库存管理。
●提出本部商品调价建议。
●负责本部卖场管理。
●组织本部促销活动的实施。
●制订本部商品的陈列方法。
●提出新品引进和滞销品的淘汰建议。
●负责本部商品盘点。
●组织市场调研工作、汇总、分析市场信息。
●本部损耗统计、分析与控制。
●本部联营柜台的日常管理。
●负责本部员工的业务培训工作。
●确保任何时候商品陈列应100%完整、正确。
●负责商品的订货、收货及安全。
●负责排面商品卫生、摆放、补货及赠品管理。
●负责商品的价签、条码、POP广告牌管理。
●负责本课设备、设施及计量器具的维护。
●负责为顾客购物服务。
●负责商品价格高低、畅销程度、质量等销售信息的反馈。
●协助促销活动的具体实施。
●掌握好合理库存。
●根据程序,负责退货、换货管理。
●负责顾客信息、市场情报的收集、整理及上报。
二、营运部岗位职责
(一) 营运部经理工作职责:
1、根据财务部下达的本部门年度预算,制订本部门的年度工作计划,月度预算及月度工
作计划。
积极协助店长完成超市分配的各项工作任务,努力完成超市下达的销售指标及其它各项指标。
2、接收、处理直接下级呈报的合理化建议。
3、组织作好本部门文件、资料、记录的保管与定期归档工作,以及本部门的保密工作。
4、每周主持本部门工作例会。
5、做好直接下级的思想工作,在必要的情况下向直接下级授权。
6、处理在本部门管辖范围内发生的紧急事件。
7、编制本部门需用的程序文件草案,并按规定承包、备案。
8、根据工作情况的变化,及时对程序文件提出修改或废止的需求。
9、对与其它部门之间产生的工作争议,一个工作日内提出界定需求。
10、接受直属上计和有关部门的监督、检查,并提供真实信息。
11、负责、设计本部门职能工作范围内的检查路线、检查点、必查点和预警指标,并检
查和考核。
12、指导、检查所属下级的各项工作,随时掌握直接下级的工作情况。
13、根据本部门工作安排,按照程序提出申请招聘,参与制定下级的面试及入职考核。
14、负责直接下级岗位人员任用的提名,隔级下级岗位人员任用的批准。
15、制订直接下级的岗位职责,根据岗位职责在本部门开展述职工作。
16、定期对直接下级进行绩效考评。
17、制订本部门年度培训计划,并呈报人力资源部。
18、执行人力资源部下发的月度培训计划,保证培训工作的实施。
19、配合人力资源部,对本部门员工的培训效果进行考核。
20、负责编写本部门主管业务的培训教材,设计本部门竞赛方案,经批准后实施。
21、改善本部门工作环境,创造良好的工作氛围。
22、妥善处理所属下级的申诉。
23、完成(直接上级)交办的其他工作任务。
24、积极协助店长完成超市分配的各项工作任务,努力完成超市下达的销售指标及其它
各项指标。
25 、根据集团公司下达的部门年度瞀,制订本部门的月度预算及月度工作计划.
26、在必要的情况下向直接下级授权。
27、在本部门开展述职工作。
28、执行月度培训计划,保证培训工作的实施。
29、对本部门员工的培训效果进行考核。
30、对负责编写本部门主管业务的培训教材。
31、设计本部门竞赛方案,经批准后实施。
32、改善本部门工作环境,创造良好的工作氛围。
33、妥善处理所属下级的申诉。
34、完成(直接上级)交办的其他工作任务。
35、对本部门瞀开支的合理支配负责。
36、对本部门工作目标和工作计划的完成负责。
37、对本部门主管的工作程序的执行效果负责。
38、对本部门负责检查的规定的执行情况负责。
39、对本部门管辖的设备设施的守好性负责。
40、对本部门给超市造成的影响负责。
41、对所属下级的纪律行为、工作秩序、肢体精神面貌负责。
42、对本部门所属员工和各项业务工作有管理权
43、对所属下有的工作争议有检查权、争议的裁决权、奖惩的建议权。
44、对下拉下级的管理水平、业务水平和业绩有考核评价权。
45、在业务范围内对紧急事件有权宜处理权。
(二)营运部课长工作职责:
1、根据工作计划调配人力,合理安排工作任务。
2、接收、处理直接下基呈报的合理化建议。
3、作好本课的保密工作。
4、作好本课文件、资料的记录与上级工作。
5、主持本课班前或班后工作例会。
6、根据本课工作情况的变化,及时对程序文件提出修改或废止的需求。
7、对与其它课之间产生的工作争议,一个工作日内提出界定需求。
8、接受(直接上级)和有关部门的监督、检查,并提供真实信息。
9、指导、检查下级的各项工作,随时掌握工作情况。
10、制订直接下级的岗位描述。
11、根据《员工述职管理规定》在本课开展述职工作。
12、定期对直接下级进行绩效考评
13、根据工作计划调配人力,合理安排工作任务及日常管理,并监督管理好厂方促销人
员的工作。
根据月度培训计划,保证培训工作的实施并对员工的培训效果进行考
核。
14、在本课管辖范围内,对在用资产进行保管和正确使用。
15、完成(直接上级)交办的其他工作任务。
16、对本课工作程序的执行效果负责。
17、对本课负责检查的规定及实施细则的执行情况负责。
18、对本课管辖的设备设施的完好性负责。
19、对本课所涉及的商业秘密的安全负责。
20、对所属下级的纪律行为、工作秩序、整体精神面貌负责。
21、积极协助部经理完成超市分配的各项工作任务,努力完成超市下达的销售指标及其
它各项指标。
22、每月做好本月的商品销售计划,督促员工及时做好商品价格调整工作后的价签更换
工作。
23、与商品部密切配合,不断完善商品结构,积极做好商品促销工作,安排好各种促销
活动。
24、经常进行市场调研工作,月末做好本月工作总结,为下月销售做好准备工作。
25、及时提供整理、分析、销售数据,为上级预测做好助手。
26、带领导员工做好卖场环境卫生,商品陈列工作,及时检查清理不符销售的商品。
27、认真研究商品的销售情况,做好订货单的制定,及时补货,防止断档脱销。
28、最大限度减少商品损耗,提高销售额与毛利率。
29、负责安排好本课员工的工作分配,及日常管理,并监督管理好厂方促销人员的工作。
30、完成上级领导临时分派的各项工作及任务。
(三)营运部课长助理工作职责:
1、负责理货员、促销员的日常管理和培训工作,检查其工作是否到位。
2、负责卖场的现场的管理工作,随时参与、指导员工的各项操作。
3、负责安排员工整理仓库及确保仓库的清洁整齐。
4、负责商品收货、退货工作,落实订单是否已传真给供应商,检查收货区是否已无任何
商品。
5、负责验收单与退货单妥善保管工作。
6、能正确处理所有的安全事件。
7、确定营业员完成盘点工作。
8、坚持现场办公为主导。