建设项目总投资构成表56225
- 格式:doc
- 大小:25.54 KB
- 文档页数:5
施工机械使用费(小型)材料费(原价、运杂费、运输损耗费、采购及保管费)人工费5直接工程费安全文明施工费环境保护4直接费大型机械设备进出场及安拆3建筑安装工程费文明施工混凝土、钢筋混凝土模板及支架安全施工5措施费脚手架临时设施已完工程及设备保护夜间施工施工排水、降水5规费二次搬运4间接费5企业管理费4利润(税后)教育费附加及地方教育附加3工程费用国产标准成套设备合同价城市维护建设税4税金国产标准设备原价营业税国产标准单体设备出厂价国产非标准设备原价设备原价进口设备抵岸价4设备购置费建设工程总投资包装和包装材料费3设备及工器具购置费设备运杂费装卸费运输费市政公用设施建设及绿化补偿费特殊设备安全监督检验费引进技术和临时设施费工程保险费劳动安全卫生评价费场地准备及临时设施费可行性研究费勘察设计费工程监理费研究试验费环境影响评价费建设单位管理费生产准备费联合试运转费办公和生活家具购置费与未来企业生产经营有关的费用4工器具及生产家具购置费采购及仓库保管费土地使用费(农用土地征用费、取得国有土地使用费)2建设投资1固定资产投资3工程建设其他费用与项目建设有关的其他费用4基本预备费(工程建设不可预见费)养老保险费工程排污费3预备费失业保险费4涨价预备费(价格变动不可预见费)5规费医疗保险费社会保障费生育保险费2建设期利息工伤保险费住房公积金财务费工会经费(其中)4间接费管理人员工资检验试验费职工教育经费办公费财产保险费差旅交通费劳动保护费固定资产使用费(存货、库存现金、应收账款、预付账款)流动资产1流动资产投资——铺底流动资金税金(房产税、土地使用税等)工具用具使用费(应付账款、预收账款)其他劳动保险和职工福利费流动负债。
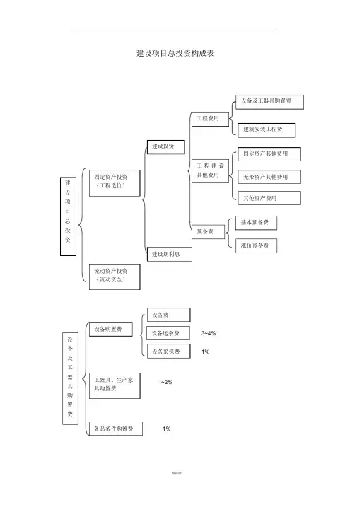
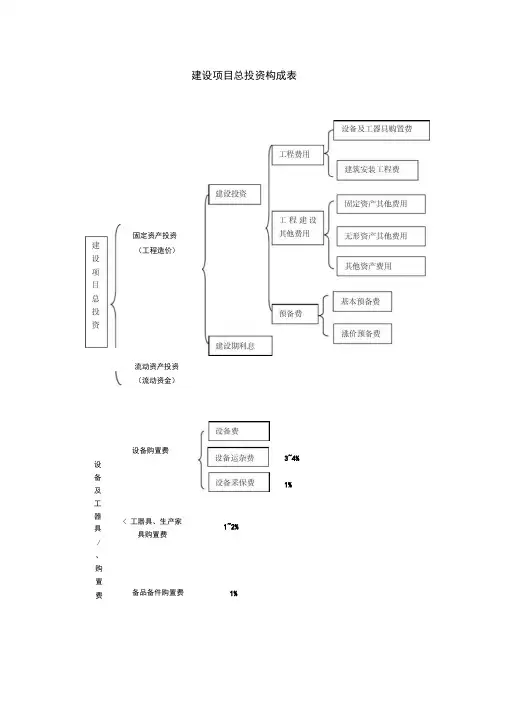
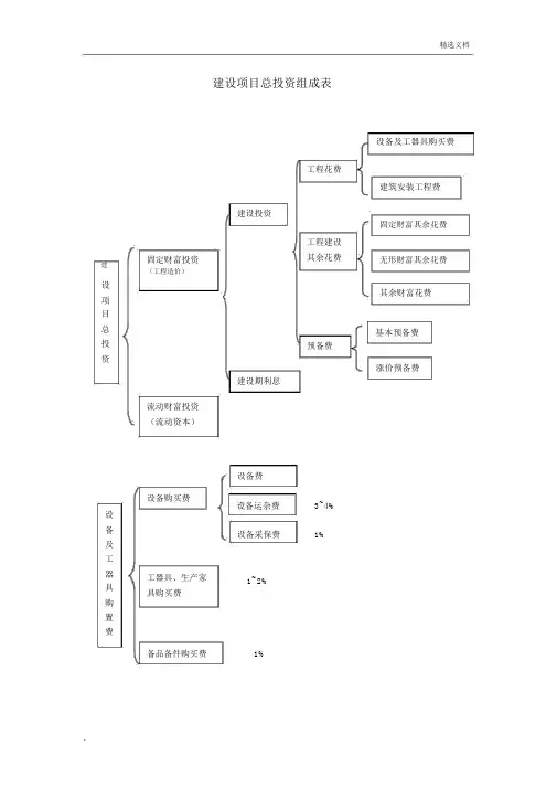
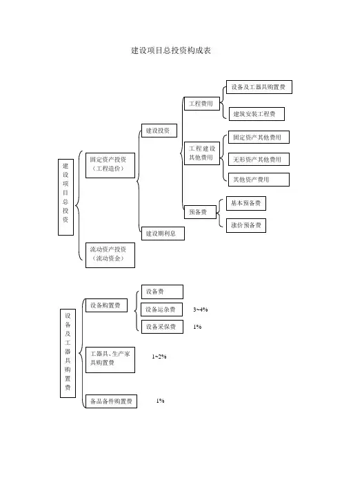
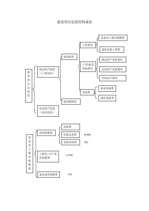
建设项目总投资构成表
固定资产投资
(工程造价)
流动资产投资
(流动资金)
设备购置费设
备
及
工
器
具
/
、
购
置
费3~4% 1%
< 工器具、生产家
具购置费
1~2%备品备件购置费1%
山东省概算费用项目构成
建筑安装工程费用构成
1•安全文明施工费
2•夜间施工增加费 3•二次搬运费 4•冬雨季施工增加费 5•大型设备进出场及安拆费
<
6•施工排水费 7•施工降水费
8•地上地下设施、建筑物的临时保护设施费 9•已完工程及设备保护费
10.专业措施项目(模板、脚手架)
直接工程费
建
筑安装工程费
企业管理费
间接费 1. 管理人员工资 2. 办公费
3. 差旅交通费
4. 固定资产使用费
5. 工具用具使用费
6. 劳动保险费
7. 工会经费
8. 职工教育经费
9. 财产保险费 10・财务费 11・税金及其他
危险作业意外伤害保险
利润
直接费
措施费
工程建设其他费用
工程建设其他费用
工程保险费 联合试运转费
固定资产 其他费用
「建设单位管理费
建设管理费
]
-------
、工程监理费
建设用地费 可行性研究费 研究试验费 勘察设计费 环境影响评价费
劳动安全卫生评价费 土地征用及拆迁补偿费 土地使用权出让金
场地准备及临时设施费 引进技术和引进设备其他费 特殊设备安全监督检验费 市政公用设施
无形资产其他费用 专利及专有技术使用费
其他资产费用 生产准备及开办费。
设备及工器具购置费工程费用建筑安装工程费建设投资固定资产其他费用建设项目总投资固定资产投资(工程造价)工程建设其他费用无形资产其他费用其他资产费用基本预备费预备费涨价预备费建设期利息流动资产投资(流动资金)设备费设备购置费设备运杂费3~4%设备及工设备采保费1%器具购置费工器具、生产家具购置费1~2%备品备件购置费1%建设项目总投资构成表费用项目类别费用项目构成费用内容1)直接费1. 建筑工程费2)间接费及规费第一部分工程费用2. 安装工程费3. 设备购置费3)利润4)税金1)设备购置费2)工器具、生产家具购置费3)备品备件购置费建设建设项投资目概第二部分算工程建设总其他费用费用1. 建设用地费用2. 技术咨询费3. 项目配套费4. 项目建设管理费土地使用权出让金、土地使用补偿费、拆除迁建费等项目论证费、环境评价费、节能评估审查费、劳动安全卫生评价费、研究试验费、勘察设计费、专利和专有技术使用费、引进技术设备费等建设单位管理费、设计图纸审查费工程招标费、监理费、造价咨询服务费、工程保险费、场地准备及临时设施费、特种设备检验检测费等5. 与未来生产经营生产准备费及开办费、联合试运转有关的其他费用费等第三部分 1. 基本预备费预备费 2. 价差预备费建设期第四部分建设期贷款利息利息[注] 第五部分固定资产投资方向调节税流动第六部分经营性铺底流动资金资金山东省概算费用项目构成建筑安装工程费用构成直接工程费人工费材料费机械费直接费建筑安装工程费间接费措施费企业管理费1. 安全文明施工费2. 夜间施工增加费3. 二次搬运费4. 冬雨季施工增加费5. 大型设备进出场及安拆费6. 施工排水费7. 施工降水费8. 地上地下设施、建筑物的临时保护设施费9. 已完工程及设备保护费10. 专业措施项目(模板、脚手架)1. 管理人员工资2. 办公费3. 差旅交通费4. 固定资产使用费5. 工具用具使用费6. 劳动保险费7. 工会经费8. 职工教育经费9. 财产保险费10. 财务费11. 税金及其他工程排污费社会保障费规费住房公积金利润危险作业意外伤害保险营业税税金城市维护建设税教育费附加建设单位管理费建设管理费工程监理费土地征用及拆迁补偿费建设用地费土地使用权出让金可行性研究费研究试验费勘察设计费固定资产其他费用环境影响评价费工程建设其他费用劳动安全卫生评价费场地准备及临时设施费引进技术和引进设备其他费工程保险费联合试运转费特殊设备安全监督检验费市政公用设施无形资产其他费用专利及专有技术使用费其他资产费用生产准备及开办费工程建设其他费用Welcome To Download !!!欢迎您的下载,资料仅供参考!。
建设项目总投资构成表
工程建固定资产投
建
设
项
目
流动资产投
设
备
及
工器具、生产
工
器
建设项目概算总费用
费用项目类别费用项目构成费用内容
建设
投资
第一部分
工程费用
1.建筑工程费
2.安装工程费
1)直接费
2)间接费及规费
3)利润
4)税金
3.设备购置费
1)设备购置费
2)工器具、生产家具购置费
3)备品备件购置费
第二部分 1.建设用地费用
土地使用权出让金、土地使用
补偿费、拆除迁建费等
工程建设
其他费用
2.技术咨询费项目论证费、环境评价费、节能评估审查费、劳动安全卫生评价费、研究试验费、勘察设计费、专利和专有技术使用费、引进技术设备费等
3.项目配套费
4.项目建设管理费建设单位管理费、设计图纸审查费
工程招标费、监理费、造价咨询服
务费、工程保险费、场地准备及临时设施费、特种设备检验检测费等
5.与未来生产经营有关的其他费用生产准备费及开办费、联合试运转费等
第三部分 1.基本预备费
山东省概算费用项目构成建筑安装工
程费用构成预备费
2.价差预备费
建设期
利息
第四部分建设期贷款利息
[注]第五部分固定资产投资方向调节税流动
资金
第六部分经营性铺底流动资金
建
筑安装1.管理人员工资
2.办公费
3.差旅交通费
4.固定资产使用费
1.安全文明施工费
2.夜间施工增加费
3.二次搬运费
4.冬雨季施工增加费
工程建设其他费用
固定资
工
程
建
设。
建设项目投资组成及其计算一、建设项目总投资组成(建设投资、建设期利息、流动资产投资)2、设备及工、器具购置费的构成(国产标准设备原价、国产非标准设备原价、抵岸价、设备运杂费)3、建筑安装工程费用项目组成(直接费、间接费、利润、税金)4、建筑安装工程费用的计价程序(六个程序)5、工程其他费用组成(固定资产其他费用、无形资产费用、其他资产费用)6、基本预备费、涨价预备费、建设期贷款利息【大体内容】一、建设项目总投资组成建设项目总投资由建设投资、建设期利息、流动资产投资三部份组成。
注意:设备购买费含工、器具及生产家具购买费;建设期利息形成固定资产。
工程建设其他费用包含:固定资产其他费用;无形资产费用;其他资产费用。
(见计控教材P22)提示:需要做重点掌握。
二、设备及工、器具购买费的组成设备及工、器具购买费用是由设备购买费和工具、器具及生产家具购买费组成的,它是固定资产投资中的踊跃部份。
设备购买费=设备原价+设备运杂费设备运杂费=设备原价×设备运杂费率工具、器具及生产家具购置费=设备购置费×定额费率重点掌握:进口设备原价的构成及计算(1)国产设备原价的构成及计算国产设备原价分为国产标准设备原价和国产非标准设备原价。
国产标准设备原价国产非标准设备原价有标准图纸,有技术要求,批量生产,符合国家质量检测标准。
无定型标准,不能批量生产国产标准设备原价有两种,即带有备件的原价和不带有备件的原价。
在计算时,一般采用带有备件的原价。
1、材料费2、加工费3、辅助材料费4、专用工具费(1~3项和为基数)5、废品损失费(1~4项和为基数)6、外购配套件费7、包装费(1~6项和为基数)8、利润(1~5+7项和为基数)9、税金(销项税额)(1—8项和为基数)原价={[(材料费+加工费+辅助材料费)×(1+专用工具费率)×(1+废品损失费率)+外购配套件费]×(1+包装费率)—外购配套件费}×(1+利润率)+销项税额+非标准设备设计费+外购配套件费查询交易市场价格或者生产厂家询价取得应该使非标准设备计价接近实际出厂价。