卫生监督协管工作流程图
- 格式:doc
- 大小:112.00 KB
- 文档页数:14
陕西省卫生监督协管服务工作指导手册(试行)陕西省卫生厅目录陕西省卫生监督协管服务基本工作流程 0第一部分摸底建档 (1)第二部分职业卫生咨询指导 (2)第三部分饮用水卫生安全巡查 (3)第四部分学校卫生服务 (5)第五部分非法行医和非法采供血信息报告 (7)第六部分食品安全信息报告 (9)第七部分公共场所卫生监督协管服务 (10)附表1卫生监督协管信息报告登记表 (12)附表2卫生监督协管巡查登记表 (13)附表3卫生监督协管宣传活动记录 (14)附表4涉嫌违法行为信息报告单 (15)附表5卫生监督协管信息报告接收处理记录表 (16)附表6供水单位(设施)基本情况登记表 (17)附表7学校基本信息登记表 (18)附表8医疗机构基本情况登记表 (19)附表9公共场所基本情况登记表 (20)附表10可疑职业病患者登记汇总表 (21)附表11饮用水卫生安全巡查及现场监测记录表 (22)附表12学校卫生服务巡查记录表 (23)附表13打击非法无证行医情况反馈单 (25)附表14食品安全信息报告登记表 (26)附件15公共场所现场检查记录 (27)卫生监督协管指导意见书 (29)陕西省卫生监督协管服务基本工作流程第一部分摸底建档卫生监督协管员(简称协管员)第一季度前完成对辖区内公共卫生相关单位基本情况的摸底建档。
摸底建档工作应全面真实反映辖区内各相关单位基本情况,根据摸底情况填表6-9,并按照要求建立监管档案,做到一户一档,及时更新。
第二部分职业卫生咨询指导图1 职业卫生咨询指导流程图一、职业卫生宣传咨询每年应组织不少于2次的职业卫生宣传咨询活动,通过设置卫生宣传栏或向辖区居民发放传单、小册子、小折页,张贴宣传画等方式,宣传职业卫生法律法规、职业病防治等相关知识,使广大人民群众充分认识职业病的危害和可预防性。
填表3。
二、可疑职业病患者的登记与咨询指导1.登记。
临床接诊医生在医疗服务过程中,发现可疑职业病患者,做好信息登记,填表10。
卫生监督工作流程富顺县长滩镇卫生院卫生监督协管室工作流程图↘↓2↓1.制作现场检查记录和卫生监督意见书2.提出整改意见限期整改1.制作现场检查记录和卫生监督意见书2.报告区(县)卫生监督所依法处理情况属实↓↓↓34附件2:卫生监督协管辖区单位名册卫生监督协管辖区单位名册社区(乡镇)名称:5填写说明:1.类别栏填写公共场所、职业卫生、医疗机构、二次供水等行业类别。
2.凡属于卫生许可范畴的单位,均应在备注栏内填写其卫生许可证号(或执业许可证书号),并标明卫生许可期限(或执业许可证期限)。
6附件3:卫生监督协管现场检查记录现场检查记录(公共场所单位)单位名称:负责人:经营地址:电话:经营项目:卫生许可证号:1、证照应齐全:卫生许可证完备有效是□否□从业人员健康证齐全(从业人员数:健康证数:)是□否□卫生制度、体检档案等卫生资料齐全是□否□2、店容、店貌和周围环境应整洁、美观,无果皮垃圾及痰迹是□否□3、室内通风换气良好,空气清洁是□否□4、旅店业:应有消毒间及消毒设施,被套、床单、茶具等公用品一客一用一消毒是□否□洗漱池、浴盆和抽水马桶应每日清洗、消毒;是□否□无卫生间的客房每床位应配备不同标准的脸盆和脚盆各一个并做到一客一用一消毒是□否□5、浴室业应设有更衣室、休息室和厕所等房间,地面要防渗、防滑;是□否□应有消毒间及其消毒设施和药品;是□否□浴室内及其卫生间应及时清扫、消毒无积水、无异味;是□否□应设有禁止性病和皮肤病的顾客就浴的明显标志;是□否□茶具、拖鞋等公用品一客一用一消毒。
是□否□6、理发美容业应有消毒设施,理发工具采用臭氧或紫外线消毒,理发用毛巾、围布要清洁,要经常清洗,物品分类存放;是□否□应配有皮肤传染病顾客专用的理发工具,有明显标志,并存放在指定的专用箱内;7、歌舞厅茶具、饮具、毛巾一客一用一消毒是□否□8、游泳池应设有性病、皮肤病禁游标识是□否□;应设有更衣室、淋浴等房间,地面要防渗、防滑、墙体要防霉;是□否□7泳池和浸脚池及时消毒投药,消毒效果监测并有记录;是□否□淋浴室内及其卫生间及时清扫、消毒无积水、无异味;是□否□对拖鞋等公共用品做到一客一用一消毒;是□否□被检查人签名:检查人员签名:年月日年月日8备注:此记录一式两份,一份留存备案,一份交被检查单位。
学校卫生协管服务流程图及说明(1)学校卫生协管服务流程图1、流程图(见下图)(2)服务流程内容说明①巡访:对学校饮用水卫生和传染病防控措施落实情况开展巡访,指导学校建立健全各项学校卫生制度并督促学校落实。
②信息采集与上报:掌握辖区内学校基本情况,根据巡访内容填写《卫生监督协管巡查登记表》及《卫生监督协管信息报告登记表》,协助卫生监督机构做好其它信息报告工作。
③宣传、培训:确定宣传内容;准备宣传资料;组织实施宣传工作;整理宣传记录;开展定期培训。
1、服务对象卫生所、服务站分管辖区内2、学校卫生监督协管(1)信息收集工作①基本信息:基本情况:学校名称、地址、学校卫生负责人员、联系方式、学生总数、医务室设置等;②校内辅助设施学生集体食堂、洗浴场所、游泳涫等;③饮用水:供水方式,如集中式供水、二次供水、分质供水、分散式供水等。
④教学环境、生活设施:教室、宿舍间数、教室人均面积等健康管理:卫生室、保健室设置、卫生专业人员配备等。
现场巡访信息:巡访中要做好记录,针对发现的问题要填写《卫生监督协管巡查(访)登记表》。
方法:Ⅰ.协管员初次对学校巡访需填写,《学校基本信息登记表》由卫生监督机构提供,有学校填写一式三份,一份有协管员自行存档,一份交卫生监督机构存档,一份学校存档。
每年学校秋季开学及时更新学校基本信息,Ⅱ.协管员巡访时填写、核实学校基本信息,并填写《卫生监督协管巡查(访)登记表》,发现问题填写《卫生监督协管信息报告登记表》,及时报告卫生监督机构。
(1)巡访工作①学校生活饮用水主要巡访内容:参照饮用水卫生协管技术规范。
②学校传染病防控工作主要巡访内容:Ⅰ.卫生防病管理组织的设立情况;Ⅱ.指定专人负责传染病疫情等突发公共卫生事件工作的落实;Ⅲ.突发公共卫生事件应急预案的建立;Ⅳ.传染病管理制度;的建立Ⅴ.学生病假与患病情况登记;Ⅵ.晨检情况登记;Ⅶ.小学新生入学预防接种证(卡)查验登记;Ⅶ.疫情信息上报情况。
职业卫生监督协管服务流程图及说明(1)职业卫生监督协管服务流程图1、流程内容说明职业卫生监督协管主要职责:开展对社区居民和就诊人员的职业病防治宣传教育、咨询、指导;在医疗服务过程中,发现可疑职业病患者,做好信息登记,并向辖区卫生监督机构报告。
1、服务对象卫生所、服务站分管辖区内2、职业病防治宣传教育、咨询、指导在社区卫生服务中心、乡镇卫生院开展职业卫生法律法规宣传和职业病防治知识的宣传教育,对提高居民和企业工人的职业病防治法律和自我保护意识,普及职业病防治知识。
①门诊职业健康教育、咨询、指导Ⅰ.工作内容:门诊职业健康教育、咨询、指导主要指由医务人员开展的针对就诊者的个体化职业健康教育、咨询、指导。
Ⅱ.方法和程序:针对从事接触职业病危害作业者,结合本次就诊者的目的,有针对性职业健康教育、咨询、指导、指导内容包括其所从事职业可能导致的职业病主要临床症状及表现、如何采取预防保护措施、如何进行职业健康体检、职业病诊断及劳动者依法享有的职业卫生保护权利等。
指导时间不少于5分钟;职业健康教育或指导的主要内容,均应记录在就诊者的诊疗记录中,如应记录职业健康教育题目和重点讲解的内容小标题。
②门诊职业卫生宣传充分利用社区卫生服务机构内设置的卫生宣传栏,包括卫生墙报、宣传橱窗和流动宣传展板等宣传辖区内存在的常见职业病危害知识,内容要精炼、通俗易懂,可请当地卫生监督机构提供业务支持。
职业卫生宣传应当有专人负责管理。
每期宣传内容都应当存档,便于工作总结时自查和工作检查。
③社区职业卫生宣传结合每年《职业病防治法》宣传周及法制宣传日活动,配合辖区卫生监督机构采取向社区职业人群发放宣传传单、小册子、小折页,张贴宣传画等形式,集中开展2次职业病防治知识宣传。
3、可能患有职业病患者的登记和报告①可能职业病患者登记、报告的内容患者姓名、性别、年龄、身份证号、工作单位、工种、职业史、职业病危害接触时间、可能患有职业病名称、患者及工作单位联系方式。
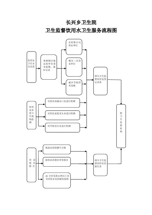
长兴乡卫生院
卫生监督饮用水卫生服务流程图
内容说明
①了解掌握辖区内农村集中式供水单位、城市二次供水单位和城乡学校基本情况(数量、位置、许可情况),做好登记。
在需要时可协助卫生监督员迅速到达现场、联系各单位负责人或管水责任人。
②每年按照辖区卫生监督机构的巡查安排,协助卫生监督机构对辖区内农村集中式供水单位、城市二次供水单位和城乡学校供水设施开展巡查,同时对设施出口水和学校龙头水水质进行现场检测,每个供水设施检测1件。
现场检测项目包括感管性状(臭和味、肉眼可见物)、pH值、消毒剂余氯测定。
③每个机构每季对5户社区居民家庭龙头水水质进行现场检测。
现场检测项目包括感管性状(臭和味、肉眼可见物)、pH值、消毒剂余氯测定。
④将巡查结果和检测结果填写在《卫生监督协管巡查记录表》(其中现场快速检测结果填写在“巡查地点与内容”栏)中,定期上报卫生监督机构。
⑤发现现场水质检测不合格、接到水质异常反映、发现24小时内出现3例以上有共同饮水史的疑似病例,填写《卫生监督协管信息报告登记表》,立即报告卫生监督机构。
. .. .附件1:卫生监督协管室工作流程图卫生监督协管室工作流程图附件2:卫生计生监督协管辖区单位名册卫生计生监督协管辖区单位名册2.凡属于卫生许可畴的单位,均应在备注栏填写其卫生许可证号(或执业许可证书号),并标明卫生许可. .资料. ..期限(或执业许可证期限)。
. .资料. ..附件3:卫生监督协管现场检查记录公共场所巡查登记表单位名称:负责人:经营地址:电话:经营项目:卫生许可证号:1、证照应齐全:卫生许可证完备有效是□否□从业人员健康证齐全(从业人员数:健康证数:)是□否□卫生制度、体检档案等卫生资料齐全是□否□2、店容、店貌和周围环境应整洁、美观,无果皮垃圾及痰迹是□否□3、室通风换气良好,空气清洁是□否□4、旅店业:应有消毒间及消毒设施,被套、床单、茶具等公用品一客一用一消毒是□否□洗漱池、浴盆和抽水马桶应每日清洗、消毒;是□否□无卫生间的客房每床位应配备不同标准的脸盆和脚盆各一个并做到一客一用一消毒是□否□5、浴室业应设有更衣室、休息室和厕所等房间,地面要防渗、防滑;是□否□应有消毒间及其消毒设施和药品;是□否□浴室及其卫生间应及时清扫、消毒无积水、无异味;是□否□应设有禁止性病和皮肤病的顾客就浴的明显标志;是□否□茶具、拖鞋等公用品一客一用一消毒。
是□否□6、理发美容业应有消毒设施,理发工具采用臭氧或紫外线消毒,理发用毛巾、围布要清洁,要经常清洗,物品分类存放;是□否□应配有皮肤传染病顾客专用的理发工具,有明显标志,并存放在指定的专用箱;被检查人签名:检查人员签名:年月日年月日备注:此记录一式两份,一份留存备案,一份交被检查单位。
职业卫生巡查登记表一、单位基本情况1.单位名称地址法定代表人(负责人)2.企业存在的职业病危害类别石棉尘□石英砂□其他粉尘□;有机溶剂□有机毒物□;噪声□其他物理因素□;放射性物质□;其他有害物质□3.企业现有职工人数人,接触职业病危害因素总人数人。
陕西省卫生监督协管服务工作指导手册(试行)陕西省卫生厅目录陕西省卫生监督协管服务基本工作流程 0第一部分摸底建档 (1)第二部分职业卫生咨询指导 (2)第三部分饮用水卫生安全巡查 (3)第四部分学校卫生服务 (5)第五部分非法行医和非法采供血信息报告 (7)第六部分食品安全信息报告 (9)第七部分公共场所卫生监督协管服务 (10)附表1卫生监督协管信息报告登记表 (12)附表2卫生监督协管巡查登记表 (13)附表3卫生监督协管宣传活动记录 (14)附表4涉嫌违法行为信息报告单 (15)附表5卫生监督协管信息报告接收处理记录表 (16)附表6供水单位(设施)基本情况登记表 (17)附表7学校基本信息登记表 (18)附表8医疗机构基本情况登记表 (19)附表9公共场所基本情况登记表 (20)附表10可疑职业病患者登记汇总表 (21)附表11饮用水卫生安全巡查及现场监测记录表 (22)附表12学校卫生服务巡查记录表 (23)附表13打击非法无证行医情况反馈单 (25)附表14食品安全信息报告登记表 (26)附件15公共场所现场检查记录 (27)卫生监督协管指导意见书 (29)陕西省卫生监督协管服务基本工作流程第一部分摸底建档卫生监督协管员(简称协管员)第一季度前完成对辖区内公共卫生相关单位基本情况的摸底建档。
摸底建档工作应全面真实反映辖区内各相关单位基本情况,根据摸底情况填表6-9,并按照要求建立监管档案,做到一户一档,及时更新。
第二部分职业卫生咨询指导图1 职业卫生咨询指导流程图一、职业卫生宣传咨询每年应组织不少于2次的职业卫生宣传咨询活动,通过设置卫生宣传栏或向辖区居民发放传单、小册子、小折页,张贴宣传画等方式,宣传职业卫生法律法规、职业病防治等相关知识,使广大人民群众充分认识职业病的危害和可预防性。
填表3。
二、可疑职业病患者的登记与咨询指导1.登记。
临床接诊医生在医疗服务过程中,发现可疑职业病患者,做好信息登记,填表10。
卫生监督协管服务相关法律法规
1、职业卫生:《中华人民共和国职业病防治法》、《使用有毒物品作业场所劳动保护条例》等。
2、饮用水卫生:《生活饮用水卫生监督管理办法》、《生活饮用水水质卫生标准(GB 5749-2006)》、《二次供水设施卫生规范》等。
3、学校卫生:《学校卫生工作条例》、《中共中央、国务院关于加强青少年体育增强青少年体质的意见》等。
4、非法行医和非法采供血信息报告:《中华人民共和国执业医师法》、《中华人民共和国献血法》、《血站管理办法》、《医疗机构临床用血管理办法》等。
卫生监督协管服务流程图一、职业卫生监督协管服务流程图
二、饮用水卫生卫生监督协管流程图
三、学校卫生协管服务流程图
四、非法行医和非法采供血信息报告服务流程图。
卫生监督工作流程富顺县长滩镇卫生院卫生监督协管室工作流程图↘↓2↓1.制作现场检查记录和卫生监督意见书2.提出整改意见限期整改1.制作现场检查记录和卫生监督意见书2.报告区(县)卫生监督所依法处理情况属实↓↓↓34附件2:卫生监督协管辖区单位名册卫生监督协管辖区单位名册社区(乡镇)名称:5填写说明:1.类别栏填写公共场所、职业卫生、医疗机构、二次供水等行业类别。
2.凡属于卫生许可范畴的单位,均应在备注栏内填写其卫生许可证号(或执业许可证书号),并标明卫生许可期限(或执业许可证期限)。
6附件3:卫生监督协管现场检查记录现场检查记录(公共场所单位)单位名称:负责人:经营地址:电话:经营项目:卫生许可证号:1、证照应齐全:卫生许可证完备有效是□否□从业人员健康证齐全(从业人员数:健康证数:)是□否□卫生制度、体检档案等卫生资料齐全是□否□2、店容、店貌和周围环境应整洁、美观,无果皮垃圾及痰迹是□否□3、室内通风换气良好,空气清洁是□否□4、旅店业:应有消毒间及消毒设施,被套、床单、茶具等公用品一客一用一消毒是□否□洗漱池、浴盆和抽水马桶应每日清洗、消毒;是□否□无卫生间的客房每床位应配备不同标准的脸盆和脚盆各一个并做到一客一用一消毒是□否□5、浴室业应设有更衣室、休息室和厕所等房间,地面要防渗、防滑;是□否□应有消毒间及其消毒设施和药品;是□否□浴室内及其卫生间应及时清扫、消毒无积水、无异味;是□否□应设有禁止性病和皮肤病的顾客就浴的明显标志;是□否□茶具、拖鞋等公用品一客一用一消毒。
是□否□6、理发美容业应有消毒设施,理发工具采用臭氧或紫外线消毒,理发用毛巾、围布要清洁,要经常清洗,物品分类存放;是□否□应配有皮肤传染病顾客专用的理发工具,有明显标志,并存放在指定的专用箱内;7、歌舞厅茶具、饮具、毛巾一客一用一消毒是□否□8、游泳池应设有性病、皮肤病禁游标识是□否□;应设有更衣室、淋浴等房间,地面要防渗、防滑、墙体要防霉;是□否□7泳池和浸脚池及时消毒投药,消毒效果监测并有记录;是□否□淋浴室内及其卫生间及时清扫、消毒无积水、无异味;是□否□对拖鞋等公共用品做到一客一用一消毒;是□否□被检查人签名:检查人员签名:年月日年月日8备注:此记录一式两份,一份留存备案,一份交被检查单位。
.
附件1:卫生监督协管室工作流程图
卫生监督协管室工作流程图
↓↓
.
附件2:卫生计生监督协管辖区单位名册
卫生计生监督协管辖区单位名册
2.凡属于卫生许可范畴的单位,均应在备注栏内填写其卫生许可证号(或执业许可证书号),并标明卫生许可
期限(或执业许可证期限)。
精品
附件3:卫生监督协管现场检查记录
公共场所巡查登记表
单位名称:负责人:
经营地址:电话:
经营项目:卫生许可证号:
1、证照应齐全:
卫生许可证完备有效是□否□
从业人员健康证齐全(从业人员数:健康证数:)是□否□
卫生制度、体检档案等卫生资料齐全是□否□
2、店容、店貌和周围环境应整洁、美观,无果皮垃圾及痰迹是□否□
3、室内通风换气良好,空气清洁是□否□
4、旅店业:
应有消毒间及消毒设施,被套、床单、茶具等公用品一客一用一消毒是□否□
洗漱池、浴盆和抽水马桶应每日清洗、消毒;是□否□
无卫生间的客房每床位应配备不同标准的脸盆和脚盆各一个并做到一客一用一消毒
是□否□
5、浴室业
应设有更衣室、休息室和厕所等房间,地面要防渗、防滑;是□否□
应有消毒间及其消毒设施和药品;是□否□
浴室内及其卫生间应及时清扫、消毒无积水、无异味;是□否□
应设有禁止性病和皮肤病的顾客就浴的明显标志;是□否□
茶具、拖鞋等公用品一客一用一消毒。
是□否□
6、理发美容业
应有消毒设施,理发工具采用臭氧或紫外线消毒,理发用毛巾、围布要清洁,要经常清洗,物品分类存放;是□否□
应配有皮肤传染病顾客专用的理发工具,有明显标志,并存放在指定的专用箱内;
被检查人签名:检查人员签名:
年月日年月日
备注:此记录一式两份,一份留存备案,一份交被检查单位。
职业卫生巡查登记表
一、单位基本情况
1.单位名称地址
法定代表人(负责人)电话
2.企业存在的职业病危害类别
石棉尘□石英砂□其他粉尘□;有机溶剂□有机毒物□;
噪声□其他物理因素□;放射性物质□;其他有害物质□
3.企业现有职工人数人,接触职业病危害因素总人数人。
二、职业卫生管理
1.是否设立职业卫生管理机构?是□否□
2.是否配备职业卫生专业人员?是□否□(专职人/兼职人)3.是否制定相应的职业病防治计划或方案?是□否□
4.是否给工人配备有效的个人防护用品?是□否□
三、健康监护
1.职业健康监护档案:有□无□(应建份,实建份)
2.职业健康检查
上岗前:应查人,实查人;
在岗期:应查人,实查人,检出职业禁忌人,调离原岗位人;离岗时:应查人,实查人;
四、职业卫生审查
本年度有无新、改、扩建项目?有□无□
是否经过卫生行政部门的职业卫生审查?是□否□
被检查人(签名):日期:年月日
检查人员(签名):日期:年月日备注:此记录一式两份,一份留存备案,一份交被检查单位。
医疗机构及传染病管理巡查登记表
医疗机构名称:法定代表负责人
地址:电话
一、医疗机构执业许可证号:悬挂于明显处所是□否□
诊疗范围:
实际开展科目、门头牌匾内容及广告标识内容与核准科目一致是□否□
伪造、涂改、出卖、转让、出借《医疗机构执业许可证》有□无□
《医疗机构执业许可证》按时校验是□否□
二、人员资格:
抽查医生人,护士人。
被抽查执业人员持相关资格证上岗。
是□否□
被抽查执业人员应注册,其执业地点、类别、范围应与注册地点、类别、范围一致
是□否□
聘用非卫技人员(无资质、未注册或超出执业范围等)从事诊疗活动,如有请填写人员姓名:()是□否□
三、一般情况
诊疗、处置、治疗、消毒供应、放射等活动应独立是□否□
医疗设备应基本齐全(诊疗床、诊疗桌、处置台、医疗废物桶等医疗用具)是□否□
医疗机构内应保持整洁明亮,橱柜、墙面、地面不得积有灰尘是□否□
工作人员着装应规范,应佩戴标牌是□否□
各医疗用品应摆放整齐,盛放在标有标识的容器内是□否□
四、医疗文书:
门诊日志记录:姓名□性别□年龄□诊断□住址□填写无漏项是□否□病历:患者一般情况□临床诊断□执业人员签名□字迹清晰□
处方:与病历记载一致□执业人员签名□字迹清晰□
五、传染病报告:
传染病报告卡有□无□,传染病报告员有□无□,程序和要求是□否□知晓。
半年内诊治传染病人例,已报告是□否□,疫情报告数与门诊日志记录一致是□否□。
传染病报告无迟报漏报现象是□否□
六、医院感染控制:消毒人员培训是□否□;消毒管理制度健全并悬挂在墙上是□否□
设有感染性疾病科或预检分诊点,并标示明确有□无□
消毒药剂:戊二醛□过氧乙酸□含氯消毒剂□其他,
消毒剂按要求配制是□否□,标有名称、配制日期及失效日期是□否□
处置室内应设有紫外线消毒灯及流动水洗手装置是□否□
消毒器械:紫外线灯□高压灭菌锅□其他,
消毒器械有效是□否□,使用规范是□否□;消毒记录完整是□否□。
抽查的执业人员掌握消毒隔离和个人防护知识是□否□
七、医疗废物处理:
一次性医疗用品使用后处理:毁形是□否□,浸泡消毒是□否□,重复使用是□否□,
处置台上是□否□发现放有用过的一次性医疗用品
设置医疗废物暂存点是□无□,布局合理是□否□,有明显标示是□否□,通风良好是□否□,
分类存放是□否□,医疗废物收集桶有□否□,黄色收集袋有□否□,与生活垃圾混放是□否□,医疗废物转运是□否□备有防护物品。
医疗废物处理:集中处置□、焚烧□、填埋□、其他
医疗污水处理:符合要求是□否□医疗废物建立登记台帐是□否□
被检查人签名:检查人员签名:
年月日年月日
备注:此记录一式两份,一份留存备案,一份交被检查单位。
学校卫生监督巡查记录表
1、单位情况
被监督单位(个人):电话:
注册地址:注册地址行政区划:
地址:
地址行政区划:行政区划:
组织机构代码:经济类型代码:2、基本情况
法定代表人(负责人):身份证件名称:
证件号码:
学生总数:其中:男生:女生:
住宿学生数:教职工人数:
3、学校类别:
学校类别:
办学性质办学性质:
4、校内辅助设施数
学生集体食堂:学生宿舍(间):
洗浴场所:学生厕所(蹲厕):
学生厕所(蹲位):游泳场所:
体育馆图书馆(阅览室):体育馆:
5、饮用水
□市政供水□自建式供水□集中式供水
6、健康管理
校医院(室)、卫生室数:卫生专业技术人员数:
保健室:保健教师数:
学生体检数:学生健康档案:有无
开展学生常见病防治:是否
开展急、慢性传染病、地方病防控:是否
开设健康教育课:是否
突发公共卫生事件应急预案:有无
7、传染病防控工作制度落实措施
□班级晨检登记本
□因病缺课登记本
□病因追踪登记本
□每月统计数据;□传染病报告登记本
□电话/网络报告登记本;
□患传染病学生康复出院登记本
□检验儿童预防接种证记录;
□发生传染病的教室、宿舍终末消毒记录本
□公共场所预防性消毒记录本(学校有传染病疫情发生时检查)。
陪同检查人员:卫生监督协管员:年月日年月日
.
附件1
卫生监督协管信息报告登记表
法行医(采供血)。
2.信息内容:注明发现问题(隐患)的地点、内容等有关情况简单描述。
精品
.
卫生监督协管巡查登记表
后的处置方式(如报告卫生监督机构或帮助整改等内容)。
精品
精品
精品
如有侵权请联系告知删除,感谢你们的配合!
精品。