大型电站项目备案流程及要件清单
- 格式:docx
- 大小:362.14 KB
- 文档页数:11
光伏项目备案流程及所需材料一、光伏项目备案流程1.项目可研报告编制:首先,申请者需要编制项目可行性研究报告。
该报告需要包括项目的基本情况、项目建设的必要性和可行性分析、项目的技术方案和预计经济效益评价等内容。
2.相关部门初审:完成项目可研报告后,申请者需要将报告提交给相关部门进行初审。
初审主要检查项目的基本信息、技术方案的合理性以及经济效益等方面的内容。
3.政府批准:通过初审后,项目需要经过政府批准。
政府会对项目进行综合评估,包括项目的环境影响、政策合规性等方面。
4.现场勘察:项目获得政府批准后,申请者需要进行现场勘察,了解项目所在地的地理、环境等情况,并进行初步设计。
5.设计报告编制:根据现场勘察结果,申请者需要编制设计报告。
该报告需要包括项目的详细设计方案、设备选型、工程量清单等内容。
6.设计报告审查:完成设计报告后,申请者需要将报告提交给相关部门进行审查。
审查主要考察设计方案的合理性、设备选型的可行性等方面。
7.施工许可证申请:设计报告获得审查通过后,申请者需要向相关部门申请施工许可证。
8.施工验收:项目实施过程中,申请者需要按照设计方案进行施工,并在施工结束后进行施工验收。
验收包括工程质量的检查以及安全、环境等方面的评估。
9.项目竣工备案:项目竣工后,申请者需要向相关部门提交竣工备案材料。
竣工备案材料包括项目的竣工报告、工程质量验收报告、竣工图纸等。
二、光伏项目备案所需材料1.项目可研报告:包括项目的基本情况、可行性分析、技术方案等。
2.土地使用手续:包括土地使用证、土地租赁协议等。
3.政府批准文件:项目获得政府批准的文件。
4.现场勘察报告:包括项目所在地的地理、环境等情况。
5.设计报告:包括详细设计方案、设备选型、工程量清单等。
6.施工许可证:申请施工许可证的文件。
7.施工验收报告:包括工程质量验收报告、安全、环境等评估报告。
8.竣工备案材料:包括竣工报告、工程质量验收报告、竣工图纸等。
光伏电站项目备案流程流程1.项目可行性研究与评估:首先,需要进行光伏电站项目的可行性研究与评估,包括资源评估、技术评估、经济评估等。
这一步骤的目的是确定项目的可行性,为后续的备案提供依据。
2.制定项目备案申请:在项目可行性得出后,需要制定项目备案申请。
备案申请包括项目基本信息、项目规划、技术方案、环境影响评价报告等材料。
这些材料将向政府部门提交,以便得到政府的审核和认可。
4.环评审批:光伏电站作为大型工程项目,需要进行环境影响评价。
环评报告将提交给环境保护部门,进行环评审批。
环评审批的过程中,可能还需要进行公开听证等程序。
5.土地审批:光伏电站需要用地,所以需要进行土地审批。
土地部门将审核用地的合规性、适宜性等,确保用地符合相关规定。
6.能价核定:电力发电项目需要进行能源价格核定。
相关能源部门将根据光伏电价政策和市场需求等因素确定合理的电价。
7.银行贷款审批:如果项目需要融资,还需要进行银行贷款审批。
申请贷款的企业需要向银行提供相关材料,如项目规划书、财务报表、借款担保等。
8.发电许可申请:按照国家规定,光伏电站还需要申请发电许可。
发电许可申请将提交给能源管理部门,经过审查和审核后,获得发电许可证。
9.项目备案登记:当项目备案申请通过审核后,将获得备案的批复文件。
备案文件将提交给相关部门,完成项目备案登记。
登记后,项目将获得政府的支持和认可。
10.项目建设和运营:备案完成后,可以正式开始光伏电站的建设和运营。
建设过程中需要遵守相关法律法规,确保项目的安全和环保。
以上是光伏电站项目备案的一般流程。
具体的流程可能因地区、政策等因素而有所不同,企业在备案过程中需要与相关政府部门进行沟通和协调,确保项目能够顺利备案并得到支持。
光伏电站项目备案流程及所需材料自国家能源局发布《光伏电站项目管理暂行办法》(国能新能[2013]329号文),将光伏电站的核准制改为备案制,省级主管部门对光伏项目实施备案管理后。
国内各地的大型光伏电站项目已从核准制改为备案制,国内大型光伏电站项目的申报流程产生了较大变化。
光伏电站项目前期阶段主要的工作有考察、备案申请、开工前准备、开工许可等主要工作。
一、项目前期考察对项目地形、周边环境条件(交通、物资采购、市场的劳动力、道路、水电)电网结构及年负荷量、消耗负荷能力、接入系统的电压等级、接入间隔合适、送出线路长度廊道的条件、和当地电网公司的政策等条件进行考察。
其中,电网接入一定要确定由间隔,主变容量最好在50MW及以上。
并网店的距离尽量近,沿路有基本的线路走廊。
最好无铁路、高速公路等跨越。
线路走廊没有油库、气源、地下管网、水源等。
近期或近地最好没有电源。
建站周围可进行小量防洪。
周围土质较好。
天气情况,最好没有沙尘。
距工业不要太近。
降雪及降水适中。
就地负荷可满足项目装机容量,并有发展前景。
地形不宜大起大落。
提前一年由政府上报土地规划。
二、项目备案申请阶段根据前期考察的情况。
确定项目地,与当地政府签订开发协议书(投资框架协议),然后进入项目的备案申请阶段。
开始开展项目备案申请工作。
备案申请报告阶段委托有省(自治区)B级以上的单位编制大型光伏并网电站项目进行项目备案申请报告、可行性研究报告的编制工作。
项目备案阶段所需要的工作及需要的批文项目备案阶段的工作大型光伏并网电站项目的备案一般由省(自治区)发改部门审核备案,备案需要逐级审批,首先获得项目地县(市)级发改委项目备案申请报告的批复,然后由县(市)级发改委上报至省发改委能源局,由省能源局根据本年度地区的具体额度及项目的实际情况对项目进行审批,并获得项目的备案证,纳入本年度地区光伏规划。
项目备案阶段的批文首先委托具备资质的单位编制《项目备案申请报告》;委托省(自治区)电力设计院做《项目接入系统设计方案》,并上报至省(自治区)电力公司,由省(自治区)电力公司组织专家评审会对《项目接入系统设计方案》进行评审,最终给出《项目接入系统方案审查意见》(接入意见),由资质单位根据接入意见对设计方案进行修改,最终形成《项目接入系统设计方案》;同时,在获取《项目地灾报告》等相关要件后,并最终获取自治区(省)国土厅出具的《项目土地预审意见》;最后,委托具备资质单位编写《社会稳定风险评估报告》。
大型水电站建设项目审报流程咱来唠唠大型水电站建设项目申报流程哈。
一、项目前期规划。
咱得先有个规划呀。
这可不是拍拍脑袋就能定的事儿。
得找一帮专业的人,什么工程师啦,环境专家啦,一起商量商量。
这个地方适不适合建大型水电站呢?得看看地理条件,比如说河流的流量够不够大,落差是不是合适。
要是流量像小溪流似的,那肯定不行呀。
落差小的话,也发不出多少电来。
还有就是要考虑对周边环境的影响。
不能为了发电,把周围的生态都破坏了。
那些小动物的家可不能随便就给拆了,像那些珍稀的鱼类呀,咱得想办法让它们还能好好生活。
这时候呢,就得做一些环境评估之类的工作。
这就像是给这个项目做个体检,看看有没有什么潜在的毛病。
二、可行性研究。
这一步可重要啦。
就像你想做一件大事儿,得先看看可不可行对吧。
要研究这个水电站建成之后能发多少电,能卖多少钱,要花多少钱去建。
这得算得明明白白的。
要是算出来建这个水电站要花的钱比它一辈子发的电卖的钱还多,那这事儿可就有点悬乎了。
还要考虑技术方面的可行性。
比如说有没有合适的技术来建这个大坝,来安装那些发电设备。
不能说咱们想建个特别高大上的水电站,结果技术达不到,那就尴尬了。
这就好比你想做个超级酷炫的蛋糕,结果你连烤箱都不会用,那肯定做不成呀。
三、项目立项申请。
当咱们觉得这个项目可行了,就可以去申请立项啦。
这时候得准备好多材料呢。
像前面做的那些规划呀,可行性研究报告之类的,都得整理好。
要把这个项目的好处都说清楚,什么能给当地带来多少经济效益啦,能提供多少就业机会啦。
就像跟别人推销东西一样,得把自己的项目夸得棒棒的。
然后把这些材料交给相关的部门。
这个部门可能是当地的发改委之类的。
交上去之后呢,就得等着人家审核啦。
这就像等待老师给你的作业打分一样,心里可忐忑了。
四、初步设计审查。
如果立项申请通过了,那就要进行初步设计啦。
这初步设计也得审查呢。
这个审查主要是看看设计得合不合理。
比如说大坝的结构设计得安全不安全,发电设备的布局合理不合理。
光伏项目备案流程及所需材料光伏项目备案是指在进行光伏发电项目时,根据国家有关政策法规的规定,需要将项目进行备案登记并获得备案证书。
这是一项重要的程序,能够确保光伏项目在法律法规范围内进行,并享受相关政策支持。
下面是一个光伏项目备案的流程及所需材料的介绍。
一、光伏项目备案流程1.提交备案申请:申请单位应向所在地省级工业和信息化主管部门或能源主管部门提交光伏项目备案申请。
备案申请中应包括项目的基本信息,如项目名称、地点、规模等。
2.初审及现场核查:主管部门将对备案申请进行初步审核,包括检查项目是否符合相关政策法规的要求,项目所在地是否有发展光伏发电的基础条件等。
初审合格后,将进行现场核查,核查项目建设的可行性。
3.备案审批:初步审核和现场核查合格后,主管部门将组织专家对项目进行论证,并出具正式的备案审批意见。
备案审批意见将提交给相关决策机构进行最终审批。
4.备案证书颁发:经过决策机构的审批后,主管部门将签发备案证书,并发给申请单位。
二、光伏项目备案所需材料1.《光伏项目备案申请表》:按照主管部门要求填写的备案申请表。
2.项目基本信息:包括项目名称、地点、规模、设计容量、建设周期等。
3.场地使用证明:提供场地使用的法律证明文件,如土地出让合同、场地租赁合同等。
4.拟建设方案:包括项目建设的技术方案、总平面图等。
5.环境影响评价报告:拟建设项目需提供环境影响评价报告,以评估项目建设对环境的影响,并提出相应的防治措施。
6.土地手续:光伏项目需要土地使用权,因此需要提供取得土地使用权的相关手续文件。
7.资金保障证明:提供拟建设项目所需资金的保障证明文件,如银行贷款承诺函、投资者资金证明等。
8.技术支持文件:提供供货商、技术服务商、运维服务商等技术支持和合作文件。
9.管理与监督文件:提供项目管理与监督的文件,包括安全生产管理制度、质量管理文件等。
10.相关证照:提供企业法人营业执照、组织机构代码证等。
11.其他材料:根据不同地区的要求,可能还需要提供其他相关材料,如用电合同、电力配网合同等。
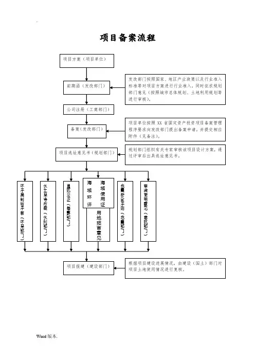
项目备案流程备注:1、在出具前期函之前,发改部门如认为有必要,可委托相应的中介机构组织有关专家对项目方案进行论证,规划部门参加。
论证依据国家、XX省、XX市和曹妃甸工业区产业发展政策、产业发展规划以及行业准入标准等。
(专家及会议费用,建议由管委会先行垫付。
若项目方案通过专家论证该项费用由项目单位支付;反之,则由管委会支付。
)2、项目申报单位在报送备案申请表时,根据《XX省人民政府关于印发<XX省固定资产投资项目核准实施办法>和<XX 省固定资产投资项目备案管理办法>的通知》(冀政[2005]32号)中《XX省固定资产投资项目备案管理办法》的规定,项目单位应当提供以下材料一式五份:(1)填写完整的《XX省固定资产投资项目备案申请表》;(2)企业营业执照副本及复印件;(3)组织机构代码证及复印件;(4)依法先行取得的有关许可文件;(5)建设项目招标方案;(6)节能专项分析报告(发改部门如认为有必要则委托中介机构进行评估,评估费用由项目单位支付);(7)发展改革部门认为必要的其他说明材料。
3、备案后的项目由规划部门审核项目设计方案,发改部门参加。
办理时限:1、发展改革部门对企业报送的《XX省固定资产投资项目备案申请表》及有关资料,不符合要求的,应在3个工作日内一次告知项目申请单位;符合要求的,应在10个工作日内做出是否准予备案的决定并向社会公布。
2、对符合条件的项目,发展改革部门应在7个工作日内办理年审手续。
项目核准流程备注:1、在出具前期函之前,发改部门如认为有必要,可委托相应的中介机构组织有关专家对项目方案进行论证,规划部门参加。
论证依据:国家、XX省、XX市和曹妃甸工业区产业发展政策、产业发展规划以及行业准入标准等。
(专家及会议费用问题,建议由管委会先行垫付。
若项目方案通过专家论证该项费用由项目单位支付;反之,则由管委会支付。
)2、根据《XX省关于印发<XX省固定资产投资项目核准实施办法>和<XX省固定资产投资项目备案管理办法>的通知》(冀政[2005]32号)中《XX省固定资产投资项目核准实施办法》的规定,项目申报单位应向发展改革部门提交项目申请报告。
电站建设各类审批及办理流程一览表汇总电站建设涉及多个审批和办理的流程,包括规划审批、土地使用审批、环境影响评价审批、用地预审等。
下面是一个电站建设各类审批及办理流程一览表的汇总:一、规划审批:1.提交项目建议书或投资意向书;2.确定项目选址方案,并进行可研论证;3.编制项目提资申请书,并提交相关文件;4.申请用地规划许可证;5.审批用地规划许可证;6.编制规划方案及设计;7.申请规划许可证;8.审批规划许可证。
二、土地使用审批:1.编制土地使用申请书,包括项目证明、地籍证明等相关文件;2.申请土地使用权出让;3.缴纳土地使用权出让金;4.签订土地使用权出让合同;5.申请土地使用证;6.审批土地使用证。
三、环境影响评价审批:1.编制环境影响报告书;2.提交环境影响报告与材料;3.相关部门进行环境影响评价审批;4.受理环境影响评价文件;5.环境影响评价审查;6.环境影响评价报告书备案。
四、用地预审:1.应受理的申请方向属地县级城乡规划主管部门递交书面申请;2.由县级城乡规划主管部门联合有关部门组成用地预审小组;3.用地预审小组全面审查用地申请文件;4.用地预审小组提出预审意见及结论;5.用地目录范围内的项目,由市级城乡规划主管部门报市级政府审批。
五、其他审批及办理流程:1.工程规划审批;2.建设工程规划许可证审批;3.施工图设计方案审查;4.进出口产品质量许可证审批;5.建设投资项目核准;6.安全生产许可证审批;7.环境保护手续办理;8.运营许可证审批。
以上仅为电站建设各类审批及办理流程一览表的基本汇总,具体还要根据不同地区和国家的法规规定进行适当的调整和完善。
请根据实际情况进行具体申请和办理。
大型光伏电站备案流程
一、申报要求
1、填写《大型光伏电站备案申请表》;
2、提交大型光伏电站的建设工程规划许可证原件;
3、提交大型光伏电站建设工程审批文件原件(包括建设项目审批文件、电网建设审批文件、大型光伏电站建设许可文件);
4、提交大型光伏电站建设工程的工程建设进度审核表,经建设项目审批部门审核通过;
5、提交大型光伏电站建设工程建设设计及施工审核表,经建筑行业主管部门审核同意;
6、完成大型光伏电站建设工程设计及施工,提交大型光伏电站建设工程竣工验收资料;
7、提交《大型光伏电站建设工程竣工验收通知书》;
8、提交大型光伏电站山脚站的建筑物建造规划方案及施工图;
9、提交大型光伏电站建设单位的营业执照原件及复印件;
10、提交大型光伏电站的测量验收结论书;
11、提交大型光伏电站建设单位的组织机构代码证原件及复印件。
二、审核程序
1、接收申请
2、审核申请
(1)组织专家对大型光伏电站项目申请材料进行审核;(2)组织专家进行大型光伏电站的现场勘察;
(3)组织专家对竣工验收资料和技术参数进行审核;(4)组织专家审核山脚站建设单位的相关资。
大型电站项目备案流程及要件清单大型电站项目备案流程及要件清单————————————————————————————————作者:————————————————————————————————日期:大型光伏电站备案流程及要件清单目录1.项目前期考察 (5)2.项目备案申请阶段 (6)2.1备案申请报告阶段 (6)2.2项目备案阶段所需要的工作及需要的批文 (6)2.2.1项目备案阶段的工作 (6)2.2.2项目备案阶段的批文 (6)2.3 电网接入的批准 (7)2.3.1电网接入批准所需的要件有: (7)2.3.2电网接入批准流程大致如下: (8)2.4项目土地预审意见 (8)2.5社会稳定风险评估报告 (9)2.6节能评估报材料 (9)2.7项目所需批文 (10)2.7.1获得项目所在地(县)相关部门的批复文件 (10)2.7.2获得项目建设地区级(市)相关部门的批复文件 (10)2.7.3获得自治区(省)相关部门的批复文件 (10)2.8小结 (11)自国家能源局发布《光伏电站项目管理暂行办法》(国能新能[2013]329号文),将光伏电站的核准制改为备案制,省级主管部门对光伏项目实施备案管理后。
国内各地的大型光伏电站项目已逐步从核准制改为备案制,国内大型光伏电站项目的申报流程产生了较大变化。
可行性研究项目备案申请相关资料申报政府合规性审核终止研究需求新的项目获取项目备案证,转入准备阶段准予备案是是否否项目在技术、经济上是否可行项目备案申报程序:※发改等项目备案管理部门:项目备案※住建、国土与环保等部门:规划选址、用地与环评等手续审批企业项目的备案流程和申报程序光伏电站项目前期阶段主要的工作有考察、备案申请、开工前准备、开工许可等主要工作。
1. 项目前期考察对项目地形、周边环境条件(交通、物资采购、市场的劳动力、道路、水电)电网结构及年负荷量、消耗负荷能力、接入系统的电压等级、接入间隔合适、送出线路长度廊道的条件、和当地电网公司的政策等条件进行考察。
光伏电站项目备案流程流程1.项目建议书编制:首先,项目建设方需要编制光伏电站项目建议书,包括项目的基本情况、建设规模、投资估算、技术方案等内容,并逐级提交给相关部门审核。
2.环境影响评价:光伏电站项目建设必须进行环境影响评价,该评价由环境部门负责审核。
项目建设方需要编制环境影响评价报告,提交给环境部门审批,并按照规定向社会公示。
3.土地选址:项目建设方根据光伏电站的选址要求,在规划许可范围内选择适宜的土地,与土地管理部门进行洽谈,确定土地使用方式,签订土地使用协议。
4.厂址审批:项目建设方需要向国土资源部门申请厂址审批,提交相关的申请材料,包括土地使用协议、项目建议书等。
国土资源部门将对申请材料进行审核,出具厂址审批文件。
5.用电核准:光伏电站需要接入电网进行发电,项目建设方需要向国家能源局或地方能源部门申请用电核准。
申请材料主要包括电力需求报告、用电计划等。
6.项目核准:各地的能源部门将对光伏电站项目进行核准,审核包括项目的经济效益、技术可行性、环境影响等方面的内容。
核准通过后,项目建设方将获得项目核准文件。
7.土地使用权出让:根据国家土地管理法规定,项目建设方需要向国土资源部门申请土地使用权出让,出让方式可以是招拍挂、协议出让等。
项目建设方需要缴纳土地出让金,并签订土地使用权出让合同。
8.工程设计和施工许可:项目建设方需要委托专业设计单位进行光伏电站的工程设计,并按照设计方案提交施工许可申请。
申请材料包括设计图纸、施工方案等。
根据施工许可申请流程,施工许可证将由建设部门或者规划部门颁发。
9.环保验收:光伏电站建设完成后,项目建设方需要向环保部门申请环保验收。
环保部门将对电站的污染治理设施、排放水质等进行检查,如符合要求,将颁发环保验收文件。
10.并网接入:光伏电站建成后,项目建设方需要向电网运行企业申请并网接入。
申请材料通常包括电站的技术参数、装机容量等信息。
电网运行企业将对电站进行接入考核,如符合要求,将签订并网协议,并对电站进行接入测试。
电力工程备案流程一、啥是电力工程备案呀?简单来说呢,电力工程备案就是让有关部门知道你要搞一个电力方面的工程啦。
这就像是你要出去旅行,得跟家人报备一下行程似的。
电力工程备案可是很重要的哦,它能保证这个工程合法合规地进行,就像给工程上了一道安全锁。
二、开始备案前的准备工作。
1. 工程资料收集。
你得把这个电力工程的各种资料都整理好。
比如说工程的规划图呀,这就像是工程的蓝图,要清楚地显示出工程的布局、线路走向等等。
还有工程的设计方案,这方案得详细得很,从用什么设备,到怎么安装,都得写得明明白白。
像我之前见过一个小的电力改造工程,就因为设计方案写得不清楚,在备案的时候被打回来好多次呢,可麻烦了。
2. 相关人员信息。
把参与这个工程的人员信息也准备好。
像项目经理是谁,施工人员都有哪些,他们的资质证书可不能少哦。
要是施工人员没有相应的资质,那就像没有驾照就开车上路一样,是不行滴。
三、备案流程正式开始。
1. 找到备案部门。
不同的地方备案部门可能会不太一样呢。
一般来说,是当地的电力管理部门或者是相关的建设部门。
你可以先打个电话去问问,或者上网查一查。
可别找错地方啦,不然就白跑一趟喽。
就像我有个朋友,想去办个什么事儿,结果跑错了办事地点,那叫一个哭笑不得呀。
2. 提交备案申请。
把之前准备好的资料都带上,去备案部门提交申请。
这个时候工作人员可能会对你提交的资料进行初步的审查。
如果有什么问题,他们会告诉你哒。
你可别嫌人家烦哦,人家这也是为了让你的备案顺利通过嘛。
我就遇到过工作人员特别耐心地给我指出问题的情况,当时心里就觉得暖暖的呢。
3. 审核阶段。
提交申请之后就是审核啦。
这个审核可能需要一些时间呢,你就耐心地等着就好啦。
在这个过程中,如果需要补充资料或者修改什么内容,备案部门会通知你的。
你要及时按照要求去做哦。
我知道有些工程就是因为没有及时响应审核的要求,结果备案时间拖得老长了。
四、备案完成后的事儿。
如果你的备案顺利通过了,那可太棒啦!这个时候你就可以按照工程计划开始施工啦。
大型光伏电站备案流程及要件一、大型光伏电站备案流程大型光伏电站备案需要向国家能源局电力市场监管部门提出备案申请,备案流程如下:1.制定备案申请材料:备案申请书、工程总体设计方案、施工图纸、竣工验收报告、运行维护方案、环境影响报告书等材料。
2.提交备案申请材料:将备案申请材料提交至国家能源局电力市场监管部门,并按照规定支付备案费用。
3.审查备案申请材料:国家能源局电力市场监管部门将审核备案申请材料是否符合规定,有无问题及差异性。
4.现场勘查核实:申请备案后,国家能源局电力市场监管部门还将对大型光伏电站实地勘察,核实大型光伏电站的建设情况和运行条件。
5.备案审查通过:备案审查通过后,将颁发发电许可证,并填写大型光伏电站的登记文件。
二、大型光伏电站备案要件大型光伏电站备案要件是指备案时需要提交的各种文件和资料,备案申请人需要根据国家能源局的要求提供以下材料:1. 企业基本资质证明备案申请人应提供企业营业执照、组织机构代码证、税务登记证等有关企业登记证照主体资格证明,并注明法定代表人、联系电话、信用状况等基本情况。
2. 工程总体设计方案及施工图纸工程总体设计方案应包括区位、工程规划、技术方案、建设进度、资金筹措等内容,并应提交相应专业工程设计图纸及各类技术及经济指标分析报告。
3. 竣工验收报告竣工验收报告应包括工程竣工报告、竣工图纸、各类验收报告及核查手续办理情况等内容。
4. 运行维护方案运行维护方案包括日常维护、检修安全等方面,应包括应急预案和危险化学品及其安全管理。
5. 环境影响报告书环境影响报告书应涵盖各类报告材料,如环评申请书、环境影响评估报告、环境管理计划、环境监测方案、环境保护设施及技术措施等文件。
6. 其他资料备案申请人还需提交其他符合国家能源局有关规定、能够证明备案对象资质和水平的相关材料。
结束语以上就是大型光伏电站备案流程及要件的详细介绍。
如果您正在规划建设大型光伏电站,希望以上内容能帮助您了解备案流程,明确备案要求,顺利完成大型光伏电站的建设备案。
燃煤发电站项目备案流程概述燃煤发电站项目备案是指依据相关法律法规,对燃煤发电站建设项目进行审查和备案的过程。
本文档将介绍燃煤发电站项目备案的基本流程和所需材料。
流程1. 审查申请材料:申请人需向相关部门提交以下材料:- 项目建议书- 投资可行性研究报告- 环境影响评价报告- 建设用地规划许可证- 用电需求书- 其他相关证明文件2. 受理申请:相关部门对提交的材料进行初步审查,确保申请文件齐全、符合规定要求。
3. 环境评估审查:环境保护部门对项目的环境影响评价报告进行审查,评估项目可能产生的环境影响,并提出意见和要求。
4. 公示和听证:根据相关法律法规,项目需进行公示和听证环节,接受公众对项目的意见和建议。
5. 技术评审:相关专家对项目的技术可行性进行评审,评估项目的技术方案和建设计划。
6. 组织备案:相关部门根据审查结果和评审意见,决定是否予以备案。
备案后,项目方可正式进入建设阶段。
7. 监督检查:备案后,相关部门将对项目进行定期监督检查,确保项目建设符合相关标准和要求。
所需材料- 项目建议书:包括项目的基本情况、投资规模、经济效益等内容。
- 投资可行性研究报告:评估项目的投资回报率和可行性。
- 环境影响评价报告:对项目可能产生的环境影响进行评估。
- 建设用地规划许可证:证明项目用地符合规划要求。
- 用电需求书:说明项目的用电需求和能源消耗情况。
- 其他相关证明文件:根据具体情况提供其他需要的证明文件。
以上为燃煤发电站项目备案流程及所需材料的基本介绍,请根据实际情况和相关法律法规进行具体操作。
如有更多疑问,请咨询相关部门或专业人士。
水力发电站项目备案流程1. 项目立项阶段1.1 项目可行性研究报告(F/S报告)准备- 进行水文地质勘察和环境影响评价- 编制项目可行性研究报告,包括项目总体设想、技术方案、经济效益评估等内容1.2 项目申请- 向地方政府申请项目备案,提交项目可行性研究报告和相关申请文件1.3 审核和批准- 地方政府组织相关部门进行审核- 地方政府批准项目立项,同时给予项目备案编号2. 设计阶段2.1 工程设计- 编制水力发电站的详细设计图纸和施工方案- 确定工程建设的技术参数和施工进度计划2.2 审批和评审- 提交设计图纸和施工方案给相关部门进行审批和评审- 完成审批和评审手续后,取得相关许可证和批准文件3. 施工阶段3.1 建设准备- 进行工地平整和临时设施搭建- 准备所需的材料和设备,组织施工人员3.2 施工工程- 按照设计要求进行工程施工,包括土建工程、机电设备安装等- 加强质量控制和安全监管,确保施工过程的合规性和安全性4. 竣工验收和运维阶段4.1 竣工验收- 完成施工后,进行竣工验收- 相关部门组织专家进行验收,核查工程的合格性和可靠性4.2 运维准备- 准备运营所需的设备和人员- 完善运维管理制度和应急预案4.3 运维阶段- 进行运维工作,包括设备维修保养、安全检查等- 定期进行巡查和监测,确保水力发电站的安全和正常运行5. 监管和评估阶段5.1 监管- 监督水力发电站的运营管理,执行相关政策和规定- 定期进行安全检查和环境监测,确保水力发电站的安全和环境保护5.2 评估- 定期对水力发电站的经济效益和技术指标进行评估- 根据评估结果,调整运营管理和技术措施,提高发电效率和经济效益以上为水力发电站项目备案流程的概述,具体操作请根据实际情况和相关法规进行。
水电站项目备案流程及所需材料【最新版】一、背景介绍在进行水电站项目建设前,需要进行备案手续,以确保项目符合相关法律法规和环境保护要求。
本文档将介绍水电站项目备案的流程及所需材料。
二、备案流程1. 前期准备在进行备案申请之前,项目建设方需要进行一些前期准备工作,包括:- 召集项目建设相关人员进行会议,明确项目备案的目的和意义;- 调研相关法律法规要求,了解备案流程和所需材料;- 进行环境影响评价,评估项目对环境的影响并提出相应的措施。
2. 编制备案申请材料根据相关法律法规的要求,项目建设方需要编制以下备案申请材料:- 项目建议书:包括项目的基本情况、可行性分析和经济效益预测等信息;- 工程规划方案:包括水电站的布置、主要设施和工程技术等内容;- 环境影响评价报告:评估项目对环境的影响及预防、治理措施;- 安全生产条件说明书:提供项目的安全生产措施和危险源分析等信息;- 相关批复文件:包括土地使用批复、水资源利用批复等文件。
3. 递交备案申请将编制好的备案申请材料递交至备案单位,根据具体情况可能需要支付备案费用。
4. 审核和备案备案单位将对递交的申请材料进行审核,可能会要求项目建设方补充或修改部分内容。
审核通过后,备案单位将对项目进行备案登记,颁发备案证书。
三、所需材料清单1. 项目建议书2. 工程规划方案3. 环境影响评价报告4. 安全生产条件说明书5. 相关批复文件请注意:以上所列材料仅为常见材料清单,具体项目备案所需材料可能会根据不同地区和项目的具体要求有所变化。
建议在备案申请前与备案单位进行沟通,了解准确的所需材料清单。
四、结论水电站项目备案流程包括前期准备、编制备案申请材料、递交备案申请以及审核和备案。
准备充分并按照要求准备所需材料,有助于顺利完成备案手续。
以上为水电站项目备案流程及所需材料的概述,仅供参考,请以实际情况和相关法律法规为准。
光伏发电项目备案流程1.项目前期准备:在进行任何项目之前,需对项目进行充分的前期准备工作。
这包括确定发电项目的地点、规模、技术参数和合规要求等,制定项目实施方案,并进行可行性研究,包括土地评估、光资源评估等。
2.申请备案:完成项目前期准备后,需要向国家能源行政主管部门递交备案申请。
备案申请应包括项目的基本情况、技术参数、规模、环保措施等相关材料。
同时,还需要提供相关资质证明文件,如企业法人证明、环境影响评价报告等。
3.审核备案:国家能源行政主管部门会对申请进行审查。
审查的内容主要包括项目的符合性、环保合规性、技术可行性等。
这个过程通常需要一段时间,期间可能需要补充提供材料或解答官方的相关问题。
4.签订备案文件:经过审核后,国家能源行政主管部门会提交备案文件,包括备案证明书和备案许可证。
项目方需要与相关部门签订备案文件,并按照文件的要求进行项目实施。
5.设备采购与建设:在获得备案证明书后,项目方可以开始进行设备采购和项目建设。
这包括选购光伏发电设备、施工协调与施工管理等。
项目方需要确保项目的建设过程符合备案文件的要求,并按照相应的标准和规范进行施工和安装。
6.完成并验收:在项目建设完成后,项目方需要按照备案文件的要求进行项目验收。
这包括设备运行性能的测试和评估、环境保护设施的安装与运行、项目规模的核实等。
只有通过验收,项目方才能获得光伏发电项目的正式运营资格。
7.运营管理:一旦获得正式运营资格,项目方可以开始进行光伏发电项目的正式运营。
这包括设备的运维与维修、电量的监测与调度、发电收益的管理等。
项目方需要按照国家相关规定履行各项运营管理责任,同时保证项目的运行正常、稳定。
以上就是一个光伏发电项目备案的大致流程。
实际流程可能会因地域和政策等因素而有所不同。
项目方在备案过程中,应密切关注并严格遵守相关法律法规和政策要求,确保项目能够取得合法运营资格。
电力设施备案操作手册一、概述电力设施备案是指对新建、改建、扩建或重建电力设施进行备案登记的过程。
该操作手册旨在准确指导电力设施备案的操作流程,保障备案工作的规范进行。
二、备案材料准备1. 申请材料- 电力设施备案申请表- 电力设施工程设计图纸- 电力设施工程施工许可证明- 相关电力设施验收报告- 电力设施工程竣工图纸- 其他相关资料2. 材料整理将备案材料按照申请表要求的顺序进行整理,并进行编号标记,以方便后续管理和审查。
三、备案操作流程1. 提交备案申请将备案申请材料发送至相关部门,包括纸质和电子版。
2. 材料审核相关部门将对备案材料进行审核,核对是否完整、准确,并评估其符合电力设施建设规范的程度。
3. 现场勘察审核通过后,相关部门将进行现场勘察,确认电力设施的实际情况与备案材料的一致性,并核实设施建设是否符合相关法规和标准。
4. 备案登记在确认备案材料和现场勘察结果无误后,相关部门将进行备案登记,并颁发备案证明文件。
四、备案注意事项1. 充分准备备案材料,确保信息的准确、完整以及一致性。
2. 遵守备案申请流程,按照要求提交纸质和电子版备案申请材料。
3. 严格遵守电力设施建设相关法规和标准,确保设施建设符合要求。
4. 接受现场勘察,配合相关部门的审查工作。
5. 定期维护备案资料,确保备案信息的更新与存档。
五、总结电力设施备案是电力设施建设管理的重要环节,通过严格的备案操作流程和要求,可以有效监督电力设施的建设过程,并确保设施的合规性和安全性。
本操作手册详细介绍了备案材料准备、备案操作流程和备案注意事项,能够为相关部门和从业人员提供行之有效的指导。
在备案过程中,各方应严格遵守规定,确保备案工作的准确性和可靠性,以推动电力设施建设的有序进行。
以上是关于电力设施备案操作手册的相关内容,希望对您在备案工作中有所帮助。
如有任何疑问或需要进一步了解,请及时与相关部门联系。
感谢您的阅读!。
大型电站项目备案流程及要件清单————————————————————————————————作者:————————————————————————————————日期:大型光伏电站备案流程及要件清单目录1.项目前期考察 (5)2.项目备案申请阶段 (6)2.1备案申请报告阶段 (6)2.2项目备案阶段所需要的工作及需要的批文 (6)2.2.1项目备案阶段的工作 (6)2.2.2项目备案阶段的批文 (6)2.3 电网接入的批准 (7)2.3.1电网接入批准所需的要件有: (7)2.3.2电网接入批准流程大致如下: (8)2.4项目土地预审意见 (8)2.5社会稳定风险评估报告 (9)2.6节能评估报材料 (9)2.7项目所需批文 (10)2.7.1获得项目所在地(县)相关部门的批复文件 (10)2.7.2获得项目建设地区级(市)相关部门的批复文件 (10)2.7.3获得自治区(省)相关部门的批复文件 (10)2.8小结 (11)自国家能源局发布《光伏电站项目管理暂行办法》(国能新能[2013]329号文),将光伏电站的核准制改为备案制,省级主管部门对光伏项目实施备案管理后。
国内各地的大型光伏电站项目已逐步从核准制改为备案制,国内大型光伏电站项目的申报流程产生了较大变化。
可行性研究项目备案申请相关资料申报政府合规性审核终止研究需求新的项目获取项目备案证,转入准备阶段准予备案是是否否项目在技术、经济上是否可行项目备案申报程序:※发改等项目备案管理部门:项目备案※住建、国土与环保等部门:规划选址、用地与环评等手续审批企业项目的备案流程和申报程序光伏电站项目前期阶段主要的工作有考察、备案申请、开工前准备、开工许可等主要工作。
1. 项目前期考察对项目地形、周边环境条件(交通、物资采购、市场的劳动力、道路、水电)电网结构及年负荷量、消耗负荷能力、接入系统的电压等级、接入间隔合适、送出线路长度廊道的条件、和当地电网公司的政策等条件进行考察。
其中,电网接入一定要确定由间隔,主变容量最好在50MW 及以上。
并网店的距离尽量近,沿路有基本的线路走廊。
最好无铁路、高速公路等跨越。
线路走廊没有油库、气源、地下管网、水源等。
近期或近地最好没有电源。
建站周围可进行小量防洪。
周围土质较好。
天气情况,最好没有沙尘。
距工业不要太近。
降雪及降水适中。
就地负荷可满足项目装机容量,并有发展前景。
地形不宜大起大落。
提前一年由政府上报土地规划。
2.项目备案申请阶段根据前期考察的情况。
确定项目地,与当地政府签订开发协议书(投资框架协议),然后进入项目的备案申请阶段。
开始开展项目备案申请工作。
2.1备案申请报告阶段委托有省(自治区)B级以上的单位编制大型光伏并网电站项目进行项目备案申请报告、可行性研究报告的编制工作。
2.2项目备案阶段所需要的工作及需要的批文2.2.1项目备案阶段的工作大型光伏并网电站项目的备案一般由省(自治区)发改部门审核备案,备案需要逐级审批,首先获得项目地县(市)级发改委项目备案申请报告的批复,然后由县(市)级发改委上报至省发改委能源局,由省能源局根据本年度地区的具体额度及项目的实际情况对项目进行审批,并获得项目的备案证,纳入本年度地区光伏规划。
2.2.2项目备案阶段的批文首先委托具备资质的单位编制《项目备案申请报告》;委托省(自治区)电力设计院做《项目接入系统设计方案》,并上报至省(自治区)电力公司,由省(自治区)电力公司组织专家评审会对《项目接入系统设计方案》进行评审,最终给出《项目接入系统方案审查意见》(接入意见),由资质单位根据接入意见对设计方案进行修改,最终形成《项目接入系统设计方案》;同时,在获取《项目地灾报告》等相关要件后,并最终获取自治区(省)国土厅出具的《项目土地预审意见》;最后,委托具备资质单位编写《社会稳定风险评估报告》。
在获取以上要件后,填写《登记备案申请表》,提交备案申请,由市级发改委上报至省(自治区)发改委能源局,由此获得《省(自治区)发改委同意项目备案函》,备案阶段完成,进入项目的施工准备阶段。
下图所示为项目备案的流程图:投资建设单位(业主)项目所在地发改委项目接入系统设计方案项目所在地区(市)级发改委具备资质的设计院委托省发改委能源局项目备案申请登记备案申请表项目备案证项目土地预审意见社会稳定风险评估报告在部分地区《项目备案申请》可由业主完成编制工作,主要从宏观上论述项目设立的必要性和可能性。
项目所在地发改委将项目备案申请及其他要件逐级上报项目所在地区(市)级发改委将项目备案申请及其他要件逐级上报省发改委能源局根据当地本年额度及实际情况进行审批,核发备案证2.3 电网接入的批准2.3.1电网接入批准所需的要件有: ※业主递交《项目并网请示》※省网公司批准后,出具《项目并网批复》 ※凭《项目并网批复》,委托具备资质设计院,编制《项目接入系统设计方案》※报省网公司,由省网公司组织专家进行评审,出具《项目接入系统方案审查意见》 ※根据《项目接入系统方案审查意见》,出具终板《项目接入系统设计方案》,并出具《项目电网接入意见》2.3.2电网接入批准流程大致如下:投资建设单位(业主)地区电网公司项目并网请示省电网公司审批通过项目并网批复具备资质的设计院委托项目接入系统设计方案项目接入系统审查意见组织专家评审终版《项目接入系统设计方案》,《项目电网接入意见》根据审查意见完善具备资质的单位在获取《项目并网批复》后,业主委托具备资质的设计研究院编制《项目接入系统方案》,一般是委托省电力设计研究院。
地区电网公司在部分地区,《项目并网请示》可直接递交至省电网公司,由其直接批示;《项目接入系统设计方案》也可直接交至省电网公司,由其组织专家评审,地区电网公司届时派代表参加即可省电网公司根据当地的电网规划与实际情况对《项目并网申请》进行批示,批复后发放《项目并网批复》,并负责在拿到《项目接入系统设计方案》后组织专家评审,判断其合理性与可行性,出具《项目接入系统审查意见》具备资质的单位编制《项目接入系统设计方案》的资质单位根据《项目接入系统审查意见》,对《方案》进行完善,形成终板《项目接入系统设计方案》获取项目接入意见流程2.4项目土地预审意见项目土地预审意见一般是由自治区(省)国土部门出具。
在出具土地预审的情况说明前,需业主获取以下要件:※获得自治区(省)国土厅《项目压覆重要矿产资源相关问题的函》 ※获得自治区(省)国土厅《项目地质灾害评估备案登记表》 ※获得自治区(省)文物局《项目用地位置选址意见函》※获得自治区(省)住建厅《项目选址意见书和选址规划意见》在获取以上要件后,业主才可以获取自治区(省)国土厅出具的《项目土地预审意见》。
2.5社会稳定风险评估报告报告根据实际情况,对项目所采取的措施进行全面的项目决策类风险、项目自然技术类风险等进行措施合理性、可行性等方面的分析评估,并从中发现问题并且提出合理可行的解决方案,以保证项目所采取的措施更加可行,更加利于社会稳定,该报告由具备资质的工程咨询研究院编制完成2.6节能评估报材料《节能评估材料》由具有相应工程咨询资格和相应专业机构编制,分为《节能评估报告书》、《节能评估报告表》、《节能登记表》三种类型。
根据不同的情况,需编制相应类型的材料:1.年综合能源消费量3000吨标准煤以上(含3000吨标准煤,电力折算系数按当量值,下同),或年电力消费量500万千瓦时以上,或按年石油消费量1000吨以上,或年天然气消费量100万立方米以上的固定资产投资项目,应单独编制《节能评估报告书》;2.年综合能源消费量1000至3000吨标准煤(不含3000吨标准煤,下同),或年电力消费量200万至500万千瓦时,或按年石油消费量500至1000吨,或年天然气消费量50万至100万立方米的固定资产投资项目,应单独编制《节能评估报告表》;3.上述条款意外的固定资产投资项目,应由项目建设方填写《节能登记表》;4.部分地区报告分类与国家分类有不一致的情况,如:长沙市按建筑面积进行分类,公共建筑大于20000平方米或居住建筑面积大于100000平方米的固定资产投资项目应编制《节能评估报告书》,否则编制《节能登记表》。
且长沙市的固定资产投资项目应该编制《节能专篇》;5.大型光伏并网项目,一般的操作方法为将电站年发电量纳入节能评估范围,因此大型光伏电站项目年综合能源消费量一般为负值,只需提交《节能登记表》。
6.《节能评估材料》在部分地区需要在备案阶段递交,部分地区则不需要。
节能评估报告书•综合能源消费3000吨标准煤以上(含3000吨)•电力消费500万千瓦时以上(含500万)•石油消费1000吨以上(含1000吨)•天然气消费100万立方米以上(含100万)节能评估报告表•综合能源消费1000 至3000吨标准煤•电力消费200万至500万千瓦时•石油消费500至1000吨•天然气消费50万至100万立方米节能登记表•综合能源消费低于1000 吨标准煤•电力消费低于200万千瓦时•石油消费低于500吨•天然气消费低于50万立方米2.7项目所需批文项目需要获得的批文分为三个阶段,分别是项目所在地(县)级、区(市)级、自治区(省)级批文,详细内容介绍如下:2.7.1获得项目所在地(县)相关部门的批复文件1)获得县发改委项目备案申请的批示。
2)获得县水利局项目的请示。
3)获得县国土局项目的请示。
4)委托具有省(自治区)B级以上资质的单位编制大型光伏并网电站项目可行性研究报告5)获得项目环境评价报告表,并获得县环保局项目建环评初审意见。
6)获得县城建局项目规划选址意见的请示。
7)获得县国土局项目建设用地预审的情况说明。
8)获得县电力公司项目电网接入意见。
9)获得县文物局项目选址文物调查情况的请示。
10)获得县发改委项目可行性研究报告的批示。
11) 委托具备资质单位编制项目备案申请报告。
2.7.2获得项目建设地区级(市)相关部门的批复文件1)获得地区(市)发改委项目备案申请的批示。
2)获得地区(市)水利局项目的请示。
3)获得地区(市)国土局项目的请示。
4)项目环境评价报告表,并获得地区(市)环保局项目建环评初审意见。
5)获得地区(市)城建局项目规划选址意见的请示。
6)获得地区(市)国土局项目建设用地预审的情况说明。
7)获得地区(市)电力公司项目电网接入意见。
8)获得地区(市)文物局项目选址文物调查情况的请示。
9)获得地区(市)发改委项目可行性研究报告的批示。
2.7.3获得自治区(省)相关部门的批复文件1)获得自治区(省)安监局项目的安全评估报告。
2)获得自治区(省)水利厅项目水土保持方案的批复。
3)获得自治区(省)国土厅项目压覆重要矿产资源有关问题的函。