一 般 工 业 项 目 审 批 流 程 图
- 格式:doc
- 大小:66.00 KB
- 文档页数:1
建设工程项目审批手续及流程阅读引语房地产项目前期手续十分繁杂,涉及规划局、建委、发改委、国土局、人防办、消防局、园林局、交通委、环保局等众多部门;不同性质的项目审批方式的有所差异,审批标准及结果会有很大不同。
..。
.第一部分:房地产项目前期主要流程第1步:编制可行性研究报告,取得发改委“立项批复”。
第2步:取得国土局“用地预审意见”。
第3步:取得环保局“环境评估审查意见”。
第4部:取得规划局给发改委的“规划意见函复”。
第5步:取得规划局给建委的“规划意见函复”。
第6步:取得建委的“选址意见通知书”。
第7步:取得发改委的“招投标方式通知书”.第8步:委托招投标代理公司完成设计招投标,发出中标通知书,取得规划局的“设计招投标备案回执”。
第9步:取得规划局的“规划意见通知书(选址)”。
第10步:完成方案设计,取得规划局的“设计方案审查意见”.第11步:完成初步设计及概预算编制,取得发改委的“初步设计及概预算审查意见"。
第12步:取得规划局的“钉桩通知单",委托测绘院钉桩,取得“钉桩成果通知书”。
第13步:取得规划局的“用地规划许可证”。
第14步:取得建委的“征地计划通知书”。
第15步:取得国土局的“建设用地批准书".第16步:完成人防报批图纸设计,取得人防办的“人防设计审查意见”.第17步:完成消防报批图纸设计,取得消防局的“消防设计审查意见”。
第18步:完成园林报批图纸设计,取得园林局的“园林设计审查意见”.第19步:委托编制交通影响评估报告,取得交通委的“交通审查意见”.第20步:委托勘察院进行评估报告,取得交通委的“交通审查意见"。
第21步:取得建委的“年度施工计划通知书”。
第22步:设计院完成规证报批图纸设计,取得规划局的“工程规划许可证”.第23步:与原土地方完成安置补偿工作,签订“安置补偿协议"。
第24步:完成水、电、气、暖、信、路等市政供源设计方案,取得市政院的“市政供源方案”. 第25步:取得园林局的“树木伐移许可证”。
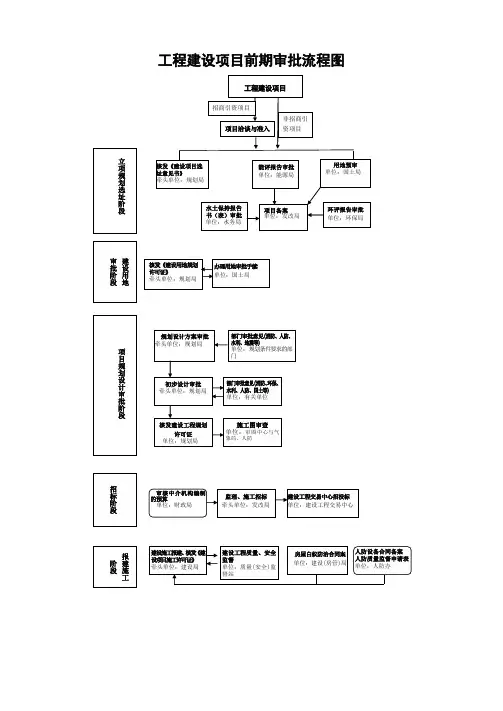
工程建设项目审批流程图工程建设项目审批流程操作说明工程建设项目审批流程分为立项规划选址、建设用地审批、项目建设招标(审批)、监理施工招标和报建施工五个阶段。
每个阶段,都由牵头部门先受理审批业务,并指引申办人到其他联办部门办理相关的审批手续。
办理结果最后由牵头部门集中答复申办人(立项规划选址阶段除外)。
申办人办理报建的具体操作步骤如下:第一阶段:立项规划选址阶段一、到规划局(牵头部门)窗口办理《建设项目选址意见书》的审批:(一)提交办理《建设项目选址意见书》所需材料,并领取签收《审批跟踪监督卡》(以下简称《监督卡》)。
(二)凭《监督卡》分别到发改局、环保局、消防局、国土局等联办部门窗口提交相关审批材料,并在《监督卡》上签名确认。
(三)将全部联办部门窗口已签收确认的《监督卡》送回规划局窗口。
(四)到规划局窗口领取和签收《建设项目选址意见书》以及《监督卡》等有关材料,办理承诺时限为7个工作日。
二、到发改局(牵头部门)窗口办理建设项目立项审批(项目不需要办理《建设项目选址意见书》的,由发改局牵头)。
(一)以登记备案方式立项的项目1.提交办理《企业投资项目登记备案》所需材料,并领取《监督卡》。
2.到发改局窗口领取审批结果,并在《监督卡》上签名确认,办理承诺时限为5个工作日。
(二)以其他方式立项的项目1.提交办理《项目建议书》或《可行性研究报告》所需材料,并领取签收《监督卡》。
2.凭《监督卡》分别到环保、国土、规划等联办部门窗口提交相关审批资料,并在《监督卡》上签名确认。
3.将全部联办部门窗口已经签收确认的《监督卡》送回发改局窗口。
4.到发改窗口领取和签收立项意见,办理承诺时限为6个工作日。
第二阶段:建设用地审批阶段到规划局窗口(牵头部门)办理用地审批:(一)提交办理《建设用地规划许可证》的所需材料,并领取签收《监督卡》。
(二)到规划局窗口领取审批结果,在《监督卡》上签名确认,办理承诺时限为5个工作日。
(三)凭《监督卡》到国土局窗口提交相关审批材料,并在《监督卡》上签名确认。
化工项目建设流程一、项目前期准备工作项目前期准备工作是指为完成项目立项而做的所有的准备工作,主要有:1、文件准备委托具有一定资质的单位进行可研报告及项目申请书的编制;2、项目立项①与当地政府签订相关协议;②准备好预核材料,根据要求到相关级别的政府部门完成名称预核工作;③将可研报告和立项文件上报至规定级别的发改委,发改委审查通过后拿到批复文件。
3、配套手续办理①与项目申请立项同步展开环评、安评、节能评价工作;②在环评通过后进行土地预审、规划选址意见、项目申请报告核准等工作,最终拿到水土保持方案、水资源论证、土地预审、工程地质勘查、地震影响等主管部门的审批文件;③完成公司的注册。
二、项目前期工作项目前期工作,是指建设项目立项起到批准项目开工这一期间的主要工作。
项目建议书获批准即为立项。
1、建立管理机构和制定各项规章制度并配备一定数量的工程技术管理人员。
确定工程总承包、建设监理等管理方式。
承担工程总承包、施工、建设监理的单位必须具有相应的资质,以保证对工程建设进度、质量、资金、生产准备等方面实行有效控制。
2、进行工艺包和基础设计的编制工作。
确定设计原则、设计标准、设计方案和重大技术问题,如总工艺流程、生产方法、工厂组成、总图运输,水、电、汽的供应方式和用量,关键设备及仪表选型,消防、劳动安全、工业卫生、环境保护、工程概算等。
3、项目初步设计编制完成以后,进行初步设计的审查工作。
初步设计是工程设计的重要组成部分,是编制施工图设计,安排年度计划和组织主要设备订货的依据。
工程初步设计审查是审查项目初步设计是否符合行业规章、标准,是否切合实际、安全适用、技术先进可靠,经济合理等,是进一步优化设计的过程。
4、组织主要设计、施工单位编制建设总体统筹控制计划和中期建设统筹控制计划。
总体统筹计划是把工程开工前期和建设中有关资金、施工、外事、设备材料、生产准备、试车、考核、竣工验收、协作关系、建设组织等各项工作按照系统工程原理纳入计划,合理安排、统筹兼顾,确保主控制点的完成和总体计划进度的实现。
监理服务总程序(图Ⅰ)工程建设项目施工监理服务程序(图Ⅱ-1))-1安全控制监理服务程序(图Ⅲ.施工安全目标)-2质量控制监理服务程序(图Ⅲ.)-3进度控制监理服务程序(图Ⅲ.一级网工期目承包合劳动力、机械承包商提交施工进度计材料使用计修正进度计补救措施方监理审每月、季一次偏离不正检查执行情正监理警告承包不接报业主终止合竣工验实现进度控制目投资控制监理服务程序(图Ⅲ-4)签订监理合包商工程预付款申组织施工图纸会监理审核完材料设备采承包商按施工图纸实工程设计更及承包商申报已承包商提调查申工程变更申监理审核计监理审核计监理审核计总监签署付款凭承包商索赔申监理审核索业主审批付实现投资控制目标.合同管理监理服务程序(图Ⅲ-5)信息管理监理服务程序(图Ⅲ-6)质量信息目进度信息目确定信息管理目投资信息目安全信息目分析信息产生过确定信息处理手建立信息管理系选择信确定信息目录编信确定信息传递方式流确定信息检查方信息出现信息正通知有关方处计划与实际数比新、旧数据比处理后信息正承包商数据与监理数比信息更整理、保实现信息管施工图纸确认工作程序(Ⅳ-1)设计变更单流转程序(图Ⅳ-2)施工组织设计(标段)审批流转程序(图Ⅳ-5)单位(分部、分项)工程开工报审流转程序(图Ⅳ-7)将施工承包商上报的单(分部项工程开工报审表登记送施工理组签收批阅并安排施工监理工程师审查开工条件是否具备(专业组长审阅单(按照单位(分部、分项)工程开工部、分项)工逐项核查其是否符合基本请规定开工申请是否件,并提出审查意见后,经安全组合基本条件并合同组会签后送施工副总监审签签(施工监理工程师(分部审核单分项(分部审签单工程开工报分项工程开工申请报审表表(总监将开工报审表登记、盖章送施承包商、业主、原件存档(信息组将不符合条件的单位(分部分项)工程开工报审表交信息登记后退回施工承包商(施工监理组).工程进度付款审批流转程序(图Ⅳ-8)接收、登记送合同信息复印月付款计算清单发有关总监组织核查合同投资监理工程)确认施工承包商内三级验合同监理工程师按合同支合格和监理检查合格的工条款确认付款条件及上报量,填表报合同投资组主的时间期限(施工监理工程师合同监理工程)审核计算应付价款提出监理意投资监理工程)提出具体监理审核合同组复核意(副总监合同监工)总监理工程师签署报业主批准.合同管理工作程序(图Ⅳ-9)收收到业主送来的招投标书、合同文签收、登记、归档(信息组部通知合同投资组前来借阅、办理手续已收到通知些招投标书、合同文本(信息组(信息组对合同进行分解、打印(合同组将合同分解资料填写分发清单交办公室发将文件分发清单合同分解资料分发监部各部门(信息组按监理部的岗位职责履行,并将履行的问题和意见反馈给合同投资组(各副总监部门通报情况,联系处理将处理意见报总监,并向业主合同管(合同组签发监理意见报业主(总监将处理意见的文件交信息组(合同组将监理意见登记、编号、盖章,报送主,一份存档(信息组。
建设工程规划审批流程工程建设项目审批流程建设工程规划审批流程一、核发建设项目选址意见书申请核发建设项目选址意见书,申请人应当提供下列材料:(一)以下有关项目立项文件之一:1、投资主管部门实行审批制的项目,需出具投资主管部门批准的项目建议书或可行性研究报告;2、投资主管部门实行核准制和备案制的项目,需出具项目投资方批准的可行性研究报告。
(二)《建设项目选址申请书》;(三)依法规定的建设项目用地协议书或者用地证明文件或者用地说明;(四)符合规划审批要求且能够反映拟建项目用地位置以及周围相互关系的城市现状地形图;(五)其他建设还应当提供以下相关材料;1、房地产开发经营项目还应当提供开发企业资质证书和工商营业执照原件和复印件;2、军队用地转为民用或者开发用地的,还应当有法定的军用土地管理部门的意见;3、市政管线工程还应当提供拟建示意图。
核发《建设项目选址意见书》程序1二、核发建设用地规划许可证申请核发建设用地规划许可证,申请人应当提供下列材料:(一)以下有关项目立项文件之一;1、投资主管部门实行审批制的项目,需出具投资主管部门批准的投资立项文件;2、投资主管部门实行核准制的项目,需出具投资主管部门的项目核准意见;3、投资主管部门实行备案制的项目,需出具项目投资方批准的可行性研究报告;(二)《建设用地规划申请书》;(三)依法规定的建设项目用地协议书或者用地证明文件或者用地说明;(四)符合规划审批要求的规划设计方案(绘制在相应比例尺的城市现状地形图上);(五)其他建设还应当提供以下相关材料:1、个人自用建设项目还应当提供申请人的户口薄和身份证原件及复印件;2、规划审批要求的《建设项目选址意见书》复印件;3、市政管线工程还应当提供符合规划审批要求的管线设计方案图及相关部门审查意见;4、需联合建设的建设项目,还应当提供联建协议书;5、改建、扩建工程还应当提供原房产屋产权证明、原施工图或者原规划批准文件;6、原址改建、且改变用地性质的建设项目,还应当提供土地权属证明文件;7、市场化运营的土地,还应当提供《国有土地使用权有偿出让合同》。
工程建设项目审批流程图工程建设项目审批流程操作说明工程建设项目审批流程分为立项规划选址、建设用地审批、项目建设招标(审批)、监理施工招标和报建施工五个阶段。
每个阶段,都由牵头部门先受理审批业务,并指引申办人到其他联办部门办理相关的审批手续。
办理结果最后由牵头部门集中答复申办人(立项规划选址阶段除外)。
申办人办理报建的具体操作步骤如下:第一阶段:立项规划选址阶段一、到规划局(牵头部门)窗口办理《建设项目选址意见书》的审批: (一)提交办理《建设项目选址意见书》所需材料,并领取签收《审批跟踪监督卡》(以下简称《监督卡》)。
(二)凭《监督卡》分别到发改局、环保局、消防局、国土局等联办部门窗口提交相关审批材料,并在《监督卡》上签名确认。
(三)将全部联办部门窗口已签收确认的《监督卡》送回规划局窗口。
(四)到规划局窗口领取和签收《建设项目选址意见书》以及《监督卡》等有关材料,办理承诺时限为7个工作日。
二、到发改局(牵头部门)窗口办理建设项目立项审批(项目不需要办理《建设项目选址意见书》的,由发改局牵头)。
(一)以登记备案方式立项的项目1.提交办理《企业投资项目登记备案》所需材料,并领取《监督卡》。
说明:1、整个审批流程为45个工作日。
2、圆角矩形是可选过程;虚线是指审批可跨阶段完成。
3、以上流程属市、区审批权限项目,如报省审批项目,无时间承诺。
2.到发改局窗口领取审批结果,并在《监督卡》上签名确认,办理承诺时限为5个工作日。
(二)以其他方式立项的项目1.提交办理《项目建议书》或《可行性研究报告》所需材料,并领取签收《监督卡》。
2.凭《监督卡》分别到环保、国土、规划等联办部门窗口提交相关审批资料,并在《监督卡》上签名确认。
3.将全部联办部门窗口已经签收确认的《监督卡》送回发改局窗口。
4.到发改窗口领取和签收立项意见,办理承诺时限为6个工作日。
第二阶段:建设用地审批阶段到规划局窗口(牵头部门)办理用地审批:(一)提交办理《建设用地规划许可证》的所需材料,并领取签收《监督卡》。
工程建设项目前期审批流程图一、相关说明如果项目为招商引资项目,项目需经过项目洽谈和项目准入阶段后,才进入项目立项阶段,其他项目直接进入项目立项阶段。
1、项目的洽谈拟选址长沙县域范围内项目由乡镇、街道(园区)招商部门负责前期接触、洽谈。
如初步确定能达到项目准入相关标准,由投资商提供项目落户申请书、可行性研究报告、初步概念设计方案及投资商相关资格证明材料,乡镇、街道(园区)应按要求填写好《长沙县招商引资项目综合评估报告》(见附件3)2、项目的准入(1)、乡镇、街道(园区)研究项目选择所在地乡镇、街道(园区)对拟引进的项目进行初步考察,并召开党政专题会议进行研究后,乡镇、街道(园区)主要负责人签署意见,对拟引进的项目,根据产业类别,将项目综合评估报告、可行性研究报告、项目投资计划书(见附件4)及部门意见审核表提交各业务主管部门(农业项目由示范区管委会负责、工业项目由工信局负责、服务业项目由商务局负责、社会公共事业项目由发改局负责)。
(2)、项目考察如需对项目进行实地考察,由乡镇、街道(园区)提出申请,由业务主管部门报请分管领导同意,并报请招商分管领导批准后,由商务局和业务部门牵头组织,相关部门参加。
(3)、前置会议初审(a)业务主管部门将乡镇申报材料分送至各相关职能部门,职能部门给出具体审核意见。
(b)业务主管部门综合各职能部门主要负责人出具的审核意见后,报县分管领导审核同意。
(c)将项目相关材料送县商务局汇总,县商务局将汇总材料报县主管领导审核。
(d)县主管领导同意后,由招商引资前置领导小组办公室组织召开招商引资工作领导小组前置会议,进行集体会审,参加前置会人员原则上为各参会单位的主要负责人或分管负责人。
(e)一、二、三产业重大项目需报县分管领导同意,由业务主管部门送商务局汇总,报请招商引资分管领导批准同意,必要时报请县委、县政府主要领导审定后,直接上项目建设领导小组会议。
(4)、领导小组会议决定对招商引资工作领导小组前置会议通过的项目、直接上会的重大项目以及社会公共事业项目(发改局提供),由项目建设领导小组办公室报请县委、县政府主要领导批准后,召开项目建设领导小组会议,对项目的准入会审研究,并以会议纪要形式予以确定。
+---品质| IPQC巡检流程.doc| QC样机管制规定.doc| 产品检验抽样规定.doc| 例行实验及可靠性试验要求.doc| 供应商管理流程.doc| 外发产品控制流程.doc| 成品检验工作流程.doc| 试产物料的跟踪流程.doc| 质量文件编制、标识和印章管理流程.doc | 进料检验流程.doc| 退换物料控制流程.doc|+---工厂| 成品检验工作流程.doc| 物料采购更改流程6.doc| 生产部领发料员工作流程.doc|+---工程| IE效率分析流程.doc| 仪器管理流程.doc| 在线不良管制流程.doc| 工具管理流程.doc| 工序控制路程.doc| 治具制作管理流程.doc| 测试校机校验流程.doc| 生产技术准备工作流程.doc| 计量器具计量管理流程.doc| 设备仪器及配件购置验收流程.doc| 设备管理流程.doc|+---流程图| 10供应商付款流程图.sdr| 11采购产品检验流程.sdr| 12采购产品维修调试流程图.sdr| 13财务报销流程图.sdr| 14市场调研流程图.sdr| 15系统项目投标流程图.sdr| 16用户培训服务流程图.sdr| 17用户接待工作流程.sdr| 18用户资料需求申领流程图.sdr| 19售后服务调试流程图.sdr| 1人员招聘流程图.sdr| 20系统项目包装流程图.sdr| 21系统项目发货流程图.sdr| 22控制系统工程设计流程06.sdr| 23控制系统机柜设计流程.sdr| 24控制系统软件组态流程图.sdr| 25控制系统组装接线流程图.sdr| 26控制系统静态调试流程图.sdr| 27自控成套工程设计流程.sdr| 28自控成套静态调试流程图.sdr| 29系统项目出厂检验流程图.sdr| 2培训流程图.sdr| 30系统现场验收流程.sdr| 31新产品开发流程图.sdr| 32仪表生产流程图.sdr| 3岗位异动流程图.sdr| 4办理离职流程图.sdr| 5会议流程图.sdr| 6用车流程.sdr| 7水电房屋维护流程.sdr| 8自用设备外出维修保养流程.sdr| 9物品采购流程图.sdr|+---物料部| 呆料消耗流程.doc| 物料代用控制流程.doc| 物料收、发、储存、防护的管理流程.doc| 物料管理工作流程.doc| 物料计划控制流程.doc| 生产计划编制及执行监督流程.doc| 计划部(成仓)成品贮存流程.doc| 预订物料控制流程.doc|\---生产ISO2000(0003)-产前会议工作流程.docISO2000(0004)-生产部领发料员工作流程.docISO2000(0005)-成品机出库返工流程.docISO2000(0006)-帮定课运作流程.doc生产流程.doc试产工艺准备流程.doc辅料及配件申请管理流程.doc运作流程.doc1. 目的规范成品出货检验流程,防止不合格出货,及时发现、纠正产品质量隐患,保证产品质量。
第一部分项目审批流程图
(房地产开发项目-涵盖工程建设)
(流程:从规划选址开始到建设主管部门颁发建设施工许可证)
第二部分项目开工前期所需手续
1、土地使用证(国土局)
2、环境影响报告书(有资质的专业机构编制)
3、地震安全性评价(有资质的专业机构编制)
4、环保批文(环保局)
5、地震局批文(地震局)
6、可行性研究报告(有资质的专业机构编制)
7、发改委立项批批文(发改局)
8、人防办设防批文(人防办)
9、委托专业机构进行1、用地总平面布置设计2、建筑方案设计(有资质的专业设计单位)
10、规划局过方案评审会议(住建局)
11、初步设计审查(住建局)
12、用地规划许可证(住建局)
13、经审查的施工图(审图中心)
14、建筑规划许可证(住建局)
15、中标手续(需到住建局安监与质监报备案)
16、施工许可证(住建局)
第三部分建设流程具体工作清单。
.单体项目涉及其他审批事项的,按照相关规定办理审批手续.政府统一服务第一矣移除矣事货工S建设涉及城市量地、树木审批市政设施建设类审批因工S建设需要拆除、改动、迁移供水、排水与污水处理设茂审核清丰县一般性企业投资项目承诺制改革操作流程图企业申报用地办理并联办理信用约束竣工验收第一臭企业信用承诺事^(承诺即办理)生产建设项目水土保持方案审批(企业承诺按照水土保持方案落实相关标准和要求)洪水影响评价审批(企业承诺按照洪水影响评价报告文件落实相关标准和要求)¢17K许可审批(企业承诺按照水资源论证报告竹文件落实相关标准和要求)农业i弊1纯意见书(占用农业灌溉水源灌排工程设施补偿项目审批)环境影响评价审批(企业承诺符合并落实规划环评、相关准入条件和标准等)第二臭区域评估M货扩建、改建建设工程避免危害气象探流环境审批建设工程文物酬和考古许可建设项目压取重要矿产资源审批生产建设项目水土保持方案审枇响≡r审批取水许可审批j⅜w响Wr审批节能审查企业申报平台赋码项目备案签订国有建设用地使用权出让合同,签订“标准地”履约监管协议,同步核发建设用地规划许可证节能审查(企业承诺按照区域节能评价文件落实相关标准和要求)雷电防护装置设计审核(企业承诺按照防摩奘也设i1支件落实相关标准和要求)防空地下室建设审批(企业承诺按照人防设ir文件落实相关标准和要求)建虹程规划许可证(企业承诺按照」:程规划设计方案文件落实相关标准和要求)建筑工程施工许可证(企业承诺建设资金、拆迁进度、施工企业等条件)企业信息及承诺内容录入市公共信用信息平台在信用中国(河南濮阳)网公示第二臭保・审批事W地顺灾害危险性评估(强制评估)⅛≡曲野m,强制评估)企业投资项目备案建设用地触蛔岐发涉及国家安全事项的¾t设项目审批超眼高层建筑工程抗裳设防审批供地前由部门并联完成备注:1开发区管委会需明确入园企业详细条件,包括产业条件、投资、环保、能耗等。