起重机工艺流程图
- 格式:docx
- 大小:79.90 KB
- 文档页数:7
1。
起重机生产工艺流程图2。
整机装配流程图我公司是专业制造起重机的厂家,在产品制造加工过程中,严格按IS09001质量标准进行管理,尤其对起重机的关键部件、关键工序均采用完善的工艺手段来保证其质量。
一、板材及型材的预处理为保证金属结构的防腐和增强油漆的附着力,所有板材和型材在下料前均在我厂自备的预处理设备上进行抛丸预处理,除锈等级达到GB8923标准规定的Sa2。
5级,除锈后立即双面喷涂底漆予以保护,然后才转入下料工序.二、起重机金属结构(桥架的加工)1、主梁、端梁等主要受力结构件采用GB/T1591—94S标准中Q235—B碳素结构钢板制造,次要受力件和非受力构件如走台、罩子等零部件采用Q235-A钢材制造,桥架中所采用的材料均需具有炉号、批号、材料化学成份、机械性能的试验报告及出厂合格证书,材料到厂后由质检部门取样进行理化复检,合格的材料方可投入车间进行产品制造.2、腹板及上盖板的下料采用微机控制的大型火焰数控切割机双枪一次切割,可根据不同跨度工况条件割出二次曲线,四次曲线及二、四线的迭加曲线,有效地保证了起重机的预制拱度,使预制拱度与起重机上拱曲线相吻合,此预拱度值根据主梁制造工艺过程中每一道工序进行严格控制。
3、主梁的焊接有焊接和拼装工艺,通过焊接顺序的合理安排减少起重机的焊接变形。
4、主梁腹板和上、下盖板的对接焊接缝均采用埋弧自动焊,主梁和端梁的纵向焊缝采用微机控制的二氧化碳气体自动保护焊,焊后进行100%探伤。
5、焊接完成后,进行时效处理清除焊接应力。
注:我厂起重机主梁焊接工艺获得河南省技术进步一等奖。
三、桥架组装焊接1、主梁、端梁组装焊接:将验收合格的两根主梁摆放在垫架上,以主梁的上盖板中心线为基准点,按技术要求调整各部分尺寸。
为使桥架安装车轮后能正常运行、组装时将四组弯板采用水平仪测量调在同一平面内。
并以水平面为组装调整门架各部的基准,达到要求后才能焊接.2、桥架组装对接的立焊缝在大型的翻转工装上焊接,将立焊缝全部改为平焊,确保了焊接质量.3、主梁、端梁、小车架等结构件均在厂房内制造、组装、检验,确保不受环境温度、日照变形的影响,尺寸精度受到严格的控制.主梁、端梁、小车架都是在专用铸造平台上制造,从而保证有效地控制尺寸和变形。
起重机工艺流程图1、箱形主梁工艺流程图原材料划线下料清理检划划半剪清割坡验出出自除渣口入拱外动切焊等打库度形气区物磨线线割校正对接拼焊无损探伤装配焊接清理达度埋反超确垂内工清焊到要弧面声保直部电除渣平求自清波隔度行焊内杂直动根检板用接脏物焊焊测手检验装配点焊四条主缝焊接清理校正内焊装成用φ2.5 清磨修修腔缝配箱埋HJ431 除光正正检质下形弧直焊焊拱旁验量盖主自流渣疤度弯板梁动反焊接自检打钢印专检待装配操代专质表作码检量者填控写制2、轮组装配工艺流程图清洗检测润滑装配煤清轮确尺轴部油洗孔认寸承位或轴等各及等加洗承部种公工润涤,位规差作滑济轴格剂自检打钢印专检待装配操作者代码3、小车装配工艺流程图准备清洗检测润滑场按领煤清轴确尺轴加最注地技取油洗及认寸承油后油清术各或轴孔各及内脂减理文件洗承等件公、速件涤齿部规差齿箱济轮位格面内装配自检空载运行检测标识入库螺手起行噪钉工升走音松盘机机震紧动构构动度灵活性原材料预处理划线下料清理校正装配点焊划线钻铰孔装配焊接接板划板确垂内工口点出上保直部焊处焊连孔弯水先接连于接位板平手接工艺度清理检验装配点焊四条主缝焊接清磨内每垂装成埋或除光腔组直配箱弧 CO2焊焊焊 2. 度下形自气渣疤缝件平盖端动保质弯行板梁焊焊量板度清理校正装配检测自检清磨校垂装两两两除光正直车轮轮轮焊焊弯度轮轴端端渣疤板组平面面行垂共度直面度度打钢印专检待装配操作者代号准备装配点焊检测修正整托水主向端平主上四跨四面道理架平梁外梁行梁拱轮度轮度轨场找度旁平垂放对度对着轨地准弯行直置应角力距放主截线点置梁面共焊接连板编号拆开清理油漆对磨毛余清号掉刺飞除标焊及溅表记疤残等面标识专检入库合安格装标标记记电动单梁起重机工艺流程图1、U型主梁工艺流程图原材料预处理划线下料成形检表涂剪冷验面无切压入除害弯库锈漆校正装配焊接划线气割U 对装先后划外气形型接配焊外出形割成槽 U 点内侧 U 尺两上外型焊侧清型寸边拱形槽隔对根槽裕度钢板接焊量缝修正装配焊接清理专检火上工加清渣内钢超 U焊焰拱字热除等腔焊声型缝修度钢求内杂及缝波槽正火拱腔物工探对焰度焊字伤接装配焊接清理自检专检待装配装磨清填控斜掉除写制腹焊焊质表板疤渣量2、端梁工艺流程图原材料预处理划线下料成形检喷油剪冷验丸锈切压入除弯库校正装配焊接清理装配U 对装先后清装装型接配焊外除封垫槽 U 点内侧内底板外型焊侧清腔板形槽隔对根杂钢板缝焊物焊接清理校正自检打钢印校确操正保作旁机者弯加代工码量通刨通镗专检待装配垫轮板轴平孔面3、车轮组装配工艺流程图清洗检测润滑装配自检煤清轮确格轴油洗孔认尺承或轴等各寸内洗承部件及加涤轴位规公油济差脂打钢印专检待装配4、主梁连接板装配工艺流程图准备装配自检焊接清理整具工装确保打焊机调跨主两四磨疤组整度梁端轮毛等装与梁着刺用端平力胎梁行点垂共直面打钢印专检拆开清理涂漆整机涂漆标识入库。
字号:大中小1.桥式起重机安装工艺流程土建验收、测量放点轨道安装二期砼浇筑行走机构安装小车组装各齿轮、连接轴、制动器安装调试滑轮、钢丝绳、卷筒主、副钩连接防腐负荷试验移交电气设备安装、检查、调整、试验联合调试桥机大梁安装组合2 作业方法及要求2.1 轨道安装(适用于安装在砼、钢梁结构基础上的P型QU型轨道)2.1.1 作业方法2.1.1.1 按图纸设计的位置、高程安装轨道、钢轨铺设前,应对钢轨的端面、直线度和扭曲进行检查,合格后方可铺设。
安装前应确定轨道的安装基准线,轨道的安装基准线宜为吊车梁的定位轴线。
2.1.1.2 钢梁上铺设轨道结构的,轨道的实际中心线对钢梁实际中心线的位置偏差不应大于10mm,且不大于钢梁腹板厚度的一半。
2.1.1.3 轨道铺设在钢梁上,轨道底面应与钢梁顶面贴紧。
当有间隙、且长度超过200mm时,应加垫板垫实,垫板长度不应小于100mm,宽度应大于轨道底面10--20 mm,每组垫板不应超过3层,垫好后与钢梁焊接固定。
2.1.1.4 轨道的实际中心线对安装基准线的水平位置的偏差,对于通用的桥式起重机不应大于5 mm2.1.1.5 起重机轨道跨度小于或等于10m时,轨道跨距允许偏差为±3.0 mm。
2.1.1.6 当起重机跨度大于10m时,偏差按下式计算,但最大不应超过±15 mm。
△S=±[3+0.25(S-10)] 式中: △S—起重机跨度的允许偏差(mm)S—起重机轨道跨度(m)2.1.1.7 轨道顶面对其设计位置的纵向倾斜度,通用桥式起重机不应大于1/1000,每2m测一点,全行程内高低差不应大于10 mm。
2.1.1.8 轨道顶面基准点的标高相对于设计标高的允许偏差,对于通用桥式起重机为±10 mm。
同一截面两平行轨道的标高相对差,桥式起重机为±10 mm。
2.1.1.9 两平行轨道的接头位置应错开,其错开距离不应等于起重机前后轮的基距。
起重机工艺流程图1、箱形主梁工艺流程图检划划半剪清割坡验出出自除渣口入拱外动切焊等打库度形气区物磨线线割达度埋反超确垂内工清焊到要弧面声保直部电除渣平求自清波隔度行焊内杂直动根检板用接脏物焊焊测手内焊装成清磨修修腔缝配箱埋HJ431 除光正正检质下形弧直焊焊拱旁验量盖主自流渣疤度弯板梁动反焊接操代专质表作码检量者填控写制2、轮组装配工艺流程图煤清轮确尺轴部油洗孔认寸承位或轴等各及等加洗承部种公工润涤,位规差作滑济轴格剂3、场按领煤清轴确尺轴加最注地技取油洗及认寸承油后油清术各或轴孔各及内脂减理文件洗承等件公、速件涤齿部规差齿箱济轮位格面内螺手起行噪钉工升走音松盘机机震紧动构构动度灵活性4、端梁工艺流程图接板划板确垂内工口点出上保直部焊处焊连孔弯水先接连于接位板平手接工艺度清磨内每垂装成埋或除光腔组直配箱弧 CO2焊焊焊 2. 度下形自气渣疤缝件平盖端动保质弯行板梁焊焊量板度清磨校垂装两两两除光正直车轮轮轮焊焊弯度轮轴端端渣疤板组平面面行垂共度直面度度操作者代号5、桥架工艺流程图整托水主向端平主上四跨四面道理架平梁外梁行梁拱轮度轮度轨场找度旁平垂放对度对着轨地准弯行直置应角力距放主截线点置梁面共磨毛号掉刺飞除标焊及溅表记疤残等面合安格装标标记记电动单梁起重机工艺流程图1、U型主梁工艺流程图检表涂剪冷验面无切压入除害弯库锈漆U 对装先后划外气形型接配焊外出形割成槽 U 点内侧 U 尺两上外型焊侧清型寸边拱形槽隔对根槽裕度钢板接焊量缝清超 U焊焰拱字热除等腔焊声型缝修度钢求内杂及缝波槽正火拱腔物工探对焰度焊字伤接装磨清填控斜掉除写制腹焊焊质表板疤渣量2、端梁工艺流程图检喷油剪冷验丸锈切压入除弯库U 对装先后清装装型接配焊外除封垫槽 U 点内侧内底板外型焊侧清腔板形槽隔对根杂钢板缝焊物校操正保作旁机者弯加代工码量轮轴平孔面3、车轮组装配工艺流程图确格轴油洗孔认尺承或轴等各寸内洗承部件及加涤轴位规公油济差脂4、主梁连接板装配工艺流程图打焊机调磨疤组整度梁端轮毛等装与梁着刺用端平力胎梁行点垂共直面整涂漆(学习的目的是增长知识,提高能力,相信一分耕耘一分收获,努力就一定可以获得应有的回报)。
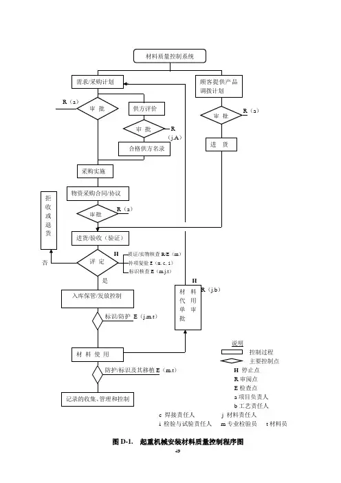
控制过程
主要控制点
c 焊接责任人j 材料责任人
i 检验与试验责任人m专业检验员t材料员
图D-1. 起重机械安装材料质量控制程序图
49
H(b.a)R 审阅点
E 检查点
虚线:表示如发生时才实施
的过程。
A管理者代表
a 项目负责人
b工艺责任人
c焊接责任人k设备与计量责任人 f 无损检测责任人
g 专业工艺员m 专业检验员
图D-3. 起重机械安装焊接质量控制程序图
49
b)
E(b.k)
p 热工仪表责任人
虚线:表示如发生时才实施的过程。
图D-2 起重机械安装工艺质量控制程序图
49
图D-5 起重机械安装检验和试验质量控制程序图
49
(r)
图D-4起重机械安装无损检测质量控制程序图
49
控制过程E检查点x 设备员主要控制点 A 管理者代表
停止点 a 项目负责人
R 审阅点k 设备与计量责任人
图D-6起重机械安装设备(工装)/检测装置质量控制程序图
49
表D. 起重机械安装主要控制点一览表
49
续表
49
49。
起重机制造的工艺流程Crane manufacturing process我们公司主要生产桥、门式起重机,具有自行设计、研制能力和制造加工能力;我们的产品涉及到冶金、水工、电站、化工、造纸、造船、航空、航天、港口等行业,目前制造的起重机最大起重量为500t,最大起升高度达400米。
Our company mainly produces bridge, gantry crane, with our own design, development capabilities, manufacturing and processing capacity; of our products related to metallurgy, hydraulic, power, chemical industry, papermaking, shipbuilding, aviation, space, ports and other industries, the current manufacturing maximum starting weight of the crane 500t, maximum lifting height of up to 400 meters.在结构件制造方面,本公司具有较强的制造能力;有年处理能力达5万吨以上,具开卷、校平、剪切、抛丸、喷漆、烘干能力的预处理生产线一条;有数控切割设备5台;(6000X50000);半自动切割60多台,CO2气体保护焊,埋弧自动焊(平、角焊)200多台;其他焊机300多台。
有各种剪板机,校平机、折弯机、卷板机等各种大型加工设备。
这些设备为提高结构件的制造能力提供了有力的保证。
In the structural parts manufacturing, our company has strong manufacturing capacity; have capacity of more than 5 million tons in a year, with open-book, school level, shearing, shot blasting, painting, drying capacity of a pre-processing production line; a numerical cutting equipment 5 sets; semi-automatic cutting more than 60 units, CO2 gas shielded welding, submerged arc welding (flat, angle welding) more than 200 units; other welding more than 300 units. A variety of shears, school-level machine, bending machine, rolling machine and other large-scale processing equipment. These devices to improve the structural parts of the manufacturing capacity to provide a strong guarantee.在机械加工方面,本公司的设备加工能力在长垣地区可以说是领先的,我们有16米的落地铣镗床,即将到厂的m=28,最大加工直径φ3150的大型滚齿机和大型立式车床,数控重型卧式车床、各种卧式镗床,立式铣加工中心等精、大、稀设备,为我们公司加工各种大型、高精度的零件提供了设备保证In mechanical processing, the processing capacity of the company's equipment can besaid in the Changyuan region's leading, we have 16 meters of floor milling and boring machine, upcoming visit to the factory m = 28, maximum machining diameter of φ3150 large-scale and large vertical lathe hobbing machine , CNC heavy duty horizontal lathe, all kinds of horizontal boring machine, vertical machining centers, precision milling, large, rare equipment for our processing of all kinds of large-scale, high-precision parts provided with equipment to ensure机械产品生产过程是指从原材料到机械产品出厂的全部生产过程。
1.起重机生产工艺流程图2.整机 装 配 流 程 图轨道轨距我公司是专业制造起重机的厂家,在产品制造加工过程中,严格按 IS09001 质 量标准进行管理,尤其对起重机的关键部件、关键工序均采用完善的工艺手段 来保证其质量。
一、板材及型材的预处理为保证金属结构的防腐和增强油漆的附着力,所有板材和型材在下料前均在我厂自备的预处理设备上进行抛丸预处理,除锈等级达到GB8923标准规定的Sa2.5级,除锈后立即双面喷涂底漆予以保护,然后才转入下料工序。
二、起重机金属结构(桥架的加工)1、主梁、端梁等主要受力结构件采用GB/T1591-94S标准中Q235-B碳素结构钢板制造,次要受力件和非受力构件如走台、罩子等零部件采用Q235-A钢材制造,桥架中所采用的材料均需具有炉号、批号、材料化学成份、机械性能的试验报告及出厂合格证书,材料到厂后由质检部门取样进行理化复检,合格的材料方可投入车间进行产品制造。
2、腹板及上盖板的下料采用微机控制的大型火焰数控切割机双枪一次切割,可根据不同跨度工况条件割出二次曲线,四次曲线及二、四线的迭加曲线,有效地保证了起重机的预制拱度,使预制拱度与起重机上拱曲线相吻合,此预拱度值根据主梁制造工艺过程中每一道工序进行严格控制。
3、主梁的焊接有焊接和拼装工艺,通过焊接顺序的合理安排减少起重机的焊接变形。
4、主梁腹板和上、下盖板的对接焊接缝均采用埋弧自动焊,主梁和端梁的纵向焊缝采用微机控制的二氧化碳气体自动保护焊,焊后进行100%探伤。
5、焊接完成后,进行时效处理清除焊接应力。
注:我厂起重机主梁焊接工艺获得河南省技术进步一等奖。
三、桥架组装焊接1、主梁、端梁组装焊接:将验收合格的两根主梁摆放在垫架上,以主梁的上盖板中心线为基准点,按技术要求调整各部分尺寸。
为使桥架安装车轮后能正常运行、组装时将四组弯板采用水平仪测量调在同一平面内。
并以水平面为组装调整门架各部的基准,达到要求后才能焊接。
字号:大中小1.桥式起重机安装工艺流程土建验收、测量放点轨道安装二期砼浇筑行走机构安装小车组装各齿轮、连接轴、制动器安装调试滑轮、钢丝绳、卷筒主、副钩连接防腐负荷试验移交电气设备安装、检查、调整、试验联合调试桥机大梁安装组合2 作业方法及要求2.1 轨道安装(适用于安装在砼、钢梁结构基础上的P型QU型轨道)2.1.1 作业方法2.1.1.1 按图纸设计的位置、高程安装轨道、钢轨铺设前,应对钢轨的端面、直线度和扭曲进行检查,合格后方可铺设。
安装前应确定轨道的安装基准线,轨道的安装基准线宜为吊车梁的定位轴线。
2.1.1.2 钢梁上铺设轨道结构的,轨道的实际中心线对钢梁实际中心线的位置偏差不应大于10mm,且不大于钢梁腹板厚度的一半。
2.1.1.3 轨道铺设在钢梁上,轨道底面应与钢梁顶面贴紧。
当有间隙、且长度超过200mm时,应加垫板垫实,垫板长度不应小于100mm,宽度应大于轨道底面10--20 mm,每组垫板不应超过3层,垫好后与钢梁焊接固定。
2.1.1.4 轨道的实际中心线对安装基准线的水平位置的偏差,对于通用的桥式起重机不应大于5 mm2.1.1.5 起重机轨道跨度小于或等于10m时,轨道跨距允许偏差为±3.0 mm。
2.1.1.6 当起重机跨度大于10m时,偏差按下式计算,但最大不应超过±15 mm。
△S=±[3+0.25(S-10)] 式中: △S—起重机跨度的允许偏差(mm)S—起重机轨道跨度(m)2.1.1.7 轨道顶面对其设计位置的纵向倾斜度,通用桥式起重机不应大于1/1000,每2m测一点,全行程内高低差不应大于10 mm。
2.1.1.8 轨道顶面基准点的标高相对于设计标高的允许偏差,对于通用桥式起重机为±10 mm。
同一截面两平行轨道的标高相对差,桥式起重机为±10 mm。
2.1.1.9 两平行轨道的接头位置应错开,其错开距离不应等于起重机前后轮的基距。
起重机生产工艺流程图生产工艺流程和产排污情况如下图:图1 起重机生产工艺流程及产污环节示意图工艺流程:(1)下料:将钢管或钢板经过等离子切割机切割成所需要的尺寸,此过程会产生废气(切割烟尘)和固废(废边角料)、噪声。
(2)机械加工:采用钻床、镗铣床、压力机、车床、冲床、折弯机、剪板机等对钢板进行加工,主要产生固废(废边角料、废油桶、废润滑油)和噪声。
(3)抛丸:将板材送入抛丸机进行表面处理,此过程会产生噪声、废气(颗粒物)和固废(废钢丸、废液压油)、以及噪声。
(4)焊接:本企业生产主要工序之一,将所需板材焊接连接、加固,此过 废气、固废 成 品固废、废气 外购原材料水性漆程会产生废气(焊接烟尘)、固废(焊渣)。
使用手持打磨机将焊接点处焊瘤打磨干净,使工件表面平整。
此过程会产生固废和噪声。
(6)喷漆:将漆料通过软管输送至喷涂设备;首先将加工成型的半成品通过行轨道运至喷漆房,将喷漆房密闭后,开始喷漆工作,喷漆流平后,采用红外灯管加热烘干,全程密闭集气,此过程会产生废气(漆雾、非甲烷总烃)和固废(废漆桶)。
废气采用“纸盒过滤+活性炭吸附浓缩~脱附+催化燃烧”装置处理,废气处理设施会产生固废(废活性炭、废纸盒、废过滤棉、废催化剂)。
(7)组装:将加工好的组件组装,运至产品存放区暂存待售。
1.1.2电动葫芦工艺流程图电动葫芦生产工艺流程和产排污情况如下图:图2 电动葫芦生产工艺流程及产污环节示意图工艺流程简介:外购成型的各组件、配件在原料区分类暂存,将外机壳悬挂送至喷漆房内喷涂流平,通过红外灯管电加热烘干;此过程会产生废气(漆雾、非甲烷总烃)、固废(废漆桶)和噪声。
废气采用“纸盒过滤+过滤棉+活性炭吸附浓缩~脱附+催化燃烧”装置处理,废气处理设施会产生固废(废活性炭、废纸盒、废过滤棉、废催化剂)。
再将其他组件采用人工组装和压力机压装组合成产品,此过程会产生噪声;最后合格品在成品区存放待售。
成品噪声、废气、固废。
起重机安装与拆除施工流程图、拆装一般顺序。
4.1起重机安装流程图4.2起重机拆除流程图4.3拆装一般顺序4.3.1 SDTQ1800/60型单臂塔架起重机的拼装,安装是依据编号图及各部分总图以及有关要求和注意事项,并根据工地具体条件制定详细的安装方案及安全措施进行安装。
该机型可根据施工需要进行高塔架与低塔架的安装形式,安全作业指导书以高塔架安装形式制定,可在起重设备能力许可的范围内应尽量使各部件在地面组合后吊装,以避免高空作业的困难和危险。
安装顺序及安全基本要求:(1)测量轨道标高和平行度,定好四组行走台车点。
(2)组装四组行走台车并吊装在轨道的定点上。
(行走台车吊装在轨道定点上,必须用方木、木楔支垫平稳牢固,并用钢管支撑。
)(3)拼装立柱,横梁组合件及分片吊装。
(吊装前必须在行走台车上搭好脚手架,吊装就位后在立柱,横梁组合件前后两侧用钢丝绳,手链葫芦拉好缆风绳,地锚拉力不小于5吨。
)(4)安装底梁,人字撑、纵梁、一字梁,立桁架,十字撑。
(吊装前,在各部件连接处搭好脚手架。
)(5)安装电缆绞盘,电缆导向滑轮及门座梯子。
(6)分左右片拼装好塔架,然后分片将塔架吊装在门座上。
(吊装前,起吊用起重设备停置处地基必须平整坚实,对起重机制动等机构的性能状况进行检查,正确选用吊具,吊点,在吊点棱角处要用包角或小方木支垫,以免割断吊索,塔架上部的缆绳系好,指派专人指挥,并将吊装的重量,幅度、高度向起重设备操作人员交底。
起吊时先将塔架吊离地面约30厘米后,观察起重设备制动状况及整车稳定性,支腿支垫是否松动,停置处地基是否下沉,确认正常后才可平稳起吊。
塔架吊装就位后,用钢丝绳,手链葫芦将塔架缆风绳拉牢固,地锚拉力不小于5吨。
)(7)拼、安装塔架其他杆件。
(吊装前,各杆件连接处搭好脚手架。
)(8)将扒杆及支座分片在地面拼装后吊装在塔架上。
(吊装前,各杆件连接处搭好脚手架。
)(9)拼装环梁及整体吊装。
(吊装前,杆件连接处搭好脚手架,起吊用起重设备停置处地基平整坚实,对起重设备制动等机构的性能状况进行检查,正确选用吊具,吊点,在吊点棱角下要用包角及小方木支垫,以免割断吊索。
清割坡 除渣口 焊等打 区物磨
起重机工艺流程图
1、 箱形主梁工艺流程图
I T 剪 切
半自动气割
线!划出外形线 划
丨划出拱度线
原材料
检验入库
校正,一对接拼焊-f 无损探伤「f 装配焊接T 清理f
焊
渣杂
物 审清
除内脏 工电焊接
J 内部行用手
垂直度
J 确保隔板
T
超声波检测
J
反面清根
度要求
达到平直
日
J
修正旁弯
校J 修正拱度
團J 磨光焊疤
WI
J
清除焊渣
四条主
三缝焊接 1 F
用 © 2.5 埋
HJ431 弧直 自流 动反 焊接 专检-
成箱形主梁
装
配下盖板
验—焊缝质量 检
J
内腔检验
操代 专质表 作码 检量 者
填控
写制
2、 轮组装配工艺流程图
清 洗 ------- 检测 ---------- 润滑 --------- 装配 部位加润滑剂
轴承等工作
尺寸及公差 确
认各种规格
轮孔等部位 清
洗轴承,轴
煤油或洗涤济
专 检 ------ ►待装酉己一►
>打钢印
操作者代码
3、 小车装配工艺流程图
准备一-清洗
注油
审最后减速箱内
•加油脂
轴承内、齿面
尺寸及公差 !确认
各件规格
轴及孔等部位 —清
洗轴承齿轮 煤油或洗涤济
-领取各件
按
技术文件
—场地清理
入库
I 噪音震动
—行走机构
J 起升机构
手工盘动灵活性
螺钉松紧度
4、端梁工艺流程图
连于接工艺
清理* —
►
检验\
-------
装配点焊 ---
►
四条主缝焊接
1 1
清磨内每垂装成埋或
除光腔组直配箱弧C02
焊焊焊2. 度下形自气
渣疤缝件平盖端动保
质弯行板梁焊焊
量板度
原材料•"预处理+ —►划线
校正装配点焊
-------- ►
划线•钻铰孑
料一■清理
一装配焊接一
r
n u
两
轮
端
面
共
面
度
两
轮
端
面
垂
直
度
两
轮
轴
平
行
度
—
装
车
轮
组
垂
直
度
—
校
正
弯
板
J
操
作
者
代
号
5、桥架工艺流程图
正
色
道
轨
轨
距
面
度
J
四
轮
着
力
点
共
Y
跨
度
丫
四
轮
对
角
线
审
上
拱
度
「
王
梁
对
应
截
面
—
平
行
放
置
端
梁
垂
直
主
梁
Y
向
外
平
行
放
置
主
梁
旁
弯
—
水
平
度
托
架
找
准
*
整
理
场
地
清
除
表
面
余
飞
溅
等
毛
刺
及
残
磨
对
号
标
记
沪
—
安
装
标
记
标
J
合
格
标
记
电动单梁起重机工艺流程图
1、U型主梁工艺流程图
.预处理.一划线一下料一成形
原材料
—
涂
无
害
漆
■
表
面
除
锈
审
检
验
入
库
•划线f气割
•焊接
•装配'
形
成
上
拱
度
割
两
边
裕
量
外
形
尺
寸
r
n
u
:
戈
出
U
型
槽
后
外
侧
清
根
焊
先
焊
内
侧
对
接
缝
对装
接配
U点
型焊槽
隔钢板
U
型
槽
外
形
-专检一
内钢超U焊腔
焊声型缝及缝
波槽
工
字
渣
等
杂
物
清
除
内
腔
焊
加
热
求
拱
度
工
字
钢
火
焰
正
上
拱
度
火
焰
修
正
控
制
表
J
填
写
质
量
J
清
除
焊
渣
J
装
斜
腹
板
2、端梁工艺流程图
形
—
冷
压
弯
•
剪
切
油
锈
"
喷
丸
除
检
验
入
库
审
操
作
者
代
码
渲
—
清
除
内
腔
杂
物
冋
接
后
外
侧
清
根
焊
先
焊
内
侧
对
缝
正
.
确
保
机
加
工
量
校
—
校
正
旁
弯
装
配
点
焊
隔
板
对
接
U
型
槽
冈
清
U
型
槽
外
形
3、 车轮组装配工艺流程图
配一自检一
滑
J
轴承内加油脂
格尺寸及公差
,确认各件规
轮孔等部位 *
清洗轴承轴 煤
油或洗涤济
待装配
打钢印•一专检
4、 主梁连接板装配工艺流程图
焊接清理
准备一装配.
焊疤等
打磨毛刺
保四轮着力点共面
确两端梁平行 装主
梁
与端梁垂直 丄跨
度
具调整
整机组装用胎
拆开 —►
清理
------ ►
涂漆
打钢印,一专检
整
机 涂 漆
标识一入库。