顶管安全管理措施
- 格式:docx
- 大小:142.80 KB
- 文档页数:20
顶管安全措施及注意事项
以下是 9 条关于顶管安全措施及注意事项:
1. 进入施工现场,你就得戴好安全帽啊,这就跟战士上战场得穿好盔甲一样重要!比如你看小李那次没戴,多危险呐!
2. 施工前一定要仔细检查设备啊,你想想,要是车子要出发了才发现轮胎没气,那多耽误事儿啊!就像上次隔壁工地,这不检查,结果机器出故障了。
3. 顶管作业的时候,得时刻留意周边情况,不能马虎呀!这可就跟你过马路得左顾右盼一个道理,要不很容易出问题的,小张你说是不是?
4. 操作工人得严格按照规定流程来呀,可不能随便乱来,这可不是玩游戏能重来,出了事儿后悔都来不及!就像老孙上次不按流程,差点酿成大祸!
5. 施工现场的警示标志可不是摆设啊,要重视起来!这好比是马路上的红绿灯,提醒着大家注意安全呢,你可别不当回事儿啊。
6. 遇到问题别慌张,冷静处理很重要呀,难道遇到事儿就哭天抢地能解决?想想老王那次,就是太慌张了才出了岔子。
7. 每天施工结束后,要做好现场清理啊,不能乱糟糟的,这就像你每天要把自己的屋子收拾整齐一样嘛,第二天工作才更顺畅呀,可不是吗,小赵?
8. 跟同事之间要相互配合好呀,这不是一个人的事儿,团队合作很关键哩!足球比赛还得靠大家一起踢呢,顶管施工也一样。
9. 安全始终要放在第一位啊,没了安全,其他的一切不都白搭了?大家可都得记住啦!
我的观点结论:顶管施工安全无小事,这些措施和注意事项一定要认真落实,这样才能保证施工的顺利进行,保证大家的安全!。
顶管施工安全措施
在进行顶管施工时,必须严格遵守安全措施,以确保工人和周围环境的安全。
以下是一些常见的顶管施工安全措施:
1. 严格遵守规章制度:所有施工人员必须在施工前接受相关的培训,并且了解和遵守施工现场的规章制度。
2. 使用个人防护设备:施工人员应佩戴安全帽、安全鞋、手套、防尘面具等个人防护设备,以保护自己免受受伤和污染的风险。
3. 安全绳索和防护网的使用:在进行高空工作时,工人必须使用安全绳索,并在需要时搭设防护网,以避免人员从高处掉落。
4. 检查和维护设备:施工前,必须对使用的机械设备进行全面的检查,确保其正常运行并不存在安全隐患。
同时,定期对设备进行维护和保养。
5. 安全警示标识的设置:在施工现场,应设置必要的安全警示标识,如禁止通行、高危区域等标志,以提醒施工人员和其他人员注意安全。
6. 防火措施:在施工现场周围和临近地区,应采取必要的防火措施,如设置灭火器、灭火器材储存区等,以防止火灾发生并及时应对。
7. 定期进行安全检查:工地负责人应定期进行安全检查,发现安全隐患时,必须立即采取措施进行整改,确保施工现场的安
全。
8. 员工培训和意识提升:除了必要的培训外,还应加强员工的安全意识,通过举办安全教育活动、发放安全宣传资料等方式提高员工的安全素养。
以上是顶管施工安全措施的一些常见内容,为确保施工过程的安全,请严格遵守并根据实际情况进行相应的补充和改进。
顶管施工安全保证措施
在顶管施工中,为保证施工的安全,需要采取以下保证措施:
1. 编制安全施工方案:在开始施工前,要制定详细的安全施工方案,包括施工过程中
可能存在的安全隐患、预防措施和应急预案等。
2. 建立安全管理制度:施工单位应建立完善的安全管理制度,明确责任、义务和安全
要求,确保施工期间的安全。
3. 人员培训和教育:施工人员应进行安全教育和培训,熟悉施工现场的安全规定和操
作方法,提高安全意识,避免发生事故。
4. 配备必要的安全设施:施工现场应配备必要的安全设施,如护栏、防护网、安全帽、安全绳等,确保施工人员的安全。
5. 引导交通和围挡施工区域:施工现场周边的交通应进行引导,确保交通顺畅,同时
在施工区域进行围挡,避免人员闯入危险区域。
6. 定期检查和维护设备:施工过程中使用的设备应进行定期检查和维护,确保其运行
正常,避免因设备故障引发事故。
7. 加强施工现场的通风和排尘工作:顶管施工过程中会产生大量的粉尘和有害气体,
需要采取有效的通风和排尘措施,确保施工现场的空气质量。
8. 加强监督和检查:相关部门应加强对施工现场的监督和检查,确保施工单位按照安
全要求进行作业,及时发现并纠正存在的安全隐患。
顶管安全工作措施顶层管理者在组织中扮演着至关重要的角色,他们负责确定安全策略并确保其有效实施。
顶层管理者需要关注整个组织的安全工作,并采取措施防止潜在的安全威胁。
以下是一些顶层管理者可以采取的安全措施:1. 制定安全策略:顶层管理者需要制定一份详细的安全策略,确保组织在整个安全工作中有一个明确的方向。
安全策略应该覆盖组织内的各个方面,包括网络安全、物理安全、员工安全等。
2. 分配安全资源:顶层管理者需要确保适当的资源分配给安全工作。
这包括人力资源、资金和设备等。
没有足够的资源,安全工作将无法有效实施。
3. 设立安全团队:顶层管理者可以指定一支专门的安全团队来负责整个组织的安全工作。
安全团队应该有合适的培训和技能,能够快速识别和应对各种安全威胁。
4. 建立安全意识:顶层管理者需要建立一种强烈的安全意识,使整个组织的员工都能够理解和遵循安全政策和流程。
安全意识的培养可以通过定期的培训和宣传活动来实现。
5. 审查和改进:顶层管理者应该定期审查和评估组织的安全状况,并及时采取措施改进。
这可以通过定期的安全风险评估、安全演习和安全审核来实现。
6. 与外部合作伙伴合作:顶层管理者可以与其他组织建立合作关系,共享安全信息和资源。
这有助于提高整个行业的安全水平,共同应对安全威胁。
7. 应急响应计划:顶层管理者需要制定一份应急响应计划,以应对各种紧急情况和安全事件。
该计划应包括紧急联系人、紧急响应流程和恢复计划等。
8. 保障数据安全:顶层管理者需要确保组织的数据得到妥善保护。
这包括备份数据、加密敏感信息、限制对数据的访问等。
9. 建立安全文化:顶层管理者需要倡导一种安全文化,在组织中强调和鼓励员工对安全问题的关注和参与。
只有当整个组织都将安全视为一项重要的价值时,安全工作才能真正得到重视和推动。
10. 进行定期的安全培训:顶层管理者应该定期组织员工参加安全培训,提高他们的安全意识和技能。
这有助于减少因员工疏忽或错误而导致的安全事故。
顶管作业现场安全管理规范前言在顶管作业中,安全是第一位的。
为了保证现场人员的安全,顶管作业现场必须制定安全管理规范,执行安全防范措施,有效控制作业现场风险,保证作业安全,保障人身、财产安全。
本文将介绍顶管作业现场安全管理规范。
作业现场安全管理方法1.工作前安全检查在顶管作业现场开工前,应严格进行作业现场安全检查,了解现场可行性和安全要求、设备、工具等使用状况和现场作业规范。
2.环境安全控制顶管作业现场需要进行环境安全控制,如预防火源,远离易燃易爆物品等。
同时,在作业前应进行风险评估及现场检查,对于可能存在的安全隐患进行清理,确保安全生产。
3.作业现场信号控制在现场进行安全控制的同时,还需要进行涉及道路及交通方面信号控制。
当作业现场在道路中时应加设合理的标志、提示,提醒过往车辆、行人或其他车辆要绕行,并将作业现场锁定。
4.现场监护在作业进行过程中,必须有专人现场监控,确保人员、设备、机器等正常运转,及时发现异常情况并进行处理。
当作业现场较大时,还应设立监控中心,配备交通信号、视频监控系统等以提高监管水平。
5.紧急预案制定在作业过程中需要制定紧急预案,在突发事件发生时迅速处理,并及时上报情况,保证人员安全,避免事态恶化。
6.工器具的使用顶管作业需要使用大型的设备,如推进机、钻杆等,这些设备的危险性较高,必须遵守安全标准,严格进行安全操作,防止事故的发生。
结语顶管作业是一项危险性较大的工程,安全规范的遵守和执行对于整个工程的安全起到至关重要的作用,在顶管作业现场中,应确保人员和设备的安全,确保良性的运行和发展。
在此,我们特别提醒大家,在顶管作业现场安全管理上,切勿轻视安全标准,以确保作业安全。
顶管现场安全管理措施1、重点部位风险控制本施工项目涉及到顶管管节吊运、施工沿线的高压线保护、地下管线的保护、基坑开挖、顶管进出洞。
顶经部在确定重点部位的前提下,落实监控人员,确定监控的措施方案和方式,实施重点监控,必要时连续监控。
顶管管节的吊运必须落实吊运的设备、确定吊运吨位的匹配,对吊运的索具进行配置。
制订相应的分项安全技术措施和操作规程,在吊运过程中进行监控。
对起重设备的操作人员和指挥人员进行交底。
顶管进洞、出洞是历来是顶管掘进的重点。
工程项目部将对顶管进洞制订安全技术方案,细化安全措施,对进出洞作业班组进行详细的交底,在进出洞过程中,确定安全员在施工现场全过程的监控。
在施工过程中,吊运大型的机械设备、如导轨、千斤顶、后顶钢板等重物配备相应的起重索具,禁止施工人员在下部交错作业。
安全用电及高压线保护:对施工沿线高压线将采取严格的安全措施,并经管线单位认可,进行交底,项目部对施工作业班组进行安全技术措施交底,并落实到责任人。
并签订高压线保护交底书,对高压线保护制订相关的操作规程。
吊车与高压线的回转半径符合国家对高压线的有关标准,管理人员对机械严格检查,设备信息予以留档,吊车见吊装令方可作业。
严禁在高压线的下部吊运(把杆顶部超过与高压线的净空距离标准,严禁在高压线的一侧进行横向吊运作业)。
对起重作业的各种索具,安全系数K>8z起重索定期检查,对断丝超标的、钢丝绳棱角边快口损坏的,及时予以报废,防止钢丝绳在吊运中被拉断,把杆反弹。
严禁雨天、雾天在高压线附近作业。
如特殊情况要吊运,必须制订相关的技术措施,扩大吊运距离。
2.井下顶管机头内的通风当机头出现异常或中断间拆装时,必须保证管内的空气流通,以及防止有毒有害气体的进入管内施工现场必须配备通风机,急救氧气包。
3、其他现场安全管理(1)施工现场的布置应符合防火、防台风、防触电等安全规定及文明施工的要求,施工现场的生产、生活办公用房、仓库、材料堆放场、修理间、停车场等应按业主批准的总平面布置图进行统一布置(2)危险地点应悬挂按照GB2893—82《安全色》和GB4378—84《安全标志》规定的标牌。
浅析顶管施工安全风险及管理措施随着城市建设的不断发展,地下空间的利用也越来越广泛,而顶管施工作为地下空间利用的重要手段之一,其在城市建设中扮演着重要的角色。
顶管施工存在着诸多安全风险,一旦发生事故,将会给施工单位和相关人员带来极大的伤害和财产损失。
对顶管施工的安全风险进行认真分析,并采取有效的管理措施,是保障工程施工安全的关键之一。
一、顶管施工安全风险分析1. 地质情况不明确导致的风险:因为地下的地质情况常常是不明确的,有可能存在地质松软带、地下水涌出等问题,在进行顶管施工时,会对施工工作带来较大的安全隐患。
2. 施工设备使用风险:顶管施工所需的机械设备较多,如果这些设备没有经过严格的维护和检验,就可能出现在使用过程中发生故障、设备失稳等问题,给施工人员造成伤害。
3. 空气质量风险:顶管施工在地下进行,空气流通不畅,容易出现有害气体积聚的情况,施工人员长时间暴露在有害气体中,容易导致中毒事故。
4. 地下管线风险:地下可能存在各种管线,如电力管线、自来水管线等,如果在施工过程中不知情的破坏了这些管线,将会导致安全事故的发生。
5. 劳动保护不到位风险:在顶管施工中,劳动强度大、施工环境复杂,如果施工人员缺乏必要的劳动保护,就容易出现人身伤害事故。
二、顶管施工安全管理措施1. 加强地质勘测和分析:在进行顶管施工前,进行详细的地质勘测和分析,了解地下情况,制定相应的施工方案和安全预防措施。
2. 严格施工设备管理:对施工所需的各种机械设备进行严格的维护和检查,确保设备的安全性和稳定性,避免在施工中出现设备故障导致的安全事故。
3. 确保施工环境空气质量:在地下空间中,要保证空气流通畅通,定期对施工空间内的空气质量进行检测,对有害气体进行及时清除,确保施工人员的健康安全。
4. 地下管线勘查和标识:在施工前,对地下可能存在的管线进行详细勘查和标识,并严禁在未确认地下管线位置的情况下进行施工,避免损坏地下管线而导致安全事故。
顶管工程安全措施和操作规程
顶管工程是在地下进行管道施工的一种常见方法,为了保障施工人员和现场安全,需要严格遵守以下安全措施和操作规程:
1. 地质勘察及工作地点确认。
在工程前期,必须进行详细的地质勘察,确定施工区域的地质情况,确认地下存在的各种障碍物。
确保施工区域不会涉及到重要的地下管道、电线、油、气管线等。
2. 施工现场围挡安全。
在施工现场周围设置围栏,标明危险区域标志,保证施工现场安全。
3. 机械设备安全操作。
使用必须的机械设备,例如掘进机,钻机等时,必须是经过专业培训和有持证上岗的工作人员进行操作。
设备在操作前必须检查有无损坏,保障设备安全。
4. 工作场地通风和灯光设备。
顶管前必须有足够的照明设备,特别是对于一些低矮场地必须设置照明设备。
必须保证施工区域通风良好,并从料斗排放尘土。
5. 施工场地卫生管理。
顶管施工后,一定要将施工现场保持清洁,关注围挡外的卫生,及时清理废料、杂物和垃圾等。
6. 吊装管道安全。
管道由大型起重机进行吊装,起重机旁必须设立专人引导。
大型起重机在施工前必须进行检查和测试,确保安全。
7. 管道检验和性能测试。
管道吊装后,必须进行检验和性能测试。
检验能够发现管道的问题和潜在安全风险,测试确认管道是否满足设计标准并进行性能测试。
1。
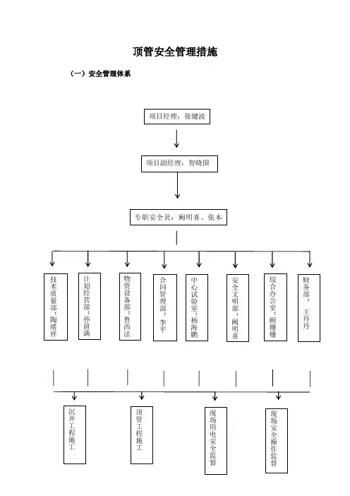
顶管安全管理措施(一)安全管理体系(二)机械安全措施各种机械设备要有专人负责维修保养,经常对其关键部位进行检查,避免机械故障及机械伤害事件发生。
机械安装时基础必须稳固,吊装机械臂下不得站人,吊装时机械臂距架空线距离要符合安全规定;机械设备要视其性能不同分别搭设防尘、防雨、防碰、防噪音等设施,机械设备附近设立标志牌、操作规程要求;运输车辆要制动灵活,功能良好,听从指挥,信号齐全,过岔口、遇障碍物时要减速鸣笛,不得超速行驶;施工中所用机械、电气设备必须达到国家安全防护标准,自制设备、设施必须通过安全检验及性能检验合格后方可使用;施工现场的各种机械严禁超负荷及带病运转。
(三)安全用电部分1、安全用电技术措施(1)接地与接零在施工现场专用的中性点直接接地的低压电力线中,采取TN-C 接零保护系统(即三相五线制)。
保护零线由工作接地线或配电室的零线或第一级漏保护器电源侧的零线引出。
保护零线与工作零线分开单独敷设,不作它用,保护零线PE采用绿/黄双色线。
保护零线在配电室(或总配电室)配电线路中间和未端至少三处作重复接地,重复接地线应与保护零线相连接。
保护零线的截面不小于工作零线的截面,同时必须满足机械强度的要求,其中,架空敷设间距不大于12 米时,采用绝缘铜线截面不小于10mm2,采用绝缘铝线截面不小于16mm2。
与电气设备相连接的保护零线为截面不小于mm2 的绝缘多股铜线。
电气设备的正常情况下不带电的金属外壳、框架、部件、管道、轨道、金属操作台以及靠边带电部分的金属围栏、金属门等均用保护接零。
供电电力变压器中性点的直接工作接地电阻值应不小于4 欧姆,保护零线重复接地电阻值应不小于10 欧姆。
不得一部分设备作保护接零,另一部分作保护接地。
(2)配置漏电保护器现工现场的配电箱(配电室)和开关箱至少配置两级漏电保护器。
漏电保护器应选用电流动作型,一般场合漏电保护器的额定漏电动作电流应不小于30MA,额定漏电动作时间不大于;潮湿和腐蚀介质场所的漏电保护器,其额定漏电动作电流和额定漏电动作时间乘积的极限值为(大于)。
顶管施工安全及环保施工措施1.施工现场设专职安全员一名,随时监控现场施工安全工作,做到预防为主。
2.顶管作业必须严格执行交接班制度,作业中必须明确联络信号及报警方法。
3.开挖工作坑作业前,场地应符合排管、运管、吊运、出土、的安全要求。
工作坑要分层开挖并及时分层支撑,工作坑四壁支撑框架必须加固,在挖土、支撑作业中,不得碰撞已安装好的支撑件,发现有松动变形必须加固,拆除工作坑支撑作业中,无关人员不得在基坑内。
设专人指挥,自上而下逐层拆除,在下层未回填完成前不得对上一层支撑进行拆除。
4.坑内设置安全爬梯,上下工作坑必须走安全梯,安全梯要固定在支撑上,严禁乘坐运输料斗出入顶坑。
顶进时,顶铁上方几及侧面不得站人,并应随时观察有无异常迹象。
进入现场必须戴安全帽,并使用相应的防护用品。
在出土和吊运材料时,井中设备下严禁站人。
5.因故停顶后恢复顶进前,必须对支撑平台、支架、电气设备、吊索、机具进行检查,确认安全后方可作业。
6.非机电人员不得从事机械、电气作业。
7.作业中传递工具、材料必须轻拿轻放,稳妥传递,严禁从坑上向下或者从坑下向上抛扔。
作业面内遇不明构筑物或管道,应停止作业,确认安全后方可继续作业。
8.下管作业必须统一指挥,下管前必须检查起重设备、钢丝绳、吊钩、支架、平台确认安全后方可下管,下管要在平台上试吊,安全后下管;下管前,严禁管下站人,从活动平台下管时,应将管子吊起,稳定后开启活动平台检视坑底,确认安全后方可缓慢吊下,管子下至距坑底30~50cm时,作业人员方可靠近管子进行稳管作业,作业过程中,严禁手扶钢丝绳,管子就位支稳后方可摘钩。
作业人员避开吊具后方可提升吊具,关闭活动平台后方可进行坑内作业。
9.挖土人员在管内掏挖作业时,严禁超挖每次挖土不大于20cm,作业时发现土体稳定性较差,有塌方预兆时,必须立即停止作业,采取加固措施;作业人员遇呼吸异常,或有异味、渗水、塌方现象,必须停止作业,向上级报告,管内照明线路及其他设备必须紧靠管子装设,且电压不得高于24伏,潮湿时采用12伏的电压。
顶管工程施工安全控制措施(一)所有施工人员在进驻现场前,要进行安全教育,到业主单位保卫部门办理有关手续,作业人员统一着装,挂牌进入施工现场,在商定的施工区域内施工。
(二)编制的施工组织设计、方案、作业设计中必须有切实可行,行之有效的安全技术措施,并严格贯彻执行。
(三)强化安全教育,加强各工种的安全操作规程的培训。
坚持安全活动日和安全例会制度;坚持安全检查,发现稳患,及时整改。
(四)施工现场大量张贴安全标语,悬挂安全警示标志,提醒作业人员遵守安全规章制度。
(五)建立安全奖惩制度,对违反安全生产管理规定的作业人员处以罚款,对遵章守纪的作业人员予以奖励。
(六)脚手架防护1、上人斜道应有防滑措施。
2、脚手架搭设应规范,立杆、水平杆的间距符合要求。
3、脚手架上满铺竹笆,且不少于三层。
4、砌筑、围护脚手架外侧满挂安全围网防护,并设挡脚板。
5、脚手架上严禁有探头板。
(七)高处作业防护1、高处作业应悬挂安全带,做好防护设施。
2、高处作业严禁向下抛掷物件,采用运输机械吊运。
(八)施工机具、起重设备安全措施1、施工机具、起重设备等使用前必须认真检查。
严禁带病作业和超负荷作业,大型构件吊装运输时应合理选择吊点,吊装平稳,无碰撞,保证构件的安全。
2、施工机具挂操作牌,并按操作规程由专人操作。
3、起重设备根据其性能设置限量和限位装置,严禁超载动作。
4、夜间施工要有足够的照明(沉井外脚手架上端设置两处高压钠灯)。
(九)安全用电措施1、搞好安全用电,施工用的电缆必须绝缘良好,穿越道路要采取保护措施。
对施工用电情况要经常检查、维护,发现问题要及时处理。
2、各种电气设备、施工机具必须采取保护接地(接零)措施,严禁在同一系统中接零或接地两种保护同时使用,不准用保护接地做照明零线。
3、每台电动机械应有独立的开关和熔断保险,不准一机多用。
4、电动机械发生故障,有电工维修,其他操作人员不得擅自处理。
5、动力与照明用电配电箱应分开,严禁一箱多用。
管道顶管施工安全对策措施及建议1.选用对正面阻力有精确计量装置的平衡式顶管机,顶管施工时以预防为主,降低推进速度,严格控制顶管掘进机方向,减少纠偏,特别是大量值纠偏。
2.管道顶进时尽量保持连续推进,减少掘进停顿次数。
3.在顶管穿越期间,加强对管外壁触变泥浆参数和工艺的管理。
使管外壁形成完整的泥浆润滑套,减少顶进过程中管外壁与土体之间的扰动,从而减少地表沉降。
4.施工前必须对所有的仪器进行检测、校准,未经检测、校准的仪器不得使用,重要参数的仪器必须配备两台以上,以便不同仪器之间进行比对。
5.顶管施工中的测量,应建立地面与地下测量控制系统,控制点应设在不易扰动、视线清楚、方便校核、易于保护处。
6.必须按照预先制定的施工方案精心施工,施工过程中发现任何偏离设计参数的情况,必须立即停止施工,待查明原因,纠正偏离,采取可靠措施方可进行下一步的施工,所有过程必须保证受控,必须采取一切可能的措施保证天然气管线安全。
7.顶管的顶进工作井内布置及设备安装、运行应符合下列规定:(1)导轨应采用钢质材料,其强度和刚度应满足施工要求;导轨安装的坡度应与设计坡度一致。
(2)顶铁应符合下列规定:1)顶铁的强度、刚度应满足最大允许顶力要求;安装轴线应与管道轴线平行、对称,顶铁在导轨上滑动平稳、且无阻滞现象,以使传力均匀和受力稳定;2)顶铁与管端面之间应采用缓冲材料衬垫,并宜采用与管端面吻合的U形或环形顶铁;3)顶进作业时,作业人员不得在顶铁上方及侧面停留,并应随时观察顶铁有无异常现象。
(3)千斤顶、油泵等主顶进装置应符合下列规定:1)千斤顶宜固定在支架上,并与管道中心的垂线对称,其合力的作用点应在管道中心的垂线上;千斤顶对称布置且规格应相同;2)千斤顶的油路应并联,每台千斤顶应有进油、回油的控制系统;油泵应与千斤顶相匹配,并应有备用油泵;高压油管应顺直、转角少;3)千斤顶、油泵、换向阀及连接高压油管等安装完毕, 应进行试运转;整个系统应满足耐压、无泄漏要求,千斤顶推进速度、行程和各千斤顶同步性应符合施工要求;4)初始顶进应缓慢进行,待各接触部位密合后,再按正常顶进速度顶进;顶进中若发现油压突然增高,应立即停止顶进,检查原因并经处理后方可继续顶进;5)千斤顶活塞退回时,油压不得过大,速度不得过快。
顶管工程安全措施和操作规程一、前言顶管工程是一种地下工程,其施工存在很大的安全风险,因此必须要制定严格的安全措施和操作规程。
本文档旨在规范顶管工程的安全操作,减少安全事故的发生,确保施工的顺利进行。
二、安全措施2.1 安全防护设施施工现场必须要设置合理的安全防护设施,包括围挡、隔离带等,确保施工现场的安全。
同时,要在顶管内设置逃生通道,并在出入口处设置紧急灯具。
2.2 施工过程中的安全措施(1)施工前要做好场地勘察,了解地下管线、地层情况,制定合理的施工方案。
(2)设置好防护措施,包括隔离带和警示牌等。
(3)挖掘作业时,要做好坑口围挡等防护措施,确保施工人员的安全。
(4)进入顶管前,要检查好安全防护装备,配备好相关工具和通讯设备,确保安全出入。
(5)顶管过程中,要注意检查管道的水平度和坡度,确保顶管质量和安全。
(6)顶管结束后,要进行必要的检查和清理,确保现场的安全卫生。
2.3 应急预案应急预案是保障施工安全的重要措施,必须要制定合理的应急预案,并进行定期演练,确保应对突发情况的能力。
应急预案应当包括以下内容:(1)突发情况的种类和可能的影响。
(2)应急救援组织结构和分工。
(3)紧急设备和物资的储备和使用方法。
(4)应急预案的演练计划和宣传教育。
三、操作规程3.1 设计和施工图纸在顶管工程施工前,必须要有合理的设计和施工图纸。
设计和施工图纸的内容应当包括:(1)地下管线布局图和地层情况图。
(2)顶管的安全防护措施及相关设备。
(3)逃生通道和紧急设备的设置。
3.2 施工现场准备施工现场的准备应当包括以下内容:(1)清理现场,检查地下管线的位置。
(2)设置好安全防护措施,包括警示牌、隔离带等。
(3)准备好施工所需的工具和设备,包括钢筋切割机、打桩机等。
3.3 施工顺序在进行顶管工程施工时,应当按照以下顺序逐步进行:(1)确定坑口的位置和大小,施工人员要先进入坑内进行逃生通道的设置和加固。
(2)挖掘坑内,设置好支架,进行预制管道的组装。
顶管作业现场安全管第一章总则第一条为了加强作业现场的安全管理,确保作业人员的安全和生命财产的安全,促进作业现场的良好秩序,维护社会安定和经济发展,制定本规范。
第二条本规范适用于所有作业现场,包括但不限于建筑工地、工厂车间、矿山、道路施工现场等。
第三条作业现场安全管理以预防为主,综合治理为辅,依法管理为基础,持续改进为目标。
第二章作业现场管理第四条作业现场应设置明显的出入口,并配备安全警示标识,确保所有人员只能通过指定出入口进出。
第五条作业现场应划定安全区域和非安全区域,安全区域内应配备必要的安全设施和器材,严禁未经许可进入。
第六条作业现场应配备熟悉相应作业的专业人员,确保作业过程中的技术指导和安全监控。
第七条作业现场应进行周边环境的安全评估,并采取必要的措施,防止环境因素对作业过程带来不良影响。
第三章作业人员管理第八条作业人员应经过合格的培训和考核,持有相应的操作证书和安全教育培训合格证明。
第九条作业人员应按规定佩戴个人防护装备,并定期进行检查和更换,确保其良好的使用效果。
第十条作业人员应遵守作业现场的规章制度,服从现场管理人员的指挥,严禁违章作业。
第十一条作业人员应密切配合其他工种的协作操作,保证作业过程中的工作安全和顺利推进。
第四章安全设备管理第十二条作业现场应根据作业过程的特点和风险程度,配备相应的安全设备和器材。
第十三条安全设备和器材应按照规定的使用要求进行操作和维护,禁止私自移动或拆卸。
第十四条安全设备和器材应定期进行检查和维修,保证其性能的正常运行和有效使用。
第十五条安全设备和器材的购买和使用应符合相关法律法规的规定,确保其质量和安全性。
第五章应急管理第十六条作业现场应制定有效的应急预案和应急演练方案,确保发生事故时能及时正确地处理。
第十七条应急救援人员应定期进行培训和演练,保持良好的应急反应能力和处理技巧。
第十八条作业现场应配备必要的应急设备和药品,保证应急救援工作的顺利进行。
第六章违章处罚第十九条对违反作业现场安全管理规定的人员,依照法律法规的规定给予相应的处罚和警示。
顶管施工安全措施
1、顶管中要精确控制管道轴线轨迹,遇障碍物必须立即停止顶进,向现场技术人员报告,弄清障碍物性质后再采取相应技术措施。
2、顶管中遇空洞等异常地质体或水体,必须立即停止顶时,向现场技术人员报告,及时采取相应技术措施处理或调整设计轨迹。
3、管内掘土时要密切注意地层变化,如发现流砂现象,必须立即停止顶进,向现场技术人员报告,及时采取相应封堵措施处理。
4、管道顶时时要密切观察仪表顶力变化,及时调整顶进速度,防止顶时过快导致地面隆起。
5、全部施工教程中,应确定专人密切监测路面高程,如有变化,立即通知停止施工,采取相应措施处理并立即报告有关部门。
6、管子顶进10米以后,即需采用强制通风措施。
顶进50米以后,为确保管内安全,对每根管道均采用双通风机前抽后鼓式通风方案。
7、通过管线调查和探测,彻底弄清所要穿越路段的已民用工业地下管线和构筑物,防止施工中对它们造成破坏。
8、横向掘进时必须依据具体的地层条件和上部动荷载的变化确定尺,不得盲目抢工。
9、根据现场实际情况,需备用发电机供电时,安排专人负责发电,确保用电安全。
顶管工程安全措施和操作规程一、施工安全措施(1)成立施工安全领导小组,建立健全安全保证体系。
经理部内要有严密的安全监督体系,并经常对参施人员进行安全教育,提高安全意识。
严格按照施工规范和安全操作规程施工,在作业地点挂警示牌,严禁违章操作野蛮施工。
安全保证体框图如下:安全保证体系框图(2)安全人员均持证上岗,认真负责。
专职安全员要认真做好安全监督工作,建立安全台帐,对进入施工现场的机械及参施人员进行安全教育。
(3)参加施工人员都要进行学习,积极贯彻上级颁发的安全施工文件、规范、操作规程和规章制度,各专业施工人员都要参加专业安全教育,考试合格后才能上岗,特殊工种更要经过培训持证上岗。
技术交底单中有安全交底内容,保证施工人员安全操作。
(4)施工操作人员佩带安全防护工具,现场操作人员戴安全帽。
装作业起重臂下严禁站人,并有专人指挥。
(5)施工现场设置足够的照明装置,以便施工,夜间施工设红色警示灯。
(6)垂直吊装砼管和废土时,坑下不得站人,应由专人负责照应,发现问题及时示警。
(7)工作坑四周围护安全网,坑下挖集水井,坑边设排水沟,做好排水设施。
坑下留有作业人员的安全立足点。
1、顶管安全防护措施(1)在工作前认真观察周围环境,对环境四周有一个整体印象,防止周围物体伤到自己。
(2)沿工作井四周设置1.2 米高的固定护栏,护栏上挂安全网,工作井四周要挂相应的警示标语。
(3)工作坑设置上下扶梯,工作台要牢固,严禁在坑壁上掏坑攀登,或沿绳索攀登或跳下。
工具材料严禁上下投掷。
上下井的扶梯必须焊接牢固,使用直爬梯进行作业时,加设护笼,护笼间距以0.6米为宜。
使用梯子时,梯脚底部应坚实,不得垫高使用。
梯子的上端应有固定措施,踏板上下间距以0.3米为宜,不得有缺档。
(4)施工人员必须按施工技术交底要求进行挖掘作业。
(5)吊车、起重设备由专人操作和专人指挥,统一信号,预防发生碰撞。
专业操作人员应有操作证,持证上岗。
吊车靠近工作井边坡行驶时,加强对地基稳定性检查,防止发生倾翻事故。
顶管工作井安全工作措施井安全工作是指在地下采矿施工中,为确保人员和设备的安全,采取一系列的措施来减少或避免事故的发生。
以下是针对顶管工作井安全工作的一些建议和措施。
1.建立安全责任制度建立顶管工作安全责任制度,并明确各级管理人员的职责和权限,要求各级管理人员定期检查、审核和落实各项安全措施。
2.编制安全技术措施根据采矿施工的实际情况,编制顶管工作的安全技术措施,包括人员防护、设备维护等方面,并加强对工作人员的安全教育培训,提高其安全意识和应急处理能力。
3.强化现场管理实施分层管理,并设置专职安全员,对现场人员的作业情况进行监督和指导,确保工作人员严格执行安全规程和操作规范,杜绝违章操作。
4.加强现场安全检查定期对顶管工作的施工现场进行安全检查,包括临时支撑、防火、通风、安全通道的设置等,及时发现和解决问题。
5.加强防灾减灾工作组织开展对风险、地质情况的评估和分析,采取相应的预防措施,如加固地质体、设置预警装备等,以减少地质灾害对井下工作的影响。
6.安全装备和设施积极配备适用的安全装备和设施,如头盔、防尘口罩、安全绳索等,确保工作人员的个人安全。
7.建立事故应急预案编制事故应急预案,明确工作人员的应急任务和步骤,并定期组织演练,提高工作人员的应急处理能力。
8.强化监控与报警系统安装、使用行业规定的安全监控与报警系统,及时掌握施工现场的安全情况,预警和处理潜在的安全风险。
9.健全安全奖惩机制建立安全奖惩制度,对安全工作表现出色者给予奖励,对违章操作和安全事故责任人给予处罚,以起到激励和警示的作用。
10.加强交流与合作不断加强与其他行业和单位的交流与合作,共同探讨解决顶管工作井安全难题,借鉴和推广行业先进的安全管理经验。
综上所述,顶管工作井安全工作需要多措并举,从制度建设、安全技术措施、现场管理、防灾减灾、装备设施等方面入手,全面提升工作人员的安全意识和应急处理能力,确保采矿施工中的人员和设备的安全。
顶管安全管理措施(一)安全管理体系(二)机械安全措施各种机械设备要有专人负责维修保养,经常对其关键部位进行检查,避免机械故障及机械伤害事件发生。
机械安装时基础必须稳固,吊装机械臂下不得站人,吊装时机械臂距架空线距离要符合安全规定;机械设备要视其性能不同分别搭设防尘、防雨、防碰、防噪音等设施,机械设备附近设立标志牌、操作规程要求;运输车辆要制动灵活,功能良好,听从指挥,信号齐全,过岔口、遇障碍物时要减速鸣笛,不得超速行驶;施工中所用机械、电气设备必须达到国家安全防护标准,自制设备、设施必须通过安全检验及性能检验合格后方可使用;施工现场的各种机械严禁超负荷及带病运转。
(三)安全用电部分1、安全用电技术措施(1)接地与接零在施工现场专用的中性点直接接地的低压电力线中,采取TN-C 接零保护系统(即三相五线制)。
保护零线由工作接地线或配电室的零线或第一级漏保护器电源侧的零线引出。
保护零线与工作零线分开单独敷设,不作它用,保护零线PE采用绿/黄双色线。
保护零线在配电室(或总配电室)配电线路中间和未端至少三处作重复接地,重复接地线应与保护零线相连接。
保护零线的截面不小于工作零线的截面,同时必须满足机械强度的要求,其中,架空敷设间距不大于12 米时,采用绝缘铜线截面不小于10mm2,采用绝缘铝线截面不小于16mm2。
与电气设备相连接的保护零线为截面不小于2.5 mm2 的绝缘多股铜线。
电气设备的正常情况下不带电的金属外壳、框架、部件、管道、轨道、金属操作台以及靠边带电部分的金属围栏、金属门等均用保护接零。
供电电力变压器中性点的直接工作接地电阻值应不小于4 欧姆,保护零线重复接地电阻值应不小于10 欧姆。
不得一部分设备作保护接零,另一部分作保护接地。
(2)配置漏电保护器现工现场的配电箱(配电室)和开关箱至少配置两级漏电保护器。
漏电保护器应选用电流动作型,一般场合漏电保护器的额定漏电动作电流应不小于30MA,额定漏电动作时间不大于0.1S;潮湿和腐蚀介质场所的漏电保护器,其额定漏电动作电流和额定漏电动作时间乘积的极限值为(大于)30MA.S。
开关箱内漏电保护器的选用应与动力设备的容量大小、相数等实际情况相适应、相配合,如三相电动机则应选用参数匹配的三相三线的漏电保护器;照明用电必须与动力用电分开,照明应选用单相二线的漏电保护器。
开并箱按三级设置,即总配电箱分配电箱开关箱,开关箱距离机具不能超过三米,开关箱实行一机一闸一漏电保护。
(3)外电保护在建工程(含脚手架)的外侧边缘与外电架空线路的边线之间和最小安全操作距离:电压1KV 以下为4 米;电压1KV~10KV 之间为6 米。
施工现场的机动车道与外电架空线路交叉时的最小垂直距离:电压1KV 以下为6 米,电压1KV~10KV 之间为7米。
(4)配电系统所有电线架设都必须使用电杆、绝缘子、横担等,按规范要求架设;开关电器及电气装置必须完好无损;开关电器及电气装置必须装设端正、牢固,不得拖地放置;带电导线与导线之间的接头必须绝缘包扎,带电导线必须绝缘良好;带电导线严禁搭、挂、压在脚手架或其它物体上;配电箱与开关箱应作名称、用途、分路标记;配电箱、开关箱应配锁并有专人负责;电箱内部及周围临近区域不得有杂物、灌木和杂草等;室外用电严禁使用花线拉设,严禁使用铜线或其它金属线代替保险丝使用,严禁工人宿舍内乱拉电线、插座、烧电炉、电饭煲;电气装置应定期检修,检修时必须做到:停电要悬挂停电标志牌,挂接必要的接地;由相应级别的专业电工检修;检修人员应穿绝缘鞋和手套,使用电工绝缘工具;有组织和专人统一指挥。
(5)照明在夜间施工或自然采光的场所、料具堆放场、仓库、办公室、食堂、宿舍等设备一般照明、局部照明或混合照明。
根据使用场所的环境条件选择相应的照明器。
行灯电压不超过36V,灯具离地面高度底于2.4 米等场所照明电压不大于36V。
潮湿及易触及带电体场所照明电压不大于24V;根据需要设置警示和红色信号照明和事故照明,其电源应设在施工现场电源总开关的前侧,并配备电源。
(6)施工用电由于线路较长,拟采用发电机发电,每工作面配备200kw发电机组一台,根据工作面长度,并考虑备用发电机组台数。
2、对各类用电人员进行安全用电基本知识培训。
(1)严格执行国家颁布的有关安全生产制度和安全技术操作规程。
认真进行安全技术教育和安全技术交底。
施工过程中,对安全防范的关键部位进行重点检查,及时排除不安全因素和事故隐患。
(2)做好地质详勘工作,查清沉井范围内的地质、水位情况,对存在的不良地质条件采取针对性的技术措施,防止沉井在下沉过程中发生不正常情况,以确保施工的安全。
(3)落实沉井垫架拆除和土方开挖的安全防护措施,控制均匀挖土和刃脚处破土速度,防止沉井发生突然下沉和严重倾斜而导致人身伤亡事故。
(4)做好沉井期间的排水与降水工作,并设置可靠电源,以保证沉井挖土过程中不出现大量涌水、涌泥或流砂现象,避免造成淹井事故。
(5)沉井口周围须设置安全防护栏杆,并有防止坠物的措施。
井下作业应戴安全帽,穿胶鞋。
下井应设安全爬梯,并应有可靠的应急措施。
(6)认真遵守用电安全操作规程,防止超负荷作业。
电动工具、潜水泵等应装设漏电保护器。
夜班作业时,沉井内外应有足够的照明。
井内应采用36V 低压电。
(7)输电线路应架设在安全地点,并有可靠的绝缘装置。
井下作业人员应具有良好的安全防范意识,因为水有导电性,电流有可能通过水柱传导至人体而造成触电事故。
(8)沉井内的作业人员应先经过医生的体格检查,凡患有心脏病、肺结核等疾病者均不得下井施工。
(四)、沉井安全技术措施1)严格执行国家颁布的有关安全生产制度和安全技术操作规程。
认真进行安全技术教育和安全技术交底。
施工过程中,对安全防范的关键部位进行重点检查,及时排除不安全因素和事故隐患。
2)做好地质详勘工作,查清沉井范围内的地质、水位情况,对存在的不良地质条件采取针对性的技术措施,防止沉井在下沉过程中发生不正常情况,以确保施工的安全。
3)落实沉井垫架拆除和土方开挖的安全防护措施,控制均匀挖土和刃脚处破土速度,防止沉井发生突然下沉和严重倾斜而导致人身伤亡事故。
4)做好沉井期间的排水与降水工作,并设置可靠电源,以保证沉井挖土过程中不出现大量涌水、涌泥或流砂现象,避免造成淹井事故。
5)沉井口周围须设置安全防护栏杆,并有防止坠物的措施。
井下作业应戴安全帽,穿胶鞋。
下井应设安全爬梯,并应有可靠的应急措施。
6)认真遵守用电安全操作规程,防止超负荷作业。
电动工具、潜水泵等应装设漏电保护器。
夜班作业时,沉井内外应有足够的照明。
井内应采用36V低压电。
7)输电线路应架设在安全地点,并有可靠的绝缘装置。
井下作业人员应具有良好的安全防范意识,因为水有导电性,电流有可能通过水柱传导至人体而造成触电事故。
8)沉井内的作业人员应先经过医生的体格检查,凡患有心脏病、肺结核等疾病者均不得下井施工。
沉井施工应急预案(1)应急预案的方针与原则坚持“安全第一,预防为主”及“保护人员安全优先,保护环境优先”的方针,贯彻“常备不懈、统一指挥、高效协调、持续改进”的原则。
给企业员工的工作和施工场区周围居民提供更好更安全的环境,保证各种应急资源处于良好的备战状态,指导应急行动按计划有序地进行,防止因应急行动组织不力或现场救援工作的无序和混乱而延误事故的应急救援,有效地避免或降低人员伤亡和财产损失,帮助实现应急行动的快速、有序、高效;充分体现应急救援的“应急精神”。
(2)安全应急领导小组组长:张键波(手机)副组长:智晓国(手机)成员:何鹏、孙前满、王福成、崔同运、阙明喜1、通讯联络组。
组长:曹俊岗(手机)成员:张本冠职责:1、发生火警拨打119急救2、重大伤亡事故拨打120急救3、交通事故拨打110急救4、发生事故后1小时内及时向公司领导和公司安全部门汇报,紧急情况直接向市质量安全监督站和安全生产部门汇报。
2、成立现场抢救小组。
组长:张键波成员:王士广、金兴国、何鹏、朱宽荣、吕基友职责:①具体负责现场抢险救助工作。
②现场急救药品器械。
③由于安全事故的突发性,在施工现场组织了担架、夹板、绷布、急救包、消炎紫药水、人丹等简单药品器械。
3、成立交通运输组。
组长:万金平(手机)成员:鲁西法、王福成、鲁宏标车辆:苏AY0859职责:具体负责抢险时的交通运输工作。
若发生人员受伤情况,抢救人员应首先将轻伤人员就近南京市建邺医院(电话:)或江苏省公安消防总队医院(电话:)治疗。
如有重伤人员应立即送往南京市距工地最近的医院抢救治疗。
4、成立事故调查和善后处理小组。
组长:张键波成员:朱海洋、张本冠、何鹏、王士广、李斌职责:①进行事故善后处理和根据“四不放过“原则进行事故调查、分析、取证工作。
②事故处理完毕由安全员金兴国及时填写事故报告书,事故完案处理之后,一份交人力资源部,一份交安全部存档备案,接受劳动局,安全生产监督局及主管部门调查。
生产安全事故应急救援组织成员经培训,掌握并且具备现场救援救护的基本技能,施工现场生产安全应急救援小组必须配备相应的急救器材和设备。
小组每年进行1~2次应急救援演习和对急救器材设备的日常维修、保养,从而保证应急救援时正常运转。
应急救援小组职责:组织检查各施工现场及其它生产部门的安全隐患,落实各项安全生产责任制,贯彻执行各项安全防范措施及各种安全管理制度。
进行教育培训,使小组成员掌握应急救援的基本常识,同时具备安全生产管理相应的素质水平,小组成员定期对职工进行安全生产教育,提高职工安全生产技能和安全生产素质。
(3)应急预案1、工作原则(1)以人为本,安全第一。
应急处置以保障人民群众的利益和生命财产安全作为出发点和落脚点,最大限度地减少或减轻重大质量与安全事故造成的人员伤亡和财产损失以及社会危害。
(2)分级管理、分级负责。
在主管部门统一领导下,根据本工程建设重大质量与安全事故等级、类型和职责分工。
(3)预防为主,平战结合。
贯彻落实“安全第一,预防为主”的方针,坚持事故应急与预防工作相结合,做好预防、预测、预警和预报。
2、实施程序公司及工地建立安全值班制度,设值班电话并保证24小时轮流值班。
如发生产安全事故立即上报,具体上报程序如下:现场第一发现人→现场值班主管→现场应急救援小组组长→公司安全生产事故应急救援小组→向上级部门报告安全生产事故发生后,应急救援组织立即启动以下应急救援程序:现场第一发现人现场值班主管现场应急救援小组组长控制事态、保护现场、组织抢救、疏导人员组织组员进行现场急救;组织车辆,送最佳医院抢救(1)救人第一:事故发生后,如有人员伤亡,必须先行救人,及时向110、120求助,也可用现场车辆或拦车将伤员送往就近大医院抢救。
如发生火灾,应立即打119求救。
(2)控制险情:采取有效措施控制险情的进一步发展,如切断电源,加固支撑,疏散人员等。