职业卫生“三同时”办理流程
- 格式:doc
- 大小:63.00 KB
- 文档页数:6
建设项目职业卫生三同时办理流程为了保障建设项目的安全性和职业健康,国家要求在建设项目的各个阶段都要进行职业卫生三同时的办理工作。
那么,在建设项目中职业卫生三同时的办理流程是怎样的呢?本文将从以下五个方面进行具体介绍:1.职业卫生三同时的概念和意义2.职业卫生三同时的内容和标准3.职业卫生三同时的办理流程4.职业卫生三同时的监管和管理5.职业卫生三同时的效益和建议1. 职业卫生三同时的概念和意义职业卫生三同时,又叫“职业病防治三同时”,是指建设项目进行设计、施工、生产、经营及其他相关活动时,同时开展职业卫生监测、职业卫生评价和职业病防治设计的工作。
职业卫生三同时的意义在于保障从业人员的身体健康和生命安全,有效预防和控制职业病的发生和流行。
2. 职业卫生三同时的内容和标准职业卫生三同时的内容包括职业卫生监测、职业卫生评价和职业病防治设计三个方面。
其中,职业卫生监测是指对建设项目从业人员进行职业病危险因素的监测和评价,以便采取相应的预防措施。
职业卫生评价是指对建设项目进行评价,确定职业病危害因素的类型、强度和分布等,从而采取有效的防范措施。
职业病防治设计则是针对建设项目中的职业病危险因素,制定相应的防治措施,避免或减少职业病的发生。
职业卫生三同时的标准主要包括国家标准、地方标准和企业标准三个层面。
国家标准是指由国家制定的具有行业或地域代表性的标准。
地方标准是指由地方政府制定的具有本地区特色的标准。
企业标准则是特指企业自行制定的,有针对性的标准。
3. 职业卫生三同时的办理流程职业卫生三同时的办理流程主要包括以下七个环节:3.1 初审资料准备主要包括建设单位向职业病防治机构提交的有关建设单位基本情况、建设项目基本情况、施工图、工艺流程、物质安全数据表、建设项目职业病危害因素特征、从业人员职业病危害接触情况等过程。
如果初审资料不齐全或存在问题,职业病防治机构将会提出整改要求。
3.2 职业病危害评价职业病危害评价包括与职业病危害有关的职业健康监测、职业病危害因素分析和职业病危害评价三个步骤。
我编了一个职业卫生三同时审批备案办理指南(草案),请各位领导、专家提提意见苏宿工业园区建设项目职业卫生“三同时”审批备案办理指南一、基本概念1.建设项目,是指可能产生职业病危害的新建、改建、扩建和技术改造、技术引进建设项目。
2、可能产生职业病危害的建设项目是指存在或产生《职业病危害因素分类目录》或《工作场所有害因素职业接触限值》所列职业病危害因素的建设项目。
3、职业病防护设施是指消除或者降低工作场所的职业病危害因素的浓度或者强度,减少职业病危害因素对劳动者健康的损害或影响,达到保护劳动者健康目的的装置。
4、建设项目职业卫生“三同时”是指建设项目职业病防护设施必须与主体工程同时设计、同时施工、同时投入使用。
二、分类管理将可能产生职业病危害的建设项目分为三种类型。
第一种类型:职业病危害轻微的建设项目,第二种类型:职业病危害一般的建设项目第三种类型:职业病危害严重的建设项目,三、办理程序第一种类型建设项目职业卫生“三同时”审批备案程序第一步:职业危害预评价1、建设单位在建设项目可行性论证阶段委托具有相应资质的职业卫生技术服务机构进行职业病危害预评价,并编制预评价报告。
2、职业病危害预评价报告编制完成后,建设单位对预评价报告进行评审。
3、建设单位向安全生产监督管理部门提出职业病危害预评价备案申请,并提交下列材料:(一)建设项目职业病危害预评价备案申请书;(二)建设项目立项审批证明材料(复印件);(三)建设项目职业病危害预评价报告;(四)建设单位对预评价报告的评审意见;(五)职业病危害预评价机构的资质证明(影印件);(六)其他相关材料。
涉及放射性职业病危害因素的建设项目,建设单位提交建设项目放射防护预评价报告。
4、安全生产监督管理部门收到职业病危害预评价报告备案申请材料后,对申请材料的完整性、合法性进行核对,符合要求的予以备案,并出具备案通知书;不符合要求的,不予备案。
第二步:职业病防护设施设计审查建设单位委托具有资质的设计单位编制职业病防护设施设计专篇。
建设项目职业卫生“三同时”办理流程
一、受理范围:
宏伟区安监局负责对本行政区域内审批的建设项目,及上级安监部门委托的建设项目。
二、内容
建设项目:可能产生职业病危害的新建、扩建、改建建设项目和技术改造、技术引进项目。
建设项目职业卫生“三同时”审查工作包括:职业病危害预评价审核或备案、职业病防护设施设计审查、职业病防护设施竣工验收或备案。
流程简述:
(1)建设项目在可行性论证阶段,委托有资质机构开展职业病危害预评价。
预评价报告应在项目审批前向宏伟区安监局申请审核或备案。
(需提交材料见附一)
(2)预评价报告结论为可能产生严重职业病危害的建设项目,在初步设计阶段,项目设计单位要编制职业病防护设施设计专篇,并向宏伟区安监局提出审查申请。
(需提交材料见附二)
(3)建设单位在竣工验收前,委托有资质机构开展职业病危害控制效果评价。
评价结论为轻微的建设项目向宏伟区安监局提出备案申请,评价结论为一般或严重的建设项目向宏伟区安监局提出竣工验收申请。
(需提交材料见附三)
四、法律依据:
(1)《中华人民共和国职业病防治法》第十六条——第十九条;
(2)《作业场所职业健康监督管理暂行规定》第十四条——第十七条;。
建立工程职业卫生"三同时〞工作流程职业卫生〔职业平安和卫生技术措施及设施)"三同时〞是指建立工程职业病防护设施必须与主体工程同时设计、同时施工、同时投入使用。
三个预防:预防、控制和消除三个阶段:预评价、施工设计、竣工验收三种危害程度:职业病危害一般、职业病危害较重、职业病危害严重一、预评价〔一〕职业病危害一般的建立工程:建立单位①委托资质职业卫生技术效劳机构进展预评价〔编制预评价报告〕②组织本单位人员进展内审,内审意见反应效劳机构,修正预评价报告③组织专家进展评审,形成预评价报告审查意见,完善预评价报告④向安监局提出预评价备案申请安监局⑤对申请材料进展核对,做出是否受理决定〔5个工作日〕⑥对申请资料进展形式审查。
符合要求的予以备案,出具备案通知书。
〔二〕职业病危害较重的建立工程:建立单位①委托资质职业卫生技术效劳机构进展预评价〔编制预评价报告〕②组织本单位人员进展内审,内审意见反应效劳机构,修正预评价报告③组织专家进展评审,形成预评价报告审查意见,完善预评价报告④向安监局提出预评价审核申请安监局⑤对申请材料进展核对,做出是否受理决定〔5个工作日〕⑥对申请资料进展审核。
审核同意的予以批复,并填写"三同时〞审查表。
〔三〕职业病危害严重的建立工程:建立单位①委托资质职业卫生技术效劳机构进展预评价〔编制预评价报告〕②组织本单位人员进展内审,内审意见反应效劳机构,修正预评价报告③组织专家进展评审,形成预评价报告审查意见,完善预评价报告④向安监局提出预评价审核申请安监局⑤对申请材料进展核对,做出是否受理决定〔5个工作日〕⑥对申请资料进展审核。
审核同意的予以批复,并填写"三同时〞审查表二、施工设计〔一〕职业病危害一般和较重的建立工程:建立单位①委托资质设计单位编制职业病防护设施设计专篇。
②组织本单位相关人员对专篇进展内审,内审意见反应给设计单位,修正设计专篇。
③组织专家会同设计单位对专篇进展评审,形成审查意见,完善设计专篇。
安全、职业卫生、水土保持、环保三同时办理依据和流程若建设项目通过政府相关的部门审批、核准或者备案,安全、环保、职业卫生以及水土保持“三同时”工作拟按以下步骤组织开展:(一)安全设施“三同时”工作开展法律法规依据:《建设项目安全设施“三同时”监督管理办法》(国家安监总局令第77号,2015年5月1日起施行,以下简称办法)第二条经县级以上人民政府及其有关主管部门依法审批、核准或者备案的生产经营单位新建、改建、扩建工程项目(以下统称建设项目)安全设施的建设及其监督管理,适用本办法。
1.安全预评价工作开展依据:《办法》第七条下列建设项目在进行可行性研究时,生产经营单位应当按照国家规定,进行安全预评价:(一)非煤矿矿山建设项目。
工作措施:项目可行性研究完成后,委托具有相应资质的安全评价机构,对该项目进行安全预评价,并编制安全预评价报告。
2.安全设施设计审查工作开展依据:《办法》第十二条本办法第七条第(一)项、第(二)项、第(三)项、第(四)项规定的建设项目安全设施设计完成后,生产经营单位应当按照本办法第五条的规定向安全生产监督管理部门提出审查申请。
工作措施:在项目初步设计时,委托有相应资质的初步设计单位编制安全设施设计(安全专篇),并提交项目审批、核准或者备案的文件、建设项目安全设施设计审查申请、设计单位的设计资质证明文件、建设项目安全设施设计、建设项目安全预评价报告等有关资料上报安监局审查,取得审批意见。
3、安全设施施工和竣工验收工作开展依据:《办法》第二十二条本办法第七条规定的建设项目安全设施竣工或者试运行完成后,生产经营单位应当委托具有相应资质的安全评价机构对安全设施进行验收评价,并编制建设项目安全验收评价报告。
工作措施:项目安全设施竣工或者项目试运行完成后(试运行时间不少于30日,最长不得超过180日),委托具有相应资质的安全评价机构对该项目安全设施进行验收评价,并编制安全验收评价报告(注:安全预评价单位与安全验收评价单位不能为同一家)。
职业卫生三同时工作流程预评价职业病危害一般的建设项目:建设单位①委托资质职业卫生技术服务机构进行预评价(编制预评价报告)②组织本单位人员进行内审,内审意见反馈服务机构,修正预评价报告③组织专家进行评审,形成预评价报告审查意见,完善预评价报告④向安监局提出预评价备案申请安监局⑤对申请材料进行核对,做出是否受理决定(5个工作日)⑥对申请资料进行形式审查。
符合要求的予以备案,出具备案通知书。
职业病危害较重的建设项目:建设单位①委托资质职业卫生技术服务机构进行预评价(编制预评价报告)②组织本单位人员进行内审,内审意见反馈服务机构,修正预评价报告③组织专家进行评审,形成预评价报告审查意见,完善预评价报告④向安监局提出预评价审核申请安监局⑤对申请材料进行核对,做出是否受理决定(5个工作日)⑥对申请资料进行审核。
审核同意的予以批复,并填写“三同时”审查表(附件11)。
职业病危害严重的建设项目:建设单位①委托资质职业卫生技术服务机构进行预评价(编制预评价报告)②组织本单位人员进行内审,内审意见反馈服务机构,修正预评价报告③组织专家进行评审,形成预评价报告审查意见,完善预评价报告④向安监局提出预评价审核申请安监局⑤对申请材料进行核对,做出是否受理决定(5个工作日)⑥对申请资料进行审核。
审核同意的予以批复,并填写“三同时”审查表(附件11)。
职业病危害一般和较重的建设项目:建设单位①委托资质设计单位编制职业病防护设施设计专篇。
②组织本单位相关人员对专篇进行内审,内审意见反馈给设计单位,修正设计专篇。
③组织专家会同设计单位对专篇进行评审,形成审查意见,完善设计专篇。
④按照规定进行职业病防护设施的施工。
职业病危害严重的建设项目:建设单位①委托资质设计单位编制职业病防护设施设计专篇。
②组织本单位相关人员对专篇进行内审,内审意见反馈给设计单位,修正设计专篇。
③组织专家会同设计单位对专篇进行评审,形成审查意见,完善设计专篇。
➢环保三同时一、办理“三同时”需确保以下项目已完成:1.环评报告已经环保局批复2.污染物验收监测已完成并达标(废水、废气、噪声等)3.排污申报登记已完成(可能不是必须的)4.排污许可证已办理(可能不是必须的)二、申请三同时验收:1.向环保局递交三同时验收申请2.递交环评报告3.递交环评批复执行情况报告4.递交验收监测报告三、等待环保局现场“三同时”验收及发放竣工验收报告➢安全设施三同时1.在安监局申领三同时申请表2.安监局根据项目安排做安全专篇或安全评价或安全专项评价3.委托中介机构做评价,4.评审安全评价5.报安监局备案➢职业卫生三同时一、职业病危害预评价审核1.建设单位在建设项目可行性论证阶段委托具有相应资质的职业卫生技术服务机构进行职业病危害预评价。
2.职业病危害预评价完成后,经建设单位负责部门审核同意签署意见后报卫生行政部门审核。
3.审核需提供资料如下:(1)建设项目职业病危害预评价审核(备案)申请书;(2)建设项目职业病危害预评价报告;(3)委托申报的,应提供授权委托书。
二、职业病防护设施设计审查1.在初步设计阶段,建设单位应当委托具有国家建设行政主管部门颁发的相应资质证书的设计单位对该项目编制职业病防护设施设计专篇。
2.职业卫生专篇编制完成后,经建设单位负责部门审查同意签署意见后报卫生行政部门审查。
3.设计审查需提供资料如下:(1)建设项目职业病防护设施设计审查申请书;(2)建设项目职业病防护设施设计职业卫生专篇;(3)建设项目职业病危害预评价报告的批复(复印件);(4)委托申报的,提供授权委托书。
三、竣工验收工作1.在试运行12个月内委托具有相应资质的职业卫生技术服务机构进行职业病危害控制效果评价。
2.控制效果评价报告完成后,经总公司卫生处审核同意签署意见后报卫生行政部门组织验收。
3.竣工验收需提供资料如下:(1)建设项目职业病防护设施竣工验收(备案)申请书;(2)建设项目职业病危害控制效果评价报告;(3)建设项目职业病危害预评价报告的批复或备案通知书(复印件);(4)职业病危害严重的建设项目职业病防护设施设计的批复(复印件);(5)委托申报的,提供授权委托书。
建设项目职业卫生“三同时”制度职业卫生是保护劳动者健康和预防职业病的重要岗位工作,对于企业的可持续发展和员工的生产安全具有重要意义。
建设项目作为一个特殊领域,其复杂性和危险性使职业卫生工作变得更加重要。
为了保障职业卫生工作的顺利进行,建设项目需要建立起职业卫生“三同时”制度。
一、“三同时”的概念与意义“三同时”是指职业卫生工程建设项目在设计、施工、运营阶段,必须在其开工、投产或使用之日或变更时,与主体工程同时进行职业卫生设施与设备的设计、建设和投入使用。
这意味着在项目的各个主要阶段,职业卫生设施的规划、建设和管理要与主体工程同步进行。
建设项目职业卫生“三同时”制度的意义主要有以下几点:1. 保障劳动者健康和职业安全:职业卫生设施和设备的规划与建设能够提前预防和控制工作场所对劳动者造成的危害,确保员工的身体健康和职业安全。
2. 提高项目质量和效益:职业卫生工作的规范化和系统化能够减少事故和职业病的发生率,保障工人的稳定和安全生产,提高项目的质量和效益。
3. 符合法律法规和政府规定:根据职业卫生法和相关法规,建设项目有责任保障劳动者的职业健康和安全。
建设项目职业卫生“三同时”制度的建立是履行法律义务的重要内容。
4. 促进企业可持续发展:健康的员工是企业可持续发展的重要保障。
职业卫生工作的规范和科学性能够提高员工的工作积极性和生产能力,促进企业的可持续发展。
二、建设项目职业卫生“三同时”制度的主要内容1. 设立专门的职业卫生管理机构:建设项目应设立专门的职业卫生管理机构,明确职责和权限,负责项目的职业卫生规划、监测评价和风险管控。
该机构应与项目管理部门密切配合,确保职业卫生工作的顺利进行。
2. 开展职业卫生规划:项目开工前,应编制职业卫生规划,确定职业卫生设施和设备的需求和布局。
职业卫生规划应包括工作场所的职业危害预评价、工程防护设施的设计和建设要求等内容,确保职业卫生工作与主体工程同步进行。
3. 职业卫生设施和设备的建设和使用:建设项目应根据职业危害特点和工作场所要求,合理规划、设计和建设职业卫生设施和设备,确保它们的有效性和合理使用。
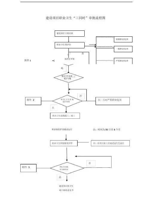
附件1建设项目职业卫生“三同时”审批流程图建设项目立项可研r---------------------- 1轻微职业危害职业卫生预评价------- ■■ --------------------- b一般职业危害1「否预评价审核---------------------- ►严重职业危害是职业卫生设施设计专篇职业病防护设施试运行注:时间为30日至6个月建设项目职卫生竣工验收意见书附件1:(受理之日起20 个工作日内作出批复)1.申请建设项目职业病危害预评价审核或备案的公函2.建设项目职业病危害预评价审核(备案)申请书3.建设项目立项预审批相关证明文件(复印件)4.建设项目职业病危害预评价报告5.职业病危害预评价机构的资质证明(影印件)6.建设单位对报告出具的评审意见7.其他相关材料附件2:(受理之日起20 个工作日内作出批复)1.申请建设项目职业病防护设施设计审查的公函2.建设项目职业病防护设施设计审查申请书3.建设项目职业病防护设施设计专篇4.建设项目职业病防护设施设计单位的资质证明(影印件)5.建设项目职业病危害预评价报告的批复(复印件)6.建设单位对设计专篇出具的评审意见7.其他相关材料附件3:(受理之日起20 个工作日内作出批复)1.申请建设项目职业病防护设施竣工验收或备案的公函2.建设项目职业病防护设施竣工验收(备案)申请书3.建设项目职业病危害控制效果评价报告4.建设项目职业病危害控制效果评价机构资质证明(影印件)5.建设项目职业病危害预评价报告的批复或备案通知书(复印件)6.建设项目职业病防护设施设计的批复(复印件)7.对职业病危害控制效果评价报告的评审意见和自验收总结8.其他相关材料。
附件:建设单位向安监部门申请职业病危害预评价备案或者审核时所需提交的相关文件、资料:(1)建设项目职业病危害预评价备案(审核)申请书;(2)申请建设项目职业病预评价报告审核(备案)的公函;(3)建设项目职业病危害预评价报告;(4)建设单位对预评价报告的评审意见;(5)职业卫生专家对预评价报告的审查意见;(6)职业病危害预评价机构的资质证明(影印件);(7)法律、行政法规、规章规定的其他文件、资料。
附件:建设单位对职业病危害严重的建设项目向安监部门提出建设项目职业病防护设施设计审查申请时所需提交的相关文件、资料:(1)建设项目职业病防护设施设计审查申请书;(2)建设项目立项审批文件(复印件);(3)建设项目职业病防护设施设计专篇;(4)建设单位对职业病防护设施设计专篇的评审意见;(5)建设项目职业病防护设施设计单位的资质证明(影印件);(6)建设项目职业病危害预评价报告审核的批复文件(复印件);(7)法律、行政法规、规章规定的其他文件、资料。
附件1:建设单位对职业病危害一般的建设项目向安监部门申请竣工备案时所需提交的相关文件、资料:(1)建设项目职业病防护设施竣工备案申请书;(2)建设项目职业病危害预评价报告备案通知书(复印件);(3)建设项目立项审批文件(复印件);(4)建设项目职业病防护设施设计专篇;(5)建设项目职业病危害控制效果评价机构的资质证明(影印件);(6)建设项目职业病危害控制效果评价报告;(7)职业卫生专家对职业病危害控制效果评价报告的评审意见;(8)建设单位对职业病危害控制效果评价报告的评审意见;(9)建设项目职业病防护设施竣工自行验收情况报告;(10)法律、行政法规、规章规定的其他文件、资料。
附件2:建设单位对职业病危害较重的建设项目向安监部门申请竣工验收时所需提交的相关文件、资料:(1)建设项目职业病防护设施竣工验收申请书;(2)建设项目职业病危害预评价报告审核批复文件;(3)建设项目职业病危害控制效果评价机构资质证明(影印件);(4)建设项目立项审批文件(复印件);(5)建设项目职业病防护设施设计专篇;(6)建设项目职业病危害控制效果评价报告;(7)职业卫生专家对职业病危害控制效果评价报告的审查意见;(8)建设单位对职业病危害控制效果评价报告的评审意见;(9)建设项目职业病防护设施施工单位和监理单位资质证明(影印件);(10)法律、行政法规、规章规定的其他文件、资料。
职业卫生三同时工作流程职业卫生三同时指安全生产法规要求企业必须采取的三项措施,即防止职业病、保护工人身体健康和防止事故的同时性安排。
它是企业实现职业病防治和安全生产的基础。
以下是职业卫生三同时工作流程的详细介绍:1.制定职业卫生三同时工作方案企业应根据国家相关法律、法规和标准,制定适应本企业的职业卫生三同时工作方案。
工作方案应包括:三同时责任分工、职业病危害因素的识别、评价和监测、职业卫生宣传教育、职业病防治和安全生产等各项具体措施。
2.评价职业病危害因素企业应根据工艺流程和作业过程特点,评价职业病危害因素,包括物理因素、化学因素、生物因素、粉尘、噪声、振动、放射性物质、高温、低温等。
同时,还应选定职业卫生监测点和监测参数,进行有效的监测和控制。
3.开展职业卫生宣传教育企业应在规定范围内面向全体职工开展职业卫生宣传教育,引导职工掌握防止职业病的知识和技能,保证职工在工作过程中遵守相关的职业卫生法规和规程。
4.制定职业病防治计划企业应根据本企业的实际情况,制定职业病防治计划。
首先,要明确各项防治病的措施、责任、具体实施方法和时限。
其次,根据职业病危害因素的评价结果,有针对性地采取有效的控制措施,保障职工身体健康。
5.开展安全生产工作企业应坚持宁可少做事,不可做不安全之事的原则,将安全生产作为首要任务之一,制定和执行科学的安全生产工作方案。
如:制定安全操作规程、加强现场安全管理、改造危险区域、配备必要安全防护设施等,同时及时处理和报告安全事故。
6.加强职业卫生监测企业应及时监测职业病危害因素浓度及职业病病监测结果,比较分析监测结果,并根据分析结果及时采取调整措施,保证职业病危害控制的效果。
7.开展职业病防治和安全生产的培训企业应加强职工职业病防治和安全生产方面的培训和培育,提高职工的职业卫生和安全意识,增强职工的安全生产技能,确保企业的职业卫生和安全生产工作取得实效。
8.监督检查和纠正措施企业应对职业病防治和安全生产工作进行日常监督检查,对职业病危害因素控制措施的执行情况和安全生产工作情况进行检查,对发现的问题及时进行纠正。
建设项目职业卫生“三同时”审批
一、事项概述
1、事项名称建设项目职业卫生“三同时”
2、办理单位武功县安监局
3、承诺时限15个工作日
二、法定依据:
《中华人民共和国职业病防治法》、《建设项目职业卫生“三同时”监督管理暂行办法》(国家安全监督总局令第51号)、《使用有毒物品作业场所劳动保护条例》、《国家安全监管总局关于公布建设项目职业病危害风险分类管理项目(2012年版)的通知》(安监总安监(2012)73号)。
三、办理程序
资料齐全,受理、审查,决定,批复。
四、办理所需资料:
1、职业病危害防护预评价审核申请书;
2、立项审批相关文件复印件;
3、职业病危害预评价报告;
4、职业危害委托机构资质证明;
5、建设单位对报告出具的评审意见。
(二)职业卫生设施设计审查所需资料;
1、职业病防护设计审查申请书;
2、职业病防护设施实际专篇复印件;
3、职业病危害委托机构资质证明;
4、建设单位对职业病预评价报告出具评审意见;
5、建设单位对职业病设计专篇出具评审意见;(三)职业卫生竣工验收审查所需资料
1、申请建设项目职业病防护设施竣工验收备案;
2、职业病防护设施竣工验收申请书;
3、建设项目职业病危害控制效果评价报告;
4、职业病危害委托机构资质证明;
5、职业病危害与评价报告批复;
6、职业病防护设施设计的批复;
7、职业病危害控制效果评价的评审意见和验收总计。
职业病危害一般的建设项目职业卫生三同时备案随着现代建设工程的不断发展,建设项目的数量不断地增加,同时也引发了相关的职业病危害问题。
为了保障建设工人的健康和安全,国家推行了职业卫生三同时备案制度。
职业卫生三同时备案的定义职业卫生三同时是指职业病危害因素的控制、职业卫生规定的技术标准和卫生监测的必要性同时实施,并在建造完毕前办理相应的备案手续的制度。
职业卫生三同时备案是指在职业卫生三同时制度下,在工程建设前,建设单位应当向有关职业卫生部门报告职业卫生三同时的情况,并取得其备案批准。
职业卫生三同时备案申请的基本要素1.职业卫生现状:包括职业卫生管理人员、职业接触有毒有害因素的工人人数和情况、环境监测情况等。
2.预防措施:包括进行职业卫生监测、实施职业卫生防护措施、配备必需的防护装备等。
3.危险因素控制:建设单位需要将职业病危害因素控制在允许范围内,对内部环境进行监测,并及时采取控制措施保障工人健康。
4.职业卫生培训:建设单位需加强对工人的职业卫生教育和技能培训,保证其具备相关职业卫生知识及操作技能。
5.监测管理:建设单位应当建立相关的监测管理制度,实现职业病预防和控制工作的全程控制。
职业卫生三同时备案的重要性职业病危害是指在一个职业环境中,由其所从事的工作任务和工作场所特殊因素,引起的某些特殊损害,如肺尘病、振动病、聋哑病等。
针对职业病危害问题,职业卫生三同时备案制度具有以下重要性:1.保障工人的健康和安全。
职业卫生三同时备案制度严格规定了建设项目所需的职业卫生要素,可以保障职业病危害有序控制,让工人减少职业病发病率。
2.增强企业的社会责任感。
职业卫生三同时备案制度规定建设单位需要明确肩负起职业病防范和控制责任,并建立职业卫生管理制度。
3.促进职业卫生防护技术的提高。
职业卫生三同时备案制度强制建设单位采购和使用符合职业卫生要求的防护装备,促进了职业卫生防护技术的提高。
职业病危害一般的建设项目职业卫生三同时备案的申报流程1.在施工前,建设单位应当向有关职业卫生部门报告职业卫生三同时的情况,并进行相应申报材料的准备。
职业卫生三同时工作流程预评判职业病危害一样的建设项目:建设单位①委托资质职业卫生技术效劳机构进行预评判(编制预评判报告)②组织本单位人员进行内审,内审意见反馈效劳机构,修正预评判报告③组织专家进行评审,形成预评判报告审查意见,完善预评判报告④向安监局提出预评判备案申请安监局⑤对申请材料进行查对,做出是不是受理决定(5个工作日)⑥对申请资料进行形式审查。
符合要求的予以备案,出具有案通知书。
职业病危害较重的建设项目:建设单位①委托资质职业卫生技术效劳机构进行预评判(编制预评判报告)②组织本单位人员进行内审,内审意见反馈效劳机构,修正预评判报告③组织专家进行评审,形成预评判报告审查意见,完善预评判报告④向安监局提出预评判审核申请安监局⑤对申请材料进行查对,做出是不是受理决定(5个工作日)⑥对申请资料进行审核。
审核同意的予以批复,并填写“三同时”审查表(附件11)。
职业病危害严峻的建设项目:建设单位①委托资质职业卫生技术效劳机构进行预评判(编制预评判报告)②组织本单位人员进行内审,内审意见反馈效劳机构,修正预评判报告③组织专家进行评审,形成预评判报告审查意见,完善预评判报告④向安监局提出预评判审核申请安监局⑤对申请材料进行查对,做出是不是受理决定(5个工作日)⑥对申请资料进行审核。
审核同意的予以批复,并填写“三同时”审查表(附件11)。
职业病危害一样和较重的建设项目:建设单位①委托资质设计单位编制职业病防护设施设计专篇。
②组织本单位相关人员对专篇进行内审,内审意见反馈给设计单位,修正设计专篇。
③组织专家会同设计单位对专篇进行评审,形成审查意见,完善设计专篇。
④依照规定进行职业病防护设施的施工。
职业病危害严峻的建设项目:建设单位①委托资质设计单位编制职业病防护设施设计专篇。
②组织本单位相关人员对专篇进行内审,内审意见反馈给设计单位,修正设计专篇。
③组织专家会同设计单位对专篇进行评审,形成审查意见,完善设计专篇。
职业病防治法规定三同时手续办理内容下载提示:该文档是本店铺精心编制而成的,希望大家下载后,能够帮助大家解决实际问题。
文档下载后可定制修改,请根据实际需要进行调整和使用,谢谢!本店铺为大家提供各种类型的实用资料,如教育随笔、日记赏析、句子摘抄、古诗大全、经典美文、话题作文、工作总结、词语解析、文案摘录、其他资料等等,想了解不同资料格式和写法,敬请关注!Download tips: This document is carefully compiled by this editor. I hope that after you download it, it can help you solve practical problems. The document can be customized and modified after downloading, please adjust and use it according to actual needs, thank you! In addition, this shop provides you with various types of practical materials, such as educational essays, diary appreciation, sentence excerpts, ancient poems, classic articles, topic composition, work summary, word parsing, copy excerpts, other materials and so on, want to know different data formats and writing methods, please pay attention!一、引言随着工业化进程的加快和劳动生产的发展,职业病问题逐渐凸显。
附件:建设项目职业卫生“三同时”行政审批服务流程建设项目职业病危害预评价备案或审核服务流程1 适用范围本流程适用于东营经济技术开发区行政审批服务中心安监窗口建设项目职业病危害预评价备案或审核工作。
2 设定依据《中华人民共和国职业病防治法》、《建设项目职业卫生“三同时”监督管理暂行办法》、《关于进一步加强建设项目职业卫生“三同时”工作的通知》、《关于做好建设项目职业卫生“三同时”工作的指导意见》、《职业病危害项目申报办法》、《工作场所职业卫生监督管理规定》、《用人单位职业健康监护监督管理办法》、《职业卫生技术服务机构监督管理暂行办法》。
3 受理范围东营经济技术开发区内可能产生职业病危害的新建、改建、扩建和技术改造、技术引进建设项目申请职业病危害预评价备案或审核的企业。
4 申报材料4.1建设项目职业病危害预评价备案或者审核申请书;4.2建设项目职业病危害预评价报告;4.3建设单位对预评价报告的内审意见;4.4职业卫生专家对预评价报告的个人及综合审查意见(含专家复核意见);4.5职业病危害预评价机构的资质证明(影印件,预评价报告中有的不再重复提供);4.6建设单位对预评价报告的评审意见;4.7涉及放射性职业病危害因素的建设项目,建设单位需提交建设项目放射防护预评价报告;4.8法律、行政法规、规章规定的其他文件、资料。
以上资料需提报纸质及电子文档刻录的光盘各一份,光盘标签注明文档目录。
5 办理程序5.1建设单位委托职业卫生技术服务机构开展职业病危害预评价;5.2 建设单位组织对预评价报告进行内审,填写《建设单位内审意见表》,并将意见反馈给技术服务机构进行修正;5.3 建设单位聘请相关专家进行评审,填写《建设项目职业病危害预评价报告审核意见表》;5.4 技术服务机构修改完善预评价报告;5.5建设单位完成评审和报告书内容确认后,预评价报告按分级规定,在项目审批前向区安监局申请审核或备案(需提交材料见上条规定)。
6 承诺期限材料齐全,符合规定,20个工作日内出具备案通知书或审核意见书。
7 收费依据及标准- 2 -不收费8 备注8.1分级管理8.1.1省安监局对全省建设项目职业卫生“三同时”工作实施监督管理(煤矿建设项目除外),并承担省政府及其有关主管部门审批、核准、备案的建设项目、中央驻鲁和省属单位建设项目职业卫生“三同时”的备案、审核、审查和竣工验收。
8.1.2市、县(市、区)安全生产监督管理部门按照本级政府规定的职责范围,承担本级政府及其有关主管部门审批、核准、备案的建设项目职业卫生“三同时”的备案、审核、审查和竣工验收。
8.1.3跨设区市、跨县(市、区)行政区域的建设项目职业卫生“三同时”的备案、审核、审查和竣工验收由上一级安全生产监督管理部门负责。
8.1.4上一级安全生产监督管理部门根据工作需要,可以将其负责的建设项目职业卫生“三同时”监督管理工作委托下一级安全生产监督管理部门实施。
8.2分类管理按照国家安全监管总局《关于公布建设项目职业病危害风险分类管理目录(2012年版)的通知》(安监总安健〔2012〕73号)的规定,建设项目职业病危害风险程度划为三类:严重、较重和一般。
8.2.1职业病危害一般的建设项目,其职业病危害预评价报告应当向安全生产监督管理部门备案,职业病防护设施由建设单位自行组织竣工验收,并将验收情况报安全生产监督管理部门备案;8.2.2职业病危害较重的建设项目,其职业病危害预评价报告应报安全生产监督管理部门审核;职业病防护设施竣工后,由安全生产监督管理部门组织验收;8.2.3职业病危害严重的建设项目,其职业病危害预评价报告应报安全生产监督管理部门审核,职业病防护设施设计应报安全生产监督管理部门审查,职业病防护设施竣工后,由安全生产监督管理部门组织验收;8.2.4建设单位组织的职业卫生专家对建设项目职业病危害风险程度评价结论与国家安全监管总局公布的建设项目职业病危害风险程度有歧义的,建设单位应将评价报告送省安监局,由省安监局邀请国家级专家重新进行评审,按评审确定的职业病危害风险程度履行职业病危害评价备案或审核程序。
8.3变更建设项目职业病危害预评价报告经安全生产监督管理部门备案同意后,建设项目的选址、生产规模、工艺或者职业病危害因素的种类、职业病防护设施等发生重大变更的,建设单位应当对变更内容重新进行职业病危害预评价,办理相应的备案或者审核手续。
建设项目职业病防护设施设计审查服务流程- 3 -1 适用范围本流程适用于东营经济技术开发区行政审批服务中心安监窗口建设项目职业病防护设施设计审查工作(职业病危害风险等级确定为严重的)。
2 设定依据《中华人民共和国职业病防治法》、《建设项目职业卫生“三同时”监督管理暂行办法》、《关于进一步加强建设项目职业卫生“三同时”工作的通知》、《关于做好建设项目职业卫生“三同时”工作的指导意见》、《职业病危害项目申报办法》、《工作场所职业卫生监督管理规定》、《用人单位职业健康监护监督管理办法》、《职业卫生技术服务机构监督管理暂行办法》。
3 受理范围东营经济技术开发区内可能产生职业病危害的新建、改建、扩建和技术改造、技术引进建设项目申请职业病防护设施设计审查的企业。
4 申报材料4.1建设项目职业病防护设施设计审查申请书;4.2建设项目立项审批文件(复印件);4.3建设项目职业病防护设施设计专篇;4.4建设单位对职业病防护设施设计专篇的内审意见;4.5建设项目职业病防护设施设计单位的资质证明(影印件);4.6建设项目职业病危害预评价报告审核的批复文件(复印件);4.7职业卫生专家对职业病防护设施设计专篇的个人及综合评审意见(含专家复核意见);4.8建设单位对职业病防护设施设计专篇的评审意见;4.9专篇设计的职业病防护设施清单;4.10法律、行政法规、规章规定的其他文件、资料。
以上资料需提报纸质及电子文档刻录的光盘各一份,光盘标签注明文档目录。
5 办理程序5.1建设单位委托职业卫生技术服务机构编制职业病防护设施设计专篇;5.2 建设单位组织对职业病防护设施设计专篇进行内审,填写《建设单位内审意见表》,并将意见反馈给技术服务机构进行修正;5.3 建设单位聘请相关专家会同设计单位进行评审,填写《建设项目职业病危害防护设施设计审核意见表》;5.4 技术服务机构修改完善职业病危害防护设施设计专篇;5.5修改后的职业病危害防护设施设计专篇由建设单位进行确认,写明建设单位同意或不同意报告书的内容;5.6建设单位完成评审和报告书内容确认后,按分级规定,在项目初步设计阶段向区安监局申请职- 4 -业病危害防护设施设计审查(需提交材料见上条规定)。
6 承诺期限材料齐全,符合规定,20个工作日内出具审查意见书。
7 收费依据及标准不收费建设项目职业病危害控制效果评价与防护设施竣工验收服务流程1 适用范围本流程适用于东营经济技术开发区行政审批服务中心安监窗口建设项目职业病危害控制效果评价与防护设施竣工备案或验收工作。
2 设定依据《中华人民共和国职业病防治法》、《建设项目职业卫生“三同时”监督管理暂行办法》、《关于进一步加强建设项目职业卫生“三同时”工作的通知》、《关于做好建设项目职业卫生“三同时”工作的指导意见》、《职业病危害项目申报办法》、《工作场所职业卫生监督管理规定》、《用人单位职业健康监护监督管理办法》、《职业卫生技术服务机构监督管理暂行办法》。
3 受理范围东营经济技术开发区内可能产生职业病危害的新建、改建、扩建和技术改造、技术引进建设项目申请职业病危害控制效果评价与防护设施竣工备案或验收的企业。
4 申报材料4.1建设项目职业病防护设施竣工备案或验收申请书;4.2建设项目职业病危害预评价报告备案或审核批复文件(复印件);4.3建设项目职业病防护设施设计专篇或设施设计审查批复文件(复印件);4.4建设项目职业病危害控制效果评价报告;4.5建设项目职业病危害控制效果评价机构的资质证明(影印件,控制效果评价报告中有的,不再重复提供);4.6建设项目立项审批文件(复印件);4.7建设项目职业病防护设施施工单位和监理单位资质证明(影印件、职业病风险等级一般的项目不需要提供);4.8建设单位对职业病危害控制效果评价报告的内审意见;4.9建设单位组织的职业卫生专家对职业病危害控制效果评价报告的个人及综合评审意见(含专家复核意见);4.10职业病防护设施清单;4.11建设单位对职业病危害控制效果评价报告及职业卫生专家提出问题的整改落实情况及评审意- 5 -见;4.12建设单位自行组织对建设项目职业病防护设施竣工验收的意见;(职业病风险等级一般的项目提供);4.13法律、行政法规、规章规定的其他文件、资料。
以上资料需提报纸质及电子文档刻录的光盘各一份,光盘标签注明文档目录。
5 办理程序5.1建设单位委托职业卫生技术服务机构编制职业病危害控制效果评价报告;5.2 建设单位组织对职业病危害控制效果评价报告进行内审,填写《建设单位内审意见表》,并将意见反馈给技术服务机构进行修正;5.3 建设单位聘请相关专家进行评审,填写《建设项目职业病危害控制效果评价报告审核意见表》;5.4 技术服务机构修改完善职业病危害控制效果评价报告;5.5修改后的职业病危害控制效果评价报告由建设单位进行确认,填写《建设单位内审意见表》,表中需明确写明建设单位同意或不同意报告书的内容;5.6建设单位完成评审和报告书内容确认后,按分级规定,向区安监局申请职业病危害控制效果评价与防护设施竣工验收审查(需提交材料见上条规定);5.7区安监局对建设项目职业病防护设施进行现场验收(职业病风险等级较重、严重的项目)。
6 承诺期限材料齐全,符合规定,20个工作日内出具备案或审查意见书。
7 收费依据及标准不收费8 备注分期建设、分期投入生产或者使用的建设项目,其配套的职业病防护设施应当分期与建设项目同步进行验收。
- 6 -。