工程项目基建流程图
- 格式:doc
- 大小:316.50 KB
- 文档页数:16
基建工程管理程序第一局部上级主管部门审批基建程序程序流程:一、工程建议书1、总投资3000万元以上的工程,建设单位应根据批准的总体规划及当地政府地规划意见书编写工程建议书工程建议书的申报由综合方案局组织评审后,按有关规定报批。
二、工程可行性研究报告1、总投资3000万元以上的工程,建设单位根据批准的工程建议书编制工程可行性研究报告。
〔报送院方案批复的同时报送计委批复〕总投资3000万元以下的工程,建设单位根据批准的总体规划以及当地政府的规划意见书编制工程可行性研究报告。
2、需经国家有关部门审批的建设工程,可行性研究报告由院综合方案局组织评审后,按有关规定报批;其它建设工程由院综合方案局办理审批手续。
三、工程初步设计及概算建设单位根据批准的工程可行性研究报告,按照国家有关规定,通过招投标方式,选择具有相应资质的设计单位进展工程的初步设计及概算编制。
工程初步设计及概算由根本建设局组织评审后,按有关规定报批。
工程初步设计概算超出批准的可行性研究报告总投资的10%,必须调整可行性研究报告。
(一)、申报初步设计及概算工程所需材料:1、申报初步设计及概算的请示文件;A、初步设计及概算的请示文件应包括的内容:B、工程可行性研究报告的批复文件名称及文号;C、工程的总建设规模、总投资;D、工程各子工程的规模及投资;2、建设工程可行性研究报告的批复文件〔原件或复印件〕;3、初步设计概算书;4、初步设计说明书;5、初步设计图纸;A、区域位置图B、总平面图、各层平面、立面、结构图C、竖向布置图D、内部作业E、对大型工程及特殊情况,必要时可作模型或鸟瞰图F、要求是蓝图,有正规设计单位盖章,并叠A4成规格6、初步设计概算总表;8、设备概算明细表;9、工器家具明细表〔没有工器家具不需填写〕;〔二〕、申报调整初步设计及概算工程所需文件:1、申报调整初步设计及概算的请示文件;2、调整建设工程可行性研究报告的批复文件〔原件或复印件〕;3、调整初步设计概算书;4、调整初步设计说明书;5、调整初步设计图纸;6、调整初步设计概算总表;7、调整初步实际概算分析表;8、调整设备概算明细表;9、调整工器家具明细表〔没有工器家具不需填写〕;〔三〕、报送要求:1、报送材料一式两份〔需附带拷入各种表格的软盘一张〕。
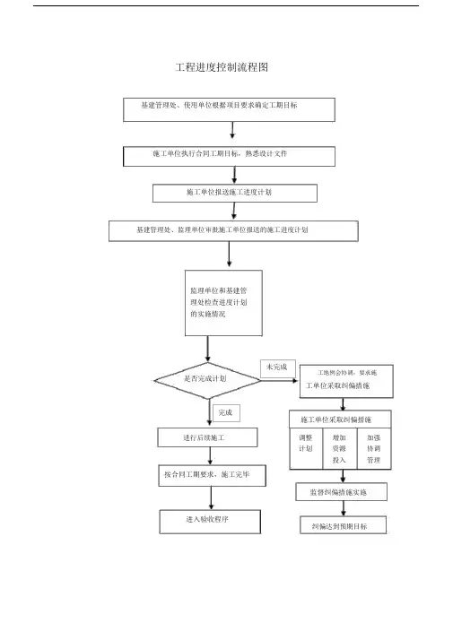
工程进度控制流程图
基建管理处、使用单位根据项目要求确定工期目标
施工单位执行合同工期目标,熟悉设计文件
施工单位报送施工进度计划
基建管理处、监理单位审批施工单位报送的施工进度计划
监理单位和基建管
理处检查进度计划
的实施情况
未完成
工地例会协调,要求施是否完成计划
工单位采取纠偏措施
完成
施工单位采取纠偏措施
进行后续施工调整
计划增加
资源
投入
加强
协调
管理
按合同工期要求,施工完毕
监督纠偏措施实施进入验收程序
纠偏达到预期目标。
建筑工程施工程序框图一、建筑工程施工程序框图的制定1.确定施工环节:首先需要确定建筑工程施工的各个环节,包括施工前准备、地基基础工程、结构工程、装饰工程等内容。
2.整理施工流程:针对每个施工环节,详细整理出工程的具体施工流程,包括施工前的准备工作、施工中的各项工艺流程、施工后的验收和收尾工作等。
3.确定责任主体:明确施工流程中的责任主体,包括施工单位、监理单位、业主代表等,确保每个环节都有明确的责任人员负责。
4.制定流程图:根据施工流程,绘制施工过程的流程图,按照先后顺序进行排列,清晰明了,方便施工人员参考和执行。
5.衔接各个环节:在绘制流程图时,需要确保各个环节之间的衔接和依赖关系,让施工工作有条不紊地进行。
二、建筑工程施工程序框图的内容要点1.施工前准备阶段:(1)搭建施工现场:包括搭建施工场地围栏、设立安全警示标志等。
(2)采购施工材料:根据施工图纸和设计要求,采购施工所需的各类材料和施工设备。
(3)组织施工人员:确定施工人员的岗位和任务,进行专业技术培训和安全教育。
2.地基基础工程:(1)进行场地勘察:对建筑工程的地基进行勘察和试验,确定地基承载力和土层情况。
(2)进行基础施工:根据设计要求施工地基基础,包括打桩、挖土、浇筑混凝土等工作。
3.结构工程:(1)搭建施工模板:按照设计图纸要求,搭建混凝土结构的施工模板。
(2)进行结构施工:在搭建好的模板上浇筑混凝土,进行梁柱、板梁等结构构件的施工。
4.装饰工程:(1)进行装修设计:根据业主要求和设计图纸,进行装饰设计和选材。
(2)进行装饰施工:包括墙面装饰、地面铺装、家具安装等工作。
5.收尾阶段:(1)进行建筑验收:根据设计要求和规范进行建筑验收,确保工程质量符合要求。
(2)撤除施工设备:清理施工现场,撤除各类施工设备和材料,保持建筑环境整洁。
以上就是建筑工程施工程序框图的制定和内容要点。
通过合理制定施工程序框图,可以确保施工工作的顺利进行,保证工程的质量和进度,提高工程的施工效率。
医院基建工程管理工作流程图一、规划设计阶段1. 项目立项(1)确定医院基建工程需求,明确项目建设目标和范围。
(2)编制项目建议书,提交相关部门进行审批。
(3)经批准后,成立项目组,开始规划设计工作。
2. 可行性研究(1)进行市场调研和需求分析,明确项目可行性。
(2)委托专业公司进行经济、技术、环境影响等方面的评估,编制可行性研究报告。
3. 规划设计(1)根据需求和可行性研究报告,确定项目规划和设计方案。
(2)编制建设项目规划书、施工图纸等相关文件,进行审查和修改。
4. 立项审批(1)将项目规划和设计文件提交相关部门进行审批。
(2)通过审批后,进行具体的招投标工作。
二、招投标阶段1. 招标公告(1)发布招标公告,邀请符合资格的施工单位参与竞标。
(2)确定招标范围、要求和标准,明确竞标流程和要求。
2. 投标及评审(1)施工单位根据招标文件准备投标文件,并提交给医院项目组。
(2)项目组进行评审,选择最具综合竞争力的施工单位。
3. 签订合同(1)医院与中标单位签订施工合同,明确工程范围、工程量、工期、质量要求、工程款支付方式等内容。
(2)双方共同签署合同,正式开始施工准备阶段。
三、施工阶段1. 施工进场(1)施工单位组织人员和设备进场,搭建施工现场。
(2)医院项目组对施工现场进行验收,确保安全和环保要求。
2. 施工管理(1)施工单位按照合同要求制定施工计划和进度表,逐步展开施工工作。
(2)医院项目组进行施工进度和质量的监督和检查,确保施工质量和进度达标。
3. 安全和质量保障(1)施工单位需严格遵守相关安全和质量标准,确保施工过程中的安全和质量。
(2)医院项目组定期进行安全和质量检查,及时处理施工中出现的问题。
四、验收交付阶段1. 完工验收(1)施工完成后,需经过医院项目组的验收,包括工程质量、环保要求、安全要求等方面的检查。
(2)项目组对施工质量和工程验收情况进行评定,确定是否符合交付要求。
2. 竣工结算(1)医院项目组对施工单位提供的工程款结算报告进行审核。
基建文件可按下列流程形成:立项决策文件包括:项目建议书(代可行性研究报告)及其批复、有关立项的会议纪要及相关批示、项目评估研究资料及专家建议等。
根据项目大小、投资主体的不同,项目建议书的批复文件分别由国家、行业或北京市相关政府管理部门审批。
建设用地文件包括:征占用地的批准文件、国有土地使用证、国有土地使用权出让交易文件、规划意见书、建设用地规划许可证等。
建设用地文件分别由国有土地管理部门和规划部门审批形成。
勘查设计文件包括:工程地质勘察报告、土壤氡浓度检测报告、建筑用地钉桩通知单、验线合格文件、设计审查意见、设计图纸及设计计算书、施工图设计文件审查通知书等。
建筑用地钉桩通知单、验线合格文件、审定设计方案通知书由规划部门审批形成。
招投标及合同文件包括:工程建设招标文件、投标文件、中标通知书及相关合同文件。
开工文件包括:建设工程规划许可证、建设工程施工许可证等。
工程开工文件分别由规划部门和建设行政管理部门审批形成。
商务文件包括:工程投资估算、工程设计概算、施工图预算、施工预算、工程结算等。
其他文件包括:工程未开工前的原貌及竣工新貌照片、工程开工、施工、竣工的音像资料、工程竣工测量资料和建设工程概况表等。
(一)立项决策文件包括:项目建议书(代可行性研究报告)及其批复、有关立项的会议纪要及相关批示、项目评估研究资料及专家建议等。
根据项目大小、投资主体的不同,项目建议书的批复文件分别由国家、行业或北京市相关政府管理部门审批。
(二)建设用地文件包括:征占用地的批准文件、国有土地使用证、国有土地使用权出让交易文件、规划意见书、建设用地规划许可证等。
建设用地文件分别由国有土地管理部门和规划部门审批形成。
(三)勘查设计文件包括:工程地质勘察报告、土壤氡浓度检测报告、建筑用地钉桩通知单、验线合格文件、设计审查意见、设计图纸及设计计算书、施工图设计文件审查通知书等。
建筑用地钉桩通知单、验线合格文件、审定设计方案通知书由规划部门审批形成。
工程项目建设基本程序流程图(一)工程项目建设基本程序流程图(一)编制项目建议书责任单位:建设单位办理项目选址规划意见申报单位:建设单位承办单位:规划建设局编制可行性研究报告或项目建设书,申请报告责任单位:建设单位项申请文件、可研报告文本责任单位:建设单位或有资质的公司目立项决环评报告承办单位:环保局策承办单位:节能评估文件 (注:项目建成投产后消费电,,,万度以下,由单阶经济局段位填写《节能登记表》;年消费,,,,,,,万度,须交《节能评估报告表》;,,,万度以上,交《节能评估报告书》,报告表和报告书须请有资质的单位编写。
)用地预审意见承办单位:规划建设局办理建设用地规划许可证承办单位:规划建设局方案设计招标承办单位:招标办(投资规模超过,,,,万或单项设计服务费用,,万以上)方案设计责任单位:设计院方案设计文本审查责任单位:审查机构项目设计方案会审承办单位:规划建设局规划股(公务大楼409) 方案办理建设工程规划许可证承办单位:规划建设局设计国土、经济、人防、气象、执法局等相关部门的签核意见阶项段外来设勘察单位承接业务备案目地质勘察责任单位:勘察公司申办单位:勘察单位设计地质勘察成果审查责任单位:审查机构勘外来设计单位承接业务备案察施工图施工图设计责任单位:设计院阶申办单位:设计单位设计阶段段施工图设计文件审查责任单位:审查机构招选工程量预算中介承办单位:招标办项目招编制施工图工程量预算责任单位:预算中介投标阶段工程量预算审核责任单位:基建审核中心工程项目建设基本程序流程图(二)施工图审查备案承办单位:规划建设局勘察成果审查备案建设项目报建、备案承办单位:规划建设局项目图纸消防审查承办单位:消防大队招投监理项目备案登记监理招标承办单位:招标办标阶申办单位:监理单位段办理工程安全监督施工招标承办单位:招标办建设工程项目招标申办单位:施工单位设备招标承办单位:采购办办理工程质量监督承办单位:规划建设局办理防雷审核意见承办单位:气象局建设支付保函、履约保函申办单位:建设、施工单位承办单位:市工程交易中心实施办理施工许可证相关单位:规划建设局阶段组织施工基础验槽基础验收主体验收装修扫尾申报竣工验收的准备工作初步验收相关单位:建设单位、设计、勘察、监理等竣工单项验收相关单位:消防、环保、规划、避雷竣工验收程序验收竣工验收相关单位:建设单位、设计、勘察、监理、质监站等阶段项目验收备案组织竣工验收材料归档工程中介决算基建审核决算财务决算决算阶段。
一渡飞瀑半山下,一行白鹤越峰翔。
一竿怅惘一蓑远,一船离愁一帆行。
一梦十年一回首,一丝垂纶一苇轻。
一枕乡思黄花瘦,一雁独行一弓惊。
基建、房地产项目审批流程图(本流程图共需12个阶段,涉及48个部门,255枚公章次)一、项目立项前阶段(涉及3个单位,3枚公章)A、项目单位:请示文件 1B、行政主管部门(或县区):初审意见 1C、设计单位:项目建议书文本 1二、项目建议书批复阶段(涉及7个部门,7枚章次)A、行业主管部门:初审意见 1B、房改办(经济适用住房项目):初审意见 1C、环保局:项目立项前环境影响登记表(省、市、县区) 3D、银行:资金证明或贷款承诺 1E、计委:项目建议书批复文件 1三、可研阶段(涉及16个部门,28枚章次)A、项目单位:请示文件、法人委托书 2B、设计单位:可研文本、总平面图 2C、规划局:选址意向书(项目单位请示文件) 2D、规划局:总平面图审查、规划设计条件通知书 2E、土地局:土地使用预审意见 1F、消防支队:平面图初审意见 1G、地震局:场地工程安全评价 1H、供水公司:供水能力证明(需项目单位请示文件) 2I、电业局:供电能力证明(需项目单位请示文件) 2J、热力公司:供热意向(需项目单位请示文件) 2K、热力煤气公司:供应煤气意向(需项目单位请示文件) 2L、广电局:有线电视安装批复(需项目单位请示文件) 2M、电信局:电信证明(需项目单位请示文件) 2N、环保局:环境影响评价(省、市、县区) 3O、咨询院:可研评估意见 1P、计委:可研评估意见 1四、预备计划阶段(涉及3个部门,3枚章次)A、项目单位:请示文件 1B、行政主管部门(或县区):初审意见 1C、计委:预备计划批复 1五、初设阶段(涉及6个部门,25枚章次)A、项目单位:请示文件 1一渡飞瀑半山下,一行白鹤越峰翔。
一竿怅惘一蓑远,一船离愁一帆行。
一梦十年一回首,一丝垂纶一苇轻。
一枕乡思黄花瘦,一雁独行一弓惊。
建设手续办理指南
工程手续办理流程
图
一、建设项目立项
二、建设项目环境影响评价报告书(表)审批
三、建设项目规划设计条件
四、建设项目土地预审
五、土地出让
六、勘察、设计招标
七、勘察、设计合同备案
八、设计方案报审
九、建设用地规划许可证
十、国有土地使用证
十一、人防审查
十二、建设工程规划许可证
十四、建设工程消防设计审核
十五、施工图审查备案
十七、建设施工合同备案
十八、建设工程监理合同备案
十九、建设规费缴纳
二十、建设工程安全报监
二十二、建设工程施工许可证
二十四、建设工程人防验收
二十六、建设项目环保验收
二十八、建设工程竣工验收
二十九、工程项目竣工档案合格证
三十、建设工程竣工结算备案
三十一、建设工程竣工验收备案
三十二、自建房屋产权登记。
工程项目基建流程工作阶段主要工作内容主要工作部门要点程序说明完成部门受理部门联系人联系方式需准备资料挂牌土地挂牌竞争对手分析、确定土地价款上限市场部市国土局营业执照、资质证书、组织机构代码证、授权委托书、法人身份证明土地合同确定用地图、用地条件交纳土地款、契税、交易费等市场部市国土局土地证准备材料,办证提交土地出让合同和土地出让金、交易费等交费证明市场部市国土局宗地测绘图,测绘报告、指界书设计前期工作设计院初步选择了解各设计院的取费情况。
市场部设计院项目方案委托制订项目设计委托书及规划指标的初定设计院项目方案结合成本测算的讨论及确定根据初步测算的成本结合市场价,确保利润公司各部门进行内部评审提供各项费用指标项目方案技术审查报批审核确定项目用途、层数、高度及各项指标市规划局提供方案方案、规划设计院选择与合同签订确定设计院及取费设计院总平面图送规划报批总平图(含各项经济指标)市规划局计划科总平图及各项指标彩色立面效果图送规划报批市规划局计划科建筑立面效果图建筑红线图确定该项目各边界的范围市规划局计划科提供报建图纸地质勘察报告组织现场勘察,并提供地质勘察报告工程部地勘单位提供规划总平面图. 专业学习资料.施工前期阶段项目立项办理项目备案证市场部区发改委营业执照副本复印件、申请报告、备案表、企业自有资金及银行贷款承诺证明(各2份)办理环境影响评价市环保局工程科提交申请、项目备案证、红线、环境影响报告表办理水土保持方案市水务局提交申请、项目备案证、红线、水土保持方案报告表办理供水意见函供水公司提交申请、项目备案证、红线办理供电意见函供电公司提交申请、项目备案证、红线办理供热意见函供热公司提交申请、项目备案证、红线办理燃气意见函燃气公司提交申请、项目备案证、红线工程前期手续办理建设用地规划许可证、建设工程规划许可证市场部市规划局计划科总平面图、红线图、建筑部分(平、立、剖)、效果图、消防备案受理单、定位放线核准单、施工图审查合格书项目准备阶段办理土地预审市场部市土地局办证大厅建设项目用地预审申请表、申请报告、红线图、立项批复(均需电子版)办理用地批准书市场部市土地局红线、平面原件各4份,建设用地规划许可证、建设工程规划许可证立项批复复印件各4分、预审复函4份、申请表四份(以上均需提供扫描件)测绘单位现场放线、定桩工程部经文测绘总平面图奎屯勘测设计院各系统单位施工图审查市场部各系统单位各系统专业施工图纸施工图审查市场部滕图公司设计、勘察合同、审图委托书、岩土勘察报. 专业学习资料.告、施工图、设计计算书(土建、水、暖、电、结构、节能)、施工图文件委托书3份、红线图、平面图、立项批复人防手续市场部人防办申请报告、人防审批表1份、红线图、平面图、立项批复防雷手续市场部区气象局建筑、电气部分,审核登记表消防备案手续市场部消防局施工图一套、光盘、消防专篇、总平面图、红线图、立项批复、工程规划许可证、用地规划许可证复印件编制招标文件招标办招标机构建设工程规划许可证、建设用地规划许可证、建设用地批准书、施工图审查合格书、立项文件审核招标文件招标办定额站施工单位编制投标文件招标办施工单位开标及分发中标通知书招标办招标机构组织图纸会审招标办招标机构签订施工合同及合同备案市场部施工单位、定额站签订监理合同及合同备案市场部监理单位、定额站监理合同、合同备案表、主体资格确认书、监理名单及相关资格证书、法人代表资格证书、委托书办理施工许可证市场部市建设局建设工程规划许可证、建设用地规划许可证、建设用地批准书、施工图审查合格书、立项文件、中标通知书工程招标及监理招标发布招标信息明确工程概况、工程概算、施工企业资格要求等工程部招标部造价部:确定工程概算市场部:施工(监理)合同备案监理合同、合同备案表、主体资格确认书、监理名单及相关资格证书、法人代表资格证书、委托书施工、监理单位资格预审评估其资质、业绩、财务状况、技术力量,确定入围单位. 专业学习资料.工程前期阶段招标文件备案及发放向入围单位发放招标文件定额站:备案现场踏勘及答疑、澄清组织答疑或澄清,配合入围单位现场踏勘招标评委选定组织选定行业专家或公司领导作为招标评委评标、开标根据公司要求,组织继续评标、开标确定招标单位中标公示对中标单位在招标办指定媒体进行公告、公示发放中标通知书向中标单位发放中标通知书招、投标情况书面报告备案到市建设局备案审核、签订施工(监理)合同根据国家规范,起草和签订建筑施工合同施工(监理)合同备案工程备料款支付工程备料款支付审核按照施工合同约定付款比例支付工程部公司各部门进行内部流程审批中标通知单、施工合同工程进度款支付获得总经理审批后,按照财务流程及施工合同支付工程进度款财务部财务部中标通知单、施工合同开工前准备工作及“三通一平”地质勘察报告组织现场勘察,并提供地质勘察报告工程部地勘单位提供规划总平面图审核临时用水方案根据容量编制计划,协调临时用水接入点工程部供水公司营销所提交申请、项目备案证、红线及建筑施工图水施、电施办理临时用水手续办理临时用水报告供水公司运行科审核临时用电方案根据容量编制计划,协调临时用电接入点供电公司线路工区办理临时用电手续办理临时用电报告供电公司生产技术部现场安全措施及平面布置组织做好现场围墙、道路、排水办公施工单位现场临时设施平面布置图. 专业学习资料.场所及现场安全文明措施工地办公场所设置组织搭建临时办公室,购置办公设施施工单位现场临时设施平面布置图施工组织设计审核确定质量、进度、安全及文明施工等预控目标、技术措施施工单位施工组织设计施工组织设计送审市建设局施工组织设计报审表、施工组织设计分包单位审查组织对分包单位的资质及施工方案继续审查监理、施工单位环卫、城管、园林协调办理项目占道、临时及永久路口、植物移栽、排污申报手续总平面图、红线图施工阶段图纸会审内部图纸会审组织建设单位内部相关人员进行图纸会审工程部新疆天麒咨询公司建筑施工图外部图纸会审组织设计、监理、施工单位进行施工图图纸会审,签订会审记录设计单位建筑施工图开工报告审批确定正式开工日期工程部施工单位开工报告施工放线放线测绘单位现场放线、定桩取得定位放线核准单、测量放线报告工程部奎屯勘测设计院总平面图,红线图护桩施工单位将桩位进行固定交桩由监理单位将桩位点交施工单位进行施工放线施工放线平面及轴线标桩控制、在现场标明墙、柱轴线,设计单位确定高程工程部设计院总平面图、红线图第一次工地例会介绍监理及施工、设计、地勘人员组织机构等工程部施工单位要求监理、设计、施工单位管理人员必须全部到场规划验线组织规划局验线组织规划部门、监理单位及设计单位验线工程部规划局总平面图、红线图安检安检手续组织监理、施工单位进行现场安全文明施工检查及安全措施检查工程部安监站建设工程安全验收监督申报表各3份. 专业学习资料.质检质检手续组织地勘、设计、监理、质检进行验收工程部质监站建设工程质量验收监督申报表各3份边坡支护边坡支护方案审核根据现场情况核实是否需要编制工程部边坡支护方案边坡支护方案论证选定有资质的勘察公司组织专家进行论证地勘公司边坡支护方案边坡施工检查边坡支护及排水施工施工质量施工单位边坡支护方案、工程隐蔽资料边坡检测委托边坡检测单位检测检测单位边坡验收组织地勘、设计、监理、质检进行验收,取得质检意见书质监站边坡支护方案、工程隐蔽资料基础施工基础施工检查落实排水、检查施工、回填土的质量工程部施工单位基础验收组织施工单位自评,并对现场观感质量测量和检查施工单位安检、质检组织地勘、设计、监理、质检单位对基础进行验收,签订地基验槽记录工程部质检站建设工程安全、质检验收监督申报表各3份地勘单位审核签证审核设计变更、基础签证核实各减项造价造价部主体施工工程形象进度计划编制督促施工方编制形象进度计划,组织监理会审并及时修正工程部监理及施工单位材料检查验收实时检查施工单位填报及提供的材料进场报验单、三证是否齐全监理及施工单位现场跟踪管理现场跟踪质量、进度、安全文明施工、抓落实监理及施工单位. 专业学习资料.施工阶段分项及隐蔽工程验收监理及施工单位按图施工中的问题反馈及时解决施工中发现的问题并及时反馈给公司及设计人员设计单位质量问题及事故处理制定质量问题、安全事故处理方案并实施施工单位工程变更与签证设计变更提出提出设计变更原因,下达设计变更单工程部工程部现场签证办理根据工程技术、经济、工期、工程隐蔽办理现场签证工程部设计单位工程进度款支付工程进度款支付申请审核施工方工程资料是否同步工程部监理单位总监签字认可的工程进度款支付申请单、工程量确认单。
工程进度款支付审核按照实际完成工程进度及合同约定审核付款比例工程部公司各部门进行内部流程审批总监签字认可的工程进度款支付申请单、工程量确认单、预算书、施工合同工程进度款支付获得总经理审批后,按照财务流程及施工合同支付工程进度款财务部财务部施工合同主体验收工程主体资料审查对施工单位提交的主体资料审查,提出修改意见工程部施工单位组织主体工程验收组织安检、质检、设计、监理单位对主体工程进行检查验收,提出限期整改意见工程部质检、安检建设工程安全、质检验收监督申报表各3份主体工程验收会签组织质检、设计、勘察、监理主体验收表会签工程部质检站主体工程验收备案取得质检意见书工程部质检站外墙装修材料政府规范要求咨询咨询政府部门、环境、使用效果、指定效果标准工程部及销售部销售部施工样板制定组织制作施工样板销售部. 专业学习资料.施工阶段施工施工工艺确定确定材料选型、施工方案及成本、组织实施并取得质检意见书销售部甲供、甲分包材料供应招标范围及技术要求确定确定甲供材料清单、审核招、投标文件工程部招标部甲供材料清单甲供、甲分包材料招标确定定标原则,按照招标相关规定、部分及流程执行工程部招标部供货合同签订签订甲供材料供货合同工程部公司各部门进行内部流程审批供货合同关键节点进度的协调协调总包与分包单位关键节点的进度,组织材料供应进场工程部施工单位配套供水手续公司营销所及调度室办理正式供水手续,缴纳用能费用,工程部公司营销所、1、外配套图纸及室内系统图、平面图各1份2、用水申请报告5份3、用能费用缴纳收据供水营销所施工过程监督,生产运行科竣工验收供电调度室、监察室外配套图纸及室内系统图、平面图各1份、供电手续供电公司线路工区施工过程监督,生产技术科竣工验收工程部供电公司线路工区供电申请报告2份、外配套图纸及室内系统图、平面图各1份箱变手续确定正式电源及备用电源接入点供电公司线路工区供电申请报告2份、外配套图纸及室内系统图、平面图各1份签署新增电力设施供电方案审核意见供电公司客户服务中心办理智能传输表用SIM卡,传输数据电费管理所(移动公司新办公楼)每张卡每月10元(高压一块,低压2块)施工过程监督,生产运行科竣工验收供电公司生产科供热手续资料检查工程部供热营销所申请报告、红线图、暖施图纸一套、. 专业学习资料.阶段工程3份供热管网外配套图、电子版供热管网外配套图、公用基础设施配套费用缴纳证明、缴纳资料押金、房屋测绘报告原件、住宅签订收费协议、供热用户详细资料生产运行科施工过程监督,竣工验收工程部供热生产运行科供热入网审批表、管线连头作业单、1份供热管网外配套图、电子版供热管网外配套图缴纳供热费用(供热第一年由建设单位代缴),确定供热时间,提交供热费用资金报告,总经理批复后交财务办理工程部财务部供热费用资金申请报告签订供热用力合同工程部公司各部门进行内部流程审批供热用力合同供热费用支付财务部燃气手续施工图审图工程部信息档案管理站施工图、燃气专项施工方案、管理人员名单、施工单位资质、施工许可证生产运行科施工过程监督,竣工验收工程部生产运行科施工图电信手续工程部电信局电信入网申请报告、施工图有线电视手续工程部有线电视台有线电视入网报告、施工图工程竣工验收与备案规划专项组织验收工程部规划局1、加盖公章的申请报告(规划部门提供格式文本)。