特种设备检验准备工作及过程中的注意事项.pptx
- 格式:pptx
- 大小:991.48 KB
- 文档页数:35
特种设备检验须知一、锅炉使用单位在检验前应做好以下准备工作(一)锅炉内部检验前,使用单位准备工作:1、资料准备进行内部检验前,使用单位应当准备以下资料:(1)锅炉使用登记证;(2)锅炉出厂设计文件、产品质量合格证明、安装及使用维护保养说明以及制造监督检验证书或者进口特种设备安全性能监督检验证书;(3)锅炉安装竣工资料以及安装监督检验证书;(4)锅炉改造和重大修理技术资料以及监督检验证书;(5)锅炉历次检验资料,包括检验报告中提出的缺陷、问题和处理整改措施的落实情况以及安全附件及仪表校验、检定资料等;(6)锅炉历次检查、修理资料;(7)有机热载体检验报告;(8)锅炉日常使用记录和锅炉及其系统日常节能检查记录、运行故障和事故记录,对于高压及以上电站锅炉,还应当包括金属技术监督、热工技术监督、水汽质量监督等资料; (9)燃油(气)燃烧器型式试验证书;(10)锅炉产品定型能效测试报告和定期能效测试报告;(11)检验人员认为需要查阅的其他技术资料。
2、检验现场准备工作在进行内部检验前,使用单位应当做好以下准备工作:(1)对锅炉的风、烟、水、汽、电和燃料系统进行可靠隔断,并且挂标识牌;对垃圾焚烧炉或者其他存在有毒有害物质的锅炉,将有毒有害物质清理干净;(2)配备必要的安全照明和工作电源以满足检验工作需要;(3)停炉后排出锅炉内的水,打开锅炉上的人孔、手孔、灰门等检查门孔盖,对锅炉内部进行通风换气,充分冷却;(4)搭设检验需要的脚手架、检查平台、护栏等,吊篮和悬吊平台应当有安全锁;(5)拆除受检部位的保温材料和妨碍检验的部件;(6)清理受检部件,必要时进行打磨;(7)电站锅炉使用单位提供必要的检验设备存放地、现场办公场所等。
3、现场配合以及安全监护(1)内部检验开始前,对检验人员进行安全交底;(2)内部检验过程中,做好现场配合以及安全监护工作;检验人员进入炉膛、烟道、锅筒(壳)、水冷壁进口环形集箱、循环流化床锅炉的热旋风分离器等受限空间进行检验时,进行可靠通风并且设专人监护.(二)锅炉外部检验前,使用单位准备工作;1、资料准备进行外部检验前,使用单位应当准备以下资料:(1)锅炉使用管理制度;(2)锅炉使用登记证;(3)锅炉出厂设计文件、产品质量合格证明、安装及使用维护保养说明以及制造监督检验证书或者进口特种设备安全性能监督检验证书;(4)锅炉安装竣工资料以及安装监督检验证书;(5)锅炉改造和重大修理技术资料以及监督检验证书;(6)锅炉历次检验资料,包括检验报告中提出的缺陷、问题和处理整改措施的落实情况以及安全附件及仪表校验、检定资料等;(7)锅炉历次检查、修理资料;(8)有机热载体检验报告;(9)锅炉日常使用记录和锅炉及其系统日常节能检查记录、运行故障和事故记录,对于高压及以上电站锅炉,还应当包括金属技术监督、热工技术监督、水汽质量监督等资料;(10)燃油(气)燃烧器型式试验证书;(11)锅炉产品定型能效测试报告和定期能效测试报告; (12)检验人员认为需要查阅的其他技术资料.(13)锅炉作业人员(包括锅炉司炉、锅炉水质处理人员)和锅炉相关管理人员的资格证件。
特种设备使用管理规则设备过程中的特殊操作要求与注意事项特种设备在各种工业领域中被广泛应用,其操作要求与注意事项的遵守对于保障工作场所的安全至关重要。
为此,特种设备使用管理规则中制定了特殊操作要求与注意事项,以确保设备的正常运行和工作人员的安全。
本文将就特种设备使用过程中的特殊操作要求与注意事项进行讨论。
一、设备操作前的准备工作在启动特种设备之前,操作人员需要进行一系列的准备工作。
首先,必须对设备的操作手册进行详细的了解和熟悉,掌握设备的结构、功能和工作原理。
其次,操作人员需要检查设备的各项参数和指标,确保设备处于正常工作状态,并且符合使用要求。
同时,还需要对设备所在的工作环境进行检查,确保工作场所的安全和卫生。
二、特殊操作要求1. 高温环境下的操作在高温环境中操作特种设备时,操作人员需要做好防护措施。
首先,应穿戴合适的防护服装和防护用品,如隔热手套、隔热面罩等,以防直接接触高温表面。
其次,应注意设备周围的空气流通情况,确保操作人员不会因为缺氧而影响安全。
此外,还应定期检查设备的散热系统,以保证设备在高温环境下的正常工作。
2. 密闭空间中的操作在进行特种设备操作时,如果设备位于密闭空间中,操作人员需要特别注意空气质量和安全问题。
首先,应确保空气中的氧气含量充足,防止因氧气不足而引发安全事故。
其次,操作人员在进入密闭空间之前,应使用适当的通风设备,将有害气体排出。
再次,需要事先做好设备的维护和检修工作,以保证设备在密闭空间中的运行安全。
3. 急救与紧急情况处理特种设备使用过程中,如果发生紧急情况,操作人员应迅速做出反应,并进行相应的急救措施。
首先,操作人员应熟悉各种急救措施和紧急情况处理流程,应具备急救知识和技能,以便在紧急情况下提供合理有效的帮助。
其次,需要掌握与特种设备相关的急救设备和装置的使用方法,确保在紧急情况下能够迅速处理事故,减少损失。
三、注意事项1. 设备的定期检修与维护特种设备在长期使用过程中,由于工作条件的限制和磨损的影响,可能会出现各种故障和问题。
特种设备安全检查工作注意事项特种设备安全检查工作是保障特种设备运行安全的重要环节。
为了确保特种设备的正常运行和工作场所的安全,特种设备安全检查工作必须重视并严格执行。
本文将从五个方面探讨特种设备安全检查工作的注意事项,包括检查前的准备工作、检查的内容、注意的重点、常见问题及处理方法,以及检查后的总结与改进。
通过深入研究和归纳,希望能对特种设备安全检查工作提供指导与参考。
一、检查前的准备工作特种设备安全检查前的准备工作是确保检查工作顺利进行的重要环节。
以下是一些需要注意的准备事项:1.明确检查的目的和范围在进行特种设备安全检查之前,必须明确检查的目的和范围。
目的是为了了解设备的运行安全状况,范围是指需要检查的特种设备种类和数量。
只有明确了目的和范围,才能有针对性地进行检查工作。
2.收集相关资料和文件在检查前,要收集相关的资料和文件,包括特种设备的使用登记证、维护保养记录、事故处理记录等。
通过分析这些资料,可以更好地了解特种设备的运行情况,有助于发现问题和隐患。
3.组织检查人员特种设备安全检查需要有一支专业的检查人员团队。
检查人员应具备相关的专业知识和丰富的经验,能够熟练掌握特种设备的安全检查要点和方法,并能够准确判断问题的严重程度和影响范围。
4.制定检查计划和流程在进行特种设备安全检查之前,应制定详细的检查计划和流程。
检查计划包括检查时间、地点和检查内容等,流程包括检查的步骤和方法。
只有有条不紊地进行检查工作,才能有效地发现问题和排除隐患。
二、检查的内容特种设备安全检查的内容是对特种设备运行情况和工作场所安全条件的全面评估和检查。
以下是一些需要注意的检查内容:1.特种设备的外观和环境首先要检查特种设备的外观和周围环境是否正常。
包括设备表面是否有明显的损坏、腐蚀或裂纹,设备周围有无杂物和易燃易爆物品等。
这些问题可能会直接影响特种设备的安全性能和使用寿命。
2.特种设备的操作和维护其次要检查特种设备的操作和维护情况。
特种设备定检安全操作手册特种设备在工业生产和日常生活中发挥着重要作用,但因其具有一定的危险性,定期检验工作至关重要。
为确保定检工作的安全、高效进行,特制定本操作手册。
一、特种设备定检的基本概念特种设备是指涉及生命安全、危险性较大的锅炉、压力容器(含气瓶)、压力管道、电梯、起重机械、客运索道、大型游乐设施和场(厂)内专用机动车辆。
定期检验是指按照相关法规和安全技术规范的要求,对特种设备进行的周期性检查和测试,以确定其是否能够继续安全运行。
二、定检前的准备工作(一)人员资质与培训定检人员应具备相应的特种设备检验资质,并经过专业培训,熟悉检验流程和安全操作规程。
(二)检验工具与设备确保检验所需的工具和设备齐全、完好,并经过校准和检定。
例如,量具、检测仪器等。
(三)资料收集提前收集被检设备的相关资料,包括设计文件、制造资料、安装资料、使用登记证、以往的检验报告等。
(四)现场勘察在定检前,对现场环境进行勘察,了解设备的运行状况、周边环境及可能存在的危险因素。
三、定检过程中的安全操作要点(一)锅炉定检1、进入锅炉内部前,应先通风换气,检测内部气体成分,确保安全。
2、检查锅炉受热面时,注意防止烫伤。
3、对于高空作业,必须系好安全带,搭建牢固的脚手架。
(二)压力容器定检1、检验前,应确认容器内压力已完全释放,介质已清理干净,并进行置换和通风。
2、进行无损检测时,要遵守相关辐射防护规定。
(三)压力管道定检1、开挖管道检验时,要注意防止土方坍塌。
2、检测带压管道时,应采取可靠的防护措施,防止泄漏伤人。
(四)电梯定检1、在机房检验时,要注意防止触电和机械伤害。
2、进入井道作业时,必须使用轿顶检修操作装置,并设置防护栏。
(五)起重机械定检1、检查起重机械的金属结构时,要注意防止高处坠落。
2、试验起重机械的制动性能时,要确保周边无人。
(六)客运索道定检1、登山检验时,要配备必要的登山装备,注意防滑和跌落。
2、检查电气系统时,应先切断电源,并悬挂警示标识。
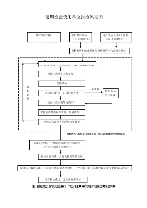
定期检验使用单位报检流程图注:报检时当场交付检验费的,可当场出具特种设备报检受理情况通知书锅炉使用单位应在锅炉检验前做好以下准备工作:一、准备好有关技术资料,包括锅炉制造和安装的技术资料、锅炉技术登记资料,锅炉运行记录、水质化验记录、修理和改造记录、事故记录及历次检验资料等。
二、提前停炉冷却,放净锅炉内的水,打开锅炉上的人孔、头孔、检验孔和灰门等一切门孔装置,使锅炉内部得到充分冷却,并通风换气。
三、采取可靠措施隔断受检锅炉与热力系统相连的蒸汽、给水、排水、排污等及烟、风道并切断电源,对于燃油、燃气的锅炉还须可靠地隔断油、气来源并通风置换。
四、清理锅炉内的垢渣、炉渣、烟灰等污物并保留水垢样品待查。
五、拆除妨碍检查的汽水挡板、分离装置及给水、排污装置等锅筒内件,并准备好用于照明的安全电源。
六、对于需要登高检验作业(离地面或固定平面3米以上)的部位,应搭建脚手架。
七、准备好司炉工操作人员和水质化验人员的资格证书,待查。
八、检验时受检单位应派锅炉管理人员或司炉工到现场,做好检验员的安全监护工作和配合工作。
压力容器年度检查前,使用单位应做好以下准备工作:一、压力容器外表面和环境的清理;二、根据现场检查的需要,做好现场照明、登高防护、局部拆除保温层等配合工作,必要时配备合格的防噪声、防尘、防有毒有害气体等防护用品;三、准备好压力容器技术档案资料、运行记录、使用介质中有害杂质记录;四、准备好压力容器安全管理规章制度和安全操作规范,操作人员的资格证;五、检查时,使用单位压力容器管理人员和相关人员到场配合,协助检查工作,及时提供检查人员需要的其他资料。
压力容器全面检验前,使用单位做好以下准备工作:一、影响全面检验的附属部件或者其他物件,应当按检验要求进行清理或者拆除;二、为检验而搭设的脚手架、轻便梯等设施必须安全牢固(对离地面3m以上的脚手架设置安全护栏);三、需要进行检验的表面,特别是腐蚀部位和可能产生裂纹性缺陷的部位,必须彻底清理干净,母材表面应当露出金属本体,进行磁粉、渗透检测的有面应当露出金属光泽;四、被检容器内部介质必须排放、清理干净,用盲板从被检容器的第一道法兰处隔断所有液体、气体或者蒸汽的来源,同时设置明显的隔离标志。
特种设备使用管理规则安全操作流程与注意事项一、引言特种设备是指在特定条件下工作,具有一定安全风险的设备。
为了确保特种设备的正常运行和使用安全,制定特种设备使用管理规则是必要的。
本文将介绍特种设备使用管理规则的安全操作流程以及需要注意的事项。
二、特种设备操作前的准备1. 检查设备及场地在操作特种设备之前,首先要检查设备的状态和场地的环境是否符合要求。
确保特种设备没有破损、漏气、松动等问题,并保持操作场地的整洁、通风良好。
2. 穿戴个人防护设备在操作特种设备时,必须穿戴符合规定的个人防护设备,如安全帽、安全鞋、防护手套等。
个人防护设备的选择应根据特种设备的工作特点和风险评估结果来确定。
三、特种设备的安全操作流程1. 启动前检查在启动特种设备之前,必须进行一系列的检查工作,包括但不限于以下内容:- 检查设备的电源是否接地可靠;- 检查控制系统是否正常,并确认安全阀、报警系统等是否工作正常;- 检查各种传动部件的润滑情况;- 确认特种设备的工作参数是否符合要求。
2. 操作注意事项在操作特种设备时,需要遵循以下注意事项:- 严禁超负荷操作:特种设备的使用负荷必须在设备的额定工作范围内,严禁超过额定负荷操作。
- 注意设备的运行状态:要随时观察特种设备的运行状态,如温度、压力、润滑情况等,并根据需要进行调整和维护。
- 禁止非授权人员操作:特种设备的操作必须由经过培训和授权的人员进行,严禁非授权人员进行擅自操作。
- 禁止修改设备参数:特种设备的各项参数经过严格计算和设定,禁止未经授权的人员擅自修改设备参数。
3. 应急处理在特种设备操作过程中,如发生紧急情况,需立即采取措施进行应急处理。
应急处理包括但不限于以下内容:- 立即停止特种设备的运行;- 向相关人员发出警报;- 进行紧急救援措施,如进行急救、疏散等。
四、特种设备使用后的处理1. 停止设备运行在特种设备使用完毕后,应按照规定的程序和顺序停止设备的运行。
确保设备处于安全的状态。
特种设备定检安全作业指南特种设备在工业生产和日常生活中发挥着重要作用,但由于其具有一定的危险性,如果在定期检验过程中操作不当,可能会引发安全事故,给人员和财产带来巨大损失。
因此,为了确保特种设备定检工作的安全进行,特制定本安全作业指南。
一、特种设备定检的基本概念特种设备是指涉及生命安全、危险性较大的锅炉、压力容器(含气瓶)、压力管道、电梯、起重机械、客运索道、大型游乐设施和场(厂)内专用机动车辆等设备。
定期检验是指按照规定的时间间隔和检验项目,对特种设备进行的检查、测试和评估,以确保其安全性能符合要求。
二、定检前的准备工作1、资料收集在进行定检之前,检验人员应收集被检设备的相关资料,包括设计文件、制造安装资料、使用登记证、历次检验报告等。
这些资料可以帮助检验人员了解设备的基本情况和历史运行状况,为制定检验方案提供依据。
2、制定检验方案根据设备的类型、规格、使用情况和相关法规标准的要求,制定详细的检验方案。
检验方案应包括检验项目、检验方法、检验工具和仪器、安全措施等内容。
3、人员准备安排具备相应资质和经验的检验人员进行定检工作,并对其进行安全教育和技术培训,使其熟悉检验流程和安全注意事项。
4、工具和仪器准备根据检验方案,准备好所需的工具和仪器,如量具、检测设备、安全防护用品等,并确保其性能完好、精度符合要求。
5、现场准备通知使用单位做好现场准备工作,包括清理设备周围的杂物、设置警示标志、提供必要的照明和通风条件等。
三、定检过程中的安全注意事项1、个人防护检验人员应穿戴符合要求的个人防护用品,如安全帽、工作服、安全鞋、手套等。
在进行高处作业、进入受限空间等危险作业时,还应佩戴安全带、防毒面具等特殊防护用品。
2、设备断电和隔离在对电气设备进行检验时,应先切断电源,并采取可靠的接地和短路措施,防止触电事故的发生。
对于需要进行内部检验的设备,如压力容器、压力管道等,应进行有效的隔离和置换,确保内部介质无残留、无压力。
、锅炉定期检验1、锅炉内部检验1.1 准备好有关的技术资料,包括锅炉制造和安装的技术资料、锅炉使用登记资料、锅炉运行记录、水质化验报告或记录、修理和改造记录、事故记录及历次检验报告、管理制度及操作规程、作业人员证书等;1.2 提前停炉,放净锅炉内的水,打开锅炉上的人孔、头孔、检查孔和灰门等一切门孔装置,使锅炉内部得到充分冷却,通风换气;1.3 采取可靠措施隔断受检锅炉与热力系统相连的蒸汽、给水、排污等管道并切断电源,对于燃油、燃气的锅炉还须可靠的隔断油、气来源并进行通风转换;1.4 清理锅炉内的垢渣、炉渣、烟灰等污物;1.5 拆除妨碍检查的汽水档板、分离装置、给水、排污装置等锅筒内件,并准备好用于照明的安全电源;1.6对需要登高检验的(离地面3m 以上)部位,应搭设牢固的脚手架;1.7 企业要有专人配合检验。
2、锅炉外部检验2.1 准备好锅炉的技术档案资料,包括锅炉制造和安装的技术资料、锅炉使用登记资料、锅炉运行记录、水质化验报告或记录、修理和改造记录、事故记录及历次检验报告、管理制度、作业人员证书等;2.2 对锅炉外部进行清理;2.3 使用单位管理人员和司炉班长到场配合检验。
二、压力容器全面检验1、准备好压力容器的管理技术档案。
包括图纸、质证书、安全使用说明书、历次(年度和全面)检验报告、运行记录、使用登记资料、修理改造资料、作业人员证书、管理制度和操作规程、设备台帐、安全附件台帐、设备位置图等;2、应对影响内外部检验的附设部件或其它物体予以拆除;3、对于需要登高检验的(离地面3m 以上)部位,应搭脚手架,且安全牢固;4、检验前必须切断与压力容器有关的电源,拆除保险丝,并设明显标志;5、必须将内部介质排除干净,用肓板隔断所有液体、气体或蒸汽来源,设置明显的隔离标志;6、具有易燃、助燃、毒性或窒息性介质的,必须进行置换、中和、消毒、清洗,并取样分析,分析结果应达到有关规范、标准的规定。
取样分析的时间,应在使用单位的有关制度中作出具体规定;7、压力容器内部空间的气体含氧量应在18-23%(体积比)之间,必要时配备通风、安全救护措施;8、能够转动的或其中有可动部件的压力容器,应锁住开关,固定牢固;9、需要进行检验的表面,特别是腐蚀部位和可能产生裂纹性缺陷部位,应彻底清扫干净;10、检验用的灯具和工具的电源电压,应符合GB3805 的规定;11、内部检验时,应有专人监护,并有可靠的联络措施;12、企业要有专人配合检验。