土地审批流程图(20210201092246)
- 格式:docx
- 大小:2.53 MB
- 文档页数:42
不属于本单位管辖权的说明原因,不予受理是不属于本单位管辖权的说明原因,不予受理是(4)建设项目用地预审审批流程图(5)土地利用总体规划审核流程图(6)土地利用总体规划调整审批流程图(7)国有建设用地使用权出让审批流程图(8)国有建设用地使用权出租流程图登记申请(9)国有建设用地使用分割转让审批流程图(10)国有划拨土地使用权转让审批流程图登记申请(11)国有建设用地使用权划拨流程图相关科室无异相关科室有异不具备条件符合受理条资料不全的 市国土资源局根据审批文件,通过国土资源部土地市场动态监测与监管系统录入并签订国有建设用地划拨决定书,下达划拨用地批复退回资料, 说明原因1、发受理通知;2、协办科室出具审查意见经补正仍不符合受理条件或超过补正期限^属本局受理范围的V-► 土地利用科出具审查意见用地单位缴纳征地成本等相关费用局会审会会审通过国土资源部土地市场动态监测与监管系统向社会公开上报市政府审批五日内一次性告知申请单位补正资料 局办事大厅接受申请 申请人提出申请,提交相关资料局领导审核 会审会决议(12)国有建设用地使用权改变用途审批流程图(13)城乡建设用地增减挂钩业务审批流程图(14)国有建设用地使用权划拨补办出让审批流程图(15)企业改制土地资产处置审批流程图(16)国有建设用地使用权收回审批流程(17)国有建设用地换地审批流程图(18)城市基准地价、标定地价和土地等级评定结果审批流程图(19-1)矿区范围审批流程图申请材料不全或不合格,一次通知必备件,退还申请不属于本单位管辖权的说明原因,不予受理是(19-2)采矿权设立审批流程图 申请材料不全或不合格,一次通知必备件,退还申请是 不属于本单位管辖权的说明原因,不予受理(19-3)采矿权延续审批流程图 申请材料不全或不合格,一次通知必备件,退还申请是 不属于本单位管辖权的说明原因,不予受理(19-4)采矿权转让审批流程图是(19-5)采矿权变更审批流程图是(19-6)采矿权注销审批流程图是(20-1)探矿权设立审批流程图是(20-2)探矿权延续审批流程图是(20-3)探矿权转让审批流程图是(20-4)探矿权变更审查流程图是(20-5)探矿权保留审查流程图是(20-6)探矿权注销审批流程图是(20-7)地质调查备案流程图(21)勘查备案审查流程图窗口接待、初审(22)勘查基金项目审查流程图是(23-1)采矿权抵押备案审批流程图 申请材料不全或不合格,一次通知必备件,退还申请是不属于本单位管辖权的说明原因,不予受理(23-2)探矿权抵押备案审批流程图管辖权以外的说明原因,不予受理(24)建设项目压覆矿产资源审批及初审流程图凭回执领取证明或批复(25)矿产资源储量报告评审备案及矿产资源储量登记审批流程图局政务大厅受理1、初审材料,发受理通知2、是申请资料扫描、通过局域网送主办科室3、受理补件凭回执领取证书(26)地质灾害治理工程验收流程图是。
国有土地使用权土地登记流程图
(适用于行政确认类第一项)
缴费、领证 (1个工作日)
开发区、新区主管领导审查
开发区、新区经办人受理
地籍科经办人综合审查(3个工作日)
退件或补正 地籍科长审核(2个工作日) 需现场踏勘论证的,组织人员现场踏勘
5 个 工 作 日 地籍科经办人打印证
书、盖章 (2个工作日)
土地登记会审 (1个工作日) 地
籍科主管领导审批 (1个工作日)
国有土地使用权土地抵押登记流程图
(适用于行政确认类第二项)
窗口缴费、领证 (1个工作日) 审批服务科长审核
窗口经办人受理
地籍科经办人综合审查(3个工作日)
退件或补正
地籍科长审核(2个工作日) 需现场踏勘论证的,组织人员现场踏勘
2 个 工 作 日 地籍科经办人打印证
书、盖章 (1个工作日)
土地登记会审 (1个工作日) 地籍科
主管领导审批 (即时)
国有土地使用权土地抵押注销登记流程图
(适用于行政确认类第三项)
窗口经办人受理
地籍科经办人备案(1个工作日)
退件或补正
地籍科长审核(即时)
1
个 工 作 日 窗口盖章、出件
(1个工作日) 审批服务科主管领导审批
退件或补正
审批服务科长审核(即时)。
土地使用权抵押登记核准流程图
土地初始登记流程图
土地使用权变更登记流程图
农用地转用征收审核流程图
采矿权变更审批流程图
矿区范围划定审批流程图
建设项目压覆矿产资源情况审核流程图1
农村村民住宅用地审批工作流程图
主办科室受理
临时用地审批工作流程图
建设项目用地预审工作流程图
划拨国有土地使用权转让、出租工作流程图
国有土地使用权划拨审批工作流程图
国有土地使用权出让(招、拍、挂)工作流程图
国有土地使用权出让(协议出让)工作流程图
使用权改变用途审批工作流程图
土地利用总体规划调整审查审批流程图
土地执法监察工作流程图
土地权属争议调处流程图
矿产资源执法监察工作流程图
初始土地登记工作流程图
土地变更登记工作流程图
国有土地使用权收回送审流程图
闲置土地处置工作流程图
乡镇、村兴建公共设施、公益事业、兴办企业使用集体所有土地0.5公顷以下土地
集体建设用地入股联营审批
. 质灾害应急预案流程图
.。
(4)建设项目用地预审审批流程图
(5)土地利用总体规划审核流程图
(6)土地利用总体规划调整审批流程图
(9)国有建设用地使用分割转让审批流程图
(15)企业改制土地资产处置审批流程图
(19-1)矿区范围审批流程图
是
(19-2)采矿权设立审批流程图
是
(19-3)采矿权延续审批流程图
是
(19-4)采矿权转让审批流程图
是
(19-5)采矿权变更审批流程图
是
(19-6)采矿权注销审批流程图
是
(20-1)探矿权设立审批流程图
(20-2)探矿权延续审批流程图
(20-3)探矿权转让审批流程图
(20-4)探矿权变更审查流程图
(20-5)探矿权保留审查流程图
(20-6)探矿权注销审批流程图
(20-7)地质调查备案流程图
(21)勘查备案审查流程图
(22)勘查基金项目审查流程图
(23-1)采矿权抵押备案审批流程图
是
(23-2)探矿权抵押备案审批流程图
(24)建设项目压覆矿产资源审批及初审流程图
(25)矿产资源储量报告评审备案及矿产资源储量
登记审批流程图
(26)地质灾害治理工程验收流程图
是。
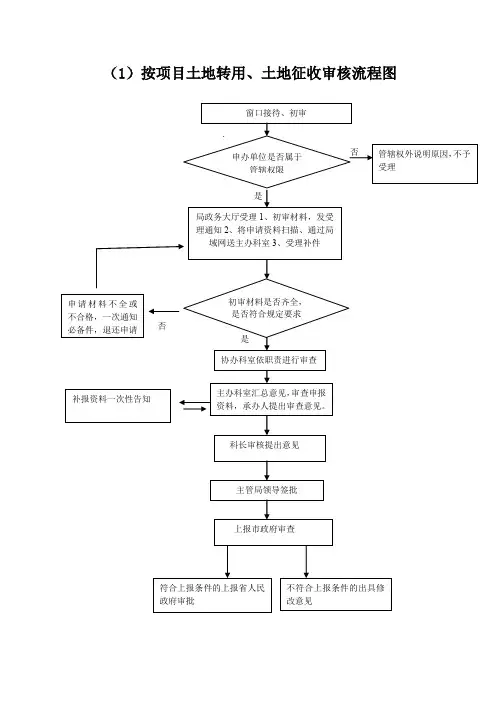
(1)按项目土地转用、土地征收审核流程图
(2)按批次土地转用、土地征收审核流程图
是
是
(4)建设项目用地预审审批流程图
(5)土地利用总体规划审核流程图
(6)土地利用总体规划调整审批流程图
(9)国有建设用地使用分割转让审批流程图
(15)企业改制土地资产处置审批流程图
(19-1)矿区范围审批流程图
是
是
(19-2)采矿权设立审批流程图
是
是
(19-3)采矿权延续审批流程图
是
是
(19-4)采矿权转让审批流程图
是
是
(19-5)采矿权变更审批流程图
是
是
(19-6)采矿权注销审批流程图
是
是
(20-1)探矿权设立审批流程图
是
(20-2)探矿权延续审批流程图
是
(20-3)探矿权转让审批流程图
是
(20-4)探矿权变更审查流程图
是
(20-5)探矿权保留审查流程图
是
(20-6)探矿权注销审批流程图
是
(20-7)地质调查备案流程图
(21)勘查备案审查流程图
是是
(22)勘查基金项目审查流程图
是
(23-1)采矿权抵押备案审批流程图
是
是
(23-2)探矿权抵押备案审批流程图
(24)建设项目压覆矿产资源审批及初审流程图
是是
(25)矿产资源储量报告评审备案及矿产资源储
量
登记审批流程图
是
是
(26)地质灾害治理工程验收流程图
是
是。
符合上报条件的上报省人民政府审批不符合上报条件的出具修改意见管辖权外说明原因,不予受理协办科室依职责进行审查符合上报条件的上报省人民政府审批不符合上报条件的出具修改意见管辖权外说明原因,不予受理是是(4)建设项目用地预审审批流程图(5) 土地利用总体规划审核流程图(6) 土地利用总体规划调整审批流程图(7)国有建设用地使用权出让审批流程图1、发受理通知;2、地籍、规划、耕保、监察局岀具审查意见3、利用科出具审查意见申请人提出申请,提交相关资料。
五日内一次性告知申请单位补正资料资料不全的审批大厅接受申请、二登记、受理审查不属本局受理范围的退回资料,说明原因符合受理条件经补正仍不符合受理条件或超过补正期限(8)国有建设用地使用权出租流程图登记申请(9)国有建设用地使用分割转让审批流程图(10)国有划拨土地使用权转让审批流程图(11)国有建设用地使用权划拨流程图(12)国有建设用地使用权改变用途审批流程图(13)城乡建设用地增减挂钩业务审批流程图(14)国有建设用地使用权划拨补办出让审批流程图(15)企业改制土地资产处置审批流程图(16)国有建设用地使用权收回审批流程(17 )国有建设用地换地审批流程图(18)城市基准地价、标定地价和土地等级评定结果审批流程图(19-1 )矿区范围审批流程图申请材料不全或不合格,一次通知必备件,退还申请不属于本单位管辖权的说明原因,不予受理是(19-2 )采矿权设立审批流程图申请材料不全或不合格,一次通知必备件,退还申请不属于本单位管辖权的说明原因,不予受理是(19-3 )采矿权延续审批流程图申请材料不全或不合格,一次通知必备件,退还申请不属于本单位管辖权的说明原因,不予受理是(19-4 )采矿权转让审批流程图申请材料不全或不合格,一次通知必备件,退还申请不属于本单位管辖权的说明原因,不予受理是(19-5 )采矿权变更审批流程图申请材料不全或不合格,一次通知必备件,退还申请是不属于本单位管辖权的说明原因,不予受理(19-6 )采矿权注销审批流程图是申请材料不全或否不合格,一次通知必备件,退还申请不属于本单位管辖权的说明原因,不予受理(20-1 )探矿权设立审批流程图是(20-2 )探矿权延续审批流程图(20-3 )探矿权转让审批流程图(20-4 )探矿权变更审查流程图(20-5 )探矿权保留审查流程图(20-6 )探矿权注销审批流程图(20-7 )地质调查备案流程图(21)勘查备案审查流程图是(22)勘查基金项目审查流程图是(23-1 )采矿权抵押备案审批流程图 申请材料不全或 不合格,一次通知 必备件,退还申请是不属于本单位管辖权的说明原因,不予受理(23-2)探矿权抵押备案审批流程图窗口接待、审核(24)建设项目压覆矿产资源审批及初审流程图是局政务大厅受理i初审材料,发受 理通知2、将是申请资料扫描、通过局域网送主办科室 3、受理补件经办科室负责人复审、提交分 管领导签署审批意见审批通过经办人员出具备占用资源储量登记证凭回执领取证书(25)矿产资源储量报告评审备案及矿产资源储量登记审批流程图窗口接待、初审(26 )地质灾害治理工程验收流程图是申请材料不全或否不合格,一次通知必备件,退还申请。
(4)建设项目用地预审审批流程图
(5)土地利用总体规划审核流程图
(6)土地利用总体规划调整审批流程图
(9)国有建设用地使用分割转让审批流程图
(15)企业改制土地资产处置审批流程图
(19-1)矿区范围审批流程图
是
(19-2)采矿权设立审批流程图
是
(19-3)采矿权延续审批流程图
是
(19-4)采矿权转让审批流程图
是
(19-5)采矿权变更审批流程图
是
(19-6)采矿权注销审批流程图
是
(20-1)探矿权设立审批流程图
(20-2)探矿权延续审批流程图
(20-3)探矿权转让审批流程图
(20-4)探矿权变更审查流程图
(20-5)探矿权保留审查流程图
(20-6)探矿权注销审批流程图
(20-7)地质调查备案流程图
(21)勘查备案审查流程图
(22)勘查基金项目审查流程图
(23-1)采矿权抵押备案审批流程图
是
(23-2)探矿权抵押备案审批流程图
(24)建设项目压覆矿产资源审批及初审流程图
(25)矿产资源储量报告评审备案及矿产资源储量
登记审批流程图
(26)地质灾害治理工程验收流程图
是。
临时用地审批流程图行政许可 1用地单位提出申请申请材料齐全后受理审查主管领导审核发《临时用地证书》行政许可 2说明:2.土地整治项目验收(含土地整理、开发、复垦和高标准基本农田以及耕地占补平衡项目)以上1项序号为2的行政许可项目均适用本流程图土地整治项目所在地国土部门上报立项申请及相关资料 组织相关专家现场踏勘并论证 审查合格 进入市级土地整理项目库,并报省厅审核备案 省厅审查合格并下达资金预算 项目承担单位组织招标并实施 项目竣工后项目申报单位组织初验并申请验收 组织验收 验收合格不予批准 前期资料进行修改 整 改 时限要求 以上级文件为准进行土地整治监测监管系统电子报备省厅在线审查报备合格,完毕行政许可 3-5说明:3.一次性开发400—600公顷国有荒山、荒地、荒滩承招4.一次性开发200—400公顷国有荒山、荒地、荒滩承招5.土地复垦方案承招以上3项序号为3.4.5的行政许可项目均适用本流程图补充耕地项目所在地国土部门上报补充耕地项目立项申请和可行性研究报告 组织相关科室现场踏勘 审查资料并下达立项批复 项目申报单位组织编制项目规划和项目预算 项目承担单位组织招标并实施 项目竣工后项目申报单位组织初验并申请验收组织验收在农村土地整治监管监测系统进行电子报备纳入补充耕地储备库管理 不予批准 整 改 时限要求 以上级文件为准申请省厅核查确认下达验收文件使用财政资金测绘项目立项前审核 行政许可 6申 请 申请人提出申请并递交资料濮阳县国土资源局测绘办公室接收申请材料 受 理 收到申请材料之日起,濮阳县国土资源局测绘办公室1日内决定是否受理 不属于许可范畴或不属于本机关职权范围的,不予受理,并当场告知申请人。
申请材料齐全、符合法定形式,或者申请人按照本行政机关的要求提交全部补正申请材料的,予以受理。
申请材料不齐全或不符合法定形式的,当场告知申请人在3个工作日内补正材料。
审查申请项目是否符合相关规定,重点审查是否有重复测绘现象。
(1)按项目土地转用、土地征收审核流程图
是
否
是
(2)按批次土地转用、土地征收审核流程图
是
否
是
(3-1)土地整治项目立项审批流程图
是
(3-2)土地整治项目验收审批流程图
是
(4)建设项目用地预审审批流程图
是否
是
(5)土地利用总体规划审核流程图
是
否
是
(6)土地利用总体规划调整审批流程图
是
否
是
登记申请
(9)国有建设用地使用分割转让审批流程图
登记申请
(15)企业改制土地资产处置审批流程图
(19-1)矿区范围审批流程图
是
(19-2)采矿权设立审批流程图
是
(19-3)采矿权延续审批流程图
是
(19-4)采矿权转让审批流程图
是
(19-5)采矿权变更审批流程图
是
(19-6)采矿权注销审批流程图
是
(20-1)探矿权设立审批流程图
是
是
(20-2)探矿权延续审批流程图
是
是
(20-3)探矿权转让审批流程图
是
是。
(1)按项目土地转用、土地征收审核流程图
(2)按批次土地转用、土地征收审核流程图
(3-1 )土地整治项目立项审批流程图
是
(3-2 )土地整治项目验收审批流程图
是
土地审批流程图
(4)建设项目用地预审审批流程图
5 / 40
土地审批流程图
(5) 土地利用总体规划审核流程图
土地审批流程图
(6) 土地利用总体规划调整审批流程图
7 / 40
土地审批流程图
(7)国有建设用地使用权出让审批流程图
8 / 40
土地审批流程图
(8)国有建设用地使用权出租流程图
登记申请
土地审批流程图
(9)国有建设用地使用分割转让审批流程图
10 / 40
土地审批流程图
(9)
流程图
11 / 40
申请人提岀申请, 提交相关资料。
符合受理条件 i 发受理通知;
2、协办科室岀具审查意见(地籍科)
土地利用科岀具审查意见
五日内一次性 告知申请单位 补正
资料 资料不全的 局办事大厅接受申请 不属本局受理范围的 退回资料,说明原因
经补正仍不符
合受理条件或
超过补正期限
土地审批流程图
(10)国有划拨土地使用权转让审批流程图
12 / 40
(11)国有建设用地使用权划拨流程图
(12)国有建设用地使用权改变用途审批流程图
土地审批流程图
(13)城乡建设用地增减挂钩业务审批流程图
15 / 40
(14)国有建设用地使用权划拨补办出让审批流程图
(15)企业改制土地资产处置审批流程图
17 / 40
(16)国有建设用地使用权收回审批流程
(17 )国有建设用地换地审批流程图
土地审批流程图
(18)城市基准地价、标定地价和土地等级评定结果审批流程图
(19-1 )矿区范围审批流程图
申请材料不全或不
合格,一次通知必
备件,退还申请
不属于本单位管辖权的
说明原因,不予受理
(19-2 )采矿权设立审批流程图
申请材料不全或不
合格,一次通知必
备件,退还申请
不属于本单位管辖权的
说明原因,不予受理
(19-3 )采矿权延续审批流程图
申请材料不全或不
合格,一次通知必
备件,退还申请
不属于本单位管辖权的
说明原因,不予受理
(19-4 )采
矿权转让审
批流程图
申请材料不全或不
合格,一次通知必
备件,退还申请
是
不属于本单位管辖权的
说明原因,不予受理
(19-5 )采
矿权变更审
批流程图
申请材料不全或不
合格,一次通知必
备件,退还申请
是
不属于本单位管辖权的
说明原因,不予受理
土地审批流程图
(19-6 )采矿权注销审批流程图
是
申请材料不全或否不合格,一次通知必备件,退还申请不属于本单位管辖权的说明原因,不予受理
土地审批流程图
(20-1 )探矿权设立审批流程图
是
(20-2 )探矿权延续审批流程图
(20-3 )探矿权转让审批流程图
(20-4 )探矿权变更审查流程图
(20-5 )探矿权保留审查流程图
(20-6 )探矿权注销审批流程图
土地审批流程图
(20-7 )地质调查备案流程图
33 / 40
(21)勘查备案审查流程图
是
(22)勘查基金项目审查流程图
是
土地审批流程图
(23-1 )采矿权抵押备案审批流程图
申请材料不全或不
合格,一次通知必
备件,退还申请
是
(23-2)探矿权抵押备案审批流程图
(24)建设项目压覆矿产资源审批及初审流程图
是
(25)矿产资源储量报告评审备案及矿产资源储量
登记审批流程图
窗口接待、初审
凭回执领取证书
土地审批流程图
(26 )地质灾害治理工程验收流程图
申请材料不全或不
合格,一次通知必
备件,退还申请
不属于本单位管辖权的
说明原因,不予受理
41 / 40
土地审批流程图
是
42 / 40。