土地审批流程图
- 格式:doc
- 大小:339.00 KB
- 文档页数:40
土地审批流程图
〔2〕按批次土地转用、土地征收审核流程图
〔4〕建设项目用地预审审批流程图
〔5〕土地利用总体规划审核流程图
〔6〕土地利用总体规划调整审批流程图
〔9〕国有建设用地使用分割转让审批流程图
〔15〕企业改制土地资产处置审批流程图
〔19-1〕矿区范畴审批流程图
是
〔19-2〕采矿权设立审批流程图
是
〔19-3〕采矿权连续审批流程图
是
〔19-4〕采矿权转让审批流程图
是
〔19-5〕采矿权变更审批流程图
是
〔19-6〕采矿权注销审批流程图
是
〔20-1〕探矿权设立审批流程图
〔20-2〕探矿权连续审批流程图
〔20-3〕探矿权转让审批流程图
〔20-4〕探矿权变更审查流程图
〔20-5〕探矿权保留审查流程图
〔20-6〕探矿权注销审批流程图
〔20-7〕地质调查备案流程图
〔21〕勘查备案审查流程图
〔22〕勘查基金项目审查流程图
〔23-1〕采矿权抵押备案审批流程图
是
〔23-2〕探矿权抵押备案审批流程图
〔24〕建设项目压覆矿产资源审批及初审流程图
〔25〕矿产资源储量报告评审备案及矿产资源储量
登记审批流程图
〔26〕地质灾难治理工程验收流程图
是。
不属于本单位管辖权的说明原因,不予受理是不属于本单位管辖权的说明原因,不予受理是(4)建设项目用地预审审批流程图(5)土地利用总体规划审核流程图(6)土地利用总体规划调整审批流程图(7)国有建设用地使用权出让审批流程图(8)国有建设用地使用权出租流程图登记申请(9)国有建设用地使用分割转让审批流程图(10)国有划拨土地使用权转让审批流程图登记申请(11)国有建设用地使用权划拨流程图相关科室无异相关科室有异不具备条件符合受理条资料不全的 市国土资源局根据审批文件,通过国土资源部土地市场动态监测与监管系统录入并签订国有建设用地划拨决定书,下达划拨用地批复退回资料, 说明原因1、发受理通知;2、协办科室出具审查意见经补正仍不符合受理条件或超过补正期限^属本局受理范围的V-► 土地利用科出具审查意见用地单位缴纳征地成本等相关费用局会审会会审通过国土资源部土地市场动态监测与监管系统向社会公开上报市政府审批五日内一次性告知申请单位补正资料 局办事大厅接受申请 申请人提出申请,提交相关资料局领导审核 会审会决议(12)国有建设用地使用权改变用途审批流程图(13)城乡建设用地增减挂钩业务审批流程图(14)国有建设用地使用权划拨补办出让审批流程图(15)企业改制土地资产处置审批流程图(16)国有建设用地使用权收回审批流程(17)国有建设用地换地审批流程图(18)城市基准地价、标定地价和土地等级评定结果审批流程图(19-1)矿区范围审批流程图申请材料不全或不合格,一次通知必备件,退还申请不属于本单位管辖权的说明原因,不予受理是(19-2)采矿权设立审批流程图 申请材料不全或不合格,一次通知必备件,退还申请是 不属于本单位管辖权的说明原因,不予受理(19-3)采矿权延续审批流程图 申请材料不全或不合格,一次通知必备件,退还申请是 不属于本单位管辖权的说明原因,不予受理(19-4)采矿权转让审批流程图是(19-5)采矿权变更审批流程图是(19-6)采矿权注销审批流程图是(20-1)探矿权设立审批流程图是(20-2)探矿权延续审批流程图是(20-3)探矿权转让审批流程图是(20-4)探矿权变更审查流程图是(20-5)探矿权保留审查流程图是(20-6)探矿权注销审批流程图是(20-7)地质调查备案流程图(21)勘查备案审查流程图窗口接待、初审(22)勘查基金项目审查流程图是(23-1)采矿权抵押备案审批流程图 申请材料不全或不合格,一次通知必备件,退还申请是不属于本单位管辖权的说明原因,不予受理(23-2)探矿权抵押备案审批流程图管辖权以外的说明原因,不予受理(24)建设项目压覆矿产资源审批及初审流程图凭回执领取证明或批复(25)矿产资源储量报告评审备案及矿产资源储量登记审批流程图局政务大厅受理1、初审材料,发受理通知2、是申请资料扫描、通过局域网送主办科室3、受理补件凭回执领取证书(26)地质灾害治理工程验收流程图是。
临时用地审批流程图 1行政许可用地单位提出申请申请材料齐全后受理审查主管领导审核发《临时用地证书》土地整治项目工作流程行政许可 2说明:2.土地整治项目验收(含土地整理、开发、复垦和高标准基本农田以及耕地占补平衡项目)的行政许可项目均适用本流程图2项序号为1以上补充耕地项目工作流程行政许可 3-5审查资料并下达立项批复以上级项目申报单位组织编制项目规划和项目预算文件为项目承担单位组织招标并实施准项目竣工后项目申报单位组织初验并申请验收组织验收整改下达验收文件在农村土地整治监管监测系统进行电子报备纳入补充耕地储备库管理申请省厅核查确认3.一次性开发400—说明:600公顷国有荒山、荒地、荒滩承招4.一次性开发200—400公顷国有荒山、荒地、荒滩承招5.土地复垦方案承招的行政许可项目均适用本流程图3.4.5项序号为3以上使用财政资金测绘项目立项前审核 6 行政许可日内决定是否受或者申请人按照本申请材料不齐全或不当场告合法定形式的个工作日内申请人正材料。
查审日内完成)濮阳县国土资源局测绘办公室审查资料(2重点审查是否有重复测审查申请项目是否符合相关规定,绘现象。
反馈意见1日内完成)濮阳县国土资源局测绘办公室(不准予许可准予许可濮阳县国土资源局测绘办公室给予回执至申请人(1个工作日内完成)濮阳县国土资源局测绘办公室归档备注:流程图所指的“日”均为工作日.测绘任务备案 7行政许可日内决定是否受或者申请人按照本申请材料不齐全或不当场告合法定形式的个工作日内申请人正材料。
查审日内完成)濮阳县国土资源局测绘办公室审查资料(1申请人资质是否符合审查申请人资料是否符合相关规定,规定。
反馈意见1日内完成)濮阳县国土资源局测绘办公室(不准予许可准予许可濮阳县国土资源局测绘办公室给予回执至申请人(当天完成)濮阳县国土资源局测绘办公室归档备注:流程图所指的“日”均为工作日.建设项目用地预审流程图行政许可 8日内决定是否受或者申请人按照本申请材料不齐全或不合法定形式的当场告申请人个工作日内正材料审查 3日内完成)濮阳县国土资源局规划股审查土地预审资料(是否符合土地利用审查土地预审资料是否符合相关规定,合理和集约节约利总体规划,保护耕地特别是基本农田,用土地、符合国土供地政策。
国有土地使用权收回审批流程图
附:文字说明
项目名称:国有土地使用权收回审批
项目类别:行政征用
实施依据:《中华人民共和国土地管理法》第37条、58条、78条、80条,《中华人民共和国城镇国有土地使
用权出让和转让暂行条例》第17条、39条、42
条、47条
公开形式:中国国土资源报进行公告
公开范围:社会公开
公开时间:及时
收费依据和标准:不收费
承办股室:土地储备市场股
承办人员:吴占利牛雅娟
办理期限:7天
受理电话:6801816
当事人的权利:知情权、陈述权、申辩权、举报权、申请行
政、复议权、提起行政诉讼权等。
(4)建设项目用地预审审批流程图
(5)土地利用总体规划审核流程图
(6)土地利用总体规划调整审批流程图
(9)国有建设用地使用分割转让审批流程图
(15)企业改制土地资产处置审批流程图
(19-1)矿区范围审批流程图
是
(19-2)采矿权设立审批流程图
是
(19-3)采矿权延续审批流程图
是
(19-4)采矿权转让审批流程图
是
(19-5)采矿权变更审批流程图
是
(19-6)采矿权注销审批流程图
是
(20-1)探矿权设立审批流程图
(20-2)探矿权延续审批流程图
(20-3)探矿权转让审批流程图
(20-4)探矿权变更审查流程图
(20-5)探矿权保留审查流程图
(20-6)探矿权注销审批流程图
(20-7)地质调查备案流程图
(21)勘查备案审查流程图
(22)勘查基金项目审查流程图
(23-1)采矿权抵押备案审批流程图
是
(23-2)探矿权抵押备案审批流程图
(24)建设项目压覆矿产资源审批及初审流程图
(25)矿产资源储量报告评审备案及矿产资源储量
登记审批流程图
(26)地质灾害治理工程验收流程图
是。
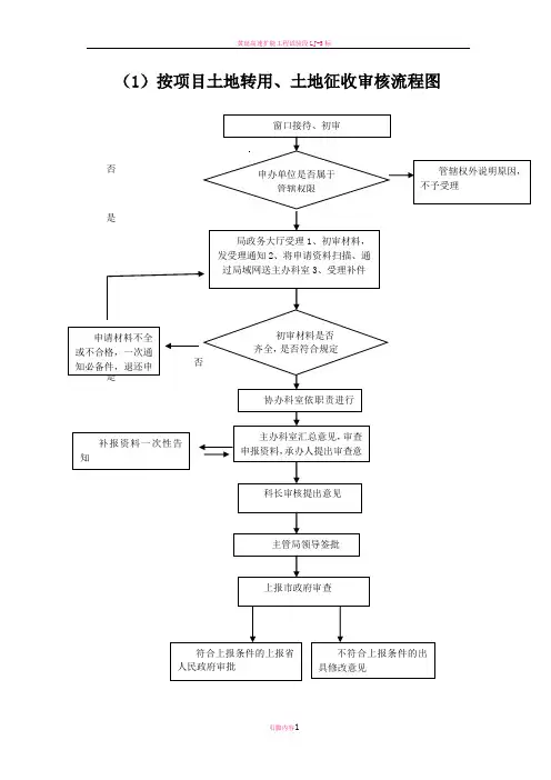
(1)按项目土地转用、土地征收审核流程图
(2)按批次土地转用、土地征收审核流程图
是
是
(4)建设项目用地预审审批流程图
(5)土地利用总体规划审核流程图
(6)土地利用总体规划调整审批流程图
(9)国有建设用地使用分割转让审批流程图
(15)企业改制土地资产处置审批流程图
(19-1)矿区范围审批流程图
是
是
(19-2)采矿权设立审批流程图
是
是
(19-3)采矿权延续审批流程图
是
是
(19-4)采矿权转让审批流程图
是
是
(19-5)采矿权变更审批流程图
是
是
(19-6)采矿权注销审批流程图
是
是
(20-1)探矿权设立审批流程图
是
(20-2)探矿权延续审批流程图
是
(20-3)探矿权转让审批流程图
是
(20-4)探矿权变更审查流程图
是
(20-5)探矿权保留审查流程图
是
(20-6)探矿权注销审批流程图
是
(20-7)地质调查备案流程图
(21)勘查备案审查流程图
是是
(22)勘查基金项目审查流程图
是
(23-1)采矿权抵押备案审批流程图
是
是
(23-2)探矿权抵押备案审批流程图
(24)建设项目压覆矿产资源审批及初审流程图
是是
(25)矿产资源储量报告评审备案及矿产资源储
量
登记审批流程图
是
是
(26)地质灾害治理工程验收流程图
是
是。
临时用地审批流程图
项目名称:临时用地审批
项目类别:行政许可权
实施依据:《中华人民共和国土地管理法》第五十七条,《河北省土地管理条例》第五十六条
公开形式:局办公大厅
公开范围:社会公开
公开时间:及时
收费依据和标准:《河北省土地管理条例》,复垦费5-20元/平米。
承办股室:耕保股
承办人:孙磊张凌雁
用地单位需提交的材料:
1.用地单位向所占地村委会写用地申请(内容包括面积、位置、地类、用途)。
2、村委会召开村委会村民代表会及意见
3、村委会向乡(镇)政府的用地申请。
附村两委会议记录,参加人签字同意,并按手印。
(法人签字、盖章)
4、乡(镇)政府向县国土局写用地申请
5、用地平面图。
6 、县国土资源局向县政府写用地申请。
7、待县政府批复后,通知用地户准备以下资料:1、用地户、村委会、乡(镇)政府三级申请;2、占地协议书;3、项目平面图
8、契税、营业税(税票)
9、临时用地申报表
办理期限:10天
受理电话:6801820
当事人权利:知情权、陈述权、申辩权、举报权、申请行政复议权、提起行政诉讼权等。
(1)按项目土地转用、土地征收审核流程图符合上报条件的上报省人民政府审批不符合上报条件的出具修改意见管辖权外说明原因,不予受理(2)按批次土地转用、土地征收审核流程图符合上报条件的上报省人民政府审批不符合上报条件的出具修改意见管辖权外说明原因,不予受理是是(4)建设项目用地预审审批流程图(5) 土地利用总体规划审核流程图(6) 土地利用总体规划调整审批流程图(7)国有建设用地使用权出让审批流程图(8)国有建设用地使用权出租流程图登记申请(9)国有建设用地使用分割转让审批流程图申请人提岀申请, 提交相关资料。
符合受理条件 i 发受理通知;2、协办科室岀具审查意见(地籍科)土地利用科岀具审查意见五日内一次性 告知申请单位 补正资料资料不全的 局办事大厅接受申请 不属本局受理范围的 退回资料,说明原因经补正仍不符合受理条件或超过补正期限(10)国有划拨土地使用权转让审批流程图(11)国有建设用地使用权划拨流程图(12)国有建设用地使用权改变用途审批流程图(13)城乡建设用地增减挂钩业务审批流程图(14)国有建设用地使用权划拨补办出让审批流程图(15)企业改制土地资产处置审批流程图(16)国有建设用地使用权收回审批流程(17 )国有建设用地换地审批流程图(18)城市基准地价、标定地价和土地等级评定结果审批流程图(19-1 )矿区范围审批流程图申请材料不全或不合格,一次通知必备件,退还申请不属于本单位管辖权的说明原因,不予受理(19-2 )采矿权设立审批流程图申请材料不全或不合格,一次通知必备件,退还申请不属于本单位管辖权的说明原因,不予受理(19-3 )采矿权延续审批流程图申请材料不全或不合格,一次通知必备件,退还申请不属于本单位管辖权的说明原因,不予受理(19-4 )采矿权转让审批流程图申请材料不全或不合格,一次通知必备件,退还申请是不属于本单位管辖权的说明原因,不予受理(19-5 )采矿权变更审批流程图申请材料不全或不合格,一次通知必备件,退还申请是不属于本单位管辖权的说明原因,不予受理(19-6 )采矿权注销审批流程图是申请材料不全或否不合格,一次通知必备件,退还申请不属于本单位管辖权的说明原因,不予受理(20-1 )探矿权设立审批流程图是(20-2 )探矿权延续审批流程图(20-3 )探矿权转让审批流程图发放转让审批通知书(20-4 )探矿权变更审查流程图(20-5 )探矿权保留审查流程图(20-6 )探矿权注销审批流程图(20-7 )地质调查备案流程图(21)勘查备案审查流程图是(22)勘查基金项目审查流程图是(23-1 )采矿权抵押备案审批流程图申请材料不全或不合格,一次通知必备件,退还申请不属于本单位管辖权的说明原因,不予受理(23-2)探矿权抵押备案审批流程图(24)建设项目压覆矿产资源审批及初审流程图是(25)矿产资源储量报告评审备案及矿产资源储量(24)建设项目压覆矿产资源审批及初审流程图登记审批流程图窗口接待、初审凭回执领取证书(26 )地质灾害治理工程验收流程图(26 )地质灾害治理工程验收流程图申请材料不全或不合格,一次通知必备件,退还申请不属于本单位管辖权的说明原因,不予受理是。
(4)建设项目用地预审审批流程图
(5)土地利用总体规划审核流程图
(6)土地利用总体规划调整审批流程图
(9)国有建设用地使用分割转让审批流程图
(15)企业改制土地资产处置审批流程图
(19-1)矿区范围审批流程图
是
(19-2)采矿权设立审批流程图
是
(19-3)采矿权延续审批流程图
是
(19-4)采矿权转让审批流程图
是
(19-5)采矿权变更审批流程图
是
(19-6)采矿权注销审批流程图
是
(20-1)探矿权设立审批流程图
(20-2)探矿权延续审批流程图
(20-3)探矿权转让审批流程图
(20-4)探矿权变更审查流程图
(20-5)探矿权保留审查流程图
(20-6)探矿权注销审批流程图
(20-7)地质调查备案流程图
(21)勘查备案审查流程图
(22)勘查基金项目审查流程图
(23-1)采矿权抵押备案审批流程图
是
(23-2)探矿权抵押备案审批流程图
(24)建设项目压覆矿产资源审批及初审流程图
(25)矿产资源储量报告评审备案及矿产资源储量
登记审批流程图
(26)地质灾害治理工程验收流程图
是。