审计收费标准
- 格式:docx
- 大小:9.73 KB
- 文档页数:5
成都市审计收费标准一、背景介绍。
成都市审计收费标准是指对于审计服务所收取的费用标准,是财政部门对审计服务费用的管理和规范。
审计是一项重要的财务监督和管理工作,其收费标准的合理与否直接关系到审计工作的质量和效益。
因此,成都市审计收费标准的制定和执行对于规范审计市场秩序、提高审计服务质量具有重要意义。
二、成都市审计收费标准的制定原则。
1. 公平公正原则,审计收费标准应当公平公正,不得存在任何歧视性。
2. 合理合法原则,审计收费标准应当合理合法,不得存在任何违法违规的情况。
3. 透明公开原则,审计收费标准应当透明公开,不得存在任何不公开透明的情况。
4. 可操作性原则,审计收费标准应当具有可操作性,不得存在任何难以操作的情况。
三、成都市审计收费标准的具体内容。
1. 审计服务项目。
(1)财务审计。
(2)绩效审计。
(3)合规性审计。
(4)风险管理审计。
(5)信息系统审计。
(6)其他审计服务项目。
2. 收费标准。
(1)财务审计,按照被审计单位的资产总额、收入总额、利润总额等指标进行收费,具体收费标准由审计机构和被审计单位协商确定。
(2)绩效审计,按照被审计单位的绩效目标完成情况、绩效评价结果等指标进行收费,具体收费标准由审计机构和被审计单位协商确定。
(3)合规性审计,按照被审计单位的合规性情况、合规性风险等指标进行收费,具体收费标准由审计机构和被审计单位协商确定。
(4)风险管理审计,按照被审计单位的风险管理情况、风险控制效果等指标进行收费,具体收费标准由审计机构和被审计单位协商确定。
(5)信息系统审计,按照被审计单位的信息系统规模、复杂程度等指标进行收费,具体收费标准由审计机构和被审计单位协商确定。
(6)其他审计服务项目,具体收费标准由审计机构和被审计单位协商确定。
3. 收费方式。
(1)一次性收费,对于一次性完成的审计项目,可以采取一次性收费的方式。
(2)阶段性收费,对于需要分阶段完成的审计项目,可以采取阶段性收费的方式,根据完成阶段的工作量和质量确定收费金额。
The reality is this shore, the ideal is the other shore, separated by a turbulent river, and the action is a bridgeover the river.(页眉可删)工程结算审计收费标准是什么?导读:1、基本审计费。
按单项工程总投资额计取,不管有无审减(增)额都的计取。
是保底的。
2、审减(增)额审计费。
按审减(增)额减允许额的余额计取。
如有项100万投资额的工程。
审计结果:审减额为8万,其中允许差额为5万,审减余额为3万。
审计额费率商定为6,100万*6‰+3万*5%=0.6万+0.15万=0.75万。
一、工程结算审计收费标准1、基本审计费。
按单项工程总投资额计取,不管有无审减(增)额都的计取。
是保底的。
2、审减(增)额审计费。
按审减(增)额减允许额的余额计取。
如有项100万投资额的工程。
审计结果:审减额为8万,其中允许差额为5万,审减余额为3万。
审计额费率商定为6,100万*6‰+3万*5%=0.6万+0.15万=0.75万。
注:一般基本审计费由投资方出;审减(增)余额审计费由编制方出。
二、建筑工程审计流程是什么1、应在建设项目正式立项时,即将其纳入审计视野,关注其各项前期准备工作。
正式进点时间可安排在即将正式开工前。
2、审计组应在项目现场设立办公场所,与被审计单位建立定期例会制度,参加被审计单位的重要例会,及时了解、掌握项目有关情况,提出审计意见,并且作好会议记录。
3、对中标合同价进行控制,不允许施工现场随意变更设计、增项、减项、扩大工程造价;对工程用料,隐蔽工程进行质量和数量监控,防止施工单位偷工减料或以次充好。
所有隐蔽工程除应有甲方施工现场管理人员、监理人员签字外,还必须有跟踪审计人员签字。
4、审计组成员应经常深入施工现场,掌握工程进展、变更等真实情况,了解工程建设中涉及的有关技术问题,熟悉工程计量规则及有关费用的测算办法,并且作好相关记录。
年度报表审计收费标准年度报表审计收费标准最低收费:3000元起1000万元以下(含1000万元)(‰):2.5‰1000万元以上-1亿元(含1亿元)(‰):0.15‰1亿元以上-10亿元(含10亿元)(‰):0.1‰10亿元以上(‰):0.02‰注:1.收费基数为年末资产总额;2.收费采用差额定率累进分段计算。
提醒:以上为行业收费标准,北京京审会计师事务所会依据企业资产总额、全年收入总额、帐务情况综合报价。
1. (期末)资产负债表、利润表、现金流量表、会计报表附注。
(单位负责人、财务负责人签字盖章、企业加盖公章)2. 科目余额表(1资产负债类:期初余额、本年借方累计、贷方累计、期末余额;2损益类:全年累计金额)(手工帐可不提供)3. (期末)增值税、企业所得税等全部纳税申报表4. 总账、现金银行日记账及全部明细账、全部会计凭证5. 银行对账单、银行存款余额调节表、银行询证函、定期存单6. 库存现金盘点及推倒表(需盖章)7. 存货盘点表(截止会计报表日的盘点表,标明存货的名称、规格、数量、单价、总金额)8. 固定资产盘点表(标明固定资产名称、规格、数量、原值、预计残值、使用年限、折旧额、净值)9. 所有往来明细(含往来单位、金额、帐龄)1. 单位设立时合同、协议、章程及营业执照副本复印件2. 单位设立时和以后变更登记时的批文、验资报告及评估报告复印件3. 税务登记证及组织机构代码证书4. 新技术企业证书5. 享受优惠政策的批准文件6. 房屋、车辆产权证明7. 重要经营合同、协议复印件(采购合同、销售合同、技术合同、租赁合同、借款合同、担保合同、保险合同)8. 管理层声明书(事务所提供格式)9.业务约定书(事务所提供格式)。
工程审计费收费标准工程审计是指对工程项目的经济、技术和管理等方面进行全面审查和评价的一项重要工作。
在工程建设中,审计费用是不可或缺的一部分,它直接关系到工程项目的经济效益和质量安全。
因此,制定合理的工程审计费收费标准对于保障工程项目的顺利进行具有重要意义。
一、工程审计费的收费依据。
1. 工程审计费的收费依据主要包括工程项目的规模、复杂程度、审计内容和审计周期等因素。
根据《工程造价管理条例》的相关规定,工程审计费用应当按照工程造价的一定比例收取。
2. 在制定工程审计费收费标准时,需要充分考虑到工程项目的具体情况,对于复杂度较高、规模较大的工程项目,可以适当提高审计费收费标准,以保障审计工作的质量和效果。
二、工程审计费的收费方式。
1. 工程审计费的收费方式主要包括一次性收费和阶段性收费两种方式。
一次性收费适用于工程项目周期较短、审计内容相对简单的情况,而阶段性收费适用于工程项目周期较长、审计内容较为复杂的情况。
2. 在确定工程审计费的收费方式时,需要充分考虑到工程项目的特点和实际情况,合理选择收费方式,以便更好地满足工程项目的审计需求。
三、工程审计费的收费标准。
1. 工程审计费的收费标准应当根据工程项目的具体情况进行制定,一般应当包括审计基本费用、差旅费、材料费等内容。
2. 在制定工程审计费收费标准时,需要充分考虑到审计人员的工作量、工作强度和工作环境等因素,合理确定审计费用的收费标准,以保障审计人员的合理收入和工作积极性。
3. 同时,还需要充分考虑到市场行情和行业标准,合理确定工程审计费的收费标准,以保障审计工作的质量和效果。
四、工程审计费的收费管理。
1. 工程审计费的收费管理是保障审计工作质量和效果的重要环节,需要建立完善的收费管理制度和监督机制,加强对审计费用的核算和使用情况的监督和检查。
2. 在审计费的收费管理过程中,需要严格执行相关规定,杜绝违规操作和不当行为,确保审计费的合理使用和管理。
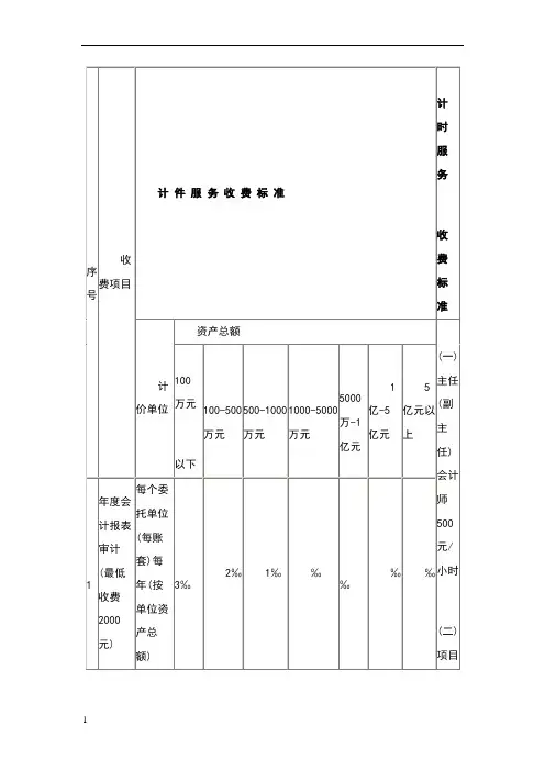
篇一:审计报告收费标准审计报告收费标准图片已关闭显示,点此查看【以上内容由北京正意得会计师事务所提供,转载请注明来源】篇二:年度会计报表审计收费标准年度会计报表审计收费标准一、会计师事务所计件收费标准最低指导价格(新设立公司股东以现金出资的验证服务业务)验证金 50 万 10001 非现金出资额(万元以 51-100 101-200 201-300 301-500 501-1000 1001-2000 2001-3000 3001-5000 5001-10000 万元以的验证业务、元) 下上增资等较复杂的验资项收费不低于目,在上述标 1000 1500 2000 2500 3000 4000 6000 8000 10000 15000(元)20000 准的基础上加收 50。
二、中小型企业年度会计报表审计业务(指资产总额在 10000 万元以下的企业)资产总 10001 300额(万万元 8001-10000 6001-8000 4001-6000 2001-4000 1001-2000 801-1000 701-800 601-700 501-600 401-500 301-400 万元元)以上以下收费工时 30000 25000 20000 15000 10000 8000 7000 6000 5000 4000 3000 2000(元)三、会计师事务所计时收费标准最低指导价格:工时收费标准(元/小时) 主任、副主任会计师事务所:600 部门经理:500 项目经理:400 审计员:200 助理审计员:100深圳会计师事务所热诚为您提供各项审计服务,我们将以更合理的收费接受新老客户委托,欢迎致电咨询。
深圳特区高新技术企业税收优惠高新技术企业除了享受一般工业企业的税收优惠政策外,还可以享受下列税收优惠:1、生产性高新技术企业经营期在 10 年以上的,从开始获利年度起,第 1 年至第 2 年免缴所得税,第 3 至第 8 年减半缴纳所得税。
事务所审计收费标准
一、收费标准。
1、一般审计:以审计费用占被审计单位本年度财务费用总额的比例
作为定价基础,同时参考审计的范围、复杂度等因素而定,一般在2%~4%之间。
2、专项审计:此类审计以它作为定价标准的被审计单位的预算支出、财务数据的复杂性等因素,可以收取比一般审计更高的收费,可在3%~7%之间进行调整。
3、税务审计:以被审计单位确定的税收实缴金额作为定价基础,一
般在0.3%~0.5%之间,特殊情况可以调整,但不能超过1%。
4、其他服务:根据不同服务的范围和复杂程度,可以按时计费或以
小时计费等形式对服务费用进行收取。
二、收费方式。
1、一次性支付:由客户在签订服务协议的时候,一次性支付所需的
全部服务费用。
2、分期付款:由客户分批支付服务费用,一般在审计服务起止期内,客户与审计机构共同确定分期付款的期数和支付时间,客户必须按照约定
时间将服务费用缴纳至指定账户。
3、其他支付方式:客户可以根据自身情况,与审计机构共同约定其
他支付方式,均须经双方协商一致后确定。
财务审计报告收费标准2023
在进行财务审计报告时,报价成为了重要的考量因素之一。
根据市场情况、项目复杂度以及审核范围等因素,2023年的财务审计报告收费标准可能会出现一些变化。
一、一般性收费标准
针对中小型企业的一般性财务审计报告,按照项目的审核工作量和难易程度来定价。
通常情况下,标准的财务审计报告收费在10,000至20,000元之间,具体价格还需根据实际情况进行调整。
二、专项审计收费标准
对于需要进行专项审计的企业,例如财务风险评估、内部控制审计等,收费标准会相对较高。
一般来说,专项审计的收费会在20,000元以上,具体费用取决于审计的复杂性和审核内容的特殊性。
三、税务审计收费标准
税务审计通常指对企业纳税情况的审计。
与一般性财务审计不同的是,税务审计需考虑更多的法律法规因素,因此收费标准较高。
税务审计的收费一般在
30,000元以上,具体价格根据税务风险以及纳税管理情况而定。
四、特殊情况下的收费调整
在特殊情况下,例如项目的时间紧迫、审核范围扩大等情况下,审计机构可能会对收费进行调整。
此时,收费标准可能会在以上基础上有所增加,以应对突发情况所带来的额外成本。
五、结语
综上所述,2023年的财务审计报告收费标准将根据项目的具体情况和市场行情进行合理调整。
企业在选择审计机构时,除了关注价格外,还应考虑机构的专业水平、信誉度等因素,以确保审计工作的顺利进行和审计报告的准确性。
以上为2023年财务审计报告收费标准的简要介绍,希望对您有所帮助。
篇一:审计报告收费标准审计报告收费标准图片已关闭显示,点此查看【以上内容由北京正意得会计师事务所提供,转载请注明来源】篇二:年度会计报表审计收费标准年度会计报表审计收费标准一、会计师事务所计件收费标准最低指导价格(新设立公司股东以现金出资的验证服务业务)验证金 50 万 10001 非现金出资额(万元以 51-100 101-200 201-300 301-500 501-1000 1001-2000 2001-3000 3001-5000 5001-10000 万元以的验证业务、元) 下上增资等较复杂的验资项收费不低于目,在上述标 1000 1500 2000 2500 3000 4000 6000 8000 10000 15000(元)20000 准的基础上加收 50。
二、中小型企业年度会计报表审计业务(指资产总额在 10000 万元以下的企业)资产总 10001 300额(万万元 8001-10000 6001-8000 4001-6000 2001-4000 1001-2000 801-1000 701-800 601-700 501-600 401-500 301-400 万元元)以上以下收费工时 30000 25000 20000 15000 10000 8000 7000 6000 5000 4000 3000 2000(元)三、会计师事务所计时收费标准最低指导价格:工时收费标准(元/小时) 主任、副主任会计师事务所:600 部门经理:500 项目经理:400 审计员:200 助理审计员:100深圳会计师事务所热诚为您提供各项审计服务,我们将以更合理的收费接受新老客户委托,欢迎致电咨询。
深圳特区高新技术企业税收优惠高新技术企业除了享受一般工业企业的税收优惠政策外,还可以享受下列税收优惠:1、生产性高新技术企业经营期在 10 年以上的,从开始获利年度起,第 1 年至第 2 年免缴所得税,第 3 至第 8 年减半缴纳所得税。