机关事业单位新录聘用人员试用期工资审批程序流程图
- 格式:doc
- 大小:21.50 KB
- 文档页数:2
武汉日新科技有限公司新进人员录用及薪酬审批流程第一条审批的对象依据新进人员的录用部门和岗位类别,将其分为两类:1、须总经理审批方可录用的人员,包括公司拟聘用的中高层主管,高级专业技术人员,财务部、人力资源部、企业管理部的人员,以及其他人力资源部认为须总经理审批的人员,为A类人员;2、经人力资源部审批方可录用的人员,包括除上述规定以外的所有公司拟聘用人员,为B类人员。
第二条A类人员审批程序1、A类人员初试、复试现场,用人单位部门主管、部门分管领导分别在《招聘录用审批表》(附件1)上填写面试意见,面试意见包括是否录用、录用岗位、是否互动考察、试用期限、合同期限以及试用薪酬标准和转正薪酬标准,报人力资源部复核;2、人力资源部部长复核后报总经理审批;3、人力资源部招聘主管根据审批意见与拟聘人员进行劳动用工洽谈,同意后安排进行互动考察或试用;4、需进行互动考察的,在互动考察期的第七个工作日,用人单位部门主管、部门分管领导分别填写《互动考察考核表》(见附件2),建议是否予以留用,并报人力资源部复核,同时人力资源部通知互动考察人员离岗;人力资源部部长复核后报总经理审批;人力资源部人事专员根据审批意见安排新员工上岗报到和进行试用;5、A类人员试用期满前两周,人力资源部人事专员组织实施试用转正考核,用人单位部门主管在《试用期转正考核表》(见附件3)上填写转正意见和定薪标准,部门分管领导审核,人力资源部复核后报总经理审批;6、总经理综合各方意见作出是否予以转正的结论,审批转正后薪酬标准;7、人力资源部根据审批意见安排相关工作。
第三条B类人员审批程序1、B类人员初试、复试现场,用人单位部门主管、部门分管领导分别在《招聘录用审批表》上填写面试意见,面试意见包括是否录用、录用岗位、是否互动考察、试用期限、合同期限以及试用薪酬标准和转正薪酬标准,报人力资源部审批;2、人力资源部招聘主管根据审批意见与拟聘人员进行劳动用工洽谈,同意后安排进行互动考察;3、每周末,人力资源部招聘主管汇总本周进行互动考察人员的基本信息填入《新进人员试用期薪酬审批表》(见附件4),报人力资源部部长审核、总经理审批;4、在互动考察期的第七个工作日,用人单位部门主管、部门分管领导分别填写《互动考察考核表》,建议是否予以留用,并报人力资源部复核,同时人力资源部通知互动考察人员离岗;人力资源部人事专员根据审批意见安排新员工上岗报到和进行试用;5、B类人员试用期满前两周,人力资源部人事专员组织实施试用转正考核,用人单位部门主管在《试用期转正考核表》上填写转正意见和定薪标准,部门分管领导审核,人力资源部部长审批;6、每周末,人力资源部人事专员汇总本周试用考核合格人员的基本信息填入《新进人员转正薪酬审批表》(见附件5),报人力资源部部长审核、总经理审批。
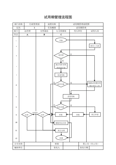
面试流程图(图1)员工试用实施细则第一章总则第一条目的为规范使用期员工的管理和辅导工作,创造良好的试用期工作环境,加速试用期员工的成长和进步,特制定本细则。
第二条使用范围本细则适用于公司处于试用期内的员工及入职指引人员的工作。
第二章员工试用规定第一条试用期起止时间1.自员工报到之日起至行政人事部确认员工转正之日止。
2.2自员工试用期限以劳动合同约定的期限为准,但本公司有权限根据试用期员工具体表现提前或推迟转正。
3.第二条薪酬待遇1.工资标准按入职时签订的试用合同执行,核算时间从到岗工作之日起计算。
第三条休假1.试用期内累计事假不能超过三天,如遇特殊情况超过三天需报公司领导批准。
2.可持相关证明请病假,请假程序和天数与正式员工一致。
3.可请丧假,请假程序和天数与正式员工一致。
4.不享受探亲假、婚嫁。
第三章员工入职准备第一条试用期员工本人准备1.入职时,员工需准备好下列个人资料:A.身份证复印件一份,原件待查。
B.学历证明复印件一份,原件待查。
C.部分职位试用期员工还需准备本人职称证书等。
D.本人户口本首页及本人页的复印件。
2.了解公司基本情况,产品知识等,作好入职心理准备。
第二条人力资源部准备工作1.招聘时要让试用期员工真正了解企业目前的情况、工作的性质和内容,使试用期员工在入职前对公司和自己的工作职责有较真实、准备的了解。
2.招聘人员与试用期员工进行入职洽谈,明确其岗位所在的部门、薪资和福利待遇、工作时间、职责、入职报道需准备的事项等。
3.招聘人员就新员工的入职时间、入职指引等与用人部门做好协商工作。
4.招聘人员在新员工报道前一天准备好入职时签订的《试用期劳动合同》等相关文书。
5.准备好《员工手册》。
6.行政人事部在新员工报道前一天按照用人部门需求与公司规定准备行政物资。
第三条用人部门准备工作1.部门负责任要事先了解试用期员工的工作经历、教育程度与其所受的专业训练。
2.行政人事部协助用人部门准备好试用期员工工作职责说明。
工资福利及离退休管理工作流程一、机关事业单位工作人员职务晋升后的工资处置单位到人事部门领取调整工资表格→按照本人档案、职务发布时刻(专业技术职务聘历时刻)和现行工资情形,肯定相应的工资额并填写好表格后→带职务发布令、专业技术职务资格证书或发布资格文件、聘用备案表和聘用手续,到人事部门进行审批。
审批文件依据:鲁人薪[1994]13号《中共山东省委组织部、山东省人事厅关于机关事业单位工作人员职务晋升后肯定工资的暂行规定》。
二、机关事业单位调动工作人员的工资肯定程序单位按照职务(职位)变更情形,填写《机关事业单位调动工作人员肯定工资审批表》一式两份→带本人档案、《编制许可证》、发布令、工资转移单,到人事部门审批。
企业调入人员肯定工资时,第一明确调入的单位性质、调动后的职务(职位)→按照本人档案和相关文件填写《机关事业单位调动工作人员肯定工资审批表》一式两份→带本人档案、《编制许可证》、原企业单位1994年以来的考核情形证明和工资转移单,到人事部门审批。
审批文件依据:鲁人薪[1994]14号《山东省人事厅关于机关事业单位工作人员调动工作后肯定工资的暂行规定》。
三、大中专毕业生参加工作后见习期工资和定级工资审批程序新参加工作的大中专毕业生见习期满后由单位对其考核鉴定,提出是不是按期转正定级的意见→填写《高中等学校毕业生见习期考核鉴定表》一式一份、《高中等学校毕业生转正定级审批表》一式两份→带本人档案、毕业证书、毕业生分派报到证及《编制许可证》,报人事部门审批。
审批文件依据:鲁人薪[1994]3号《山东省人事厅关于印发机关事业单位工作人员工资制度改革实施意见的通知》。
四、新招收录用工人学徒期(熟练期、试用期)工资和定级工资的审批程序新招收录用的工人,学徒期、熟练期、试用期满后转正定级时、各单位要对其考核并提出是不是按期定级意见→填写《工人转正定级表》一式两份→带本人档案、《编制许可证》,有中专以上学历的带毕业证书报人事部门审批。
辞职辞退工作流程图8公务员培训工作流程图9政府系统公务员(参照公务员法管理事业单位工作人员)科员和办事员任职工作流程图10政府成员单位科级领导人事任免流程图公务员和事业单位工作人员考核工作流程图行政机关事业单位临时用工计划审批工作流程图12公务员(含参照管理单位工作人员)登记审核工作流程图13申请参照公务员法管理事业单位审核工作流程图14政府系统公务员和事业单位工作人员学历更改工作流程图15行政奖励项目审核工作流程图招录公务员计划审核工作流程图17公务员管理的监督检查工作流程图18机关事业单位工作人员惩戒工作流程图19机关工勤人员和事业单位工作人员缓刑期满重新安排工作流程图20机关事业单位工作人员请假审批工作流程图21机关事业单位人员调动流程图22军队转业干部安置流程图23党政机关招录工勤人员流程图24事业单位公开招聘工作人员流程图25非师范类大中专毕业生就业派遣流程图26事业单位聘用制工作的监督检查流程图2728“三支一扶”高校毕业生考核、招募和管理流程图1、市级“三支一扶”计划流程图2、省级“三支一扶”计划流程图29事业单位聘用制实施方案审核流程图3031初级专业技术职务任职资格审批程序流程图中、高级专业技术职务预审推荐程序流程图32各类职称考试报名资格审核程序流程图33继续教育办班审批程序流程图34继续教育学时登记验证程序流程图35事业单位岗位设置方案审批程序流程图36事业单位岗位聘用认定程序流程图37初级评委会(库)组建程序流程图38大中专毕业生(研究生)确定专业技术职务任职资格审批程序流程图39专业技术人员变动工作岗位职称确认程序流程图40专业技术人员转换系列及引进(调入)职称确认程序流程图41人事代理服务工作流程图42事业单位人员聘用合同登记鉴证流程图43行政处罚流程图44举办人才招聘洽谈会的审批流程图45人才招聘广告的审批流程图46流动人员的人事档案管理流程图4748流动人员档案转递流程图机关事业单位工作人员收入分配制度改革(事业单位调整标准)审批业务流程图49机关事业单位工作人员工资变动审批流程图(正常晋升、级别变动、职务变动、岗位变动、工人等级升级、辞职、辞退、退休、在职死亡)应携带材料1.正常晋升(级别变动):年度考核结果2.职务(岗位)变动:任职(聘用)文件3.工人等级升级:机关:等级证书,事业:等级证书和聘用文件4.辞职、辞退、退休、在职死亡:携带辞职、辞退、退休文件、死亡证明50机关事业单位新录(聘)用人员试用期工资审批程序流程图51机关事业单位新录(聘)用人员转正定级工资审批程序流程图52机关事业单位工作调动人员工资确定审批程序流程图53机关事业单位处分人员工资确定审批程序流程图54机关事业单位工作人员津贴补贴教(护)龄、特级教师津贴审批流程图55机关事业单位工作人员年终一次性奖金(事业单位绩效工资)审批流程图56机关事业单位工作人员工龄认定工作流程图携带材料:1、临时工录用:临时工工资发放花名册2、原在国有企业:领取经济补偿金发票3、大学生志愿者:股务期间的合同4、辞职、辞退及自动离职:原辞职、辞退及自动离职文件57。
人员招聘录用程序流程图1.规划招聘需求-根据组织发展战略和业务需求,确定所需人员的数量、职位和能力要求。
-内部审查当前员工的情况,确定是否需要进行内部招聘。
2.制定招聘计划-根据招聘需求,制定具体的招聘计划,包括招聘目标、招聘渠道、招聘时间和招聘预算等。
3.编制招聘文案-根据招聘职位的要求和岗位描述,编写招聘广告文案。
-将招聘广告发布在各个招聘渠道上,如招聘网站、社交媒体、校园招聘等。
4.筛选简历-收集应聘者的简历和申请材料。
-对简历进行初步筛选,根据招聘职位的要求和岗位描述,确定符合条件的候选人。
5.进行面试-安排面试时间和地点,通知候选人参加面试。
-面试官根据面试评估表对候选人进行评估,综合考虑其能力、经验和个人素质等。
6.进行背景调查-针对通过面试的候选人,进行背景调查,包括教育经历、工作经历和个人信用等方面。
7.确定录用人选-综合考虑候选人的面试结果和背景调查信息,确定最适合的人选。
-根据招聘职位的要求、薪资标准和福利待遇等,与候选人进行薪资谈判和条件沟通。
8.发送录用通知-向录用人发出录用通知书,说明录用条件和工作细节。
-确保录用人对录用通知的接受,并签署相关的劳动合同。
9.完成入职手续-安排新员工进行入职培训,介绍组织的背景、文化和规章制度等。
10.进行入职安排-安排新员工的工作岗位和工作任务。
-分配辅导员工,帮助新员工融入组织并尽快适应工作。
11.跨部门协调-员工招聘和录用可能涉及多个部门的合作,如人力资源部门、财务部门和法务部门等。
-确保不同部门之间的协调和配合,以保证招聘和录用流程的顺利进行。
12.监督和评估-对招聘和录用流程进行监督和评估,总结经验教训,以不断改进和提高招聘质量和效率。
人员招聘录用程序是一个复杂的过程,涉及到多个环节和多个参与者。
通过制定合理的流程,可以确保人员招聘过程的公平、公正和透明,同时提高招聘的质量和效率。
这个流程图可以作为组织招聘人员时的参考和指导,帮助组织更好地管理和运营人力资源。
事业单位工资审批流程及步骤The salary approval process in public institutions is crucial for ensuring fairness and transparency in the distribution of funds. 事业单位的工资审批流程对于确保资金分配的公平性和透明度至关重要。
By following a standardized procedure, organizations can uphold principles of equity and accountability in compensating their employees. 遵循标准化程序,组织可以在为员工提供补偿时维护公平和责任的原则。
The first step in the salary approval process typically involves the submission of a salary proposal by the relevant department or manager. 工资审批流程的第一步通常涉及相关部门或经理提交工资提案。
This proposal outlines the details of the employee's job duties, qualifications, and performance, which serve as the basis for determining the appropriate salary level. 这份提案概述了员工的工作职责、资格和表现等细节,这些内容为确定适当的工资水平提供了依据。
Once the proposal is submitted, it undergoes a thorough review process by the human resources department or a designated review committee. 提案提交后,人力资源部门或指定的审查委员会将对提案进行彻底审查流程。
薪资调整审批流程图模板薪资调整是公司管理的一项重要工作,为了规范薪资调整流程、提高决策的透明度和效率,建立一个清晰的审批流程是必要的。
下面是一个薪资调整审批流程图模板的示范:[请在此处插入薪资调整审批流程图模板]薪资调整审批流程图模板介绍:1. 提交申请:员工向直属上级提交薪资调整申请,申请中需包括调整幅度、调整原因等信息。
2. 初步审核:直属上级对申请进行初步审核,核实申请信息的准确性以及符合公司薪资调整政策。
3. 部门经理审核:部门经理对初步审核通过的申请进行审核,并根据员工表现、市场薪酬水平等进行综合评估。
4. 薪资调整委员会评审:由薪资调整委员会对部门经理审核通过的薪资调整申请进行评审,并提出审批意见。
5. 高级管理层审批:高级管理层根据薪资调整委员会的评审意见进行审批决策,决定是否批准薪资调整。
6. 通知员工:根据审批结果,直属上级通知员工薪资调整的具体情况,并将薪资调整变更记录到相关系统中。
7. 调整生效:薪资调整生效后,财务部门根据新的薪资标准进行工资核算和支付。
8. 记录和归档:相关部门将薪资调整申请、评审意见、审批记录等归档保存,以备将来参考和审核之用。
薪资调整审批流程图模板的优势:1. 明确责任和权限:流程图明确了每个环节的责任人和权限范围,使得整个流程更加规范和透明。
2. 提升决策效率:流程图中流程清晰,决策过程高效,减少了调整申请在审核和审批过程中的滞留时间。
3. 审批结果可追溯:流程图记录了每个环节的审批意见和决策结果,方便之后进行审计和复核。
4. 支持决策依据:流程图中的评审环节允许不同部门参与,提供了多方意见,为决策者提供了参考依据。
总结:通过建立薪资调整审批流程图模板,可以使公司薪资调整工作更加规范、高效、公正。
每个环节的责任人和权限都得到明确,决策过程变得透明,为员工的薪资调整提供了明确的依据。
同时,审批结果的记录和归档也为未来的审计和复核提供了方便。
公司可以根据自身情况和要求,进行相应的修改和应用,使薪资调整审批流程图模板更符合实际工作需求。
武汉日新科技有限公司新进人员录用及薪酬审批流程第一条审批的对象依据新进人员的录用部门和岗位类别,将其分为两类:1、须总经理审批方可录用的人员,包括公司拟聘用的中高层主管,高级专业技术人员,财务部、人力资源部、企业管理部的人员,以及其他人力资源部认为须总经理审批的人员,为A类人员;2、经人力资源部审批方可录用的人员,包括除上述规定以外的所有公司拟聘用人员,为B类人员。
第二条A类人员审批程序1、A类人员初试、复试现场,用人单位部门主管、部门分管领导分别在《招聘录用审批表》(附件1)上填写面试意见,面试意见包括是否录用、录用岗位、是否互动考察、试用期限、合同期限以及试用薪酬标准和转正薪酬标准,报人力资源部复核;2、人力资源部部长复核后报总经理审批;3、人力资源部招聘主管根据审批意见与拟聘人员进行劳动用工洽谈,同意后安排进行互动考察或试用;4、需进行互动考察的,在互动考察期的第七个工作日,用人单位部门主管、部门分管领导分别填写《互动考察考核表》(见附件2),建议是否予以留用,并报人力资源部复核,同时人力资源部通知互动考察人员离岗;人力资源部部长复核后报总经理审批;人力资源部人事专员根据审批意见安排新员工上岗报到和进行试用;5、A类人员试用期满前两周,人力资源部人事专员组织实施试用转正考核,用人单位部门主管在《试用期转正考核表》(见附件3)上填写转正意见和定薪标准,部门分管领导审核,人力资源部复核后报总经理审批;6、总经理综合各方意见作出是否予以转正的结论,审批转正后薪酬标准;7、人力资源部根据审批意见安排相关工作。
第三条B类人员审批程序1、B类人员初试、复试现场,用人单位部门主管、部门分管领导分别在《招聘录用审批表》上填写面试意见,面试意见包括是否录用、录用岗位、是否互动考察、试用期限、合同期限以及试用薪酬标准和转正薪酬标准,报人力资源部审批;2、人力资源部招聘主管根据审批意见与拟聘人员进行劳动用工洽谈,同意后安排进行互动考察;3、每周末,人力资源部招聘主管汇总本周进行互动考察人员的基本信息填入《新进人员试用期薪酬审批表》(见附件4),报人力资源部部长审核、总经理审批;4、在互动考察期的第七个工作日,用人单位部门主管、部门分管领导分别填写《互动考察考核表》,建议是否予以留用,并报人力资源部复核,同时人力资源部通知互动考察人员离岗;人力资源部人事专员根据审批意见安排新员工上岗报到和进行试用;5、B类人员试用期满前两周,人力资源部人事专员组织实施试用转正考核,用人单位部门主管在《试用期转正考核表》上填写转正意见和定薪标准,部门分管领导审核,人力资源部部长审批;6、每周末,人力资源部人事专员汇总本周试用考核合格人员的基本信息填入《新进人员转正薪酬审批表》(见附件5),报人力资源部部长审核、总经理审批。
事业单位新进职称工资审批流程下载温馨提示:该文档是我店铺精心编制而成,希望大家下载以后,能够帮助大家解决实际的问题。
文档下载后可定制随意修改,请根据实际需要进行相应的调整和使用,谢谢!并且,本店铺为大家提供各种各样类型的实用资料,如教育随笔、日记赏析、句子摘抄、古诗大全、经典美文、话题作文、工作总结、词语解析、文案摘录、其他资料等等,如想了解不同资料格式和写法,敬请关注!Download tips: This document is carefully compiled by theeditor. I hope that after you download them,they can help yousolve practical problems. The document can be customized andmodified after downloading,please adjust and use it according toactual needs, thank you!In addition, our shop provides you with various types ofpractical materials,such as educational essays, diaryappreciation,sentence excerpts,ancient poems,classic articles,topic composition,work summary,word parsing,copy excerpts,other materials and so on,want to know different data formats andwriting methods,please pay attention!事业单位新进职称工资审批流程一、准备工作阶段。
在进行事业单位新进职称工资审批之前,需要进行充分的准备工作。
薪酬管理流程实例:新员工薪资确定+员工调薪审批实例一:新员工薪资确定流程在薪酬确定环节中,新员工薪资确定是其中一个关键点,具体的薪酬管理流程包括以下几个环节。
(一)管理流程基本情况流程名称:新员工薪资确定流程流程所属管理范畴:人力资源管理——薪酬管理——薪资确定管理流程制定部门:人力资源部薪酬部流程制定人:薪酬部经理流程审批人:人力资源部总经理流程执行人:人力资源部招聘部招聘专员流程使用表格:《新员工入职定薪表》流程生效时间:XXXX年XX月XX日(二)管理流程图(三)管理流程规范说明新员工薪资确定流程执行的具体规范包括以下几个方面招聘专员对入职候选人进行甄选时,与候选人商谈薪资情况;招聘专员就与候选人商谈的薪资情况与其应聘职位的直属上级进行交流;如果直属上级不同意执行此薪资标准,则招聘专员继续与候选人进行商谈或者放弃候选人如果直属上级同意此薪资标准,则招聘专员填写《新员工入职定薪表》,按照表格要求逐项进行填写,其中注意写明薪资的试用标准与转正标准,以及薪资的具体金额及职位等级;根据《新员工入职定薪表》的内容进行逐级审批,审批流程为候选人直属上级——部门经理——事业部总经理——人力资源薪酬部经理——人力资源总经理——总经理;在审批过程中,如果某一环节未通过,招聘专员需要及时将信息反馈至前一级审批人,并及时与候选人进行商谈或者放弃候选人;经所有审批人通过后,招聘专员向候选人发送OFFER,OFFER的格式使用通用格式,其中要标明候选人的试用期薪资金额、转正后薪资金额及试用转正考核的条件。
实例二:员工调薪审批流程(一)管理流程基本情况流程名称:直属上级提出员工调薪申请审批流程流程所属管理范畴:人力资源管理——薪酬管理——薪资调薪管理流程制定部门:人力资源部薪酬部流程制定人:薪酬部经理流程审批人:人力资源部总经理、公司总经理流程执行人:人力资源部招聘部薪酬专员流程使用表格:《调薪申请审批表》流程生效时间:XXXX年XX月XX日(二)管理流程图(三)管理流程规范说明新员工薪资确定流程执行的具体规范包括以下几个方面招聘专员对入职候选人进行甄选时,与候选人商谈薪资情况;招聘专员就与候选人商谈的薪资情况与其应聘职位的直属上级进行交流;如果直属上级不同意执行此薪资标准,则招聘专员继续与候选人进行商谈或者放弃候选人如果直属上级同意此薪资标准,则招聘专员填写《新员工入职定薪表》,按照表格要求逐项进行填写,其中注意写明薪资的试用标准与转正标准,以及薪资的具体金额及职位等级;根据《新员工入职定薪表》的内容进行逐级审批,审批流程为候选人直属上级——部门经理——事业部总经理——人力资源薪酬部经理——人力资源总经理——总经理;在审批过程中,如果某一环节未通过,招聘专员需要及时将信息反馈至前一级审批人,并及时与候选人进行商谈或者放弃候选人;经所有审批人通过后,招聘专员向候选人发送OFFER,OFFER的格式使用通用格式,其中要标明候选人的试用期薪资金额、转正后薪资金额及试用转正考核的条件。