人力资源部组织结构图
- 格式:doc
- 大小:14.50 KB
- 文档页数:1
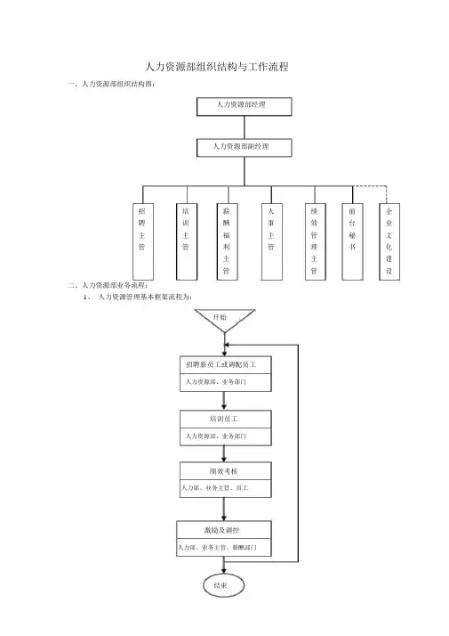
人力资源部组织结构与工作流程一、人力资源部组织结构图:人力资源部经理人力资源部副经理招培薪人绩前企聘训酬事效台业主主福主管秘文管管利管理书化主主建管管设二、人力资源部业务流程:1、人力资源管理基本框架流程为:开始招聘新员工或调配员工人力资源部、业务部门培训员工人力资源部、业务部门绩效考核人力部、业务主管、员工激励及调控人力部、业务主管、薪酬部门结束2、每一块工作相应的子流程如下:招聘流程:(见图 2.1)培训流程:(见图 2.2)开始人力资源规划及招聘需求提出公司各部门、招聘主管招聘需求评估经理层、人力资源部重提需求是否否通过取消招聘是结束招聘初级面试人力部招聘主管招聘复试(可多级复试)人员需求部门主管、人力部经理是否否合格是签定接收合同,转入试用期人力资源部、新员工结束开始培训需求调查人力资源部培训主管培训计划拟订人力资源部培训计划评审人力部、业务主管、员工重拟计划是否否通过是培训组织实施人力资源部结束图 2.2 培训工作流程图图 2.1 招聘工作流程图绩效管理流程:(见图 2.3)薪酬管理流程:(见图 2.4)开始开始制定年度规划及目标任务书薪酬现状评估与市场调查公司各部门、人力资源部人力资源部季度目标任务书公司薪酬调整方案公司各部门、人力资源部人力资源部月度工作计划方案评审公司各部门、人力资源部公司高层管理者循环循重拟环月度工作总结方案是否否公司各部门、人力资源部通过季度考核是人力资源部、公司各部门薪酬方案调整及执行人力资源部、财务部年度总评人力资源部、公司各部门结束结束图 2.4 薪酬管理工作流程图图 2.3 绩效管理工作流程图职位人数设所谓职位说明书,主要是针对职位的职责、衡量标准、在流程和组织架构中的位置、置、任职资格设置等所做的一个文本化的说明书,对岗不对人。
仅做模版说明,供附件是我在海虹医药时简要做的薪酬主管职位说明书和人力资源部工作流程,参考。
我的意见还是要先把公司的主业务流程画出来,然后描述出主业务流程涉及的几个大的工作流程,再到每个环节的小流程,可以细到每个环节需要怎样分配资源。
小型企业人力资源组织结构图中型企业人力资源组织结构图大型企业人力资源组织结构图集团人力资源组织结构图人力资源部组织架构与职位说明人力资源部组织架构图职位系列说明:分工主管任职资格说明专业:对专业工作有比较深入的理解,熟悉实际工作环节和工作流程,了解相关法律规范和政策,与外部工作单位有比较良好的合作关系能力:具有较强的实际组织力、协调力和计划力兴趣:对专业工作有浓厚的兴趣心理状态:心理成熟、稳定,态度认真、踏实,富有社会责任感和工作责任感招聘主管职位说明书工作代码:(略)职位名称:招聘主管所属部门:人力资源部级别:(略)薪资范围:(略)职位说明:在了解公司各部门人事需求的基础上,按照人力资源招聘计划和职位说明书的具体要求,组织人员招聘公告、测试、面试和初审工作。
工作联系:上报对象:主管招聘与培训业务的经理助理监督对象:招聘助理合作对象:本部门各分管主管和其他部门经理与主管外部联系对象:外部求职网站、人才交流中心、招聘代理机构和高校就业指导中心以及各类招聘广告媒体等工作职责:1、了解人事需求(1)按照公司人力资源计划,向各部门经理与主管了解人事需求(2)进行人事需求汇总,并提出外部招聘意见(3)将需求汇总和建议上报主管经理助理2、制订招聘计划(1)确定招聘时间和最后上岗时间(2)确定合适的招聘媒体和招聘渠道(3)拟定初试、面试方式及内容(4)拟订招聘日程安排:A发布招聘公告;B接受应聘简历;C审核简历;D通知初试;E安排初试;F通知面试;G组织面试;H面试结果分析与审核;J入职人员名单确认;H通知上岗;I确认上岗人员和时间(5)上报招聘计划3、制定招聘预算计划(1)按招聘计划制定招聘预算(2)向主管经理助理上报预算计划4、计划确认后,及时向公司所在地人事行政部门申报招聘计划5、组织招聘初试和面试工作(1)与相关职能部门确定初试内容,并共同组织初试测试(2)汇总分析初试结果,并与有关职能部门确认参加面试名单(3)将初试结果和分析以及建议上报主管经理助理(4)在面试名单正式确认后,发布面试通知(5)筹备面试准备工作,配合面试评审小组开展面试工作(6)配合面试评审小组整理和分析面试结果6、在入职名单确认后,发布入职通知7、及时跟踪被通知人员,确认最终到岗人员和时间,并通知各职能部门和培训主管8、参与公司人力资源计划的制定,并提出建议9、搜集外部信息(1)与招聘网站、人才交流中心、猎头公司确立良好的合作发展关系,相互共享信息(2)了解外部招聘媒体情况,并对其有效性进行评估工作规范:劳动法、相关地方人事和用工条例、职员手册、招聘管理工作规范培训主管职位说明书工作代码:(略)职位名称:培训主管所属部门:人力资源部级别:(略)薪资范围:(略)职位说明:在了解公司内部培训需求的基础上,依据公司战略发展计划拟订公司培训计划和职业发展计划,并按计划组织和开发各项培训课程,以达到公司的目的和职员的期望要求。
奔波在俗世里,不知从何时起,飘来一股清流,逼着每个人优秀。
人过四十,已然不惑。
我们听过别人的歌,也唱过自己的曲,但谁也逃不过岁月的审视,逃不过现实的残酷。
如若,把心中的杂念抛开,苟且的日子里,其实也能无比诗意。
借一些时光,寻一处宁静,听听花开,看看花落,翻一本爱读的书,悟一段哲人的赠言,原来,日升月落,一切还是那么美。
洗不净的浮沉,留给雨天;悟不透的凡事,交给时间。
很多时候,人生的遗憾,不是因为没有实现,而是沉于悲伤,错过了打开心结的时机。
有人说工作忙、应酬多,哪有那么多的闲情逸致啊?记得鲁迅有句话:“时间就像海绵里的水,只要挤总是有的。
”不明花语,却逢花季。
一路行走,在渐行渐远的时光中,命运会给你一次次洗牌,但玩牌的始终是你自己。
坦白的说,我们遇到困扰,经常会放大自己的苦,虐待自己,然后落个遍体鳞伤,可怜兮兮地向世界宣告:自己没救了!可是,那又怎样?因为,大多数人关心的都是自己。
一个人在成年后,最畅快的事,莫过于经过一番努力后,重新认识自己,改变自己。
学会了独自、沉默,不轻易诉说。
因为,更多的时候,诉说毫无意义。
伤心也好,开心也好,过去了,都是曾经。
每个人都要追寻活下去的理由,心怀美好,期待美好,这个世界,就没有那么糟糕。
或许,你也会有这样的情节,两个人坐在一起,杂乱无章的聊天,突然你感到无聊,你渴望安静,你想一个人咀嚼内心的悲与喜。
透过窗格,发着呆,走着神,搜索不到要附和的词。
那一刻,你明白了,这世间不缺一起品茗的人,缺的是一个与你同步的灵魂。
没有了期望的懂,还是把故事留给自己吧!每个人都是一座孤岛,颠沛流离,浪迹天涯。
有时候,你以为找到了知己,其实,你们根本就是两个世界的人。
花,只有在凋零的时候,才懂得永恒就是在落红中重生;人,只有在落魄的时候,才明白力量就是在破土中崛起?.因为防备,因为经历,我们学会了掩饰,掩饰自己内心的某些真实,也在真实中,扬起无懈可击的微笑,解决一个又一个的困扰。
人生最容易犯的一个错误,就是把逝去的当作最美的风景。
人力资源公司组织架构总体介绍人力资源公司组织架构是指公司内部各部门和岗位之间的关系和职责分工的图表或描述。
它是人力资源公司高效运作的基石,为实现公司的人力资源管理目标提供了基本框架。
本文将介绍一个typcial 人力资源公司的组织架构。
组织架构图// 在此插入你的组织架构图组织架构解析高级管理层人力资源公司的高级管理层由公司的创始人、总经理和其他高管组成。
他们负责制定公司的战略目标和决策,并对公司整体的运营和发展负有最终责任。
功能部门人力资源部人力资源部负责招聘、员工福利、培训和绩效评估等员工相关事宜。
该部门的职责包括制定招聘策略、管理员工福利计划、设计培训方案以及评估员工的工作表现。
薪酬与福利部薪酬与福利部负责管理公司的薪酬制度和福利计划。
他们会根据市场薪酬水平制定薪资标准,并处理员工的薪资支付、绩效奖金和其他福利事宜。
组织发展部组织发展部负责公司的发展战略和员工发展计划。
他们会评估公司的组织结构和流程,并设计和推出培训和发展项目,以提高员工的能力和效率。
劳动关系部劳动关系部负责处理公司与员工和工会之间的关系。
他们会管理劳动合同、处理劳动纠纷,并确保公司遵守当地劳动法规。
业务部门招聘部招聘部门负责招聘和录用合适的人才。
他们会根据公司的需求,制定招聘计划,并通过各种渠道寻找合适的候选人。
培训部培训部门负责培养和提升公司员工的技能。
他们会根据员工的需求和公司的战略目标,设计培训方案,并组织各类内部和外部培训活动。
绩效管理部绩效管理部门负责评估员工的工作表现,并制定激励和奖励措施。
他们会通过设定目标和进行定期评估,确保员工的工作表现与公司的目标相一致。
员工关系部员工关系部门负责处理员工的问题和需求。
他们会组织员工活动、处理员工的投诉和建议,并维护一个良好的员工关系氛围。
结论人力资源公司组织架构是公司高效运作的基础。
通过清晰的组织架构和明确的职责分工,各部门可以有效协作,以实现公司的人力资源管理目标。
人力资源协会组织结构监督委员会工作职责:1.依制度监督会长及协会各部门各组负责人工作,保证工作的顺利进行;2.对协会出现的各种现象及问题高度重视,查明原因并予以妥善处理;3.如出现重大责任事件,可依制度立即罢免当事人一切职务,清出协会;4.随时检查会长及协会各部门负责人工作,出现问题及时令其改正;5.监委要求工作仔细,行事有例有据,做到公平、严格。
职权:1.依制度罢免或清除会员;2.依制度下达改进通知书;3.协会会员无条件接受其对工作的检查。
上级部门对全体会员负责,接受全体会员的监督和考评。
下属部门:无,行使监督权部门性质:独立部门产生条件:1.监督委员会由老师指定一名主任委员牵头,各部门选一位会员担任委员;2.监委任期为一年,可连续二次任期(任期时间:1月1日至12月31日);3.提名按差额投票决定监委人选,投票时间每年12月20日到21日;4.如监委因个人原因不能履行职务时由监督委员会临时指派人员担任,原则上指派部门副职直到选举。
罢免:因工作出现重大问题,由协会全体大会依制度予以罢免。
会长工作职责:1.负责协会全面管理工作,接受监督委员会的监督;2.制定团队工作目标和工作计划,并组织实施,对各部门负责人进行月度、年度综合考评,将考评情况存档;3.负责监管各部门工作,有责任使各部门高效正常运转;4.负责协调和监管各部门工作,调动各组的积极性,熔炼高效团队;5.随时了解各部门的人员及工作情况,每月向监督委员会汇报。
职权:1.有权指派协会中任何部门和个人完成各项工作,会员必须服从安排;2.各部门必须配合其完成工作;3.依制度批准和免除各部门负责人,并向监督委员会;4.对不服从管理的会员可依制度清出团队,并向监督委员会。
上级部门:监督委员会,会长接受监督委员会的监督与考评,对全体会员负责。
下属部门:办公室、培训部、项目部、信息部、实践部、学习部部门性质:最高管理机构产生条件:1.选举产生,任期为一学期,可连续二次任期,正常卸任后可直接进入监督委员会;(任期时间:2月1日至7月31日,8月1日至1月31日)2.竞选人必须担任过部门负责人,竞选时间在每年1月10日至12日,7月1日至3日;3.如副会长因个人原因不能履行职务时由监督委员会临时指派人员担任,原则上指派部门负责人担任。
工程项目人力资源组织架构图1. 引言本文档旨在描述工程项目人力资源组织架构图,通过清晰的组织结构图,展示人力资源部门和人员的层级关系,以便更好地管理和协调工程项目的人力资源。
2. 组织架构图下图是工程项目人力资源组织架构图的示例:3. 组织结构解析3.1 项目经理项目经理是整个项目的核心人物,负责统筹协调项目的各个方面。
他/她与客户、供应商以及其他利益相关方保持紧密联系,并确保项目按照计划顺利进行。
3.2 人力资源部门人力资源部门负责项目的人力资源规划和管理。
下属有以下几个职位:3.2.1 人力资源经理人力资源经理负责制定并执行人力资源策略,确保合适的人才参与到项目中,并提供必要的培训和发展机会,以提高团队的整体能力。
3.2.2 人力资源专员人力资源专员协助人力资源经理,负责招聘、录用和员工离职手续的办理。
同时,他们还负责项目团队的绩效管理和员工关系维护。
3.3 项目团队项目团队是工程项目中的核心力量,下属有以下几个职位:3.3.1 项目工程师项目工程师是负责项目具体工程实施的核心成员。
他们负责制定工作计划、调配资源、监督工作进度,并解决技术问题。
3.3.2 项目协调员项目协调员负责协调各个工作组之间的沟通和合作,并与项目经理保持密切联系,及时反馈项目进展情况。
3.3.3 工程技术人员工程技术人员负责具体的工程施工工作,根据项目要求完成相应的设计、施工和测试工作。
4. 总结通过清晰的组织架构图,可以清楚地展示工程项目中人力资源部门和团队的层级关系,从而更好地协调和管理项目。
合理的人力资源组织结构能提高项目的执行效率,确保项目按时完成,并为项目成功提供坚实支持。
注意:以上组织架构图仅为示例,实际情况根据具体项目的规模和特点进行灵活调整。
人力资源逻辑框架图前段时间有很多人问人力资源逻辑框架是什么样子的,刚好有机会系统梳理一下,不废话直奔主题,就是下图。
一、组织架构组织是承接战略的唯一载体,有效的人力资源管理运作都是建立在健康良性且合理的组织设计基础上的。
所以组织设计是基础核心部分,是人力资源管理体系的第一步。
组织架构不是一成不变的,而是需要随着战略方向与业务模式的变化而不断调整。
以前我也说过,我们只是在特定的时间和阶段给组织结构拍了一张照片而已,实际上在一直不停的变化、异动、成长。
随着市场竞争和业务模式的变化发展,组织对结构提出更高的要求:架构清晰、职责明确、文化统一、高效协作、机动灵活等。
1、基于目标组织设计应先明确组织目标、突出组织的核心能力。
按照价值链逻辑:研发能力、供应链能力、营销能力、抑或是增值的采购、服务能力?2、基于现状在明确核心能力要求后,应该对自身的组织能力现状进行分析,发现能力短板,明确需要重点提升的能力,为组织架构设计及调整提供输入。
同时针对所有待加强的职能模块进行重要性及紧迫性分析,判断出该组织最为需要提升的组织能力领域。
可以按照重要性和紧迫性来进行取舍。
3、原则明确在明确目标和差距后,组织设计还要遵循扁平高效、责权明确、动态灵活、限定管理幅度一般性原则,才能称之为一个优化、合理的组织设计方案。
4、结构清晰组织设计的最后一个要素是确定适用于自己的组织架构。
职能型、事业部型、矩阵型、项目型……二、职位体系确定组织架构之后,为了进一步将组织职能分解、落实到人,需要完成重要的一环——职位体系建设。
岗位是人力资源管理的最小单元,职位分析是人才资源的基础工作,角色分析是职位承接核心能力的桥梁。
1、岗位职责界定(ARCPI、)A审批(Approval-Veto):审核以批准或否决的权利。
R主要负责(responsibility):负责启动并跟踪某一活动,并确保该活动的顺利完成,对该活动的结果负责。
主要是“管理”该活动,不一定需要亲自完成它。
装饰公司人力组织结构图背景随着装饰公司规模的不断扩大和业务的不断发展,人力资源的管理也变得越来越重要。
为了更好地管理和分配人力资源,公司需要建立有效的组织结构图,使之更加合理和有效。
组织结构图总体组织结构装饰公司的总体组织结构如下:•董事会•总经理办公室•行政部•财务部•人力资源部•技术部•项目部总体组织结构图总体组织结构图以上是装饰公司的总体组织结构,下面对每个部门的职责和人员分配进行详细介绍。
行政部行政部是公司的行政管理和后勤保障部门,主要职责包括:•策划、管理公司行政工作;•对外协调、沟通公司相关事宜;•办公用品采购和设施维护。
行政部人力资源组织结构如下:•行政主管•行政专员•行政助理财务部财务部是公司财务管理和控制部门,主要职责包括:•统筹公司的财务预算和资金使用;•审核和监督公司的财务收支;•维护公司的会计制度和财务运作秩序。
财务部人力资源组织结构如下:•财务总监•财务经理•财务专员•出纳人力资源部人力资源部是公司人事管理部门,主要职责包括:•录用、培训、晋升和离职等人事管理工作;•维护公司的人力资源管理制度;•统筹公司的组织架构和人力资源开发规划。
人力资源部人力资源组织结构如下:•人力资源总监•人力资源经理•人力资源专员•招聘专员技术部技术部是公司技术研发和创新驱动部门,主要职责包括:•优化公司技术研发和创新流程;•技术攻关、技术推广和技术支持等相关工作。
技术部人力资源组织结构如下:•技术总监•技术经理•技术专员项目部项目部是公司的业务拓展和项目管理部门,主要职责包括:•与客户谈判、签约和管理项目;•技术、质量、进度和成本等方面的监控和管理。
项目部人力资源组织结构如下:•项目总监•项目经理•项目助理以上是装饰公司的人力组织结构图,希望可以帮助公司更好地规划和使用人力资源,进一步提高公司的综合实力和市场竞争力。
人力资源部组织架构与职位说明人力资源部组织架构图职位系列说明:分工主管任职资格说明专业:对专业工作有比较深入得理解,熟悉实际工作环节与工作流程,了解相关法律规范与政策,与外部工作单位有比较良好得合作关系能力:具有较强得实际组织力、协调力与计划力兴趣:对专业工作有浓厚得兴趣心理状态:心理成熟、稳定,态度认真、踏实,富有社会责任感与工作责任感招聘主管职位说明书职位名称:招聘主管所属部门:人力资源部级别:(略) 薪资范围:(略)职位说明:在了解公司各部门人事需求得基础上,按照人力资源招聘计划与职位说明书得具体要求,组织人员招聘公告、测试、面试与初审工作。
工作联系:上报对象:主管招聘与培训业务得经理助理监督对象:招聘助理合作对象:本部门各分管主管与其她部门经理与主管外部联系对象:外部求职网站、人才交流中心、招聘代理机构与高校就业指导中心以及各类招聘广告媒体等工作职责:1、了解人事需求(1) 按照公司人力资源计划,向各部门经理与主管了解人事需求(2) 进行人事需求汇总,并提出外部招聘意见(3) 将需求汇总与建议上报主管经理助理2、制订招聘计划(1) 确定招聘时间与最后上岗时间(2) 确定合适得招聘媒体与招聘渠道(3) 拟定初试、面试方式及内容(4) 拟订招聘日程安排:A发布招聘公告;B接受应聘简历;C审核简历;D通知初试;E安排初试;F通知面试;G组织面试;H面试结果分析与审核;J入职人员名单确认;H通知上岗;I确认上岗人员与时间(5)上报招聘计划3、制定招聘预算计划(1) 按招聘计划制定招聘预算(2) 向主管经理助理上报预算计划4、计划确认后,及时向公司所在地人事行政部门申报招聘计划5、组织招聘初试与面试工作(1) 与相关职能部门确定初试内容,并共同组织初试测试(2) 汇总分析初试结果,并与有关职能部门确认参加面试名单(3) 将初试结果与分析以及建议上报主管经理助理(4) 在面试名单正式确认后,发布面试通知(5) 筹备面试准备工作,配合面试评审小组开展面试工作(6) 配合面试评审小组整理与分析面试结果6、在入职名单确认后,发布入职通知7、及时跟踪被通知人员,确认最终到岗人员与时间,并通知各职能部门与培训主管8、参与公司人力资源计划得制定,并提出建议9、搜集外部信息(1) 与招聘网站、人才交流中心、猎头公司确立良好得合作发展关系,相互共享信息(2) 了解外部招聘媒体情况,并对其有效性进行评估工作规范:劳动法、相关地方人事与用工条例、职员手册、招聘管理工作规范培训主管职位说明书职位名称:培训主管所属部门:人力资源部级别:(略) 薪资范围:(略)职位说明:在了解公司内部培训需求得基础上,依据公司战略发展计划拟订公司培训计划与职业发展计划,并按计划组织与开发各项培训课程,以达到公司得目得与职员得期望要求。
人力资源部组织架构及人员编制规范1. 前言人力资源部门是企业重要的职能部门之一,它对企业的发展和运营起着至关重要的作用。
人力资源部门的组织架构和人员编制规范,直接关系到人力资源管理的质量和效率。
本文将从以下几个方面论述人力资源部门组织架构及人员编制规范的相关内容,旨在为企业提供参考。
2. 人力资源部门组织架构2.1 人力资源部门职能人力资源部门主要职能包括:招聘、绩效管理、培训发展、员工关系等。
具体来说,人力资源部门需要对企业内外部的人力资源进行有效地管理和利用,保证企业人力资源能够适应企业战略发展的需要,保证企业员工的职业发展和生活质量,最终实现企业和员工的共同利益。
2.2 人力资源部门组织架构示意图依据职能的不同,一般来说人力资源部门的组织架构应该包括以下几个部分:•招聘部门•员工关系部门•绩效管理部门•培训发展部门示意图如下所示:+-----------+| 人力资源部 |+-----+-----+|+------+------+------+| 招聘部门 |+------+------+------+| 员工关系部门 |+------+------+------+| 绩效管理部门 |+------+------+------+| 培训发展部门 |+------+------+------+2.3 人力资源部门组织架构的具体设计具体设计时,应该考虑到企业实际情况和人力资源管理需要。
下面是一个示例的人力资源部门组织架构:+---------------+| 人力资源部 |+------+--------+|+------------+-----------+| | |招聘部门员工关系部门绩效管理部门| | |+-----+------+------+-+ +--+------+| 城市分公司1 | ... | 城市分公司n |+----------------------+ +------------+(城市分公司所在地)根据业务需要,可以在城市分公司设立招聘、员工关系和绩效管理部门,以适应地方市场和员工需要。