生产部领料单样板
- 格式:xls
- 大小:20.50 KB
- 文档页数:1
仓库领料制度范本一、目的为了加强仓库材料管理,规范领料程序,提高材料利用率,降低生产成本,确保生产正常进行,制定本制度。
二、适用范围本制度适用于公司各部门在生产、办公过程中所需的材料领用行为。
三、领料要求1. 领料人员需提前根据实际需求,填写《领料单》,注明领料部门、领料人、领料日期、材料名称、型号、规格、数量等信息。
2. 领料单需经部门负责人审核签字,报财务部、生产部备案。
3. 仓库管理员根据有效领料单进行材料发放,并在领料单上签字确认。
4. 领料过程中,领料人应核对实际领用材料与领料单上的信息是否一致,如有不符,应立即提出并予以纠正。
5. 领料人应按照领料单所注明的数量领取材料,如实际需求少于领料单所填数量,领料人应在领料单上注明实际领用数量。
6. 领料人应妥善保管领用的材料,确保材料安全、完整。
四、特殊材料领用1. 特殊材料(如贵重材料、危险品等)领用,需提前提交申请,经相关部门审批后,方可领用。
2. 特殊材料领用时,领料人应具备相关资质或经过培训,了解材料性质及安全操作规程。
3. 特殊材料领用过程中,领料人应严格遵守相关规定,确保材料安全。
五、材料归还与报废1. 领用的材料如有剩余或需归还,领料人应办理归还手续,确保材料归还原位。
2. 材料报废时,领料人应提交报废申请,经部门负责人审批后,由仓库进行处理。
六、监督管理1. 财务部对领料单进行归档管理,定期对领料情况进行汇总、分析,异常情况及时通报相关部门。
2. 生产部对材料领用情况进行监督,确保生产需求得到满足。
3. 仓库管理员对材料库存进行定期盘点,确保库存数据准确。
4. 各部门应加强对领料人员的培训,提高领料规范意识。
七、违规处理1. 领料人如有违反本制度的行为,一经发现,将被追究责任,并根据情节严重程度进行处理。
2. 如有恶意损耗、侵占公司材料等行为,将依法予以处理。
八、附则1. 本制度自颁布之日起实施。
2. 本制度解释权归公司行政部。
生产领料管理流程1 目的为保证车间生产均衡、有序,使车间、仓库储存物料数据得到有效记录和追溯。
2 适用范围适用于公司制造部车间原材料、工具量具刀具、辅料等物料的领料操作流程。
3 职责4.1 制造部:原材料领料的申请;工具量具刀具的申请审核。
4.2 PMC 部:生产计划单的下达,原材料领取的审核。
4.3 仓库:物料的准备,发放,单据的审核、录入。
5 工作程序5.1 原材料领用流程图5.2 原材料领用流程说明: ● PMC 计划:下达《生产计划单》,仓库及车间都应有此单。
● 仓库:根据《生产计划单》的要求备料,备料完成后通知生产领料。
● 车间:根据《生产计划单》及仓库通知填写《领料单》,《领料单》由领料人签字责任部门/人 PMC 计划部 仓库 制造部 仓库 制造部 PMC 计划部 制造部制造部车间负责人审核,PMC 计划确认。
在《领料单》上必须注明物料编号,物料名称,规格图号,数量等。
● 仓库:依据《领料单》发货,并按照财务规定记帐,录入系统(注明生产单号)。
● 车间:清点数量,与领料单无误后收货。
● 车间:投入生产使用,做好生产记录。
5.3工量刀具领用流程图5.4 工量刀具领用流程说明:● 车间:领工量刀具时,只需车间填写《领料单》,车间负责人签字,交仓库即可领取。
● 仓库:领工量刀具时,如属于第一次领用,车间负责人必须审核其领用量,仓库必须做好备查账,第二次及以后领工量刀具时以旧换新。
仓库 制造部 制造部 制造部 制造部责任部门/人仅供个人用于学习、研究;不得用于商业用途。
For personal use only in study and research; not for commercial use.Nur für den persönlichen für Studien, Forschung, zu kommerziellen Zwecken verwendet werden.Pour l 'étude et la recherche uniquement à des fins personnelles; pas à des fins commerciale s.толькодля людей, которые используются для обучения, исследований и не должны использоваться в коммерческих целях.以下无正文仅供个人用于学习、研究;不得用于商业用途。
修订次数:00 修订日期:为了规范领料单据填写的管理办法,从而完善的控制领料单据填写的方法,公司特制定本规定。
1、领料部门必须安领料单上的格式填写,内容清晰、不可乱涂乱划、字体工整不可连笔。
(签字一定要全写)例图:领料单领料部门:1团队穿钉车间用途:个人用2006年12 月20日一联存根发料人签名:王海红部门负责人签名:常明坤领料人签名:连书国领料单二联交会计发料人签名:王海红部门负责人签名:常明坤领料人签名:连书国领料单用途:个人用2006年12 月20日领料部门:1团队穿钉车间2、单据上报要求:安日报一定要排装整齐;在右上角进行装订,安月报也是同样。
3、不是本部门人员领取物资,其他部门主管不可代替签字除非规定的或者总经理、生产部经理的签字。
4、领料部门、品名、规格型号、单位、请领数量、领料人签名、用途、时间都有领料人签写,实发数量、发料人签名应有当时在岗的库管员签字,另外有其他要求在备注一览里签写。
修订次数:00 修订日期:5、领料单据的上报程序及批准人。
(1)备件库:一联库留存,二联交物资部统计,三联部门留存,由各部门/团队主管批准。
(2)模具库:一联库留存,二联交物资部统计,三联部门留存,由各部门/团队主管批准。
(3)油库:一联库留存,二联交物资部统计,三联部门留存,由各部门/团队主管和生产部经理批准。
(4)配件库:一联库留存,二联交物资部统计,三联部门留存,由各部门/团队主管批准。
6、物资统计负责将每天的领料单据填写失误的交企管部促标处。
7、物资部统计、库管人员应保存的单据一定要保存好不可丢失,安规定要求装订保存。
8、罚款标准与方法:(1)领料人不安规定填写每次对领料人罚款10元。
(2)库管理员对单据填写不全的,没有退回领料单据并接收发放物资库管员还没有签字每次对库管员罚款5元。
(3)非本部门人员领取物资,其他部门主管给予签字并且未规定的,发现一次对这个主管罚款20元。
(4)规定负责领料批准的人员未安程序签字,每次对相关主管罚款20元。
生产材料领用流程及注意事项生产部员工领料流程生产部统计员或调度员开具领料单(单据为:一式四联,具体内容见批注)4.工装.模具.量具流程:严格上说都是借用制,即所加工的产品需要借助以上工装、模具和量具才能生产出产品,要到库房填工具借用登记表,使用完毕需对工装、模具和量具上油保养再归还,库管检查合格再予以销账,只有个别的量具有可能为个人专用量具,登记到个人工、量具账册中,直到离职归还时才能销账,其中由于自己生产部计划员确认库房材料存货数量满足生产需要,再安排投产1.原材料、毛坯领料程序:生产部根据生产任务安排操作者加工自制件或毛坯等产品时,由生产部开单员开好领料单(强调单据上必须注明:材质、毛坯来源、名称、规格型号、数量或kg、周转卡号、订单号等),操作者签字,相关职能部门主管审核签字,操2.易耗品及包装物、五金、钻头、刀具材料领料程序:根据加工的产品需求程度来领用以上材料,生产部开单员开好领料单操作者签字,经过相关职能部门主管审核签字方可领用,并且要求以旧换新,提倡节约,杜绝浪费。
注:设备大修用材料必须总3.标件、壳体组装配件材料领用程序:生产部开单员根据组装件的装配清单,开具领料单,操作者签字并经过各职能部门主管审核签字方才能领料;注:遇到所装材料与所领材料有出入时,严格按照此流程办理,开单员开红单冲原先的领料单,再开正规的领料单给操作者签字走完后面正生产部主管审核签字(对所有材料领用)5.转子及轴承部件领用流程:生产部根据销售的定单计划,需由开单员根据订单号、周转卡开具领料单,操作者签字,生产部主管审核签字,操作者凭周转卡和领料单领料。
注:成品库其他出库流程按照原流程执行配套部主管审核签字(主要对批量产品出库签字)库管员凭各职能部门主管审核签字后的领料单发货库房上交两联领料单给财务执行要点:1.以上材料领用要随需(或随用)随领,车间不得存放过多的材料,对现场存放的闲置材料,办理红单冲出库手续进行入库。
时间段
工序自检状况异常状况检查台面是否干净序号改善动作是否完成异常状况1
2
3当日数据目标/标准总项数完成数执行率
制表:审核:
工伤≤0次
注:此卡为职能部门基于“每人每事每时”的指导思想而制定的三E卡,具体的操作标准依据《岗位三E卡填写控制卡》执行。
6:00--11:30
12:00--
18:0018:00--19:00
日总结数据项目
计划达成率≥95%成品检验合格率≤97%
气包率≤0.18%
人均工资≥70/小时
人员流失率
主要业绩体现
执行率工作内容(问题点)
检查人确认
等待统计计算好产量,将总产量、人均时、人均天、总工时抄
到记录本,将第二天计划更新到黑板
将员工达标奖、超产奖记录好
将员工达标奖、超产奖记录好交主管签字直接上司安排的其它任务配合品检抽查克重监督台面到货情况、油炸房开始油炸时间、鱼仔口味
临近下班进行匀料、喷码临时加袋子
关闭空调、真空机、灯、开灭臭氧机
配合品检抽查克重
抽查员工克重
监督台面到货情况、油炸房开始油炸时间、鱼仔口味
抽查员工克重
将已开好的领料单到仓库领取相应物料(内包袋)
抽查员工克重是否符合规定
配合品检核算前日内包抽查合格率
将车间的空调温度高度一致
开早会
检查喷码处情况并填写喷码记录表
记录上班人员的上班时间、清点人数
******有限公司三E卡
姓名: 部门:生产部 岗位: 二车间内包组长 2014年 8 月 8 日
今日工作情况工作内容(问题点)检查人确认协助统计员将喷好码的袋子按号码放到每个员工的桌子上
朗欧微信号:langouqg 扫一扫分享海量管理资讯。
生产领料流程图
HEN system office room 【HEN16H-HENS2AHENS8Q8-HENH1688】
〖深圳市XX科技有限公司〗流程编号:LS-0002〔版本2010-05-01〕
生产领料流程
生产中各部门根据《生产计划单》或其它情况需要从仓库领取原材料、工量刀具、辅料和劳保用品等物料所需要办理的手续。
本流程主要描述了领料的操作流程。
相关岗位职责分工
PMC计划:填写《生产计划单》;
仓库:依据计划备料,凭领料单发料及录入系统;
生产:车间填写《领料单》;部门负责人审核领料单;仓库发料及记帐。
单据/报表
表1《生产计划单》
表2《领料单》
流程详述
PMC计划:下达《生产计划单》,仓库及车间都应有此单
仓库:根据《生产计划单》的要求备料,备料完成后通知生产领料
车间:根据《生产计划单》及仓库通知填写《领料单》,《领料单》由领料人及车间负责人签字。
在《领料单》上必须注明生产单号,备注注明生产配件名称。
仓库:依据《领料单》发货,并按照财务规定记帐,录入系统(注明生产单
号)。
仓库:领工量刀具时,如属于第一次领用,车间负责人必须审核其领用量,仓库必须单独做好备查账,第二次及以后领工量刀具时要以旧换新。
车间:清点数量,与领料单无误后收货。
车间:投入生产使用,做好生产记录。
流程跟踪责任部门
由生产车间负责。
流程修改责任部门
由负责。
〖深圳市XX科技有限公司〗流程编号:LS-0002〔版本2010-05-01〕流程图。
生产领料流程图生产领料是指在生产过程中,生产部门按照生产计划的要求,从仓库中领取所需的原材料或半成品的过程。
以下是一份生产领料的流程图:第一步:领料申请生产部门根据生产计划的需求,填写领料申请单,包括领料数量、领料时间、领料目的等信息。
申请单经过主管审核后,提交至物料部门。
第二步:库存查询物料部门收到领料申请单后,首先查询库存,判断是否有足够的原材料或半成品。
如果库存不足,需要及时采购或调拨。
第三步:领料发放物料部门根据领料申请单中的信息,准备相应的原材料或半成品。
通过仓库管理员,将领料发放给生产部门。
同时,记录领料数量、领料时间、领料人等信息。
第四步:领料验收生产部门收到领料后,需要进行验收。
验收的目的是确认领取的原材料或半成品与申请单中的信息一致,并检查是否存在损坏或质量问题。
如果有问题,需要及时通知物料部门。
第五步:领料记录生产部门将领料信息记录在领料单上,包括领料数量、领料时间、领料人等。
同时,将领料单交给财务部门进行核对和记录。
第六步:库存调整领料完成后,物料部门需要及时更新库存信息,记录领料数量,并进行库存调整。
同时,将领料单归档保留备查。
第七步:领料消耗生产部门在生产过程中,使用领取的原材料或半成品完成产品的生产。
当领料消耗完毕时,生产部门需要将相关信息反馈给物料部门,进行库存调整。
第八步:报废处理如果领料过程中发现原材料或半成品存在质量问题,无法继续使用,生产部门需要及时通知物料部门进行报废处理,并记录相关信息。
总结:生产领料流程图主要包括领料申请、库存查询、领料发放、领料验收、领料记录、库存调整、领料消耗和报废处理等环节。
通过规范的流程,可以确保生产部门按需领取原材料或半成品,保证生产进程的顺利进行。
同时,及时记录领料信息和更新库存信息,有助于物料部门做好供应链管理,并为财务部门提供准确的数据支持。
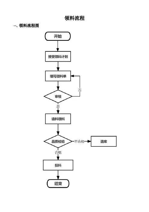
领料流程一、领料流程图
二、领料流程
1.接受领料计划
领料员应实时准备接受来自前置处理车间、熟化车间、内包装车间、外包装车间等的领料需求或直接受理生产计划单的物料需求。
2.填写领料单
领料员应根据领料需求填写领料单。
(1)属于原材料以、生鲜类以及各类辅料的填写《原材料领料单》;
(2)属于内包材的,包括马口铁罐、异性罐等罐体以及和产品直接接触的铝箔袋、高温蒸煮袋、尼龙真空袋等,填写《内包材领料单》;(3)属于外包装的包材,包括胶盖、珍珠棉、彩盒、礼盒、纸箱、纸质隔板、泡沫隔板、泡沫箱等,填写《外包材领料单》;
(4)用于试产的所有物料填写《研发领料单》;
(5)其余的物料填写《其他领料单》。
3.审核
领料单填写完成后,由领料员签字提交给生产主管审核,确认无误后方可向仓库请料,否则重新填写领料单。
4.请料领料
领料员持经审核后的领料单向仓储部相关库管进行请料领料,并要求库管在领料单上签字确认。
5.品质检验
领料员领到料后,核对物料种类、规格是否正确,并当面和仓储部库管点清数量。
同时应对物料进行感官检验,检查物料外观、气味、异物、规格等情况是否符合生产要求,若不符合则退库重领,符合则投入生产车间。
6.投料
领料员应将所领取的物料根据领料计划交由相应请领班组或请领人员,并点清数量做好移交。
德信诚培训网
更多免费资料下载请进: 好好学习社区
领料作业指引
1.0目的
规范物料的发放和领用,控制物料的领料数量,保证仓储数据准确
2.0适用范围
适用于所有物料的发放和领用过程的控制
3.0职责
3.1 工令单开单员负责制作和发放生产领料单,MC 物控负责领料单的审核
3.2 外发加工采购员负责制作和发放《外发加工单》
3.3 制造部门负责生产物料的领取
3.4 外发加工商或本厂送货组负责外发加工物料的领取
3.5 仓库负责物料的备料和发料
4.0作业说明:
4.1 原材料的对内发放
4.1.1生产计划用料(含原材料,外购的半成品)
4.1.1.1 工令单开单员制作《工序领料单》经MC 审核后发放到仓库和生产部,
如果用库存料,物控于领料单上注明,并及时更改执行电脑生产订单
子件修改。
4.1.1.2 材料仓库接到MC 发放的领料单查清物料的实际在存量,如果能满足发料计
划的需要,则做好备料.如有异常及时返馈MC 。
4.1.1.3 仓管接到领料单先打开U8系统,用生产订单领料单打印,当查询用料是
否有变动则依电脑中资料为准进行发料,在领料单上填写实发的品名、规
格。
4.1.1.4 生产部门依工令单到仓库领料,仓库依据物控发放的领料单进行发料
并双方确认签名。
4.1.1.5 单据一式四联,仓管存底一联,领料部门一联,物控存底一联,财务联由仓
库发料后货仓文员.货仓文员将实领数量录入电脑,更新电脑库存,并在《工。