机关借用工作人员流程图
- 格式:doc
- 大小:25.50 KB
- 文档页数:2
公务员管理处主要业务工作流程图
一、公务员录用流程图
二、公务员转正审批流程图
三、新录用公务员首次任职定级流程图
四、公务员(参照公务员法管理单位
工作人员)调任流程图
工作人员)考核流程图
工作人员)任职、免职流程图
七、公务员(参照公务员法管理单位
工作人员)晋升职务流程图
工作人员)降职流程图
九、公务员(参照公务员法管理单位
工作人员)奖励流程图
十、公务员处分流程图
十一、公务员辞去公职流程图
十二、公务员辞退流程图
十三、公务员申诉流程图。
(管理流程图)组织部权力运行流程图部机关工作人员选调流程图部机关工作人员招录流程图部机关聘用事业编制人员流程图部机关聘用后勤服务人员流程图本部工作人员考核、奖励流程图优秀组工信息员评选流程图干部考察工作流程图市管干部调整任免流程图市管领导干部表彰审批程序一、受国家级表彰的市管领导干部(含市管领导班子)审批程序:二、受部省级表彰的市管领导班子及正职领导干部审批程序同上。
三、受部省级表彰的市管副职领导干部审批程序同上,分管市领导审签后即可盖章返回。
四、受市级表彰的市管领导班子及领导干部审批程序同上,市委组织部主要领导审签后即可盖章返回。
注:(1)本程序审批对象为:市管党政机关和企事业单位的领导班子(包括一级局和二级局)以及县处级领导干部。
(2)凡是市领导班子及县处级领导干部拟受市级(含市级)以上表彰的,承办部门在上报表彰部门之前,必须经市委有关部门和领导审核同意。
市级机关中层正职任免工作流程图干部任前公示流程图市委全委会票决干部流程图市委常委会票决干部流程图领导班子和领导干部考察反馈和谈话诫勉流程图副局(镇)级领导干部任职试用期满考核流程图制订全市后备干部培养选拔工作规划流程图督促检查全市后备干部培养选拔工作规划贯彻落实情况流程图调整市管后备干部流程图一、二、干部人事制度改革业务工作流程图市管领导干部年度考核工作流程图干部档案查阅、借阅流程图干部档案转递流程图干部选拔任用工作督查程序市管干部“三龄”审理工作程序副局(镇)级以上党政机关领导干部企业、社团兼职审批程序注:(1)党政机关领导干部一般不得兼任企业、社团职务,个别因特殊原因确需兼任的必须按干部管理权限严格审批。
(2)本程序审批对象为:拟兼任企业、社团职务的市管在职党政机关领导干部。
(3)党政机关领导干部在兼职期间,不得在兼职单位领取任何报酬。
(4)对拟兼任市直属企业领导职务的必须提交市委常委会讨论决定。
市管领导干部工资审批流程图机关公务员确定正(副)股级科员流程图干部教育工作规划流程图干部教育管理工作流程图市管干部、青年干部、女干部、党外干部、优秀团干部培训计划流程图菜单式培训计划流程图参加上级选调培训学员选派流程图境外培训实施计划流程图人才工作规划流程图人才工作考核管理流程图专业技术人才选拔培养管理工作流程部机关物资采购流程图部机关财务管理流程图(一)部机关财务管理流程图(二)人才工作经费使用流程图中国共产党党费收缴、管理和使用规定流程图部务会议安排流程图部机关接待管理流程图。
办公室工作流程图 接参加上级会议通知准确记录 通知办公室主任 报局长阅批 通知参会人员并记录 会前20分钟提醒落实到会情况 安排参会车辆 接会议室召开的会议通知详细记录: 会议内容、会议组织者、 参会层次、 规模人数、 参会主要领导 通知局长、主任、分管主任 通知会务组、理发员、保卫科、水电科、环境绿化科做好会前准备 通知内部会议通知办公室主任 安排会议议程 确定会议地点 统计未到人员情况报主要领导 做好会议记录 通知班子成员 会 务 组 接派车通知 通知办公室主任填写派车通知单 返回后填写清楚存档 每月汇总出车次数及耗油数接收上级公文 值班人员 及时领取文件、简报、通知等 急办公文复制后交相关人员办理 搜集汇总批阅情况 协调掌握办理情况 登记 造册 传阅完 毕存档 局内部公文 起草填写签发单 由局长阅签 打印校对 分发上报 落实情况汇总 文秘人员 接会议通知 根据会议规模准备好各种会议所需用品(各种墨水、纸张、档案袋、餐巾纸、茶杯等) 调试好设备 (灯光、音响、空调、视频系统等)提前1小时到达工作岗位 打扫好会议室、休息室、卫生间及室内外草坪、地面卫生 会中1人负责会议室内服务,1人负责会议室外服务 会后及时打扫卫生,保持干净整洁会务人员 存档 通知各科长及相关人员 认真记录 通知司机履行出车手续提前10分钟将车停放在指定地点 保卫科调整好会议室前的车辆 水电科保障好水、电 环境绿化科摆放好会议用花 交办公室主任审阅把关 呈送局长阅批 按局长批示,副主任负责传阅---------------------------------------------------------------范文最新推荐------------------------------------------------------财务部日常工作[财务部日常工作]财务部日常工作财务部录入员日常工作:1、负责录入各种费单;2、负责各类租户数据的录入工作;3、负责各类相关数据信息的修改工作;4、负责报表的打印与分发工作;5、处理日常事务,财务部日常工作。
党政领导干部选拔任用工作流程图党政领导干部选拔任用工作流程图一、背景调查与需求分析(200字)1. 背景调查:党政领导干部选拔任用工作的前提是对当前党政机关的工作情况、发展方向、领导人员配备等进行全面调查,并了解当前干部队伍中存在的问题和需求。
2. 需求分析:根据背景调查结果,分析出党政机关在不同层级和职能部门所需的领导干部类型和能力素质,并确定相应的选拔任用标准和要求。
二、宣传与报名(200字)1. 宣传准备:制定宣传策略和宣传材料,通过党政机关内部宣传渠道和外部媒体进行广泛宣传,向党员干部和其他符合条件的人员宣传选聘党政领导干部的相关政策、职位空缺情况、招聘条件和选拔过程。
2. 报名申请:符合条件的人员提交个人资料和报名申请表,经过简单审核后进行初选。
三、初选与初审(400字)1. 笔试:应聘人员进行笔试,测试其基本知识和综合素质。
2. 简历筛选:将笔试成绩优秀的人员进行简历筛选,核实其教育背景、工作经历等信息。
3. 考察:对初审通过的应聘人员进行考察,通过与其直接交流、调查了解,验证其个人素质和人际关系。
4. 审查:将通过考察的人员进行资格审查,核实其党员身份、政治历史等情况。
四、面试与综合考察(600字)1. 面试:通过专家组面试,考察应聘人员的理论水平、应变能力、组织协调能力、沟通表达能力等。
2. 综合考察:对通过面试的人员进行综合考察,包括但不限于组织能力、执行能力、工作效果和群众评价等方面。
3. 模拟工作:对综合考察通过的人员进行模拟工作评估,通过模拟岗位工作情景,考察其实际操作能力。
4. 体检与调查:对通过模拟工作评估的人员进行体检和综合调查,确保其身体健康和背景资料真实可靠。
五、公示与考察(400字)1. 公示:将通过综合考察的人员名单在党政机关内外公示,接受群众和相关部门的监督和意见反馈。
2. 考察:对公示期间出现的问题和反馈意见进行调查和核实,以便更充分地了解应聘人员的真实情况。
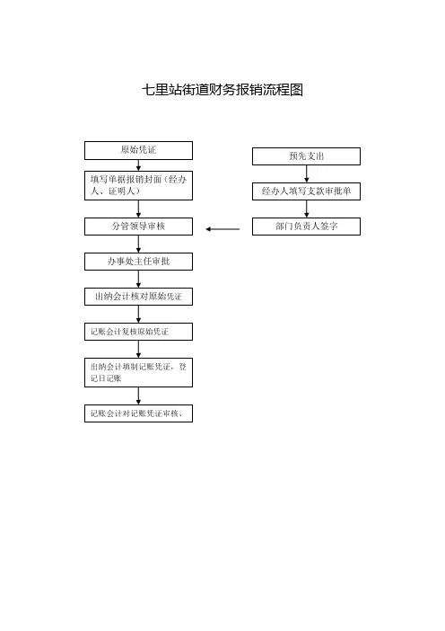
七里站街道财务报销流程图
七里站街道“三资”委托代理服务中心工作流程
七里站街道村(居)集体资产代理服务流程图
七里站街道村(居)集体资金代理服务流程图
收入必须及时足额缴入街道“三资”代理账
户
按业务量大小核定备用金,村居报账员申
请领取
财务支出经监督委员会审核,村居主任审核,书记审批,街道纪工委审核,手续完备
,
财务票据装订成册,归档保管七里站街道资产管理流程图
七里站街道经营性房屋租赁管理流程图
↓
↓
↓
↓
↓
↓
↓
七里站街道人事管理流程图
↓
↓
↓
↓
七里站街道购置办公用品及设备流程图
七里站街道公务接待流程图
七里站街道干部任用工作流程图
七里站街道合同管理流程图
↓
↓
↓
七里站街道公章管理使用流程图
↓
↓
↓
↓
七里站街道发文流程图
七里站街道收文流程图。
通知甘人口委办知字〔2011〕37号
甘肃省人口和计划生育委员会办公室关于
印发《廉政风险点及防控措施和工作流程》的通知机关各处(室)、委属各事业单位:
为扎实推进人口计生系统惩治和预防腐败体系建设,增强人口计生干部廉政风险防控意识,对权力运行实施全程监控,确保权力正确行使。
根据岗位职责、行政管理事项和业务工作程序,加强对重点部位、关键环节、重大事项的廉政风险防范管理,形成以岗位为点、以程序为线、以制度为面的廉政风险防控机制,把廉政制度和风险防控措施落实到人口计生业务各项工作流程,结合实际,制定了人口计生廉政风险点及防控措施一览表和工作流程图(见附表1-8),经省人口委审定,现印发给你们,请认真贯彻落实。
二〇一一年五月四日
抄送:各市(州)人口委
附表:
干部任免廉政风险点及防控措施一览表1
庆阳市人口委人事干部任免流程图
“评优评先及征集活动”廉政风险防控措施一览表2
庆阳市人口委“评优评先及征集活动"流程图
财务预算、决算及预算执行工作廉政风险点及防控措施一览表3
庆阳市人口委财务预算、决算及预算执行工作流程图
财务工作廉政风险点及防控措施一览表4
财务工作流程图
内部审计工作廉政风险点及防控措施一览表5
内部审计工作流程图
基建项目申报廉政风险点及防控措施一览表6
庆阳市人口委基本建设项目申报流程图
招投标廉政风险点及防控措施一览表7
招投标工作流程图
内部采购廉政风险点及防控措施一览表8
庆阳市人口委采购工作流程图。
目录1.局长办公会议流程图 (2)2.中层干部例会会议流程图 (2)3.大型会议会务组织工作流程图 (4)4.职代会行政文件制作流程图 (5)5.公文制发工作流程图 (5)6.《年度大事记》汇编工作流程图 (6)7.相关证件年检工作流程图 (8)8.上级文件收发工作流程图 (9)9.印章使用管理工作流程图 (10)10.报刊征订工作流程图 (11)11.报刊收发工作流程图 (12)12.图书管理工作流程图 (13)13.职工调入(毕业生分配)工作流程图 (13)14.员工劳动合同管理工作流程图 (14)15.办理退休手续工作流程图 (16)16.职称管理工作流程图 (16)17.岗前培训工作流程图 (17)18.员工考评管理工作流程图 (19)19.外事接待工作流程图 (19)20.社会监督员会议工作流程图 (21)21.外出进修培训工作流程图 (21)22.年度预算工作流程图 (23)23.年度决算工作流程图 (24)24.账务处理工作流程图 (25)25.财务报表工作流程图 (26)26.银行、出纳付款工作流程图 (27)27.财务审计工作流程图 (28)28.固定资产及物资购置工作流程图 (29)29.报废工作流程图 (30)30.固定资产管理工作流程图 (31)1.局长办公会议流程图2.中层干部例会会议流程图3.大型会议会务组织工作流程图4.职代会行政文件制作流程图5.公文制发工作流程图6.《年度大事记》汇编工作流程图7.相关证件年检工作流程图8.上级文件收发工作流程图9.印章使用管理工作流程图10.报刊征订工作流程图11.报刊收发工作流程图12.图书管理工作流程图13.职工调入(毕业生分配)工作流程图14.员工劳动合同管理工作流程图15.办理退休手续工作流程图16.职称管理工作流程图17.岗前培训工作流程图18.员工考评管理工作流程图19.外事接待工作流程图20.社会监督员会议工作流程图21.外出进修培训工作流程图22.年度预算工作流程图23.年度决算工作流程图24.账务处理工作流程图至财务报表工作流程25.财务报表工作流程图26.银行、出纳付款工作流程图27.财务审计工作流程图28.固定资产及物资购置工作流程图29.报废工作流程图30.固定资产管理工作流程图。
主要工作流程图、上级交办事务处理、薪酬及绩效考核三、账务报销经办人报账凭证归档保管四、工资发放编制工作册部门负责人审核处领导审核网银发放分配入账凭证归档保管五、计划生育管理及时登记 计生管理 工作情况。
整理相关资料存档备查明确工作职责 宣传教育管理台账 定期向管理局汇报计划工作情况六、合同管理承办人起草合同合同签订・综合办存档一份七、图书管理八、文字综合工作九、发文管理十、来文办理卜一、公务接待原则上对口接彳寺。
相关科室通知综合办公室1综合办公室请示分管领导1安排就餐标准1r确定陪同人员1F选定就餐地点1f引导来宾就餐1r接待费用审核结算1F登记接待台账根据对象及领导安排确定,一般除凉菜夕卜一人一菜外加一至二汤,视具体情况酌情增减。
根据接待对象确定,尽量安排在单位食堂就餐。
十二、政务公开十三、信访工作十四、泄密案件处理各类合同(含意向书)、协议书、文件留综合办公室一份存档备案按规定审核机关科、室移交的文书档案资料是否符合归档要求。
按规定对库存的档案资料进行管理维护,不按管理规定进行清理、统计、核对,并定期对档案进行鉴按规定审核销毁档案清单。
按规定将销毁档案清单报上级档案管理部门备案。
收集、整理、移交当年文书档案承办人受理承办人初核承办人归档承办人日常维护管理承办人编制到期销毁档案清单'按规定接收机关处' 室移交的文书档案等资料,拖延办理。
厂按规定将档案分类、编' 号、立卷并确定保管期限和密级,编写档案目录,将档案入库上架。
不按规定组织相关部门对到期档案进行销毁鉴定,编制销毁档案清单。
办公室负责人审核按规定把关。
处领导审批承办人报备承办人组织销毁r ---------------------- >按规定根据销毁档案清单,共同监督销毁并签字。
十八、物资采购科室提出物资采购申请低值易耗品大宗物资查看库存分管领导批准汇报分管领导会议研究两豕。
不低于采购定期询价议价,不少于两人。
国企借用事业单位职工人员审批流程1.提交借用申请的国企需提供详细的借用计划和人员需求。
The state-owned enterprise applying for secondment needs to provide a detailed plan for the secondment and the required personnel.2.申请材料需要包括被借用人员的个人简历以及相关的技能和资质证明。
The application materials should include the personal resume of the secondees as well as the relevant skills and qualifications.3.事业单位人力资源部门需对借用人员进行资格审核和审批。
The human resources department of the public institution needs to review and approve the qualifications of the secondees.4.审批流程需要确保借用人员符合国企对人才需求的要求。
The approval process needs to ensure that the secondees meet the requirements of the state-owned enterprise for talents.5.事业单位需提供被借用人员在单位工作期间的待遇和福利安排。
The public institution needs to provide the terms and benefits arrangement for the secondees during their secondment.6.国企应当明确被借用人员的工作职责和目标,并与借用单位进行协商确认。
公务接待流程图来信来访调查处理流程图干部职工上交礼金礼品流程图调查处理违反行政纪律的监察对象流程图考核检查党风廉政建设责任制流程图督促干部职工落实廉洁自律规定流程图纪检监察信访的调查、处理流程图督促开展领导干部个人重大事项报告流程图年度考核奖励流程图工资管理流程图中层干部选拔任免流程图招考录用工作人员流程图机关党员发展流程图固定资产、办公用品的采购分配流程图财务支配流程图对外贸易经营者备案登记流程图经营加工贸易单位及加工生产企业的经营状况和生产能力确认审批流程图报至市外经局审批5个工作日内给予批复确认先进技术企业审批流程图企业如数正确提供材料后,在5个工作日内给予上报。
确认产品出口企业审批流程图企业如数正确提供材料后,我局在5个工作日内审核完毕,汇总后转请工商、海关、外汇管理等部门审核会签。
核发加工贸易企业生产能力证明流程图外商投资企业进口设备清单审批流程图国家鼓励发展的外资项目确认流程图提交: 1. 进口设备清单(一式三份,每一页盖企业公章)2. 填写江苏省办理国家鼓励的外资项目确认书申请表3. 可行性研究报告批复(原件一份)4. 合资\合作企业《合同》《章程》批复或建办外资企业的批复(原件及复印件各一份)5.《批准证书》、《营业执照》(复印件)(各二份)对外承包工程、劳务合作、设计咨询经营企业变更、撤并核准流程图申报材料:1.该企业及其主管部门(省属企业)或外经贸主管部门(市及以下企业)要求扩权、划转、撤销的报告; 2.商务部赋予该企业对外经营权的批件(复印件); 3.企业营业执照(复印件,须原注册登记机关签章);4.申请扩权,须提供相关业绩证明材料; 5.其他需要申报的材料。
上述材料一式三份。
分管局长审批作出准予受理或不予受理决定 (2个工作日)对外劳务合作经营资格核准审批流程图申报材料:1.企业的申请报告;2.法人营业执照复印 件、银行资信证明原 件;3.律师事务所出具的 企业验资报告、财务年 度报告、资产负债表复 印件,税务机关出具的 完税证明原件;4.场所产权证明或固 定场所租赁证明原 件;5.章程、经营管理制 度、O9000质量管理体系认证证书复印件;6.相关专业人员证 书复印件;7.拟开展对外劳务合 作的国别及地区可行 性报告;8.具有对外劳务合作 经营资格的企业出具 的提供外派劳务人数 证明原件;分管局长审批《境外投资批准证书》中有关事项的变更审批流程图作出准予受理或不予受理决定 (2个工作日)分管局长审批作出准予受理或不予受理决定 (2个工作日)对外投资开办企业核准审批流程图申报材料:1.申请书(主要内容包括开办企业的名称、注册资本、投资金额、经营范围、经营期限、组织形式、股权结构等);2.境外企业章程、相关协议或合同(独资企业免); 3.外汇主管部门出具的境外投资外汇资金来源审查意见(需购汇或从境内汇出外汇的);我驻所在国使馆经济商务参分管局长审批作出准予受理或不予受理 决定 (2个工作日)对外承包工程经营权审批流程图申报材料:1.对外劳务合作(含海员船员)项目审查(审批)申报表;2.对外合同(新签合同须出示原件);3.外方如系新客户,须附情况说明并提供有关资信材料;4.海员证批件需提供单位同意函正本;5.《外派劳务人员名单表》;6.按有关规定需要的分管局长审批作出准予转报或不予转报决定 (2个工作日)进出口许可证审批流程图外资企业加工贸易审批流程图1个工作日内给予转报申报材料:(一)来料加工:(1)企业网上发送申报信息;(2)进口料件申请备案清单一式三份; (3)出口制成品及对应进口料件消耗备案清单一式三份; (4)加工贸易来料加工合同一式一份。
I am a slow walker,but I never walk backwards. 同学互助一起进步(WORD文档/A4打印/可编辑/页眉可删)上挂借用人员管理办法上挂借用人员管理规定第一条为进一步严格干部队伍管理,规范机关事业单位抽调、借用人员行为,防止人员抽调、借用的随意性,本着控制数量、严格审批、规范管理的原则,根据干部人事管理有关规定,结合我县实际,制定本暂行办法。
第二条本暂行办法所称抽调、借用是指因工作需要,暂时将人员从原单位脱产抽调、借用(含挂职锻炼、上挂锻炼)到其他单位执行指定工作的行为,抽调、借用人员在抽调、借用期间与原单位人事关系保持不变。
第三条武胜县各级机关及事业单位抽调、借用人员适用本暂行办法。
关键岗位、涉密岗位原则上不得抽调、借用人员。
借调、调动人员不适用本办法,借调、调动人员相关事宜按照《武胜县人事调配联席会议规程》执行。
第四条机关事业单位因工作需要抽调、借用工作人员,需符合下列条件之一:(一)在一段时间必须完成阶段性工作任务或上级部门所交办的临时性工作任务,本部门(单位)人员不足的。
(二)工作任务较重,本部门(单位)人员不足,不能保证完成工作任务的。
(三)因设立专项工作机构,暂时无法解决人员编制的。
(四)因完成政府中心工作、重大活动等,确因人手不足,不能完成工作任务的。
第五条拟抽调、借用人员应当符合下列条件:(一)正式在编在职人员。
(二)政治思想素质好、遵纪守法、作风正派。
(三)具有抽调、借用单位所需要的工作能力和其他条件;抽调借用到专业性较强工作岗位的人员需具有相关学历或职称。
(四)身体健康。
第六条工作人员抽调、借用期限。
(一)抽调、借用期限以完成相应工作为限,时间一般不得超过一年。
(二)工作人员抽调、借用期满后应返回原单位,由原单位妥善安排工作。
(三)因工作需要需延长抽调、借用时间的,应提前两周按照干部管理权限向组织人社部门提出书面申请,重新办理抽调、借用手续。