医院权力运行流程图
- 格式:doc
- 大小:116.50 KB
- 文档页数:7
景县中医医院
领导职权目录及权利运行流程
编号类别职权名称权利运行流程图
1 内部管理权内部人员调动权见2页
2 内部管理权内部人员任职权见3页
3 内部管理权内部人员免职权见4页
4 内部管理权内部人员奖励权见5页
5 内部管理权内部人员惩处权见6页
6 内部管理权专业技术职务任职资格申报推荐权见7页
7 内部管理权内部财务支配权见8页
8 内部管理权内部物资采购分配权见9页
9 内部管理权内部人员进修培训权见10页
院长会研究院长会研究决定
院长会研究
院长会研究决定任职对象
办理任职手续,公布任职决定
院长会研究决定
公示免职情况并接受监督
办理免职手续
医院内部人员奖励流程图
人事科拟定工作人员年度考核奖励意见
院长会研究确定
未通过,修改
民主测评推荐受奖人员
院长会研究确定受奖人员
公示受奖人员名单,接受监督
兑现奖励不合格者取消资格
院长会研究
院长会审核院长会研究决定
经办人编制开支计划后(≥1000元)经局长会批准局长、院长审批签字报销
物资科编制物资采购计划并经院长会讨论决定
大项物资和设备由院长会研究决定。
附件1 权力运行流程示意图注:(1)示意图仅供试点单位梳理业务流程参考。
(2)业务主要环节原则上控制在4个以内,办理时限原则上控制在法定时限的60%以内。
(3)流程图采用简单规范的符号,要求有开始和结束的标示。
(4)流程图符号说明:椭圆形表示开始、结束;实线方框表示一个处理步骤;菱形框表示一个逻辑条件;箭头表示控制流向;虚线方框表示一个监察节点。
(5)信息公开类型 ○:对外主动公开;◑:对外授权公开;●:内部公开。
(6)项目监察类型 :内容监察;:时限监察;:收费监察;:流程监察。
≥70天 申报受理监察1、指南发布与申报受理2、项目立项管理3、实施过程管理4、验收结题管理 申报通知监察 局长办公会议 审定● 相关业务科室组织需求调研,提出年度选题方向,送分管局领导审核 发布年度重大专项备选项目申报通知○ 各单位法人在线申报、提交相关材料◑ 项目受理截止,项目数据分发业务处办理各推荐单位在线推荐项目,待系统审查通过,生成项目受理号○附件2电子监察点、监察规则分析示意表监察节点监察类型监察要素是否现有数据字段对象类型判断条件预警状态是否人工监察监察规则描述指南发布与申报受理内容监察申报指南是文本申报指南与局长办公会议审定的内容是否一致红灯是对正式发布的项目申报指南与局长办公会议审定的内容不一致的,给予红灯警示。
流程监察申报指南发布是文本指南未发布红灯否对项目指南未公开发布的给予红灯警示。
时限监察项目申报受理天数是数值指南发布到申报受理截止<70红灯否自指南发布到项目申报受理截止,少于70天的项目。
收费监察投诉举报否文本投诉举报内容红灯是科技项目申报办理全部免费,对擅自收费提供投诉举报实时预警提醒。
.项目立项管理内容监察专家评分是数值专家评分(“评审得分”)-平均分(“本组平均分”)=相差分值(“相差分值”) >=30黄灯否专家评分分值与平均分值相差30分以上(含30分)的,给予黄灯提示。
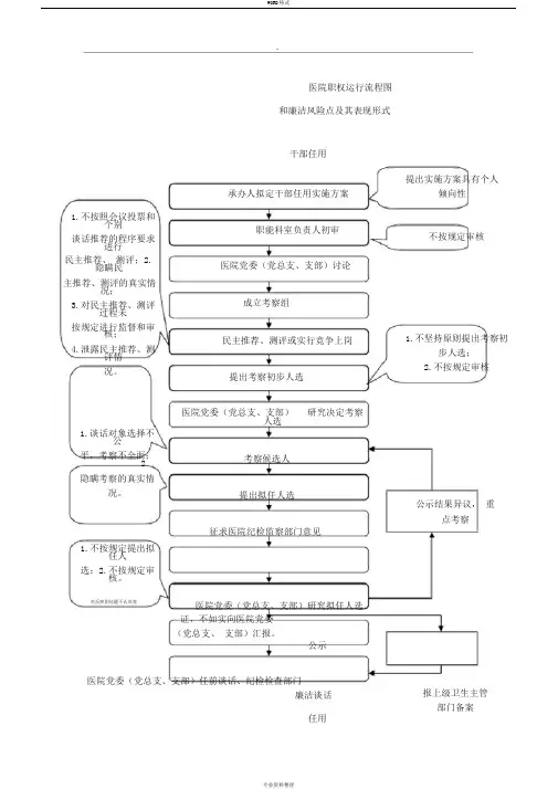
.医院职权运行流程图和廉洁风险点及其表现形式1.不按照会议投票和个别谈话推荐的程序要求进行民主推荐、测评;2.隐瞒民主推荐、测评的真实情况;3.对民主推荐、测评过程未按规定进行监督和审核;4.泄露民主推荐、测评情况。
1.谈话对象选择不公平,考察不全面; 2.隐瞒考察的真实情况。
1.不按规定提出拟任人选;2.不按规定审核。
干部任用承办人拟定干部任用实施方案职能科室负责人初审医院党委(党总支、支部)讨论成立考察组民主推荐、测评或实行竞争上岗提出考察初步人选医院党委(党总支、支部)研究决定考察人选考察候选人提出拟任人选征求医院纪检监察部门意见提出实施方案具有个人倾向性不按规定审核1.不坚持原则提出考察初步人选;2.不按规定审核公示结果异议,重点考察对反映的问题不认真查医院党委(党总支、支部)研究拟任人选证,不如实向医院党委(党总支、支部)汇报。
公示医院党委(党总支、支部)任前谈话、纪检检查部门廉洁谈话任用报上级卫生主管部门备案1.职能部门组织职代会进行讨论过程中可能存在应付了事,内定结果,汇总时不按照讨论结果进行前期的方案制定。
.医院职权运行流程图和廉洁风险点及其表现形式决策权承办人拟定须经领导班子讨论事项领导班子会议讨论职能部门根据班子会议决议拟定重点事项讨论事项具有个人倾向性不按规定讨论拟定结果存在个人倾向性未按规定时间及规定范围进行公示对反映的问题不认真查证,不如实向医院党委(党总支、支部)汇报。
提交职代会或各专业委员会讨论职能部门汇总讨论结果形成基本决策方案提交班子会审议拟定结果结果公示采集职工意见及建议答复意见公示方案制定不科学,不合理公示结果异议,重点讨论按照方案实施评估结果报院务会备案医院职权运行流程图和廉洁风险点及其表现形式谈论过程中存在个人倾向主义,带有主观色彩。
基建权基建项目申请完成可研等相关材料申请规划不合理,论证不充分将相关材料提交职代会及专业委员会进行审议汇总审议结果提交班子会议讨论方案实施过程中形成讨论结果出现偏差将讨论结果进行公示按方案实施监督过程中可能出组成基建办对施工进行监督现走过场现象发现施工过程中存在的问题审核过程敷衍了事提出整改意见及建议报基建办审核批准按整改意见实施完成项目结果与班子会讨论存在偏差补充实施方案报项目主管部门审批医院职权运行流程图和廉洁风险点及其表现形式物品招标过程中单位可能存在内定,或底价透露等问题。
.医院职权运行流程图和廉洁风险点及其表现形式1.不按照会议投票和个别谈话推荐的程序要求进行民主推荐、测评;2.隐瞒民主推荐、测评的真实情况;3.对民主推荐、测评过程未按规定进行监督和审核;4.泄露民主推荐、测评情况。
1.谈话对象选择不公平,考察不全面;2.隐瞒考察的真实情况。
1.不按规定提出拟任人选;2.不按规定审核。
干部任用承办人拟定干部任用实施方案职能科室负责人初审医院党委(党总支、支部)讨论成立考察组民主推荐、测评或实行竞争上岗提出考察初步人选医院党委(党总支、支部)研究决定考察人选考察候选人提出拟任人选征求医院纪检监察部门意见提出实施方案具有个人倾向性不按规定审核1.不坚持原则提出考察初步人选;2.不按规定审核公示结果异议,重点考察对反映的问题不认真查医院党委(党总支、支部)研究拟任人选证,不如实向医院党委(党总支、支部)汇报。
公示医院党委(党总支、支部)任前谈话、纪检检查部门廉洁谈话任用报上级卫生主管部门备案.1.职能部门组织职代会进行讨论过程中可能存在应付了事,内定结果,汇总时不按照讨论结果进行前期的方案制定。
.医院职权运行流程图和廉洁风险点及其表现形式决策权承办人拟定须经领导班子讨论事项领导班子会议讨论职能部门根据班子会议决议拟定重点事项讨论事项具有个人倾向性不按规定讨论拟定结果存在个人倾向性未按规定时间及规定范围进行公示对反映的问题不认真查证,不如实向医院党委(党总支、支部)汇报。
提交职代会或各专业委员会讨论职能部门汇总讨论结果形成基本决策方案提交班子会审议拟定结果结果公示采集职工意见及建议答复意见公示方案制定不科学,不合理公示结果异议,重点讨论按照方案实施评估结果报院务会备案..医院职权运行流程图和廉洁风险点及其表现形式谈论过程中存在个人倾向主义,带有主观色彩。
基建权基建项目申请完成可研等相关材料申请规划不合理,论证不充分将相关材料提交职代会及专业委员会进行审议汇总审议结果提交班子会议讨论方案实施过程中形成讨论结果出现偏差将讨论结果进行公示按方案实施监督过程中可能出组成基建办对施工进行监督现走过场现象发现施工过程中存在的问题审核过程敷衍了事提出整改意见及建议报基建办审核批准按整改意见实施完成项目结果与班子会讨论存在偏差补充实施方案报项目主管部门审批..医院职权运行流程图和廉洁风险点及其表现形式物品招标过程中单位可能存在内定,或底价透露等问题。
.医院职权运行流程图和廉洁风险点及其表现形式干部任用提出实施方案具有个人承办人拟定干部任用实施方案倾向性1.不按照会议投票和个别职能科室负责人初审谈话推荐的程序要求进行不按规定审核民主推荐、测评;2.隐瞒民主推荐、测评的真实情况;医院党委(党总支、支部)讨论3.对民主推荐、测评过程未按规定进行监督和审核;成立考察组4.泄露民主推荐、测评情况。
民主推荐、测评或实行竞争上岗1.不坚持原则提出考察初步人选;2.不按规定审核提出考察初步人选1.谈话对象选择不公平,考察不全面; 2.隐瞒考察的真实情医院党委(党总支、支部)研究决定考察人选况。
考察候选人1.不按规定提出拟任人提出拟任人选选;2.不按规定审核。
公示结果异议,重点考察征求医院纪检监察部门意见对反映的问题不认真查医院党委(党总支、支部)研究拟任人选证,不如实向医院党委(党总支、支部)汇报。
公示医院党委(党总支、支部)任前谈话、纪检检查部门报上级卫生主管廉洁谈话部门备案任用..医院职权运行流程图和廉洁风险点及其表现形式决策权讨论事项具有个人倾向承办人拟定须经领导班子讨论事项性1.职能部门组织职代领导班子会议讨论会进行讨论过程中可不按规定讨论能存在应付了事,内定结果,汇总时不按职能部门根据班子会议决议拟定重点事项照讨论结果进行前期的方案制定。
提交职代会或各专业委员会讨论职能部门汇总讨论结果方案制定不科学,不合理形成基本决策方案拟定结果存在个人倾向性提交班子会审议拟定结果未按规定时间及规结果公示定范围进行公示公示结果异议,重点讨论采集职工意见及建议对反映的问题不认答复意见真查证,不如实向医院党委(党总支、公示支部)汇报。
按照方案实施报院务会备案评估结果..医院职权运行流程图和廉洁风险点及其表现形式基建权申请规划不合理,基建项目申请谈论过程中存在个人完成可研等相关材料倾向主义,带有主观色论证不充分彩。
将相关材料提交职代会及专业委员会进行审议汇总审议结果结果与班子会讨论存提交班子会议讨论在偏差形成讨论结果方案实施过程中出现偏差将讨论结果进行公示按方案实施监督过程中可能出组成基建办对施工进行监督现走过场现象补充实施方案发现施工过程中存在的问题审核过程敷衍了事提出整改意见及建议报基建办审核批准按整改意见实施报项目主管部门审批完成项目..医院职权运行流程图和廉洁风险点及其表现形式采购权提出采购物品具有科室提出所需物品申请个人倾向性物品招标过程中单位职能科室负责人初审可能存在内定,或底价不按规定审核透露等问题。
喀喇沁旗医院职权运行流程图和廉洁风险点及其表现形式
干部任用
喀喇沁旗医院职权运行流程图和廉洁风险点及其表现形式
喀喇沁旗医院职权运行流程图和廉洁风险点及其表现形式
基建权
喀喇沁旗医院职权运行流程图和廉洁风险点及其表现形式
喀喇沁旗医院职权运行流程图和廉洁风险点及其表现形式
喀喇沁旗医院职权运行流程图和廉洁风险点及其表现形式
喀喇沁旗医院职权运行流程图和廉洁风险点及其表现形式。
喀喇沁旗医院职权运行流程图
和廉洁风险点及其表现形式
干部任用
喀喇沁旗医院职权运行流程图和廉洁风险点及其表现形式
喀喇沁旗医院职权运行流程图和廉洁风险点及其表现形式
基建权
喀喇沁旗医院职权运行流程图和廉洁风险点及其表现形式
喀喇沁旗医院职权运行流程图和廉洁风险点及其表现形式
职称评聘
喀喇沁旗医院职权运行流程图和廉洁风险点及其表现形式
喀喇沁旗医院职权运行流程图和廉洁风险点及其表现形式。
农九师卫生局行政权力运行流程图
1、医疗机构执业许可流程图
执行科室:(医政科)类别:行政许可权
2、医师执业注册许可(含变更执业注册)流程图执行科室:医政科类别:行政许可权
3、医疗机构设置许可流程图
执行科室:(主办:医政科)类别:行政许可权
4、母婴保健机构执业许可流程图(助产、结扎、终妊)
执行科室:(主办:医政科)类别:行政许可权
5、母婴保健技术服务人员资格许可流程图(助产、结扎、终妊)
执行科室:(主办:医政科)类别:行政许可权
6、餐饮服务许可流程图
执行科室:(主办:卫生监督所)类别:行政许可权
7、公共场所卫生许可流程图执行科室:(主办:卫生监督所)类别:行政许可权
8、放射诊疗许可证发放许可流程图执行科室:(主办:卫生监督所)类别:行政许可权
9、集中供水单位卫生许可流程图执行科室:(主办:卫监所)类别:行政许可权
10、内部财务管理流程图执行科室:办公室类别:内部管理权
- 11 -。
附件二:风险点1(B 级) 对报批材料齐全、符合审批内容的合同不予及时办理,可能引起经办人不满,影响合同签订时限,诱发签订对方投诉、造成经济纠纷等现象。
风险点2(B 级) 在通知合同修订过程中,不能做到详细告知,沟通不充分,造成合同重复审核或退回,使其产生不满情绪,可能导致其进行投诉。
风险点3(A 级) 过于依赖和相信经办人,没有认真查阅相关资料,或审计专业能力欠佳,对申报是否符合规定要求,未认真审核,造成医院经济损失或合同纠纷。
风险点4(B 级) 备案时未认真审核审批资料,致使备案材料不符合要求,影响日后项目验收及合同付款管理。
风险点5(C 级) 档案管理不严格,不及时移交,发生资料丢失或损坏,造成无法弥补的损失。
风险点6(C 级) 审核及发出审批报告不及时,引发相关科室投诉或合同纠纷,造成不良后果。
XX 医院合同审批权力运行工作流程图(范例)根据填写的《合同审批表》内容,对已经分管院领导预审并签字通过的合同予以受理审批。
资料受理审核材料及 出具意见审批盖章备案对送审资料包括领导班子批示立项书、采购小组会议纪要、中标通知书及合同正本内容等进行审查,出具《合同审核意见反馈表》,对不符合要求的,予以指出并退回,待修改或补充完整后再提交审核。
合同审批通过后,审计部门将合同及相关资料复印或扫描留底备查,合同正本交由院办保管备案。
经审计、财务审核会签后,草拟审核意见,呈纪委书记审批,经签字同意后,签发医院印鉴使用申请,经办人将合同提交院办加盖公章。
办理程序备案完毕,将合同整理归档,并移交档案馆。
自受理申请之日起4-7个工作日完成审核工作,出具书面审核意见。
材料归档办理时间 规定 ① 对外公开合同审批流程和合同送审材料清单; ② 充分征求有关部门意见; ③ 严格执行专家论证制度。
④ 严格执行有关法律法规、政策等规定。
⑤ 严格执行医院合同付款方式规定,医院物资采购和管理等制度。
⑥ 规范医院合同文本,制订常用合同范本。
卫生局权力运行流程图(初稿)二0一一年七月目录重大事项决策流程图 (1)盟直卫生系统科级干部选拔任用流程图 (2)人员调配工作风险防范管理流程图 (3)财务审批流程图 (4)年度经费收支预决算流程图 (5)接待审批流程图 (6)局直属单位内部经济责任审计流程图 (7)固定资产、办公用品采购分配流程图 (8)公务用车管理流程图 (9)医师执业注册 (10)护士执业注册 (11)医疗机构设置审批 (12)医疗机构使用麻醉药品和第一类精神药品的审批 (13)医疗事故技术鉴定申请受理及移送 (14)医疗机构执业许可证校验 (15)医疗广告内容初审上报 (16)餐饮服务许可流程图 (17)公共场所卫生许可流程图 (18)生活饮用水卫生许可流程图 (19)放射诊疗卫生许可流程图 (20)从业人员健康合格证和放射工作人员证核发流程图 (21)食品卫生行政处罚案件流程图 (22)公共场所、生活饮用水、化妆品、学校卫生行政处罚案件流程图 (23)职业卫生、放射卫生行政处罚案件流程图 (24)医疗卫生、采供血、传染病防治、消毒卫生行政处罚案件流程图 (25)卫生监督检查程序流程图 (26)卫生行政强制程序流程图 (27)母婴保健技术服务执业许可证核发 (28)阿拉善盟新型农村合作医疗盟内就诊补偿流程图 (29)阿拉善盟新型农村合作医疗盟外就诊补偿流程图 (30)阿拉善盟新型农村合作医疗门诊患者补偿流程图 (31)重大事项决策流程图局领导,承办部门、单位对需研究决策的重大事项组织调研▲分管局长组织承办部门、单位形成 重大事项决策方案风险点:重大决策未制定方案或方案制订不符合程序规定。
预防控制措施:做好方案制定前期充分调研;重大决策方案分送党委成员及各部门、单位讨论修改完善。
风险点:重大事项决策方案组织实施不到位。
预防控制措施:明确分管局长具体负责;局党委对决策的执行情况进行跟踪督查▲ 明确分管局长,按党委的决策 组织实施对党委会确定的事项进入责任分解提交党委会确认讨论通过对决策的各项措施落实情况、实施效果等综合评估形成书面报告盟直卫生系统科级干部选拔任用流程图▲依据局科级后备基本条件民主推荐局科级后备干部人选,由局办公室备案风险点:科级后备干部推荐是否符合规定程序。
乌马河区疾病预防控制中心小微权力运行
操作手册
乌马河区疾病预防控制中心
2018年8月
主任、党支部书记:王晓华
班子成员:王晓华、杨海凤
党支部成员:王晓华、杨海凤、惠艳伟、王耀
2、“三重一大”流程图重大事项决策流程
重大人事任免(干部选拔任用方式一)流程重大人事任免(干部选拔任用方式二)流程
重大项目决策流程
大额度资金使用管理流程
3、公务接待流程
4、职员招聘流程
5、专业技术资格评聘流程
6、基建、维修、装修工程项目审批和实施流程
7、物资采购分配管理流程(一)
8、汽车维修流程
9、公务用车管理流程
12、固定资产报废流程
13、疫苗流通运转管理流程图
15、卫生宣传工作管理流程
16、卫生监测检验报告管理流程。
1. 院办公会议管理流程根据科室/部门实际情况提出需要医院协调解决的问题审定分管科室/部门议题汇集会议议题确定会议议题讨论议题形成决议撰写会议决议或纪要院长审批下发相关科室/部门具体落实监督并反馈院长提出整改意见2. 总值班工作流程根据医院实际情况,安排总值班人员,制定总值班表院长审批下发总值班表,并督促其执行值班人员认真履行总值班职责,协调好医院各方面工作,各科室要求其亲临现场时,务必及时赶到做好总值班记录,值班时不得擅自离开岗位自己不能处理的问题,及时请示当日带班院领导当日值班人员查看前一日值班人员值班日志,并交接清固定物品向下一班交接重要问题的处理结果及本班未完成的事项及时向院办公室通报值班情况随时审阅总值班记录,并定期向院领导汇报当班院领导给予相应指导与帮助3. 请示报告流程严重工伤、重大交通事故、大批中毒、甲类传染病及必须动员全院力量抢救病员时,先采取抢救措施通知医务部发生医疗、护理事故或严重差错,损坏或丢失贵重器材、药品,发现成批药品过期重要外事保健任务和外出会诊以及上级部门借调人员重要医疗文书、机密文件及基建、设备、物流等档案资料外借及丢失重要脏器切除、截肢、新开展手术项目实施以及新技术、新疗法和自制药品首次应用于临床制定、修改医疗规章制度、技术操作常规或科室新制度医务部紧急、重大经济开支报批请示分管院长酌情请示院长报告医务部,并经学术委员会论证分管院长审批通知分管副院长院长做出指示分管副院长审核院长审批分管副院长审批非工作时间内的紧急行政、医疗等事务,请示医院总值班工作人员出差、参加院外进修学习、接受院外任务带班领导批复上级领导干部住院报送医务部和院办公室按授权批复通知院长患者病情危重或死亡分管副院长批复报送医务部医患冲突事件通知安全保卫部调查核实处理酌情请示院长4. 公章使用流程单位或个人使用公章以医院名义上报、下发、外送的文件、资料、报表各类合同、协议、委托书以及职工出国、出境探亲或旅游证明职工外出学习、开会、参观科室/部门主任签字院长同意并开具介绍信确认盖章事由详细登记登记表归档因公外出考察、联系业务职工发表专业论文和稿件职工私人取款、取物、挂失、办证职工开具各类证明分管副院长签字院长签字分管副院长签字院长签字院长签发原件医务部登记、审批、签字分管副院长签字5. 文件发放流程要发文的科室/部门拟定文件内容科室/部门主任审阅签字同意留存年终存档发放至相关科室执行或报送上级部门院办公主任审稿相关部门按照文件精神执行制作红头文件,并加盖公章院办公室督促、检查院办公室登记、编写文号院长签发6. 文件接收流程接受上级部门及有关单位来文对文件进行编号、登记相关部门按照文件精神执行办理填写文件传阅单回收保管传阅、处理完毕的文件根据领导批示下发督办单年终归档主任签署拟办意见审核批示7. 合同管理流程整理合同书并存入档案室主办科室根据具体事务起草合同具体条款整理合同草案并上报院领导医院法律顾问审核条例内容把院领导审核意见下发主办科室确定正式合同书,准备正式合同文本达成共识主办科室与合同方谈合同条款审核同意院长审批下发院长审批意见双方签订正式合同8. 档案管理工作流程按规定程序执行销毁收集各种原始档案资料按照文书档案、科技档案、会计档案、声像档案、实物档案等种类进行分类编制案卷目录及各种检索工具编写卷内文件目录确定保存年限装订成册,规范书写封面编写页码、档案号做好安全保密工作,保持标准存档环境严格执行外借手续,做好详细外借登记各部门协助院办公室收集各种原始资料9. 患者满意度测评流程院长对测评中发现的一些问题做出批示草拟患者满意度测评计划及实施方案收集各科室医患关系数据统计并整理回收的资料及调查数据整理院领导讨论结果,形成正式患者满意度测评计划和实施方案启动进行患者满意度测评实施方案院领导讨论通过分析比较调查结果,对发现的问题提出初步的解决方案撰写患者满意度测评报告,并上报院长制作患者满意度调查问卷,并开展问卷调查通过当面或电话的方式与患者进行深入访谈协助公司开展患者满意度测评10. 患者投诉处理管理流程调查并反馈处理效果,上报院长热情接待投诉者,认真对待投诉电话和信件下发处理办法,并督促相关科室/部门落实处理办法对投诉者进行安抚,并详细记录投诉的原由及对问题处理的要求整理投诉意见,并请示分管副院长或院长分管副院长或院长批示各科室/部门落实处理办法按照领导批示,进行认真调查、了解,形成初步处理方案各科室协助调查院领导集体讨论并做批示11. 公务用车管理流程每月汇总各科室车辆使用情况用车部门填写车辆使用申请单出车回院院办公室审定超出市区范围的由分管副院长或院长批准汇报出车情况院办公室填写派车通知单通知司机出车使用车辆回收并保管车钥匙遇特殊情况不能按时返回,及时通知院办公室并说明原因。