上海大众全新帕萨特轿车 ABS_ESP 电路图
- 格式:pdf
- 大小:1.69 MB
- 文档页数:9
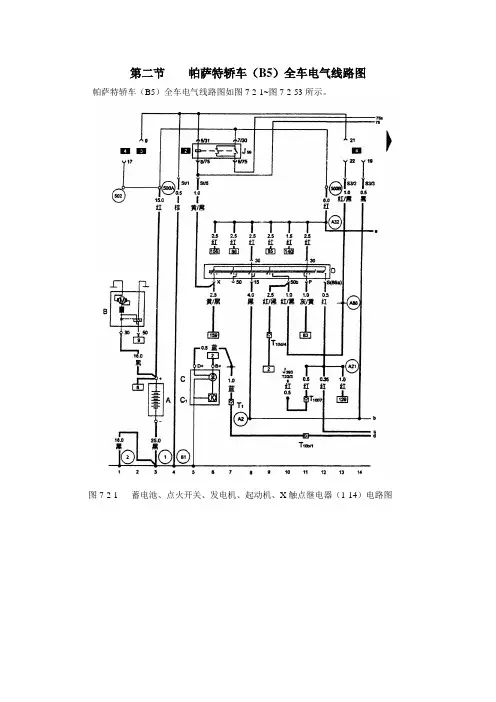
第二节帕萨特轿车(B5)全车电气线路图帕萨特轿车(B5)全车电气线路图如图7-2-1~图7-2-53所示。
图7-2-1 蓄电池、点火开关、发电机、起动机、X触点继电器(1-14)电路图A-蓄电池B-起动机C-发电机C1-调压器J59-X触点继电器J393-舒适电子的控制单元T1-单针插头,蓝色,在发动机缸线体的右侧T10d-10针插头,棕色,在发动机室中的控制单元防护罩的左侧T10f-10针插头,蓝色,在左A柱处(6号位)T23-23针插头,舒适电子的控制单元的连接插头A2 -正极连接点(15),在仪表线束内A17 –连接线(61),在仪表线束内A21 –连接线(86S),在仪表线束内A32 –正极连接线(30)在仪表板线束内A86 –连接线(50b),在仪表板线束内500A-螺栓连接点1(30c火线),在继电器板上500B -螺栓连接点1(30c火线),在继电器板上①-接地点,蓄电池与车身②-接地点,变速器车身-接地连接点,在仪表板线束内-螺栓连接点3(30火线),在继电器板上图7-2-2 电子防盗器、防盗器报警灯、自诊断接口、发电机充电指示灯(15-28)电路图D2-防盗器识读线圈J220-电喷控制单元J285-仪表板显示控制单元J362-防止盗器控制单元K2-发电机充电指示灯K117-防盗器报警灯S12-保险丝12,10A,在保险丝架上S13-保险丝13,10A,在保险丝架上S15-保险丝15,10A,在保险丝架上S239-保险丝39,15A,在保险丝架上S240-保险丝40,25A,在保险丝架上T10b-10针插头,黑色,在发动机室中的控制单元防护罩中的右侧(1号位)T10d-10针插头,棕色,在发动机室中的控制单元防护罩中的右侧(2号位)T10e-10针插头,橙色,在发动机室中的控制单元防护罩中的左侧(4号位)T16-16针插头,在换档操纵杆处,自诊断接口T(16+3)-19针插头,橙/红色,在发动机室中的控制单元防护罩中的右侧(3号位)T32a-32针插头,蓝色,在仪表板内T32b-32针插头,绿色,在仪表板内-正极连接线(30),在仪表线束内-正极连接线(15),在仪表线束内–K诊断连接线,在仪表板线束内-接地连接点,在仪表板内图7-2-3 仪表板、数字钟、里程表、灯光打开时报警蜂鸣器等(29-42)电路图C22-里程表传感器,在变速器内H16-灯光打开时的报警蜂鸣器J220-电喷控制单元J104-ABS制动防打抱死系统的控制单元J234-安全气囊的控制单元J393-舒适电子的控制单元L75-数字钟显示照明灯S22-保险丝22,5A,在保险丝架上S223-保险丝23,5A,在保险丝架上T3-3针插头(里程表传感器插头)T6-6针插头,黑色,左右A柱处(不接在支架上)T10b-10针插头,黑色,在发动机室中的控制单元防护罩中的左侧(1号位)T10d-10针插头,棕色,在发动机室中的控制单元防护罩中的右侧(2号位)T10f-10针插头,蓝色,在左A柱处(6号位)T10p-10针插头,黄色,在左A柱处(6号位)T10n-10针插头,橙色,在左A柱处(15号位)T23-23针插头,舒适电子的控制单元的连接插头T23-23针插头,在舒适系统控制单元上T25-25针插头,在ABS控制单元上T32a-32针插头,蓝色,在仪表板内T75-75针插头,在安全气囊控制单元上T80-80针插头,在发动机控制单元上Y2-数字钟–连接线(车门接触开关),在仪表板线束内–连接线(车速信号),在仪表板线束内-连接线(58L),在仪表板线束内-连接线(58R),在仪表板线束内-接地连接点2,在仪表板线束内图7-2-4 仪表板、制动系统警告灯、转向警告灯、远光指示灯、制动液位报警开关等(43-56)电路图F1-机油压力开关(高压)F34-制动液位报警开关F120-发动机罩开关G5-转速表G21-车速表J285-仪表板显示控制单元K1-远光灯指示灯K7-手制动警告灯K13-后雾灯警告灯K65-左侧转向指示灯K94-右侧转向指示灯K106-风窗清洗液位警告灯K118-制动系统警告灯T6-6针插座,红色(空位)T9c-9针插座,绿色,接398继电器(中央电器板4号位)T10a-10针插头,棕色,在左A柱处(8号位)T10b-10针插头,黑色,在发动机室中的控制单元防护罩的左侧(1号位)T10c-10针插头,紫色,在左A柱处(17号位)T10h-10针插头,棕色,在左A柱处(12号位)T10n-10针插头,橙色,在左A柱处(15号位)T32a-32针插头,蓝色,在仪表板线束内T32b-32针插头,绿色,在仪表板线束内-正极连接线(右转向信号),在仪表板线束内-正极连接线(左转向信号),在仪表板线束内–连接线(手制动报警),在仪表板线束内-接地连接线,在后线束内图7-2-5 仪表板、环境温度传感器、冷却液温度传感器、冷却液液位开关、燃油表传感器、CAN总线和机油状态传感器等(57-70)电路图CAN(H)-CAN总线的高位CAN(L)-CAN总线的低位F66-冷却液液位开关G-燃油表传感器G1-机油状态传感器G2-冷却液温度传感器表G17-环境温度传感器,在左前保险杠上T2a-2针插头,在发动机室的左前T2b-2针插头,黑色,在左A柱处T6c-6针插头,蓝色,在左A柱(11号位)T10a-10针插头,棕色,在左A柱处(8号位)T10b-10针插头,黑色,在发动机室中的控制单元防护罩中的左侧(1号位)T10d-10针插头,棕色,在发动机室中的控制单元防护罩中的左侧(2号位)T10k-10针插头,灰色,在左A柱处(14号位)–连接线(燃油状态),在仪表线束内–连接线(环境温度),在仪表板线束内–连接线(冷却温度),在仪表线束内–连接线(冷却液位),在仪表线束内–接地连接点,在发动机线束内(由接地点分出)–连地连接点,在发动机线束内(由接地点分出)–接地连接线,在后线束内图7-2-6 手制动开关、清洗液位传感器、制动片磨损信号开关等(71-84)电路图F9-手制动报警开关G33-清洗液位传感器T6-6针插座,红色(空位)T10g-10针插头,灰色,在右A柱处(11号位)T10s-10针插头,粉红色,在左A柱处(10号位)T10t-10针插头,红色,在左A柱处(9号位)Fz1-左侧制动片磨损信号开关Fz2-右侧制动片磨损信号开关–连接线(手制动报警),在仪表板线束内–接地点,在左A柱处–接地点,在左A柱处–接地点,在左后柱–接地点,在左后柱–接地连接点,在仪表板线束内(由分出)–接地连接点,在后线束内(由分出)–接地连接点,在后线束内(由分出)–接地连接点,在后线束内(由分出)–接地连接点,在后线束内图7-2-7 转向开关、大灯变光开关、停车灯开关、左前灯(85-98)电路图E2-转向开关E4-大灯变光开关E19-停车灯开关M1-左前停车灯M5-左前转向灯M18-左侧面转向灯M29-左侧近光灯M30-左侧远光灯S19-保险丝19,10A在保险丝架上T5b-5针插头,黑色,在左大灯内T10s-10针插头,粉红色,在左A柱处(10号位)T10t-10针插头,红色,在左A柱处(9号位)T12-12针插头,在转向柱右侧处–连接线1(56a),在仪表板线束内–接地点,在左A柱处–接地连接点,在左大灯线束内(由分出)图7-2-8 带转向继电器的警告灯开关、右前灯(99-112)电路图E3-警告灯开关J1-转向继电器K6-警告灯开关的报警灯L35-警告灯开关的照明灯M3-右前停车灯M7-右前转向灯M19-右前侧转向灯M31-右近光灯M32-右远光灯S18-保险丝18,10A,在保险丝架上T5a-5针插头,黑色,在右大灯内T6b-6针插头,粉红色,在右A柱处(8号位)T7a-7针插头,在警告灯开关上–接地点,在右A柱处–接地点,在仪表板下,在左A柱处–接地连接点,在仪表板线束内(由分出)–接地连接点,在大灯线束内(由分出)图7-2-9 制动灯开关、制动灯、尾灯(113-126)电路图F-制动灯开关M6-左后转向灯M8-右后转向灯M21-左制动灯和尾灯M22-右制动灯和尾灯M25-高位制动灯T6a-6针插头,在左尾灯处T6b-6针插头,在右尾灯处T6c-6针插头,蓝色,在左A柱处(11号位)T10a-10针插头,棕色,在左A柱处(8号位)-正极连接线(右转向信号),在仪表板线束内-正极连接线(左转向信号),在仪表板线束内–连接线(制动灯开关),在仪表板线束内-正极连接(54),在后线束内-接地点,在左尾灯架上-接地点,在右尾灯架上–接地连接点,在后线束内(由分出)–接地连接点,在后线束内(由分出)图7-2-10 收放机、点烟器、仪表板通风照明(127-140)电路图L28-点烟器照明灯L67-左测仪表板通风照明灯L68-中央仪表板通风照明灯L69-右测仪表板通风照明灯R-收放机S233-保险丝33,15A,在保险丝架上S237-保险丝37,20A,在保险丝架上T2c-2针插头,在仪表板下右侧T8-8针插头,在收放机上,(收放机电源插头)T10b-10针插头,黑色,在发动机室中的控制单元防护罩中的左侧(1号位)T(16+3)-19针插头,橙/红,在发动机室中的控制单元防护罩中的左侧(3号位)U1-点烟器-连接线(58d),在仪表板线束内-正极连接线(30al),在仪表板线束内-连接线2(58d),在仪表板线束内-螺柱连接点2(30B火线),在继电器板上-螺柱连接点2(30B火线),在继电器板上-接地点(收放机),在仪表板线束内-接地连接点,在仪表线束内-接地连接点,在仪表板线束内图7-2-11 开关和仪表灯光控制、大灯调节、大灯调节电机(141-154)电路图E20-开关和仪表灯控制E102-大灯调节器L54-大灯调节器照明灯S20-保险丝20,10A(15A),在保险丝架上S21-保险丝21,10A(15A),在保险丝架上T6d-6针插头,粉红色,在右A柱处(8号位)T6i-6针插头,黑色,在大灯调节开关上T6k-6针插头,红色,在右A柱处(8号位)T10s-10针插头,粉红色,在左A柱处(10号位)T10t-10针插头,红色,在左A柱处(9号位)V48-左大灯调节电机V49-右大灯调节电机–连接线(56),在仪表板线束内-接地连接点,在仪表板线束内(由分出)图7-2-12 灯光开关、雾灯开关、杂物箱灯、牌照灯(155-168)电路图E1-灯光开关E18-雾灯开关L9-灯光开关照明灯S3-保险丝3,5A,在保险丝架上S4-保险丝4,5A,在保险丝架上S236-保险丝36,15A,在保险丝架上T2-2针插头,在行李箱盖上T10a-10针插头,棕色,在左A柱处(8号位)W6-杂物箱灯X-牌照灯-正极连接线(58),在仪表板线束内–连接线(X),在仪表板线束内–连接线(后雾灯),在仪表板线束内–连接线(30a火线),在底盘线束内-接地连接点,在仪表板线束内(由分出)-接地连接点,在后线束内(由分出)–螺钉连接点(75x火线),在继电器板上图7-2-13 前后雾灯、倒车灯(169-182)电路图F4-倒车灯开关L22、L23-左前雾灯、右前雾灯L46-左后雾灯M16-左倒车灯M17-右倒车灯S231-保险丝31,15A,在保险丝架上T2a-2针插头T2b-2针插头T5a-5针插头T5b-5针插头T6a-6针插头,在左尾灯处T6b-6针插头,在右尾灯处T6c-6针插头,蓝色,在左A柱处(11号位)T6k-6针插头,红色,在右A柱处(9号位)T10a-10针插头,棕色,在左A柱处(8号位)T10b-10针插头,黑色,在发动机室中控制单元防护罩中的左侧(1号位) T(16+3)-19针插头,橙/红色,在发动机室中控制单元防护罩中的左侧(3号位)–连接线(15a,保险丝231),在仪表板线束内–连接线(倒车灯),在仪表板线束内–连接线(后雾灯),在仪表板线束内–连接点,在仪表板线束内-接地点,在左尾灯架上-接地点,在右尾灯架上-接地连接点,在右大灯线束内(由分出)-接地连接点,在左大灯线束内(由分出)T10t-10针插头,红色,在左A柱处(9号位)T10d-10针插头,棕色,在发动机室中控制单元防护罩中的左侧(2号位)图7-2-14 双音喇叭及继电器(183-196)电路图H-喇叭按钮(开关)H1-双音喇叭J4-喇叭继电器T5c-5针插头,黄色,在右转向柱处T6k-6针插头,红色,在左A柱处T10t-10针插头,红色,在左A柱处(9号位)-连接线(71),在仪表板线束内-连接线(喇叭),在仪表板线束内-方向盘上的接地点-接地连接点,在仪表线束内(由分出)-接地连接点,在仪表线束内(由分出)-接地连接点,在仪表线束内(由分出)图7-2-15 新鲜空气鼓风机开关、鼓风机和空气循环开关、新鲜空气/空气循环叶板定位电动机(197-210)电路图E9-新鲜空气鼓风机开关E184-新鲜空气鼓风机和空气循环开关E114-新鲜空气鼓风机和空气循环工作警告灯L16-新鲜空气调节器照明灯N24-带过热保险丝的新鲜空气鼓风机的调节电阻S2-保险丝2,5A,在保险丝架上S225-保险丝25,36A,在保险丝架上T4a-4针插头,在调节电阻上T6g-6针插头,在新鲜空气鼓风机开关上T8a-8针插头,在新鲜空气鼓风机空气循环开关上V2-新鲜空气鼓风机V154-新鲜空气/空气循环叶板定位电机-连接线,在仪表板线束内-接地连接点,在仪表板线束内(由分出)-接地连接点,在仪表板线束内(由分出)图7-2-16 后风窗加热开关、后风窗加热器(211-224)电路图E15-后风窗加热开关J393-舒适电子系统的控制单元K10-后风窗加热的指示灯L39-后风窗加热开关的照明灯S224-保险丝24,25A,在保险丝架上S226-保险丝26,30A,在保险丝架上T6c-6针插头,蓝色,在左A柱处(11号位)T6h-6针插头,黑色,在后风窗加热开关上Z T23-23针插头,舒适电子的控制单元1-后内窗加热-连接线(转速信号),在仪表线线束内-连接线(后风窗加热器),在仪表板线束内-接地点,在行李箱板下-接地连接点,在仪表板线束内(由分出)图7-2-17 雨刮器继电器、前风挡雨刮器电动机(225-238)电路图E38-间隙雨刮控制J31-雨刮间隙继电器,在13位置继电器板上T6e-6针插头,黑色,在转向柱右侧处T10c-10针插头,紫色,在左A柱处(17号位)V-雨刮电机-连接线,在仪表板线束内-连接线(转速信号),在组合仪表线束内-接地连接点,在仪表板线束内(由分出)图7-2-18 雨刮器继电器、雨刮器开关、前风挡玻璃清洗电动机(239-252)电路图E22-雨刮器开关J31-雨刮间隙继电器,在13位置继电器板上T8b-8针插头,在雨刮器上T10s-10针插头,粉红色,在左A柱处(10号位)T10t-10针插头,红色,在左A柱处(9号位)V59-前风窗清洗泵-接地连接点,在仪表板线束内(由分出)-连接线,在仪表板线束内。
第6节舒适系统电路图1、驾驶员侧车门控制单元、电动摇窗机开关、车内中央闭锁开关(1-14)电路图E39-后电动摇窗机锁止开关E40-左前电动摇窗机开关E53-左前电动摇窗机开关(驾驶员控制)E55-右后电动摇窗机开关(驾驶员控制)E81-右前电动摇窗机开关(驾驶员控制)E150-车内中央闭锁开关(驾驶员控制)J386-驾驶员侧车门控制单元L53-摇窗机开关指示灯泡S37-电动摇窗机保险丝,在8位置继电器架上T10L-10针插头,黑色,在左A柱处(2号位)T16b-16针插头T29a-29针插头V147-驾驶员侧电动摇窗机马达W3 -连接线(30a线),在后线束内502 -螺栓连接点(30A号火线),在继电器板上2、驾驶员侧车门控制单元、闭锁单元、左前闭锁“安全”警告灯(15-28)电路图F220-驾驶员侧的闭锁控制单元K133-中央闭锁系统(带安全功能)的警告指示灯T8c-8针插头,黑色,在驾驶员侧的闭锁单元上W31-左前门灯T10 L-10针插头,黑色,在左A柱处(2号位)44A -左A柱接地点R14 -连接线,在驾驶员侧车门线束内W29 -CAN总线的A线(高位),在底盘线束内W30 -CAN总线的B线(低位),在底盘线束内86 -接地连接线,在后线束内205 -接地连接线,在驾驶员侧车门线束内3、驾驶员侧车门控制单元、后视镜调节开关及驾驶员侧后视镜的加热器(29-42)电路图E43-后视镜调节开关E48-后视镜调节转换开关L78-后视镜调节开关照明灯E10e-10针插头,在后视镜调节开关上E10L-10针插头,黑色,在左A柱处(2号位)T12-12针插头V17-驾驶员侧后视镜调节马达V121-驾驶员侧后视镜复位马达V149-驾驶员侧后视镜调节马达Z4-驾驶员侧后侧镜加热器R27 -连接线,在驾驶员侧车门线束内W20 -连接线,(30a),在后线束内4、左后车门控制单元、闭锁单元及左右电动摇窗机(43-56)电路图E52-左后电动摇窗机开关F222-左后闭锁控制单元(图中开关处于车门打开的位置)J388-左后车门控制单元L53-摇窗机开关指示灯泡T5e-5针插头T6e-6针插头T8t-8针插头,黑色,在左B处T18a-18针插头V26-左后电动摇窗机马达W33-左后门灯57A -左B柱接地点R31 -连接线,在左后车门线束内5、右前车门控制单元、闭锁单元及右前门灯(57-70)电路图F221-右前闭锁控制单元J387-右前车门控制单元S14-14号保险丝,10A,在保险丝架上S38-38号保险丝,15A,在保险丝架上T8d-8针插头,蓝色,在右前闭锁单元上T10f-10针插头,蓝色,在左A柱处(6号位)T10w-10针插头,黑色,在右A柱处(3号位)T29b-29针插头W32-右前门灯43A -右A柱接地点500B –螺栓连接点(30c号火线),在继电器板上A32 -连接线,在仪表板线束内R29 -连接线,在右前车门线束内206 -接地连接线,在右前线束内6、右前车门控制单元、右前电动摇窗机开关及右前后视镜加热器(71-84)电路图E107-电动摇窗机开关(在右前车门上)E53-摇窗机开关指示灯泡T5f-5针插头,在电动摇窗机开关上T10w-10针插头,黑色,在右A柱处(3号位)T12a-12针插头,黑色V25-右前后视镜调节马达V122-右前后视镜复位马达V148-右前电动摇窗机马达V150-右前后视镜调节马达Z5-右前后视镜加热器R36 -连接线,在右前车门线束内7、右后车门控制单元、闭锁单元、右后电动摇窗机及右后门灯(85-98)电路图E54-右后电动摇窗机开关F223-右后闭锁控制单元J389-右后车门控制单元L53-摇窗机开关指示灯泡T5g-5针插头,在右后电动摇窗机开关上T6f-6针插头,在右后闭锁控制单元上T8u-8针插头,黑色,在右B柱处T18b –18针插头,在右后车门闭锁单元上V27-右后电动摇窗机马达W34-右后门灯75A -右B柱接地点R32 -连接线,在右车门后线束内W3 -连接线(a线),在后线束内W20 -连接线(30a号火线),在后线束内8、前车内顶灯、阅读灯及遮阳板和化妆镜照明灯(99-112)电路图F147-驾驶员侧化妆镜照明灯接触开关F148-右前化妆镜照明灯接触开关T10o –10针插头,淡绿色,在左A柱处(3号位)W-车内顶灯W11-左后阅读灯W12-右后阅读灯W14-右前化妆镜照明灯W20-驾驶员侧化妆镜照明灯R4 -连接线,在车内灯/车门接触开关线束内R6 -连接线,在车内灯线束内W36 –连接线(30a),在底盘线束内44 -左A柱接地点128 -接地连接线,在车内灯线束内9、舒适电子中央控制单元、行李箱照明灯(113-126)电路图E5-行李箱照明灯开关J285-组合仪表控制单元J393-舒适电子中央控制单元T10f-10针插头,蓝色,在左A柱处(6号位)T23-23针插头,在舒适电子中央控制单元上W3-行李箱照明灯A27 -至转速信号线,在仪表板线束内57B -左B柱处接地点W19 -连接点(行李箱照极),在后线束内W29 -(CAN1)-CAN总线的A线,在底盘线束内W30 -(CAN2)-CAN总线的B线,在底盘线束内W36 -连接线(30a),在底盘线束内46-舒适系统接地点,左侧搁脚空间接地点87 -接地连接点,在左后线束内(57B分出)196 -接地接点,在左后线束内(57B分出)10、舒适电子中央控制单元、行李箱盖闭锁装置(127-140)电路图F15-后风窗加热开关F218-行李箱盖中央闭锁开关T6c-6针插头,在左A柱处(11号位)T10f-10针插头,蓝色,在左A柱处(6号位)T10L-10针插头,黑色,在左A柱处(2号位)T10o-10针插头,淡绿色,在左A柱处(3号位)T23-23针插头,在舒适电子中央控制单元上V53-用于中央闭锁的行李箱盖马达Z1-后风窗加热器D-点火开关S6-保险丝6,5AA2 -正板连接线,在仪表板线束内A82 -风窗加热连接线,在仪表板线束内196 -接地连接点,在左后线束内(由57B分出)11、舒适电子中央控制单元、加油盖遥控开启开关(141-154)电路图D-点火开关L104-摇控闭锁开启开关的照明灯R-收放机T8-8针插头,在收放机上T1a-单针插头(安全气囊信号),棕色,左右A柱处的A位T10f-10针插头,蓝色,在左A柱处(6号位)T10o-10针插头,淡绿色,在左A柱处(3号位)V155-油箱盖开启马达E204-油箱盖开启开关A21 -连接线,在仪表板线束内A76 -至K线A117 -连接点,在底盘线束内T4 -4针插头,黄色75B -右B柱处接地点W38 -连接线(58d),在地板线束内86 -接地连接点,在左后线束内(由44A分出)197 -在右后线束内(由75B分出)第7节空调系统电路图1、新鲜空气鼓风机、空调开关、环境温度开关、空气循环控制阀(1-15)电路图E9-新鲜空气鼓风机开关E35-空调开关E184-新鲜空气和循环空气开关F38-环境温度开关(小于等于5℃)K84-空调警告灯K114-新鲜空气和循环空气开关警告灯L16-新鲜空气控制照明灯N24-带保险丝的新鲜空气鼓风机串联电阻S225-保险丝,在保险丝架上S236-保险丝,在保险丝架上T4a-4针插头,在串联电阻上T8a-8针插头,在新鲜空气和循环空气开关上T9a-9针插座,在中央电器板上,红色,接393继电器T6g-6针插头,在新鲜空气鼓风机开关上V2-新鲜空气鼓风机V154-新鲜/循环空气板定位马达A19 -连接点(58d),在仪表板线束内A36 -连接点(75a),在仪表板线束内A80 -连接点(X),在仪表板线束内135-接地连接点,在仪表板线束内(由30 分出)503 -螺钉连接点,(75x火线),在继电器板上2、空调控制单元、空调电磁离合器和环境温度传感器(16-29)电路图G17-环境温度传感器J220-发动机控制单元J285-组合仪表的控制单元J314-空调切断控制单元,在13位置继电器架上的4号位(398继电器)N25-空调电磁离合器T2a-2针插头T10k –10针插头,灰色,在左A柱处(14号位)T(16+3)-19针插头,在发动机室的控制单元防护罩内(3号位)T80-80针插头,在发动机控制单元上T32b-32针插头,绿色,在仪表板线束内A36 -连接点(75x火线),在仪表板线束内A73 -连接点(环境温度表),在仪表板线束内A79 -连接点(过热灯开关),在仪表板线束内135 -接地连接点,在仪表板线束内(由30 分出)3、锁止二极管、风扇继电器(30-43)电路图E15-后风窗加热开关J26-散热风扇继电器,在13位置继电器板上1号位上(373继电器)J28-过热/空调锁止二极管J220-发动机控制单元S14-14号保险丝,10A,在保险丝架上T6-6针插座,黑色,在右B柱边上(不挂在上面)T6h-6针插头,黑色,在后风窗加热开关上T10d-10针插头,棕色,在发动机室防护罩内的左侧(2号位)T10k-10针插头,灰色,在左A柱处(14号位)T(16+3)-19针插头,橙/红色,在发动机室防护罩内(3号位)T80-80针插头,在发动机控制单元上T9b-9针插座,在中央电器板上,棕色(空位)A32 -正极连接线(30),在仪表板线束内A64 -连接点(转速信号),在仪表板线束内A105 -连接点(转速信号)2,在仪表板线束内500B -螺栓连接点(30c号火线),在继电器板上30-接地点,在继电器板附近(左A柱)81-接地连接点,在仪表板线束内(由30 分出)135 -接地连接点,在仪表板线束内(由30 分出)4、空调压力开关、风扇热敏开关、风扇继电器和风扇(44-57)电路图F18-散热风扇热敏开关F129-空调压力开关J279-散热风扇1档速度继电器(红色)在附加继电器架上(214继电器)J280-散热风扇2档速度继电器(棕色)在附加继电器架上(370继电器)N39-散热风扇的串联电阻S42-保险丝,40A,黄色,在附加继电器架上S51-保险丝,5A,红色,在附加继电器架上T2b-2针插头,在发动机室的左前侧T4-4针插头,在发动机室的左前侧T10k-10针插头,灰色在左A柱处(14号位)V7-散热风扇32 -接地点,在继电器板边上(在A柱)127 -接地连接点,在空调压缩机线束内501c 螺栓连接点2(30B号火线),在继电器板上503 -螺栓连接点(75x火线),在继电器板上第8节收放机电路图1、收放机(1-14)电路图D-点火开关J285-组合仪表的控制单元R-收放机R11-天线R24-天线放大器S237-保险丝,20A,在保险丝架上T1-单针插头T8-8针插头,黑色,在收放机上T32a-32针插头,蓝色,在组合仪表上T32b-32针插头,绿色,在组合仪表上A21 -连接线(86s),在仪表板线束内A23 -连接线(30s),在仪表板线束内A60 -连接点(转速信号),在组合仪表线束内45 -接地连接点,在仪表板下的中央左侧501A -螺栓连接点2(30B号火线),在继电器板上R-收放机R21-左前扬声器,在左前车门上R23-右前扬声器,在右前车门上T4-4针插头,黑色,在右A柱处T4a -4针插头,黑色,在右A柱处T4b-4针插头,黑色,在右A柱处T4c-4针插头,黑色,在右A柱处T8-8针插头,黑色,在收放机上(电源)T8a-8针插头,棕色,在收放机上(输出)T8c-8针插头,黑色,在左A柱处(4号位)T8d-8针插头,黑色,左右A柱处(7号位)A19 -连接线(58d),在仪表板线束内A76 -连接线(K诊断线),在仪表板线束内R-收放机R15-左后扬声器,在左后车门上R17-右后扬声器,在右后车门上T4-4针插头,黑色,在右A柱处T4b-4针插头,黑色,在左A柱处T6f-6针插头,红色,在左B柱处T6d-6针插头,红色,在右B柱处T8a-8针插头,棕色,在收放机上(输出)T8c-8针插头,黑色,在左A柱处(4号位)T8d-8针插头,黑色,左右A柱处(7号位)附录2、中央电器板 (1)正面(2)反面 53B 30A 红色4240A 红色515A棕色3130A 绿色53A 30A 红色4、左A 柱T2a 黄色6、右T4 黄/紫色8、保险丝架S2-10A S4-5A S5-10A S6-5A S7-10A S12-10A S13-10A S14-10A S15-10A S18-10A S19-10 S20-15A S21-15A S22-5A S23-5A S24-25A S25-30A S26-30A S28-20A S29-20A S31-15A S32-20A S33-15A S34-15A S36-15A S37-20A S38-15A S39-15A S40-25A。
内容编号1、基本电路图(上海帕萨特GLI、GSI轿车)蓄电池、点火开关、发电机起动机、X触点继电器…………………….………….1/1电子防盗器、防盗器报警灯、自诊断接口、发电机冲电指示灯…………………..1/2仪表板、数字钟、里程表、灯光打开时的报警蜂鸣器等…………………………..1/3仪表板、制动系统警告灯、转向警告灯、远光指示灯、制动液位报警开关等…..1/4仪表板温度传感器、冷却液温度传感器、冷却液液位开关、燃油表传感器、CAN总线和机油状态传感器等……………………………………..1/5 手制动开关、清洗液位传感器、制动磨损信号开关等………………………………1/6 转向开关、大灯变光开关、停车灯开关、左前灯……………………………………1/7 带转向继电器的警告灯开关、右前灯…………………………………………………1/8 制动灯开关、制动灯、尾灯……………………………………………………………1/9 收放机、点烟器、仪表板通风照明……………………………………………………1/10 开关和仪表灯光控制、大灯调节、大灯调节马达……………………………………1/11 灯光开关、雾灯开关、杂物箱灯、牌照灯……………………………………………1/12 前后雾灯、倒车灯………………………………………………………………………1/13 双音喇叭及继电器………………………………………………………………………1/14 新鲜空气鼓风电机开关、鼓风机和空气循环开关、新鲜空气/循环叶板定位马达1/15 后风窗加热开关、后风窗加热器………………………………………………………1/16 雨刮器继电器、雨刮器开关、前风档玻璃清洗马达…………………………………1/17 2、ANQ发动机电路图(上海帕萨特GLI、GSI轿车)蓄电池、起动机、发电机……………………………………………………………….2/1 发动机控制单元、点火系统、发动机温度传感器和凸轮轴位置传感器(霍尔传感器)………………………………………………………………………….2/2 发动机控制单元、节气门控制部件、暴震传感器1和进气温度传感器…………….2/3 发动机控制单元、曲轴位置传感器(发动机转速传感器)和暴震传感器2………..2/4 发动机控制单元、空气质量计、燃油泵继位器和喷嘴……………………………….2/5 发动机控制单元、氧传感器、活性碳罐电磁阀、可变路径进气管控制阀和凸轮轴调节阀(可变进气门相位)……………………………………………………………..2/6 发动机控制单元、四个气缸的点火线圈、火花塞连接器和火花塞…………………..2/7 机油压力开关、燃油泵、燃油表传感器、里程表传感器、冷却液开关和机油状态传感器………………………………………………………………………………..2/8 组合仪表、声光机油压力报警器、里程表、冷却液位和温度表、燃油表…………..2/9内容编号3、ABS防抱死制动系统电路图(上海帕萨特GLI、GSI轿车)ABS控制单元、车轮转速传感器………………………………………………………..3/1 ABS控制单元、ABS液压泵、电磁阀等………………………………………………..3/2 ABS控制单元、ABS报警灯……………………………………………………………..3/3 4、安全气囊系统电路图(上海帕萨特GLI、GSI轿车)安全气囊控制单元………………………………………………………………………….4/1安全气囊控制单元、前气囊气体发生器、螺旋型电缆连接器和安全气囊报警灯…….4/2 5、舒适电子系统电路图(上海帕萨特GLI、GSI轿车)驾驶员侧车门控制单元、电动摇窗机开关、车内中央闭锁开关………………………..5/1 驾驶员侧车门控制单元、闭锁单元、左前闭锁“安全”报警灯………………………..5/2 驾驶员侧车门控制单元、后视镜调节开关及驾驶员侧后视镜的加热器………………..5/3 左后车门控制单元、闭锁单元及左后电动摇窗机………………………………………..5/4 右前车门控制单元、闭锁单元及右前门灯………………………………………………..5/5 右前车门控制单元、右前电动摇窗机开关及右前后视镜加热器………………………..5/6 右后车门控制单元、闭锁单元、左后电动摇窗机及右后门灯…………………………..5/7 前车内顶车灯、阅读灯及遮阳板和化妆镜照明灯………………………………………..5/8 舒适电子中央控制单元、行李箱照明灯…………………………………………………..5/9 舒适电子中央控制单元、行李箱盖闭锁装置……………………………………………..5/10 舒适电子中央控制单元、加油箱摇控开启开关…………………………………………..5/11 舒适电子中央控制单元、中央闭锁系统(摇控)天线…………………………………..5/12 6、收放机电路图(上海帕萨特GLI、GSI轿车)收放机、天线…………………………………………………………………………………6/1 收放机、前扬声器……………………………………………………………………………6/2 收放机、后扬声器……………………………………………………………………………6/3 收放机、CD机……….…………………………………….…………………………………6/4 7、空调系统电路图(上海帕萨特GLI轿车)新鲜空气鼓风机、空调开关、环境温度开关、空气循环控制阀…………………………..7/1 空调控制单元、空调电磁离合器和环境温度传感器…………………………………………7/2 锁止二级管、风扇继电器……………………………………………………………………..7/3 空调压力开关、风扇热敏开关、风扇继电器和风扇………………………………………..7/4内容编号8、自动空调电路图(上海帕萨特GSI轿车)自动空调控制单元、温度叶板定位电机……………………………………………………8/1 自动空调控制单元、搁脚/除霜及中央叶板定位电机、发电机控制单元控制压缩机的通断………………………………………………………………………………….8/2 自动空调控制单元、送风叶板定位电机、太阳光线穿透传感器、通风温度传感器………………………………………………………………………………..8/3 自动空调控制单元、压缩机开关、环境温度传感器、通风温度传感器…………………..8/4 自动空调控制单元、前新鲜空气鼓风机、控制电磁离合器的继电器、电磁离合器……………………………………………………………………………………..8/5 散热风扇及速度控制继电器、风扇速度调节电阻、风扇热敏开关………………………..8/6 9、AG4电子控制自动变速器电路图(上海帕萨特GSI轿车)自动变速器控制单元、起动限制和倒车灯继电器……………………………………………9/1 自动变速器控制单元、多功能开关、CCS开关和自动变速器转速传感器………………..9/2 自动变速器控制单元、电磁阀、车速传感器、变速器油温度传感器等…………………..9/3 自动变速器控制单元、强制换入低档开关…………………………………………………...9/4 自动变速器控制单元、换档操纵杆锁止电磁阀、换档操纵杆照明灯及警告灯……………9/5 10、巡航定速控制系统电路图(上海帕萨特GSI轿车)制动灯开关……………………………………………………………………………………10/1 巡航定速控制单元、巡航定速控制开关、制动踏板开关………………………………...10/2 巡航定速控制单元、真空控制单元…………..……………………………………………10/3电动座椅调节电路图(上海帕萨特GSI轿车)驾驶员侧座椅高度调节、座椅倾角调节电机及开关………………………………………..11/1 驾驶员侧座椅前后调节、座椅靠背调节电机及开关……………………………………….11/2 左前座椅调节机电及开关………………………………………………………….……….11/3内容编号12、AWL发动机电路图(上海帕萨特1.8T轿车)蓄电池、起动机和发动机…………………………………………………………………..12/1 发动机控制单元凸轮轴调节阀(可变进气门相位)他凸轮轴调节阀继电器…………..12/2 发动机控制单元、发电机温度传感器、凸轮位置传感器(霍尔传感器)和CAN(L)总线……….…………………………………………………………………..12/3 发动机控制单元、增压压力传感器、加速踏板位置传感器和CAN(H)总线………...12/4 发动机控制单元、节气门控制部件、增压压力限制电磁阀、增压空气再循环阀和进气温度传感器……………………………………..…………………………..12/5 发动机控制单元、爆震传感器和曲轴位置传感器(发动机转速传感器)……..………..12/6 发动机控制单元、喷嘴…..…………………………………………………………………..12/7 发动机控制单元、点火线圈、火花塞连接器和火花塞……………………………………..12/8 发动机控制单元、空气质量计和催化净化器前的氧化传感器……………………………..12/9 发动机控制单元、催化净化器后的氧化传感器和活性碳罐电磁阀……………………..12/10 发动机控制单元、燃油泵、燃油表传感器和里程表传感器……………………………..12/11 机油压力开关、机油状态传感器、冷却液位传感器和里程表传感器…………………..12/12 组合仪表、声光机油压力报警器、里程表、冷却液位和温度表、燃油表……………..12/13 13、AG5电子控制自动变速器电路图(上海帕萨特1.8T轿车)自动变速箱控制单元、起动限制继电器……………………………………………………13/1 自动变速箱控制单元、多功能开关、CAN总线……………………………………………13/2 自动变速箱控制单元、变速器转速传感器、变速箱倒档开关…………………………….13/3 自动变速箱控制单元、电磁阀、车速传感器1、变速器油和温度传感器………………..13/4 自动变速箱控制单元、换档操纵杆锁止电磁阀和换档操纵杆照明灯及警告灯………….13/5 自动变速箱控制单元、制动踏板开关………………………………………………………13/6内容编号桑塔纳2000GSI AT中央电器继电器位置和名称……………………………………………..……………………………1/1 保险丝名称容量………………………………………………..……………………………1/2 中央电器板、保险丝架及插头布置(上海帕萨特GLI、GSI轿车)发动机控制单元防护罩内布置、中央电器板正面…………..……………………………3/1 中央电器板背面、附加继电器板……………………………..…………………………….4/1 保险丝架………………………………………………………..……………………………5/1 左A柱、左B柱……………………………………………..………………………………6/1 右A柱、右B柱……………………………………………..………………….…………...7/1 中央电器板、保险丝架及插头布置(上海帕萨特1.8T轿车)发动机控制单元防护罩内布置、中央电器板正面…………………..………………..….8/1 中央电器板背面、附加继电器板……………………………………..……………………9/1 保险丝架……………………………………………………………………………………10/1 左A柱、左B柱……………………………………………………………………………11/1 右A柱、右B柱……………………………………………………………………………12/1 组合仪表插头插脚分配……………………………………………………………………13/1 中央电器板、保险丝架及插头布置(上海帕萨特2.8V6轿车)发动机控制单元防护罩内布置、发动机控制单元防护罩内附加继电器板…………….14/1 继电器板、中央电器板正面…………………………………………………………..……15/1 中央电器背面、附加继电器板…………………………………………………………….16/1 保险丝架……………………………………………………………………………………17/1 左A柱、左B柱……………………………………………………………………………18/1 右A柱、右B柱……………………………………………………………………………19/1 前座椅底部插头布置………………………………………………………………………20/1内容编号33、组合仪表电路图组合仪表控制单元……………………………………………………………………33/1 组合仪表控制单元、数据总线的诊断接口、发电机充电指示灯…………………33/2 数据总线的诊断接口…………………………………………………………………33/3 数据总线的诊断接口…………………………………………………………………33/4 数据总线的诊断接口组合仪表控制单元、电子节气门控制故障灯………………33/5 组合仪表控制单元、转速表、车速表、里程表……………………………………33/6 组合仪表控制单元、数字钟、数字显示照明灯……………………………………33/7 组合仪表控制单元、防盗器控制单元、防盗器识读线圈、远光灯指示灯、后雾灯警告灯、防盗器报警灯………………………………………………………33/8 组合仪表控制单元、ABS警告灯、制动系统警告灯、手制动警告灯、制动片磨损报警灯、安全气囊报警灯、右侧转向指示灯…………………………33/9 组合仪表控制单元、机油压力报警器、机油液面报警灯、左侧转向指示灯…..33/10 组合仪表控制单元、冷却液温度/液位报警指示灯、燃油表、冷却液温度表、清洗液面液位警告灯…………………….………………………..33/11 组合仪表控制单元…..………………………………………………………………33/12内容编号34、空调系统电路图空调开关、环境温度开关和新鲜/循环空气板定位马达…………………………34/1新鲜空气鼓风机和新鲜空气鼓风开关…………………………………………..34/2空调切换控制单元、空调电磁离合器和过热/空调锁止二级管……………….34/3散热风扇继电器和空调压力开关……………………………………………...34/4散热风扇热敏开关、散热风扇继电器和散热风扇……………………………..34/5内容编号中央电器板、保险丝架及插头布置(上海帕萨特2.0轿车)发动机控制单元防护罩内布置、发动机控制单元防护罩内附加继电器板…………….30/1 中央电器板正面、继电器..…………………………………………………………..……31/1 中央电器背面…………………………..………………………………………………….32/1 附加继电器板、附加继电器及保险丝……………………………………………………33/1 左A柱………………………………………………………………………………………34/1 右A柱………………………………………………………………………………………35/1 左B柱、右B柱…………………………………………………………………………..36/1内容编号56、BFF发动机电路图蓄电池、起动机和发动机调压器………………………………………………...56/1 发动机控制单元、点火线圈、主继电器、火花塞和火花塞连接器…………….56/2 发动机控制单元、冷却液温度表传感器、发电机温度传感器、机油液面温度传感器和加热电阻(曲轴箱通风)……………………………….56/3 发动机控制单元、发动转速传感器和爆震传感器……………………………….56/4 发动机控制单元和节气门控制单元……………………………………………….56/5 发动机控制单元、燃油泵继电器和喷嘴………………………………………….56/6 发动机控制单元和氧传感器……………………………………………………….56/7 发动机控制单元、控制质量计、活性碳罐电磁阀和可变路径进气管控制阀….56/8 发动机控制单元、巡航定速控制设定按扭、巡航定速控制开关、制动灯开关、制动踏板开关和离合器踏板开关………………………………………………….56/9 发动机控制单元、霍尔传感器和加速器踏板位置传感器……………………….56/10 燃油表传感器、燃油泵、机油压力开关、冷却液液位传感器和里程表传感器…56/11 组合仪表控制单元冷却液温度表、燃油表、转速表机油压力报警器、电子节气门控制故障灯、数字显示照明灯和发动机舱盖接触开关…………….56/12 组合仪表控制单元、数据总线的诊断接口、里程表、发电机充电指示灯、机油压力报警灯、巡航控制报警灯、废气报警灯和点烟器照明灯……………………………56/13.内容编号14、基本电路电路图(上海帕萨特2.8V6轿车)蓄电池、X触点继电器……………………………………………………………..14/1 点火开关……………………………………………………………………………..14/2 组合仪表控制单元、制动灯开关、自诊断接口..………………………………..14/3 组合仪表控制单元、数据总线的诊断接口………………………………………..14/4 组合仪表控制单元、发电机充电指示灯、环境温度传感器……………………..14/5 组合仪表控制单元、防盗器控制单元、防盗器识读线圈、防盗器报警灯、灯光打开时报警蜂鸣器、数字显示照明灯数字钟、里程表………………………14/6 组合仪表控制单元、转速表、车速表、无光指示灯、后雾灯警告灯、转向指示灯、制动系统警告灯、制动液位报警开关………….………………………………….14/7 清洗液液位警告灯….………………………………………………………………14/8 手制动报警开关、清洗液液位传感器、杂物箱灯………………………………..14/9 转向开关、大灯变光开关、停车灯开关、左前灯………………………………..14/10 带转向继电器的警告灯开关、右前灯……………………………………………..14/11 转向灯、制动灯、尾灯、高位制动灯……………………………………………..14/12 收放机、点烟器、仪表板通风照明灯.…………………………………………..14/13 开关和仪表照明控制………………………….…………………………………..14/14 灯光开关、雾灯开关………………………………….…………………………..14/15 牌照灯、多功能开关………………………………………….…………………..14/16 喇叭、双音喇叭继电器、喇叭按钮、安全气囊螺旋型电览连接器.…………..14/17 自动空调控制单元、新鲜空气鼓风机……………………………………….…..14/18 后风窗加热开关、后风窗加热器………………………………………………….14/19 雨刮器继电器、前风窗雨刮器马达……………………………………………….14/20 雨刮器继电器、雨刮器开关、前风窗清洗泵、大灯清洗泵…………………….14/21 风窗清洗喷嘴加热电阻…………………………………………………………….14/22 15、BBG发动机电路图(上海帕萨特2.8V6轿车)蓄电池、起动机、发电机………………………………………………………….15/1 发动机控制单元、节气门控制单元、燃油泵继电器、点火线圈、火花塞、火花塞连接器………………………………………………………………………..15/2 发动机控制单元、进气温度传感器、爆震传感器…………………………………15/3 发动机控制单元、制动阻力继电器、(电子)制动真空泵、内容编号曲轴位置传感器(发动机转速传感器)………………………………………………15/4 发动机控制单元、发动机温度传感器、冷却液温度表传感器、霍尔传感器、制动助力压力传感器……………………………………………………………..15/5发动机控制单元、巡航定速控制开关、制动踏板开关…………………………15/6发动机控制单元、喷嘴……………………………………………………………15/7发动机控制单元、加速踏板位置传感器…………………………………………15/8发动机控制单元、空气质量计、活性碳罐电磁阀、可变路径进气管控制阀、凸轮轴调节阀……………………………………………………………………….15/9 发动机控制单元、氧传感器(催化净化器前)…………………………………….15/10 发动机控制单元、氧传感器(催化净化器前)…………………………………….15/11 发动机控制单元、二次空气泵继电器、二次空气泵阀、二次进气阀马达…….15/12 机油压力开关、机油液面温度传感器、发动机舱盖接触开关、冷却液液位传感器、里程表传感器……………………………………………………………………….15/13 组合仪表控制单元、燃油表传感器、燃油泵、机油液面报警灯……………….15/14 组合仪表控制单元、数据总线的诊断接口、燃油泵、里程表、转速表、冷却液温度表、发电机充电指示灯、机油压力报警器、巡航控制报警灯、电子节气门控制故障灯…….15/15 16、AG5电子控制自动变速器电路图(上海帕萨特2.8V6轿车)自动变速箱控制单元、起动限制继电器…………………………………………..16/1 自动变速箱控制单元、多功能开关、CAN总线、自诊断插座……………………16/2 自动变速箱控制单元、变速器转速传感器………………………………………..16/3 自动变速箱控制单元、温度传感器、电池阀……………………………………..16/4 自动变速箱控制单元、换档操纵杆锁止电池阀、换档操纵杆照明灯、Tiptronic开关…..16/5 自动变速箱控制单元、制动踏板开关……………………………………………….16/6 带记忆的驾驶员座椅调整控制单元…………………………………………………16/7 带记忆的驾驶员座椅调整控制单元…………………………………………………16/8 17、ABS抱死制动系统电路图(上海帕萨特2.8V6轿车)ABS控制单元、车轮转速传感器…………………………………………………….17/1 ABS控制单元、ABS液压泵、电池阀等…………………………………………….17/2 ABS控制单元、电池阀……………………………………………………………….17/3 ABS控制单元、组合仪表控制单元、ABS警告灯、前轮制动片磨损信号开关….17/4内容编号18、安全气囊系统电路图(上海帕萨特2.8V6轿车)安全气囊控制单元、侧面安全气囊气体发生器、侧面安全气囊撞击传感器…..18/1 安全气囊控制单元、安全气囊气体发生器、安全气囊螺旋型电览连接器………18/2 安全气囊控制单元、组合仪表控制单元、数据总线的诊断接口、安全气囊报警灯……….18/3 19、舒适电子系统控制电路图(上海帕萨特2.8V6轿车)驾驶员侧车门控制单元、驾驶员侧电动摇窗机开关、车内中央闭锁开关……….19/1 驾驶员侧车门控制单元、驾驶员侧的闭锁控制单元、左前门踏步灯……………19/2 驾驶员侧车门控制单元、后视镜调节/调节转换开关、车外后视镜加热开关….19/3 驾驶员侧车门控制单元、驾驶员侧后视镜调节马达、驾驶员侧后视镜的加热器19/4 驾驶员侧车门控制单元、油箱盖开启开关、油箱盖开启马达、中央锁系统(带安全功能)的警告指示灯…………………………………………………………19/5 左后控制单元、左后闭锁控制单元、左后电动摇窗机开关、左后门踏步灯…..19/6 右前门控制单元、右前闭锁控制单元、右前门踏步灯…………………………..19/7 右前门控制单元、右前后视镜调节马达、右前玻璃加热器………………………19/8 右前门控制单元、右后车门控制单元、右前电动摇窗机开关、右后电动摇窗机开关…..19/9 右前门控制单元、右后闭锁控制单元、右后门踏步灯…………………………..19/10 车内顶灯、阅读灯、化妆镜照明灯……………………………………………….19/11 舒适电子系统控制单元、行李箱照明灯、行李箱盖马达……………………….19/12 舒适电子系统控制单元、尾门/防盗锁芯接触开关报警系统/中央集控锁系统19/13 舒适电子系统控制单元…………………………………………………………….19/14 舒适电子系统控制单元、发动机舱盖接触开关、无线电远程控制天线……….19/15 20、收放机电路图(上海帕萨特2.8V6轿车)收放机、天线………………………………………………………………………..20/1 收放机、前扬声器…………………………………………………………………..20/2 收放机、后扬声器…………………………………………………………………..20/3 收放机、CD机0..…………………………………………………………………..20/4 21、车载电话电路图(上海帕萨特2.8V6轿车)收放机、X触点继电器、自诊断插座……………………………………………….21/1 车载电话控制单元、车载移动电话、收放机、电话话筒、收放机/电话天线..21/2内容编号22、Climatronic空调系统电路图(上海帕萨特2.8V6轿车)自动空调控制单元、空调电池离合器、电池离合器继电器………………….22/1自动空调控制单元、中央叶板定位电机、搁脚/除霜叶板定位电机……….22/2自动空调控制单元、新鲜空气进口通道温度传感器、太阳光线穿透传感器、中央通风温度传感器、送风叶板定位电机……………………………………..22/3自动空调控制单元、温度叶板定位电机…………………………………………22/4自动空调控制单元、环境温度传感器、搁脚处通风温度传感器、蒸发箱温度传感器………………………………………………………………….22/5 自动空调控制单元、空调压力开关……………………………………………….22/6 自动空调控制单元、新鲜空气鼓风机…………………………………………….22/7 散热风扇控制单元、Continued冷却液循环泵、右散热风扇、散热风扇热敏开关……..22/8 23、自动防眩目后视镜及雨刮传感器电路图(上海帕萨特2.8V6轿车)雨刮间隙继电器、雨量传感器………………………………………………………23/1 自动防眩目内部后视镜……………………………………………………………..23/2 24、带气体放电大灯的大灯照射范围控制电路图(上海帕萨特2.8V6轿车)大灯调节控制单元、车辆角度传感器……………………………………………..24/1 大灯调节控制单元、大灯调节马达………………………………………………..24/2 25、气体放电大灯电路图(上海帕萨特2.8V6轿车)左充电大灯控制单元、左充电大灯、左侧远光灯、左前停车灯、灯光开关…..25/1 右充电大灯控制单元、右充电大灯、右侧远光灯、右前停车灯…………………25/2 开关和仪表照明控制、牌照灯……………………………………………………..25/3 26、CAN-BUS驱动系统电路图(上海帕萨特2.8V6轿车)组合仪表控制单元、数据总线的诊断接口…………………………………………26/1 发动机控制单元、安全气囊控制单元、变速箱控制单元…………………………26/2 27、CAN-BUS舒适系统电路图(上海帕萨特2.8V6轿车)组合仪表控制单元、自诊断接口…………………………………………………….27/1 舒适电子系统控制单元、自动空调控制单元………………………………………27/2 带记忆的驾驶员座椅调整控制单元、驾驶员侧车门控制单元、左后车门控制单元………27/3 右前车门控制单元、右后车门控制单元……………………………………………27/4内容编号28、带记忆功能的电动座椅调节电路图(上海帕萨特2.8V6轿车)带记忆的驾驶员座椅调节控制单元、驾驶员座椅调节开关、驾驶员座椅记忆按钮……..28/1 带记忆的座椅调节控制单元、右前座椅调节电机………………………………..28/2 带记忆的座椅调节控制单元、驾驶员座椅靠背调节电机…………..…………..28/3 带记忆的座椅调节控制单元、驾驶员侧车门控制单元…………………………..28/4 驾驶员侧车门控制单元、驾驶员侧后视镜调节马达、驾驶员侧后视镜加热器…28/5 右前座椅侧车门控制单元、右前座椅后视镜调节马达、右前座椅后视镜加热器28/6 右前座椅调节开关、右前座椅调节电机…………………………………………..28/7 29、座椅加热电路图(上海帕萨特2.8V6轿车)驾驶员座椅加热器调整开关…………………………………………………………29/1 驾驶员座椅温度传感器、驾驶员座椅加热器……………………………………….29/2 右前座椅温度传感器、右前座椅热器调整开关…………………………………..29/3 右前座椅热器…………………………………………………………………………29/4内容编号30、组合仪表电路图-带ESP和多功能显示组合仪表(上海帕萨特V6轿车)组合仪表控制单元………………………………………………………………….30/1 组合仪表控制单元、数据总线的诊断接口、发电机充电指示灯…..………….30/2 数据总线的诊断接口……………………………………………………………….30/3 数据总线的诊断接口……………………………………………………………….30/4 数据总线的诊断接口、电子节气门控制故障灯………………………………….30/5 组合仪表控制单元、转速表、车速表、里程表………………………………….30/6 组合仪表控制单元、数字钏钟、数字显示照明灯……………………………….30/7 组合仪表控制单元、防盗器控制单元、防盗器识读线圈、远光指示灯、后雾灯警告灯、防盗器报警灯……………………………………………………30/8组合仪表控制单元、座椅安全带报警灯-报警系统、ABS警告灯、ESP报警灯、制动系统警告灯手动警告灯、制动片磨损报警灯、安全气囊报警灯右侧转向指示灯…30/9 组合仪表控制单元、机油压力报警灯、机油液面报警灯、左侧转向指示灯……30/10 组合仪表控制单元、冷却液温度表/液位报警指示灯、燃油表、冷却液温度表、清洗液液位警告灯………………………………………………………………….30/11 组合仪表控制单元、多功能显示器、多功能显示调节开关、多功能显示记忆开关……..30/12 31、CAN-bus驱动系统电路图-ESP和多功能显示组合仪表(上海帕萨特V6轿车)组合仪表控制单元、数据总线的诊断接口………………………………………..31/1 发动机控制单元、安全气囊控制单元、转向角度传感器………………………..31/2 自动变速器控制单元、带有EDL的ABS控制单元………………………………..31/3 36、行李箱插座电路图-带ESP和多功能显示组合仪表()上海帕萨特V6轿车)12V电源插座…………………………………………………………………………36/1 77、ABS/EDL/ESP电路图-带ESP和多功能显示组合仪表(上海帕萨特V6轿车)带有ESP的ABS的控制单元、ESP按扭、制动灯开关……………………………77/1 带有ESP的ABS的控制单元、ABS回油泵、ABS回油泵继电器………………….77/2 带有ESP的ABS的控制单元、车轮转速传感器……………………………………77/3 带有ESP的ABS的控制单元、制动压力传感器、侧向加速传感器和偏转率传感器……..77/4 带有ESP的ABS的控制单元、组合仪表控制单元转向角度传感器、数据总线的诊断接口、自诊断接口ABS警告灯、ESP报警灯……………………77/5内 容 编号中央电器板、保险丝架及插头布置(桑塔纳2000 轿车)继电器位置和名、继电器插座分布…………………………………………………………21/1 中央电器上保险丝名称和容量………………………………………………………………22/1 附加继电器板上保险丝名称和容量…………………………………………………………23/1 中央电器附加电器板上插头布置及插头插角分布………………………………………24/1 中央电器背面板插头和线束名称…………………………………………………………25/1 中央电器板、保险丝架及插头布置-带ESP 和多功能显示纵使仪表 (上海帕萨特V6轿车)保险丝架………………………………………………………………………………………27/1 附加继电器板…………………………………………………………………………………28/1 组合仪表插头脚分配…………………………………………………………………………29/1手动档:自LSVHH133322091860起 自动档:自LSVHJ133622093770起内容编号42、天窗电路图(上海帕萨特V6轿车)舒适电子系统控制单元…………………………………………………………….…42/1 天窗调节控制单元、天窗电机、天窗上升/下降开关、天窗调节器………….….42/2 96、停车辅助系统电路图(上海帕萨特V6轿车)停车辅助系统控制单元、蜂鸣器………………………………………………………96/1 停车辅助系统控制单元、停车辅助传感器……………………………………………96/2 停车辅助系统控制单元、组合仪表控制单元…………………………………………96/3。
图7-2-19 蓄电池、起动机、发电机(1-14)电路图A-蓄电池B-起动机C-发电机C1-发电机调压器D-点火开关S231-保险丝,(在保险丝架上)S232-保险丝,20A,(在保险丝架上)S237-保险丝,(在保险丝架上)T1-单针插头,在发动机缸体的右侧,蓝色T10b-10针插头,在发动机室中的控制单元防护罩内的左侧,黑色(1号位)T10d-10针插头,在发动机室中的控制单元防护罩内的左侧,棕色(2号位)-正极连接点(15号火线),在仪表板线束内-连接点(61),在仪表板线束内-连接点(15a),在仪表板线束内-螺栓连接点2(30B号火线),在继电器板上①-接地点,蓄电池至车身②-接地点,变速器至车身图7-2-20 发动机控制单元、点火系统、发动机温度传感器和凸轮轴位置传感器(霍尔传感器)(15-28)电路图G2-发动机温度传感器G40-凸轮轴位置传感器(霍尔传感器)G62-发动机温度传感器(用于水温表)J220-发动机控制单元,在发动机室的防护罩内T10b-10针插头,在发动机室中的控制单元防护罩内的左侧,黑色(1号位)T10e-10针插头,橙色,在发动机室中的控制单元防护罩内的左侧(4号位)T80-80针插头,在发动机室控制单元上-连接点(15a火线),在仪表板线束内-连接点,在仪表板线束内-接地连接点(传感器接地点),在发动机线束内图7-2-21 发动机控制单元、节气门控制部件、爆震传感器1和进气温度传感器(29-42)电路图F60-怠速开关G61-爆震传感器1G69-节气门电位计G42-进气温度传感器G88-节气门定位电位计J220-发动机控制单元,在发动机室的防罩内J338-节气门控制部件T3a-3针插头,在挡水隔板的左侧,绿色T8h-8针插头,在节气门控制部件上T10b-10针插头,在发动机室中的控制单元防护罩内的左侧,黑色(1号位)T10d-10针插头,在发动机室中的控制单元防护罩内的左侧,棕色(2号位)T(16+3)-19针插头,橙/红色,在发动机室中的控制单元防护罩内(3号位)T80-80针插头,在发动机控制单元上V60-怠速稳定电机-接地连接点,在发动机室线束内(由分出)-螺钉连接点2(30B号火线),在继电器板上-连接点1,在发动机室线束内图7-2-22 发动机控制单元、曲轴位置传感器(发动机转速传感器)和爆震传感器2(43-56)电路图G28-曲轴位置传感器(发动机转速传感器)G66-爆震传感器2J220-发动机控制单元,在发动机室的防护罩内T3b-3针插头,在挡水隔板的左侧,灰色T3c-3针插头,在挡水隔板的左侧,蓝色T10d-10针插头,在发动机室中的控制单元防护罩内的左侧,棕色(2号位)T80-80针插头,在发动机室控制单元上-接地点,在发动机室内的左侧-接地连接点,在发动机室线束内(由分出)-接地连接点(传感器接地点),发动机室线束内-接地连接点,在发动机室线束内(由分出)图7-2-23 发动机控制单元、空气质量计、燃油泵继电器和喷油器(57-70)电路图G70-空气质量计J17-燃油泵继电器(208),在继电器板上的4号位J220-发动机控制单元,在发动机室的防护罩内N30-喷油器,第1缸N31-喷油器,第2缸N32-喷油器,第3缸N33-喷油器,第4缸S234-保险丝,15A(在保险丝架上)T10e-10针插头,在发动机室中的控制单元防护罩内的左侧,橙色(4号位)T10b-10针插头,在发动机室中的控制单元防护罩内的左侧,黑色(1号位)T80-80针插头,在发动机室控制单元上-连接点(50a),在仪表板线束内-连接点(喷油器),在发动机室线束内-连接点(87a),在发动机室线束内S3-6针插座,红色,在中央电器板处图7-2-24 发动机控制单元、氧传感器、活性碳罐电磁阀、可变路径进气管阀和凸轮轴调节阀(可变进气门相位)(71-84)电路图G39-氧传感器J220-发动机控制单元,在发动机室的防护罩内N80-活性炭罐电磁阀N156-可变路径进气管控制阀N205-凸轮轴调节阀(可变进气门相位)S229-保险丝,20A(在保险丝架上)T4-4针插头,黑色T10e-10针插头,在发动机室中的控制单元防护罩内的左侧,橙色(4号位)T10b-10针插头,在发动机室中的控制单元防护罩内的左侧,黑色(1号位)T10d-10针插头,在发动机室中的控制单元防护罩内的左侧,棕色(2号位)T80-80针插头,在发动机控制单元上螺栓连接点,(87F号火线),在继电器板上-连接点(车速信号),在仪表板线束内-连接点(燃油信号),在仪表板线束内-接地连接点(转速信号),在仪表板线束内-连接点(87a),在发动机线束内图7-2-25 发动机控制单元、四个气缸的点火线圈、火花塞连接器和火花塞(85-98)电路图J220-发动机控制单元,在发动机室防护罩内N1-第一缸点火线圈N2-第二缸点火线圈N3-第三缸点火线圈N4-第四缸点火线圈P-火花塞连接器Q-火花塞T10e-10针插头,在发动机室中的控制单元防护罩内的左侧,橙色(4号位)T80-80针插头,在发动机控制单元上-接地连接点,在发动机室线束内(由分出)⑩-接地点,发动机气缸盖上-接地点,发动机气缸盖上图7-2-26 机油压力开关、燃油泵、燃油表传感器、里程表传感器、冷却液位开关和机油状态传感器(99-112)电路图F1-机油压力开关G-燃油表传感器G6-燃油泵G22-里程表传感器,在变速器的左侧上F66-冷却液位开关传感器S228-保险丝(在保险丝架上)T3d-3针插头,在发动机室的左前侧T6c-6针插头,在左A柱处,蓝色(11号位)T10a-10针插头,在左A柱处,棕色(8号位)T10b-10针插头,在发动机室中的控制单元防护罩内的左侧,黑色(1号位)T10d-10针插头,在发动机室中的控制单元防护罩内的左侧,棕色(2号位)接地点,在右后柱处-接地连接点,在发动机室线束内-接地连接点,在后线束内-接地连接点(传感器接地点)1,在仪表板线束内图7-2-27 组合仪表、声光机油压力报警器、里程表、冷却液位和温度表、燃油表(113-126)电路图G1-燃油泵G3-冷却液温度表H11-机油压力报警器J285-组合仪表控制单元K2-发电机充电指示灯K3-机油压力报警灯K28-冷却液温度/液位报警指示灯L75-数字显示照明灯T32a-32针插头,在组合仪表上,蓝色T32b-32针插头,在组合仪表上,绿色Y4-里程表-连接点(车速信号),在仪表板线束内-连接点(燃油信号),在仪表板线束内-接地连接点(转速信号),在仪表板线束内图7-2-28 ABS控制单元、车轮转速传感器(1-14)电路图D-点火开关G44-右后车轮转速传感器G45-右前车轮转速传感器G46-左后车轮转速传感器G47-左前车轮转速传感器J104-ABS控制单元,在液压单元上J106-ABS电磁阀的继电器S7-保险丝7,10A,在保险丝架上T2a-2针插头,在后座椅下T2b-2针插头,在右前车轮壳体内T2c-2针插头,在后座椅下T2d-2针插头,在左前轮壳体内T10n-10针插头,橙色,在左A柱处(15号位)T25-25针插头,在ABS控制单元上-正极连接点(15号火线),在仪表板线束图7-2-29 ABS控制单元、ABS液压泵、电磁阀等(15-28)电路图J104-ABS控制单元,在液压单元上J105-ABS液压泵继电器N133-右后ABS进油阀N134-左后ABS进油阀N135-右后ABS出油阀N136-左后ABS出油阀T10n-10针插头,橙色,在左A柱处(15号位)T25-25针插头,在ABS控制单元上V39-ABS液压泵连接点(54),在仪表板线束内(制动灯开关)-接地点,近液压泵处图7-2-30 ABS控制单元、ABS警告灯(29-42)电路图F34-制动液液位报警开关J220-发动机控制单元J104-ABS控制单元,在液压单元上J285-组合仪表的控制单元K47-ABS的警告灯K118-制动系统警告灯N99-右前ABS进油阀N100-右前ABS出油阀N101-左前ABS进油阀N102-左前ABS出油阀T10g-10针插头,灰色,在右A柱处(11号位)S53A-30A保险丝,在附加继电器板上S53B-30A保险丝,在附加继电器板上T10c-10针插头,紫色,在左A柱处(17号位)T10n-10针插头,橙色,在左A柱处(15号位)T25-25针插头,在ABS控制单元上T32a-32针插头,蓝色,在组合仪表上T32b-32针插头,绿色,在组合仪表上501D –螺钉连接点2(30B号火线),在继电器板上-连接点(K诊断线),在仪表板线束内-连接点(制动系统监视信号),在仪表板线束内图7-2-31 自动变速器控制单元、电磁阀电路图B-起动机E122-程序开关F-制动灯开关F8-强制换入低档开关,在发动机舱中间油门拉索上F125-多功能开关G68-车速传感器1,在变速器顶部右侧G69-节气门电位计G93-变速器油温传感器,在变速器的扁状导线内J213-巡航系统控制单元J217-自动变速器控制单元,在右侧座椅地毯下面J226-起动电机闭锁器和倒车灯继电器M16-左倒车灯M17-右倒车灯N88~N94-电磁阀1~电磁阀7 N110-换档锁止电磁阀,在换档杆上图7-2-32 用于自动变速器的控制器、节气门电位计、发动机转速传感器电路图图7-2-33 自动变速器控制器、选择区域显示、程序开关电路图图7-2-34 安全气囊控制单元(1-14)电路图J234-安全气囊控制单元,在中央通道上T10p-10针插头,黄色,在右A柱处(5号位)T4-4针插头,黄/紫色,在右A柱处T75-75针插头,在安全气囊控制单元上T32b-32针插头,绿色,在组合仪表上图7-2-35 安全气囊控制单元、前气囊气体发生器、螺旋型电缆连接器和安全气囊报警灯(15-28)电路图D-点火开关F138-安全气囊螺旋型电缆连接器J234-安全气囊控制单元J285-组合仪表控制单元J393-舒适电子系统的控制单元K75-安全气囊报警灯,在组合仪表板上N95-气囊气体发生器,驾驶员侧N131-气囊气体发生器,右前侧T1a-单针插头,在右A柱处(A位)T2a-2针插头,黄色,在左A柱处T3-3针插头T4-4针插头,黄/紫色,在右A柱处T5c-5针插头,黄色,在转向管柱开关面板下T10p-10针插头,黄色,在右A柱处(5号位)T16-16针插头,在手制动杆附近,自诊断接口T23-23针插头,在舒适电子系统的控制单元上T32a-32针插头,蓝色,在组合仪表上T75-75针插头,在安全气囊控制单元上-正极连接点(15号火线),在仪表板线束内-连接点(K诊断线),在仪表板线束内–连接点在底盘线束内。
第二章设备使用方法一、整车电气系统基本操作1.点火开关的功能说明插入点火钥匙并将点火开关置于不同位置时,如右图所示,各档位功能如下:位置①-关闭:开关旋到至此位置时,将关闭发动机系统电源;位置②-点火:启动后发动机系统可以在此位置运行;位置③-启动:换档手柄置于P档或N档时,将点火开关旋至此位置约3秒钟,可以启动发动机系统及充电系统。
若重新启动,需要将点火钥匙开关转到位置“①”后再启动。
2.组合仪表功能说明(1)转速表:指示发动机转速,发动机怠速时约760±50;(2)冷却液温度表:用于指示冷却液的温度,当冷却液温度过高时,指示灯指示灯常亮或闪烁,同时仪表会发出警告声响;(3)燃油存储量表:用于指示燃油储量,当燃油储量过低时,指示灯点亮,同时仪表发出警告声响;(4)车速表:用于指示当前汽车行驶速度;(5)数字时钟:通过旋转仪表右下侧的调节旋钮可以调整时钟,逆时针旋转到底可以调整小时,短时间调整此旋钮可以以小时为单位调整,旋转并且保持,可以连续以小时为单位调整;顺时针旋转可以调整分钟,方法同小时调整方法;(6)变速器档位指示区:用于指示变速器当前档位;(7)多功能显示屏:通过仪表上的显示装置可显示多种信息;(8)里程表:上面一排指示行驶总距离,下面一排用于指示短时间行驶距离。
(1)安全气囊指示灯:打开点火开关至点火位置时,此灯连续闪烁约3秒后熄灭,若此灯连续点亮或闪烁,说明系统存在故障;(2)大灯打开指示灯:该车型不具备此功能;(3)巡航状态指示灯:该车型不具备此功能;(4)制动踏板指示灯:当踩下制动踏板时此灯熄灭,此时可将档位开关移开P档或N档;(5)后雾灯指示灯:后雾灯打开时,此指示灯点亮;(6)电子油门指示灯:打开点火开关至点火位置时,此灯点亮,直至发动机系统启动后此灯熄灭,若此灯连需点亮,说明电子油门系统存在故障;(7)转向指示灯:当对应的转向指示灯打开时同步闪烁;(8)远光灯指示灯:当远光灯打开时,此灯点亮;(9)电子稳定系统指示灯:该车型不具备此功能;(10)指示灯:打开点火开关至点火位置时,系统进行自检,此灯点亮几秒钟后熄灭,如果常亮否则说明该系统有故障;(11)电子防盗装置指示灯:打开点火开关至点火位置时,若钥匙未授权,此灯将闪烁,此时系统无法启动,若钥匙已授权,即已匹配好,则此灯会熄灭;(12)制动系统指示灯:按下手刹状态开关,此灯熄灭,若此灯闪亮表明制动液不足;(13)发电机工作指示灯(或充电指示灯):发电机正常工作后此灯熄灭;(14)安全带未系警告灯:当车速超过25时,此灯点亮,同时仪表发出警告声响;(15)冷却液温度/冷却液液面指示灯:发动机运转一段时间后时,当冷却液温度过高或冷却液液面过低时,指示灯常亮或闪烁,同时仪表会发出警告声响;(16)发动机机油指示灯:发动机运转一段时间后时,当机油压力过低或润滑系统有故障时,此灯常亮或闪烁,同时仪表会发出警告声响;(17)车门及行李箱门开启状态指示灯:当车辆的车门或行李箱盖打开时,该灯点亮;(18)风窗洗涤液液面高度指示灯:当洗涤液液面过低时,此灯点亮;(19)制动摩擦片磨损警告灯:当制动摩擦片破损过度时,此灯点亮;(20)燃油存储量指示灯:当燃油存储量过低时,此灯点亮;(21)排放控制系统警告灯:该车型不具备此功能。
Magotan B8L 电路图编号 33 / 107.2016 防抱死制动系统(ABS)自 2016 年 7 月起这个部分,重点是4个轮速传感器,每个轮速传感器有两根线,连接到ABS电脑=白色=黑色=红色=褐色=绿色=蓝色=灰色=淡紫色=黄色=橘黄色=粉红色ABS 控制单元, 左侧驻车电机J104 - ABS 控制单元N99 - 右前 ABS 进气阀N100 - 右前 ABS 排气阀N101 - 左前 ABS 进气阀N102 - 左前 ABS 排气阀SB1 - 保险丝架 B 上的保险丝 1SB2 - 保险丝架 B 上的保险丝 2SB17 - 保险丝架 B 上的保险丝 17T2kd - 2 芯插头连接 , 黑色T17f - 17 芯插头连接 , 黑色T17n - 17 芯插头连接 , 黑色T46 - 46 芯插头连接TIUR - 车内的下部右侧连接位置V282 - 左侧驻车电机D78- 正极连接 1(30a),在发动机舱导线束中 W49- 连接,在底板导线束中W60- 连接(S),在底板导线束中* - 依汽车装备而定保险丝来的12V17孔的中间插头左侧手刹电机ws=白色sw=黑色ro=红色br=褐色gn=绿色bl=蓝色gr=灰色li=淡紫色ge=黄色or=橘黄色rs=粉红色右前转速传感器, 真空传感器, ABS 控制单元G45 - 右前转速传感器G608 - 真空传感器J104 - ABS 控制单元N225 - 动态行驶控制转换阀 1N226 - 动态行驶控制转换阀 2N227 - 动态行驶控制高压转换阀 1N228 - 动态行驶控制高压转换阀 2T2ng - 2 芯插头连接 , 黑色T3dz - 3 芯插头连接 , 黑色T17 - 17 芯插头连接 , 黑色T17c - 17 芯插头连接 , 蓝色T17h - 17 芯插头连接 , 黑色T17k - 17 芯插头连接 , 蓝色T46 - 46 芯插头连接 , 黑色TIUL - 车内的下部左侧连接位置132- 接地连接 3,在发动机舱导线束中643- 接地点 3,在发动机舱内右侧D51- 正极连接 1(15),在发动机舱导线束中电脑板5V、信号、搭铁轮速传感器是重点ws=白色sw =黑色ro =红色br =褐色gn =绿色bl =蓝色gr =灰色li =淡紫色ge =黄色or =橘黄色rs =粉红色右后转速传感器, 左后转速传感器, ABS 控制单元, 右侧驻车电机 G44 - 右后转速传感器G46 - 左后转速传感器J104 - ABS 控制单元N133 - 右后 ABS 进气阀N134 - 左后 ABS 进气阀N135 - 右后 ABS 排气阀N136 - 左后 ABS 排气阀T2jy - 2 芯插头连接 , 黑色T2kb - 2 芯插头连接 , 黑色T2kg - 2 芯插头连接 , 黑色T17g - 17 芯插头连接 , 棕色T17o - 17 芯插头连接 , 棕色T46 - 46 芯插头连接 , 黑色TIUR - 车内的下部右侧连接位置V283 - 右侧驻车电机100- 接地连接 1,在 ABS 导线束中 B208 - 连接 1(伺服电机),在车内导线束中 B210 - 连接 2(伺服电机),在车内导线束中 J5- 连接 2,在 ABC 导线束中 J7 - 连接 3,在 ABC 导线束中 J8- 连接 4,在 ABC 导线束中*- 截面积视装备而定ws=白色sw=黑色ro=红色br=褐色gn=绿色bl=蓝色gr=灰色li=淡紫色ge=黄色or=橘黄色rs=粉红色左前转速传感器, ABS 控制单元G47 - 左前转速传感器G200 - 横向加速度传感器G201 - 制动压力传感器 1G202 - 偏转率传感器G251 - 纵向加速度传感器J104 - ABS 控制单元T2nk - 2 芯插头连接 , 黑色T17a - 17 芯插头连接 , 棕色T17i - 17 芯插头连接 , 棕色T46 - 46 芯插头连接 , 黑色TIUL - 车内的下部左侧连接位置V64 - ABS 液压泵B663- 连接(底盘传感器 CAN 总线,High),在主导线束中B664- 连接(底盘传感器 CAN 总线,Low),在主导线束中B672-连接 1(底盘/组合仪表 CAN 总线,High),在主导线束中B676- 连接 1(底盘/组合仪表 CAN 总线,Low),在主导线束中 D184- 连接(左前转速传感器 +),在发动机舱导线束中D185- 连接(左前转速传感器 -),在发动机舱导线束中CAN线,网络线,用于电脑板与电脑板之间传递信号ws=白色sw=黑色ro=红色br=褐色gn=绿色bl=蓝色gr=灰色li=淡紫色ge=黄色or=橘黄色rs=粉红色轮胎监控显示按钮, 数据总线诊断接口, 组合仪表E492 - 轮胎监控显示按钮J533 - 数据总线诊断接口KX2 - 组合仪表K47 - ABS 指示灯K118 - 制动系统指示灯K139 - 驻车制动器指示灯K155 - 电子稳定程序和 ASR 指示灯K220 - 轮胎压力监控显示指示灯T10la - 10 芯插头连接T18 - 18 芯插头连接T20e - 20 芯插头连接 , 红色A192- 正极连接 3(15a),在仪表板导线束中B398- 连接 2(舒适 CAN 总线,High),在主导线束中 B407- 连接 2(舒适 CAN 总线,Low),在主导线束中 B506- 连接(舒适/便捷系统,High),在车内导线束中 B507- 连接(舒适/便捷系统,Low),在车内导线束中* - 依汽车装备而定网关ws=白色sw=黑色ro=红色br=褐色gn=绿色bl=蓝色gr=灰色li=淡紫色ge=黄色or=橘黄色rs=粉红色中控台开关模块1 , ASR 和电子稳定程序按钮, 机电式驻车制动器按钮 , 车载电网控制单元EX23 - 中控台开关模块 1E256 - ASR 和电子稳定程序按钮E538 - 机电式驻车制动器按钮E540 - AUTO HOLD 按钮J519 - 车载电网控制单元K213 - 电控机械式驻车制动器指示灯K237 - AUTO HOLD 指示灯L76 - 按钮照明灯泡SC8 - 保险丝架 C 上的保险丝 8SC34 - 保险丝架 C 上的保险丝 34T8ar - 8 芯插头连接 , 黑色T8bx - 8 芯插头连接 , 黑色T10ag - 10 芯插头连接 , 黑色T12p - 12 芯插头连接 , 黑色T73a - 73 芯插头连接 , 黑色T73c - 73 芯插头连接 , 黑色TI - 车内的连接位置278- 接地连接 4,在车内导线束中810- 中部仪表板左侧中央管处的接地点A1- 正极连接(30a),在仪表板导线束中A19- 连接(58d),在仪表板导线束中A38- 正极连接 2(15a),在仪表板导线束中A192- 正极连接 3(15a),在仪表板导线束中X98- 连接(开关照明、对讲机),在选装装备导线束中* - 依汽车装备而定手刹开关。
第三章上海帕萨特B5 ABS/ASR的检修第一节上海帕萨特B5 ABS/ASR系统的结构与工作原理上海帕萨特B5 ABS电器部件的安装位置见图3-1所示。
ABS Bosch5.3、ABS/EDS Bosch5.3和具有ASR的ABS/EDS Bosch5.3的布置如图3-2所示。
图3-1 ABS的电器部件和安装位置1-ABS的液压单元(N55) 2-ABS控制单元(J104) 3-ABS/EDS或具有ASR 的ABS/EDS液压单元(N55) 4-ABS/EDS或具有ASR的ABS/EDS控制单元(J104)5-ASR的信号灯(K86) 6-制动装置的信号灯(K118) 7-ABS的信号灯(K47)8-制动灯开关(F) 9-诊断接口 10-前左、前右传感器齿圈 11-前右/左转速传感器(G45/G47) 12-后右/左转速传感器(G44/G46) 13-后右和左转速传感器齿圈图3-2 ABS的布置1-10"制动助力器 2-液压单元 3-ABS控制(26针,用螺栓连接到液压单元上)第二节 ABS系统故障诊断与排除一、ABS系统自诊断功能ABS(电子防抱死系统)控制单元是有自诊断能力的。
自诊断是针对系统的电气/电子零件而言,这就是说,它只辨认影响电子信号的故障。
它原则上区别四种不同的故障来源。
ABS和 ABS/EDS的 26针的控制单元(J104)以及具有ASR的ABS/EDS的31针控制单元(J104)与液压单元构成一个紧凑的液压控制单元。
液压控制单元位于发动机室中的左方。
控制单元配备有椄龉收洗娲⑵鳌W哉锒系慕涌谖挥诟前逯 驴拷 种贫 鞲芨说氖柄。
电源电压降低到1O伏以下,则ABS系统断开。
一切有关的信号灯点亮。
一旦电源电压上升到10V以上,系统重新接通。
信号灯熄灭。
在全部电压损耗、导线开始或保险丝熔断时,则只有ABS的信号灯点亮。
控制单元在汽车操作期间辨认故障,并将它们储存在故障存储器中。
防抱死制动系统(ABS)与电控行车稳定系统(ESP)自 2013 年 4 月起A14.00.5 4.010.016.0ws=白色sw=黑色ro=红色rt=红色br=褐色gn=绿色bl=蓝色gr=灰色li=淡紫色vi=淡紫色ge=黄色or=橘黄色蓄电池, 端子 15 供电继电器A蓄电池J329端子 15 供电继电器SA5保险丝架 A 上的保险丝 5SC13保险丝架 C 上的保险丝 13SC14保险丝架 C 上的保险丝 14SC20保险丝架 C 上的保险丝 201接地带,蓄电池 - 车身379接地连接 14,在主导线束中382接地连接 17,在主导线束中507螺栓连接(30),在蓄电池保险丝座上605接地点,在上部转向柱上670接地点 2,在左侧 A 柱上B273正极连接(15),在主导线束中B281正极连接 5(15a),在主导线束中1516171819202122232425262728A1B315rt/sw7rt/gr 37**3**2*3737ws=白色sw =黑色ro =红色rt =红色br =褐色gn =绿色bl =蓝色gr =灰色li =淡紫色vi =淡紫色ge =黄色or =橘黄色主继电器J271主继电器J623发动机控制单元SB2保险丝架 B 上的保险丝 2SB8保险丝架 B 上的保险丝 8SB13保险丝架 B 上的保险丝 13SB23保险丝架 B 上的保险丝 23T40a 40 芯插头连接T94a94 芯插头连接B315正极连接 1(30a),在主导线束中*仅适用于带 1.8 l 发动机的汽车*2仅适用于带 2.0 l 发动机的汽车*3仅用于带 1.4 升发动机的汽车ws=白色sw=黑色ro=红色rt=红色br=褐色gn=绿色bl=蓝色gr=灰色li=淡紫色vi=淡紫色ge=黄色or=橘黄色ABS 控制单元, 右后 ABS 排座椅液阀, 左后 ABS 排座椅液阀J104ABS 控制单元N135右后 ABS 排座椅液阀N136左后 ABS 排座椅液阀SB30保险丝架 B 上的保险丝 30T3838 芯插头连接T40a40 芯插头连接B283正极连接 7(15a),在主导线束中B318正极连接 4(30a),在主导线束中2930313233343536373839404142ws=白色sw=黑色ro=红色rt=红色br=褐色gn=绿色bl=蓝色gr=灰色li=淡紫色vi=淡紫色ge=黄色or=橘黄色ASR 和 ESP 按钮, 真空传感器, ABS 控制单元, 按钮照明灯泡, 右前 ABS 进液阀, 右后 ABS 进液阀, 左后 ABS 进液阀, ABS 回流泵E256ASR 和 ESP 按钮G608真空传感器J104ABS 控制单元L76按钮照明灯泡N99右前 ABS 进液阀N133右后 ABS 进液阀N134左后 ABS 进液阀T4f 4 芯插头连接T18a18 芯插头连接3644377G 45G 46B513B512B473B478ws =白色sw =黑色ro =红色rt =红色br =褐色gn =绿色bl =蓝色gr =灰色li =淡紫色vi =淡紫色ge =黄色ABS 排座椅液阀, 左前 ABS 进液阀, 左前 ABS 排座椅液阀G45右前转速传感器G46左后转速传感器J104ABS 控制单元N100右前 ABS 排座椅液阀N101左前 ABS 进液阀N102左前 ABS 排座椅液阀T2n 2 芯插头连接T2o 2 芯插头连接T3838 芯插头连接B478B512B513G 47G44B510B511ws =白色sw =黑色ro =红色rt =红色br =褐色gn =绿色bl =蓝色gr =灰色li =淡紫色vi =淡紫色ge =黄色驶控制转换阀 1, 动态行驶控制转换阀 2, 动态行驶控制高压转换阀 1G44右后转速传感器G47左前转速传感器J104ABS 控制单元N225动态行驶控制转换阀 1N226动态行驶控制转换阀 2N227动态行驶控制高压转换阀 1T2m 2 芯插头连接T2p 2 芯插头连接T3838 芯插头连接B511B390B383ws =白色sw =黑色ro =红色rt =红色br =褐色gn =绿色bl =蓝色gr =灰色li =淡紫色vi =淡紫色ge =黄色制动压力传感器 1, ABS 控制单元, 动态行驶控制高压转换阀 2G201制动压力传感器 1J104ABS 控制单元J540机电式驻车制动器控制单元N228动态行驶控制高压转换阀 2T3030 芯插头连接T3838 芯插头连接B383连接 1(驱动系统 CAN 总线,High),在主导线束中B390连接 1(驱动系统 CAN 总线,Low),在主导线束中JB390B390B383B7090.350.350.5 1.00.5ws=白色sw =黑色ro =红色rt =红色br =褐色gn =绿色bl =蓝色gr =灰色li =淡紫色vi =淡紫色ge =黄色仪表板中的控制单元, 车载电网控制单元, 数据总线诊断接口, 制动摩擦片指示灯, ABS 指示灯, ASR 和 ESP 指示灯,轮胎压力监控显示指示灯J285仪表板中的控制单元J519车载电网控制单元J533数据总线诊断接口K32制动摩擦片指示灯K47ABS 指示灯K155ASR 和 ESP 指示灯B340,在主导线束中B383,在主导线束中B390,在主导线束中B397,在主导线束中B406,在主导线束中,在主导线束中B709连接 1(仪表板低频 CAN 总线),在主导线束中B3350.350.50.51090.350.750.75109ws=白色sw=黑色ro=红色rt=红色br=褐色gn=绿色bl=蓝色gr=灰色li=淡紫色vi=淡紫色ge=黄色or=橘黄色制动信号灯开关, 制动液液位警告信号触点, 左前制动摩擦片磨损传感器, 仪表板中的控制单元, 制动系统指示灯F制动信号灯开关F34制动液液位警告信号触点G34左前制动摩擦片磨损传感器J285仪表板中的控制单元J540机电式驻车制动器控制单元K118制动系统指示灯T2q 2 芯插头连接T2r 2 芯插头连接T4ao 4 芯插头连接T3030 芯插头连接T3232 芯插头连接368接地连接 3,在主导线束中371接地连接 6,在主导线束中640接地点 2-,在发动机舱内左侧B335连接 1(54),在主导线束中B350正极连接 1(87a),在主导线束中B379连接 1(制动摩擦片磨损显示),在主导线束中。
第6节舒适系统电路图1、驾驶员侧车门控制单元、电动摇窗机开关、车内中央闭锁开关(1-14)电路图E39-后电动摇窗机锁止开关E40-左前电动摇窗机开关E53-左前电动摇窗机开关(驾驶员控制)E55-右后电动摇窗机开关(驾驶员控制)E81-右前电动摇窗机开关(驾驶员控制)E150-车内中央闭锁开关(驾驶员控制)J386-驾驶员侧车门控制单元L53-摇窗机开关指示灯泡S37-电动摇窗机保险丝,在8位置继电器架上T10L-10针插头,黑色,在左A柱处(2号位)T16b-16针插头T29a-29针插头V147-驾驶员侧电动摇窗机马达W3 -连接线(30a线),在后线束内502 -螺栓连接点(30A号火线),在继电器板上2、驾驶员侧车门控制单元、闭锁单元、左前闭锁“安全”警告灯(15-28)电路图F220-驾驶员侧的闭锁控制单元K133-中央闭锁系统(带安全功能)的警告指示灯T8c-8针插头,黑色,在驾驶员侧的闭锁单元上W31-左前门灯T10 L-10针插头,黑色,在左A柱处(2号位)44A -左A柱接地点R14 -连接线,在驾驶员侧车门线束内W29 -CAN总线的A线(高位),在底盘线束内W30 -CAN总线的B线(低位),在底盘线束内86 -接地连接线,在后线束内205 -接地连接线,在驾驶员侧车门线束内3、驾驶员侧车门控制单元、后视镜调节开关及驾驶员侧后视镜的加热器(29-42)电路图E43-后视镜调节开关E48-后视镜调节转换开关L78-后视镜调节开关照明灯E10e-10针插头,在后视镜调节开关上E10L-10针插头,黑色,在左A柱处(2号位)T12-12针插头V17-驾驶员侧后视镜调节马达V121-驾驶员侧后视镜复位马达V149-驾驶员侧后视镜调节马达Z4-驾驶员侧后侧镜加热器R27 -连接线,在驾驶员侧车门线束内W20 -连接线,(30a),在后线束内4、左后车门控制单元、闭锁单元及左右电动摇窗机(43-56)电路图E52-左后电动摇窗机开关F222-左后闭锁控制单元(图中开关处于车门打开的位置)J388-左后车门控制单元L53-摇窗机开关指示灯泡T5e-5针插头T6e-6针插头T8t-8针插头,黑色,在左B处T18a-18针插头V26-左后电动摇窗机马达W33-左后门灯57A -左B柱接地点R31 -连接线,在左后车门线束内5、右前车门控制单元、闭锁单元及右前门灯(57-70)电路图F221-右前闭锁控制单元J387-右前车门控制单元S14-14号保险丝,10A,在保险丝架上S38-38号保险丝,15A,在保险丝架上T8d-8针插头,蓝色,在右前闭锁单元上T10f-10针插头,蓝色,在左A柱处(6号位)T10w-10针插头,黑色,在右A柱处(3号位)T29b-29针插头W32-右前门灯43A -右A柱接地点500B –螺栓连接点(30c号火线),在继电器板上A32 -连接线,在仪表板线束内R29 -连接线,在右前车门线束内206 -接地连接线,在右前线束内6、右前车门控制单元、右前电动摇窗机开关及右前后视镜加热器(71-84)电路图E107-电动摇窗机开关(在右前车门上)E53-摇窗机开关指示灯泡T5f-5针插头,在电动摇窗机开关上T10w-10针插头,黑色,在右A柱处(3号位)T12a-12针插头,黑色V25-右前后视镜调节马达V122-右前后视镜复位马达V148-右前电动摇窗机马达V150-右前后视镜调节马达Z5-右前后视镜加热器R36 -连接线,在右前车门线束内7、右后车门控制单元、闭锁单元、右后电动摇窗机及右后门灯(85-98)电路图E54-右后电动摇窗机开关F223-右后闭锁控制单元J389-右后车门控制单元L53-摇窗机开关指示灯泡T5g-5针插头,在右后电动摇窗机开关上T6f-6针插头,在右后闭锁控制单元上T8u-8针插头,黑色,在右B柱处T18b –18针插头,在右后车门闭锁单元上V27-右后电动摇窗机马达W34-右后门灯75A -右B柱接地点R32 -连接线,在右车门后线束内W3 -连接线(a线),在后线束内W20 -连接线(30a号火线),在后线束内8、前车内顶灯、阅读灯及遮阳板和化妆镜照明灯(99-112)电路图F147-驾驶员侧化妆镜照明灯接触开关F148-右前化妆镜照明灯接触开关T10o –10针插头,淡绿色,在左A柱处(3号位)W-车内顶灯W11-左后阅读灯W12-右后阅读灯W14-右前化妆镜照明灯W20-驾驶员侧化妆镜照明灯R4 -连接线,在车内灯/车门接触开关线束内R6 -连接线,在车内灯线束内W36 –连接线(30a),在底盘线束内44 -左A柱接地点128 -接地连接线,在车内灯线束内9、舒适电子中央控制单元、行李箱照明灯(113-126)电路图E5-行李箱照明灯开关J285-组合仪表控制单元J393-舒适电子中央控制单元T10f-10针插头,蓝色,在左A柱处(6号位)T23-23针插头,在舒适电子中央控制单元上W3-行李箱照明灯A27 -至转速信号线,在仪表板线束内57B -左B柱处接地点W19 -连接点(行李箱照极),在后线束内W29 -(CAN1)-CAN总线的A线,在底盘线束内W30 -(CAN2)-CAN总线的B线,在底盘线束内W36 -连接线(30a),在底盘线束内46-舒适系统接地点,左侧搁脚空间接地点87 -接地连接点,在左后线束内(57B分出)196 -接地接点,在左后线束内(57B分出)10、舒适电子中央控制单元、行李箱盖闭锁装置(127-140)电路图F15-后风窗加热开关F218-行李箱盖中央闭锁开关T6c-6针插头,在左A柱处(11号位)T10f-10针插头,蓝色,在左A柱处(6号位)T10L-10针插头,黑色,在左A柱处(2号位)T10o-10针插头,淡绿色,在左A柱处(3号位)T23-23针插头,在舒适电子中央控制单元上V53-用于中央闭锁的行李箱盖马达Z1-后风窗加热器D-点火开关S6-保险丝6,5AA2 -正板连接线,在仪表板线束内A82 -风窗加热连接线,在仪表板线束内196 -接地连接点,在左后线束内(由57B分出)11、舒适电子中央控制单元、加油盖遥控开启开关(141-154)电路图D-点火开关L104-摇控闭锁开启开关的照明灯R-收放机T8-8针插头,在收放机上T1a-单针插头(安全气囊信号),棕色,左右A柱处的A位T10f-10针插头,蓝色,在左A柱处(6号位)T10o-10针插头,淡绿色,在左A柱处(3号位)V155-油箱盖开启马达E204-油箱盖开启开关A21 -连接线,在仪表板线束内A76 -至K线A117 -连接点,在底盘线束内T4 -4针插头,黄色75B -右B柱处接地点W38 -连接线(58d),在地板线束内86 -接地连接点,在左后线束内(由44A分出)197 -在右后线束内(由75B分出)第7节空调系统电路图1、新鲜空气鼓风机、空调开关、环境温度开关、空气循环控制阀(1-15)电路图E9-新鲜空气鼓风机开关E35-空调开关E184-新鲜空气和循环空气开关F38-环境温度开关(小于等于5℃)K84-空调警告灯K114-新鲜空气和循环空气开关警告灯L16-新鲜空气控制照明灯N24-带保险丝的新鲜空气鼓风机串联电阻S225-保险丝,在保险丝架上S236-保险丝,在保险丝架上T4a-4针插头,在串联电阻上T8a-8针插头,在新鲜空气和循环空气开关上T9a-9针插座,在中央电器板上,红色,接393继电器T6g-6针插头,在新鲜空气鼓风机开关上V2-新鲜空气鼓风机V154-新鲜/循环空气板定位马达A19 -连接点(58d),在仪表板线束内A36 -连接点(75a),在仪表板线束内A80 -连接点(X),在仪表板线束内135-接地连接点,在仪表板线束内(由30 分出)503 -螺钉连接点,(75x火线),在继电器板上2、空调控制单元、空调电磁离合器和环境温度传感器(16-29)电路图G17-环境温度传感器J220-发动机控制单元J285-组合仪表的控制单元J314-空调切断控制单元,在13位置继电器架上的4号位(398继电器)N25-空调电磁离合器T2a-2针插头T10k –10针插头,灰色,在左A柱处(14号位)T(16+3)-19针插头,在发动机室的控制单元防护罩内(3号位)T80-80针插头,在发动机控制单元上T32b-32针插头,绿色,在仪表板线束内A36 -连接点(75x火线),在仪表板线束内A73 -连接点(环境温度表),在仪表板线束内A79 -连接点(过热灯开关),在仪表板线束内135 -接地连接点,在仪表板线束内(由30 分出)3、锁止二极管、风扇继电器(30-43)电路图E15-后风窗加热开关J26-散热风扇继电器,在13位置继电器板上1号位上(373继电器)J28-过热/空调锁止二极管J220-发动机控制单元S14-14号保险丝,10A,在保险丝架上T6-6针插座,黑色,在右B柱边上(不挂在上面)T6h-6针插头,黑色,在后风窗加热开关上T10d-10针插头,棕色,在发动机室防护罩内的左侧(2号位)T10k-10针插头,灰色,在左A柱处(14号位)T(16+3)-19针插头,橙/红色,在发动机室防护罩内(3号位)T80-80针插头,在发动机控制单元上T9b-9针插座,在中央电器板上,棕色(空位)A32 -正极连接线(30),在仪表板线束内A64 -连接点(转速信号),在仪表板线束内A105 -连接点(转速信号)2,在仪表板线束内500B -螺栓连接点(30c号火线),在继电器板上30-接地点,在继电器板附近(左A柱)81-接地连接点,在仪表板线束内(由30 分出)135 -接地连接点,在仪表板线束内(由30 分出)4、空调压力开关、风扇热敏开关、风扇继电器和风扇(44-57)电路图F18-散热风扇热敏开关F129-空调压力开关J279-散热风扇1档速度继电器(红色)在附加继电器架上(214继电器)J280-散热风扇2档速度继电器(棕色)在附加继电器架上(370继电器)N39-散热风扇的串联电阻S42-保险丝,40A,黄色,在附加继电器架上S51-保险丝,5A,红色,在附加继电器架上T2b-2针插头,在发动机室的左前侧T4-4针插头,在发动机室的左前侧T10k-10针插头,灰色在左A柱处(14号位)V7-散热风扇32 -接地点,在继电器板边上(在A柱)127 -接地连接点,在空调压缩机线束内501c 螺栓连接点2(30B号火线),在继电器板上503 -螺栓连接点(75x火线),在继电器板上第8节收放机电路图1、收放机(1-14)电路图D-点火开关J285-组合仪表的控制单元R-收放机R11-天线R24-天线放大器S237-保险丝,20A,在保险丝架上T1-单针插头T8-8针插头,黑色,在收放机上T32a-32针插头,蓝色,在组合仪表上T32b-32针插头,绿色,在组合仪表上A21 -连接线(86s),在仪表板线束内A23 -连接线(30s),在仪表板线束内A60 -连接点(转速信号),在组合仪表线束内45 -接地连接点,在仪表板下的中央左侧501A -螺栓连接点2(30B号火线),在继电器板上R-收放机R21-左前扬声器,在左前车门上R23-右前扬声器,在右前车门上T4-4针插头,黑色,在右A柱处T4a -4针插头,黑色,在右A柱处T4b-4针插头,黑色,在右A柱处T4c-4针插头,黑色,在右A柱处T8-8针插头,黑色,在收放机上(电源)T8a-8针插头,棕色,在收放机上(输出)T8c-8针插头,黑色,在左A柱处(4号位)T8d-8针插头,黑色,左右A柱处(7号位)A19 -连接线(58d),在仪表板线束内A76 -连接线(K诊断线),在仪表板线束内R-收放机R15-左后扬声器,在左后车门上R17-右后扬声器,在右后车门上T4-4针插头,黑色,在右A柱处T4b-4针插头,黑色,在左A柱处T6f-6针插头,红色,在左B柱处T6d-6针插头,红色,在右B柱处T8a-8针插头,棕色,在收放机上(输出)T8c-8针插头,黑色,在左A柱处(4号位)T8d-8针插头,黑色,左右A柱处(7号位)附录2、中央电器板 (1)正面(2)反面 53B 30A 红色4240A 红色515A棕色3130A 绿色53A 30A 红色4、左A 柱T2a 黄色6、右T4 黄/紫色8、保险丝架S2-10A S4-5A S5-10A S6-5A S7-10A S12-10A S13-10A S14-10A S15-10A S18-10A S19-10 S20-15A S21-15A S22-5A S23-5A S24-25A S25-30A S26-30A S28-20A S29-20A S31-15A S32-20A S33-15A S34-15A S36-15A S37-20A S38-15A S39-15A S40-25A。