科技项目申报流程节点说明及流程图1.doc
- 格式:doc
- 大小:79.50 KB
- 文档页数:7
项目申报流程图项目申报流程图是指申报一个项目时需要经过的步骤和流程的图形化表示。
下面是一个700字的项目申报流程图的示例:项目申报流程图[图片]申报部门:项目发起方审批部门:项目管理组1. 项目发起方准备项目申报材料,并填写申报表格。
2. 项目发起方将申报材料和申报表格提交给项目管理组。
3. 项目管理组对申报材料进行初步审核,检查申报材料是否齐全、准确。
4. 如果申报材料不完整或不准确,项目管理组将要求项目发起方补充相关材料或修改申报表格。
5. 项目发起方根据项目管理组的要求进行补充材料或修改申报表格。
6. 补充材料或修改申报表格完成后,项目发起方重新将申报材料和申报表格提交给项目管理组。
7. 项目管理组对重新提交的申报材料进行再次审核,确保申报材料完整、准确。
8. 如果再次审核通过,项目管理组将申报材料提交给项目审批组。
9. 项目审批组对申报材料进行细致的评估和审批,评估项目的可行性、可行性和可行性。
10. 项目审批组将审批结果和建议提交给项目管理组。
11. 项目管理组根据项目审批组的建议决定是否通过项目申报。
12. 如果通过项目申报,项目管理组将向项目发起方发出项目申报通过的通知,并制定项目实施计划。
13. 如果未经过项目申报,项目管理组将向项目发起方发出项目申报未通过的通知,同时提供理由和建议。
14. 项目发起方根据项目管理组的通知,进行项目实施计划的制定和调整。
15. 项目实施计划完成后,项目发起方将项目实施计划和相关材料递交给项目管理组。
16. 项目管理组将项目实施计划和相关材料提交给项目审批组,进行终审。
17. 项目审批组对项目实施计划进行终审,确认项目实施计划的可行性、执行力和目标的达成性。
18. 如果项目实施计划通过终审,项目审批组向项目管理组发出终审通过的通知,并批准项目实施。
19. 项目开始实施。
以上是一个项目申报流程图的示例,可以根据实际情况进行调整和修改。
科技项目立项审批流程在当今科技飞速发展的时代,科技项目的立项审批对于推动创新、促进科技进步具有至关重要的意义。
科技项目立项审批流程是一个严谨、复杂且需要多方面考量的过程,它旨在确保项目的科学性、可行性、创新性以及对社会和经济的潜在价值。
一般来说,科技项目立项审批流程可以大致分为以下几个主要阶段:一、项目申报这是整个流程的起点。
项目申报者需要向相关部门或机构提交详细的项目申请书。
申请书通常包括项目的名称、背景、目标、研究内容、技术路线、预期成果、实施计划、预算以及团队成员等信息。
为了使申请书更具竞争力,申报者需要充分阐述项目的创新性、科学性和可行性,并清晰地说明项目的意义和潜在价值。
在撰写申请书时,申报者应当对项目进行深入的思考和规划,确保各项内容准确、完整且具有说服力。
同时,要注意语言表达的清晰和简洁,避免冗长和复杂的表述。
二、形式审查相关部门或机构在收到项目申请书后,首先会进行形式审查。
这一环节主要是检查申请书的格式是否规范、必填项是否完整、提交的材料是否齐全等。
如果申请书在形式上存在问题,例如缺少必要的签名、盖章,或者某些关键信息未填写,那么申报者将会被要求补充或修改。
形式审查的目的是确保所有的申请书都符合基本的规范要求,为后续的实质性审查打下良好的基础。
三、专家评审通过形式审查的项目申请书将进入专家评审环节。
这是整个立项审批流程中的核心环节之一。
专家评审通常采用两种方式:一种是书面评审,即专家根据申报者提交的申请书进行书面评估;另一种是会议评审,即组织专家召开评审会议,申报者进行现场汇报和答疑,专家当场给出评审意见。
评审专家一般由在相关领域具有丰富经验和专业知识的学者、技术专家、管理专家等组成。
他们会从项目的创新性、科学性、可行性、技术水平、研究团队、预期成果、经费预算等多个方面进行综合评估,并给出相应的评审意见和分数。
四、实地考察(如有需要)对于一些重大或涉及较高风险的科技项目,在专家评审之后,可能还会进行实地考察。
科技项目立项审批流程在当今科技飞速发展的时代,科技项目的立项审批对于推动创新、促进科技进步具有至关重要的意义。
一个科学、规范、高效的立项审批流程能够确保资源的合理分配,提高项目的成功率,为社会带来更多的科技成果和经济效益。
接下来,让我们详细了解一下科技项目立项审批的具体流程。
科技项目立项审批通常包括以下几个主要环节:一、项目申报这是立项审批流程的起点。
项目申报者需要按照相关规定和要求,填写详细的项目申报书。
申报书的内容一般包括项目的背景、意义、研究目标、研究内容、技术路线、预期成果、项目团队、经费预算等方面。
在填写申报书时,申报者应确保信息真实、准确、完整,并清晰地阐述项目的创新性和可行性。
为了提高申报的成功率,申报者在申报前通常需要进行充分的准备工作。
这包括对项目进行深入的调研,了解国内外相关领域的研究现状和发展趋势,分析项目的优势和特色,以及制定合理的研究计划和经费预算。
二、形式审查申报书提交后,首先会进行形式审查。
形式审查主要是对申报书的格式、内容完整性、签字盖章等方面进行初步审核,以确保申报书符合基本的要求。
如果申报书存在格式错误、内容缺失或签字盖章不全等问题,会被退回给申报者进行修改和补充。
三、专家评审通过形式审查的项目将进入专家评审环节。
评审专家通常由相关领域的知名学者、技术专家和管理专家组成。
他们会根据项目的申报书和相关要求,对项目的科学性、创新性、可行性、技术水平、应用前景、经费预算等方面进行综合评估。
专家评审的方式可以是会议评审、通讯评审或两者结合。
在评审过程中,专家会提出自己的意见和建议,并给出相应的评审分数或等级。
评审结果将作为项目立项审批的重要依据。
四、实地考察对于一些重大或关键的科技项目,可能还会进行实地考察。
实地考察的目的是进一步了解项目的实际情况,包括项目团队的研究条件、实验设备、研究进展等。
考察人员会根据实地考察的情况,对项目的可行性和实施能力进行评估,并形成考察报告。
2023年科技部课题申报流程2023年科技部课题申报流程一、准备申报材料•身份证明文件(复印件)•申报单位介绍信(盖章)•项目申报书(电子版)•申报项目预算(电子版)二、申报材料提交1.登录科技部官方网站:2.下载并填写《2023年科技部项目申报书》3.将申报书上传至科技部相关页面4.同时提交其他申报材料并确认无误5.提交后,等待科技部审核三、项目初审•科技部组织专家对提交的申报材料进行初步审核•评估项目的科学性、可行性和创新性•若申报材料符合要求,进入下一阶段四、现场评审1.科技部通知项目负责人参加面试2.进行现场答辩和评审3.专家评审组针对项目进行详细评估4.根据评审结果和意见,确定申报项目的得分和排名五、项目资助决策•科技部根据项目的得分和排名确定资助名单•对排名靠前的项目进行资助•确定资助金额和具体合作方式•发放资助通知书给获选项目的负责人六、项目执行与结题1.项目负责人根据资助通知书制定具体的执行计划2.科技部监督和管理项目的执行进度和经费使用情况3.项目完成后,提交结题报告和验收材料4.科技部组织专家对项目进行验收评估5.完成验收后,结题并提交相关报告七、项目成果推广•科技部支持并推广项目的成果转化和应用•与相关产业、企业等进行合作推动项目的应用和产业化•科技部组织评估项目的成果和影响以上是2023年科技部课题申报的基本流程,以供参考。
具体操作细节和要求,请参阅科技部相关公告和指南。
祝您申报顺利!八、报告与汇报1.在项目执行过程中,项目负责人需要按要求定期向科技部提交项目进展报告2.报告内容包括项目的研究进展、经费使用情况、困难与问题以及解决方案等3.科技部根据报告内容评估项目的执行情况,提供必要的支持和指导九、项目评估1.项目执行过程中,科技部定期组织评估专家对项目进行评估2.评估内容包括项目的科学性、技术创新性、成果实用性和社会经济效益等3.评估结果将作为项目绩效考核和资助续期的重要依据十、项目终期评价1.项目执行结束后,科技部组织专家进行终期评价2.评价内容包括项目的研究成果、产业化前景、学术论文或专利产出等3.终期评价结果作为项目的综合评价和总结,对项目负责人进行绩效考核和评价十一、项目延期与终止1.在项目执行过程中,若遇到特殊情况影响项目进展,可以向科技部申请延期2.延期申请需要提供充分的理由和合理的解决方案3.若项目无法按原计划继续进行或无法达到预期目标,科技部可根据情况决定终止项目十二、项目经验复制和推广•科技部鼓励项目负责人将项目经验和成果推广至其他相关领域和机构•可以通过学术会议、研讨会等方式分享项目经验和研究成果•科技部将提供支持和资源,推动项目成果的复制和推广以上是2023年科技部课题申报流程的补充内容,希望对您有所帮助。
科研项目申报流程科研项目申报是科学家或研究人员申请资金、设备和人力资源来开展科学研究的过程。
科研项目申报的流程一般包括以下几个步骤:项目立项、写作研究计划、提交申请、评审、公示和资金拨付。
项目立项是科研项目申报的第一步。
在此阶段,科学家或研究人员需要定义研究目标和研究内容,确定项目的重要性、创新性和可行性,并与机构或资助机构进行对接。
项目负责人需要与相关专家、合作伙伴和团队成员进行沟通和协调,争取他们的支持和参与。
写作研究计划是项目申报流程的重要一步。
在这个阶段,项目负责人需要梳理研究思路,明确科学问题,设计实验方案,制定方法流程和时间计划,并考虑可能的风险和挑战。
研究计划需要具备逻辑严密、可操作性强、科学性高的特点,同时也需要符合资助机构的要求和关注点。
提交申请是科研项目申报的正式环节。
项目负责人需要按照资助机构的要求,填写申请表格,附上研究计划、团队成员介绍和研究机构介绍等材料,并将其递交给资助机构。
申请材料的格式和内容需要符合资助机构的要求,包括字数限制、图表要求、英文摘要等。
评审是科研项目申报流程中的重要环节。
资助机构一般会组织专家对提交的申请进行评审,评审的内容包括研究内容、研究方法、团队成员和预期成果等。
评审专家会根据评审标准对申请进行评价,包括科学性、创新性、可行性、重要性等。
评审专家的意见对项目的批准与否起着重要的决定作用。
公示是科研项目申报流程中的公开环节。
资助机构会公布入选项目的名单,并向社会公众进行披露。
公示的目的是提高科研项目的透明度,增强科研项目的可信度和公信力。
公示也为项目负责人和研究机构带来一定的声誉和影响力。
资金拨付是科研项目申报流程的最后一步。
一旦项目被资助机构批准,资助机构会与项目负责人签订项目合同,并安排项目经费的拨付和监管。
项目负责人需要按照合同约定,合理使用项目经费,并按期向资助机构提交经费使用报告和研究进展报告。
综上所述,科研项目申报流程包括项目立项、写作研究计划、提交申请、评审、公示和资金拨付等环节。
2024科研项目申报指南
摘要:
1.2024 科研项目申报指南简介
2.申报项目的基本要求
3.申报项目的具体流程
4.申报项目的注意事项
5.申报项目的截止日期
正文:
【2024 科研项目申报指南简介】
2024 科研项目申报指南是为了帮助各科研机构、高校和企业顺利完成科研项目的申报工作而制定的指南。
本指南旨在为申报者提供详细的申报流程和注意事项,以确保申报过程的顺利进行。
【申报项目的基本要求】
1.申报项目应符合国家科技发展战略和政策导向。
2.申报项目应具有创新性、实用性和可行性。
3.申报项目应具备一定的研究基础和条件。
4.申报项目应明确研究目标、研究内容、研究方法和预期成果。
【申报项目的具体流程】
1.申报者需首先了解申报项目的基本要求和评审标准。
2.申报者需在规定时间内填写申报表格,并按照要求提交相关材料。
3.申报项目需经过初审、专家评审和终审等环节。
4.通过评审的申报项目将获得相应的经费支持。
【申报项目的注意事项】
1.申报项目应确保信息的真实性和准确性。
2.申报项目应严格按照申报表格和要求填写。
3.申报项目需在规定时间内提交,逾期将不予受理。
4.申报项目在评审过程中,申报者需积极配合评审专家的工作。
【申报项目的截止日期】
2024 年某月某日,具体日期请留意相关部门发布的通知。
请各申报者严格按照本指南的要求进行申报,以确保项目的顺利进行。
科研项目管理工作业务流程一、目的:科研项目管理是指课题从项目申请、立项论证、组织实施、检查评估、验收鉴定、成果申报、科技推广、档案入卷的全程管理。
其目的是使科研项目实行制度化和科学化的管理,保证科研计划圆满完成,出成果、出人才、出效益,提高竞争力。
二、对科研项目管理的要求1.项目来源要完全符合科研项目规划的要求,即符合本单位真正的生产和发展需求。
2.科研项目管理的最终目标是应用,成果应用是检验项目成败的关键。
三、科研项目管理业务流程(一)科研项目申报1.各单位根据本单位生产和发展的需要,了解、确认对科研业务的需求,将需求信息确认、分析,制定初步技术方案,重点对技术可行性和经济可行性进行评估。
2.申报单位项目负责人填写申请书(见附件一)并经所在单位审核同意,上报公司主管部门初审。
3.由公司主管部门牵头协同相关部门对科研项目进行审查,主要对项目立题意义、社会推广的预期效果、技术路线的可行性、课题组成员及经费预算等进行论证,提出审查意见。
4.科研项目审查后,公司主管部门报领导审批,在维简计划的科研技措下达科研项目计划。
(二)科研项目实施与管理1.课题负责人对课题全面负责,具有管理权。
全面负责课题的进度、经费、人员调配、物资领取、课题奖金分配等项工作,按课题进度完成各项任务。
2.公司对课题执行情况进行检查和考核。
课题组应按时将阶段性小结和评价及工作进程等情况按要求上报。
3.科研课题的研究容、课题组成员、进度计划及经费预算一经确定,课题组未经批准不得擅自变更或修改,如遇特殊情况需征求公司主管部门同意、审批。
4.研究工作中形成的所有资料不得短缺,不得据为已有。
未经许可,不得随意摘抄和发表。
5.实验记录应及时、准确、真实、完整。
科研记录容主要包括实验名称、方案、人员、时间、材料、环境、方法、具体的实验步骤、过程、结果等,并应准确记录观察指标的数据变化。
每项实验结束后,应进行数据处理和分析,并有文字小结。
6.研究工作全部结束后,由课题负责人撰写总结报告,并将结题报告上报公司主管部门。
图1:科学科研项目申报工作流程图
图2:科学科研项目过程管理流程图
图3:科研项目归档流程图
图4:科学科研成果的奖励及界定流程图
图5:专利申请工作流程图
教师(在校学生)填写专利申请审核表;→ 所在单位审核;→ 科技处审核批准;→个人直接或通过专利公司向国家知识产权局提交申请文件;→ 科技处参与申请流程管理;→ 符合条件授权,不符合条件驳回或撤回。
图6:专利(成果)转化工作流程图
企业直接或通过中介提出专利(成果)需求;→ 科技处确定具体需求情况(转让、独占许可、排他许可、普通许可);→ 科技处进行价值评估并与发明人交流;→与公司进行谈判达成协议;→ 公司付款、学校交付专利文件;→根据学校文件分配转让费。
图7:纵向项目经费卡制作工作流程图
项目主管部门下达批文和拨款通知;→科技处根据上级文件和纵向项目管理办法出具经费划拨单;→ 科技处负责人审核;→校分管领导审批→报财务处→科技处项目管理科制作项目经费卡发给项目负责人。
图8:横向项目经费卡制作工作流程图
教师凭合同书或协议书申请办理以及经费到账凭证(发票复印件)→科科技处项目管理科核查、报处长审批→报财务处→科技处项目管理科制作项目经费卡发给项目负责人。
图9:校企合作协议签订工作流程图
由企业或校方提出合作事宜→科技处参与协商,审核修改协议书→报领导审批→签订协议书→履行协议。
图10:协同创新工作流程图
学校设立协同创新领导机构→学校搭建研发协同创新平台→ 校校、校所、校企、校地融合→解决企业问题→提升学校科技创新和服务地方能力。
新研发项目申报根据公司订单情况(一般新订单签订合同或编制项目预算时候后提出)项目经理/技术经理提出项目人员确定根据公司和部门的安排,确立研发项目人员结构,配置专门的项目研发管理人员(如PJS),负责管理本项目研发内容的管理项目经理负责项目初审合格项目的必要性,课题组的承担能力、经费预算的合理性符合申报指南的要求。
项目论证评估1、对项目的技术创新性、可行性、风险、效益和市场前景等进行评估;2、时限根据项目申报指南确定。
项目立项1、根据项目的初审意见、立项评估论证意见、项目申报指南的有关要求和年度计划的总体安排,确立立项项目名单;2、时限根据年度计划确定。
项目形式审查合格申报单位主体资格合格,资料完整、齐全、真实,以及是否符合申报项目指南的规定要求。
项目形式审查不合格申请材料不齐全或不符合项目申报指南的规定,签订项目合同书科技研发项目立项工作程序流程图上报符合大连市以上科技项目条件的上报。
科技孵化器(市级)认定(考10个工作日之内告知申报人。
实地考察市科技局组织实地考核专家评审由市科技局组织专家评审提出申请依据申请条件提出申请填报申请材料提交相关的技术资料和其他材料。
初审合格符合申报条件的规定,申报材料齐全完整并且填写准确无误。
上报向上级科技局提出申请,并根据其意见,会同申请单位做好接受考核的准备工作。
初审不合格申请材料不齐全或不符合申报条件的规定,14个工作日之内告知申报人。
专家评审由市科技局组织专家组评审。
决定1、符合条件的14个工作日内出具许可文件。
2、不符合条件的在14个工作日内出具不予许可决定书。
申请1、符合申请人条件;2、提交有关技术资料和受理1、查验申请材料;2、出具受理或不予受理书审查政策法规与体制改革处受理,进行形式审查。
核)申报程序流程图市级科普基地认定程序流程图不予受理申请材料不齐全或不符合法定形式,当场或7日内一次其他材料。
面凭证。
申报认定材料企业提交认定材料。
组织评审符合条件上报大连市科技局,由高新技术发展及产业化处组织专家或委托有资质的科技中介机构,对通过审查的企业的技术水平、技术创新能力、管理水平、效益和市场前景等方面进行评审,并按要求出具评审意见。
科技型中小企业科技创新基金项目申报流程图
申报步骤文字说明
1、熟知政策:仔细研读国家科技型中小企业技术创新基金管理办法及年度通知和指南,掌握申报流程及注意事项。
2、网上注册:根据相关要求在国家创新基金网站注册企业基本信息并网上提交,同时准备书面认证材料到主管部门处进行现场认证。
3、准备申报材料,确定项目后按照可研报告提纲及附件要求准备各类申报材料,并网上提交、打印、装订。
4、地方评审及推荐:地方主管部门进行评审并进行地方立项,地方立项后将项目推荐到国家。
5、国家评审:由科技部创新基金管理中心组织技术、财务、管理专家对项目进行技术、市场、财务等方面的评审,确定是否立项。
6、项目监理及验收:项目立项后按期做好项目实施过程中的监理上报工作,做好项目的专款专用,项目到期后准备项目的验收工作。
国家科技计划项目申报中心科技基础性专项申报用户手册目录1 基础性专项申报系统申报流程说明 (1)1.1申报用户类型 (1)1.2申报流程 (1)2单位管理员使用说明 (3)2.1新建项目 (3)2.2项目授权 (4)2.3填写承担单位意见 (5)2.4提交推荐部门 (5)2.5退回填写 (6)2.5 删除项目 (7)3申报人用户使用说明 (7)3.1填写说明 (8)3.2项目申请书填写 (8)3.2.1基本信息填写界面 (9)3.2.2 项目简介填写界面 (9)3.2.3 项目主要研究人员填写界面 (10)3.2.4 经费支出预算界面 (11)3.2.5 项目申请书 (12)3.2.6 项目申请书整体校验 (18)3.2.7 项目申请书合成打印 (19)4组织部门业务处用户使用说明 (20)4.1 填写组织部门意见 (21)4.2 提交科技部 (21)4.3 打印推荐项目清单 (22)5组织部门计划处用户使用说明 (22)5.1 创建用户 (22)5.2 用户授权 (24)5.3 打印推荐项目清单 (25)5.4 打印推荐项目清单 (25)1基础性专项申报系统申报流程说明1.1申报用户类型基础专项项目申报过程中涉及4类用户,其中申报单位2类、项目组织部门2类。
申报单位用户分单位管理员用户和项目申报用户,项目组织部门用户分计划处用户和业务处用户。
单位管理员用户需要在“国家科技计划项目申报中心()”(以下简称“申报中心”)进行注册备案,经审核通过后方具有基础专项的申报权限,具体注册及审核过程见申报中心帮助说明。
单位申报用户由单位管理员用户创建,并根据单位管理员授权进行申报项目信息的填写。
组织部门计划处用户由科技部下发帐号。
组织部门业务处用户由组织部门计划处用户创建并授权进行本部门基础专项的申报管理工作。
1.2申报流程基础专项项目申报流程如下图所示。
1、单位管理员—单位管理员访问申报中心,如果已经注册则可以登录进入系统,如果没有注册,则应通过“用户注册”填写相关资料进行注册,如果审核通过则可以登录进入系统。
科研项目申报流程第一步,项目选题。
科研人员在选择项目选题时,要根据自身的研究方向和特长,选择具有创新性、应用价值和实际意义的研究内容。
同时,还需要考虑科研经费的支持和研究周期的合理性。
第二步,准备材料。
准备材料是项目申报的基础工作,包括研究计划、研究背景、研究目标、研究内容、研究方法、研究计划、预期成果、经费预算等内容。
科研人员应对项目的每一个环节进行详细规划和描述,确保项目的可行性和科学性。
第三步,填写申报表。
申报表是科研项目申报过程中的重要文件,一般包括项目名称、项目负责人、项目成员、研究领域、预期成果、经费预算等内容。
科研人员需要根据项目的实际情况,填写申报表,并根据要求进行签字盖章等必要操作。
第四步,提交申报材料。
提交申报材料是项目申报的关键一步,科研人员需要将准备好的申报材料按要求整理好,在规定时间内递交给科研管理部门。
同时,还需要保留一份复印件作为备份。
第五步,评审。
一般情况下,科研项目申报需要经过评审机构的专家组进行评审,评审的内容主要包括项目的创新性、科学性、可行性和实际应用价值等方面。
科研人员需要在评审前对项目进行充分准备,包括准备答辩PPT、整理相关材料等。
第六步,答辩。
在项目申报后,评审专家组一般会要求申请人进行答辩,以解答专家组对项目内容和方案的疑问。
科研人员要准备充分,清晰明确地陈述项目的研究目标、研究内容和研究计划等,同时要对评审专家的提问进行合理回答。
第七步,项目立项。
经过评审和答辩后,科研项目一般会进行立项,获得科研经费的支持,并获得相应的项目支持文件和科研合同等。
科研人员需要按照项目计划进行研究工作,并按期报告项目进展情况。
以上就是科研项目申报的基本流程,科研人员在进行申报时要认真准备材料,规范填写申报表,合理安排时间,并与评审专家组保持良好的沟通与合作关系,以提高项目的申报成功率。
项目申报成功后,科研人员要按照项目计划进行科学研究,并及时报告研究成果,为科研事业的发展做出积极贡献。
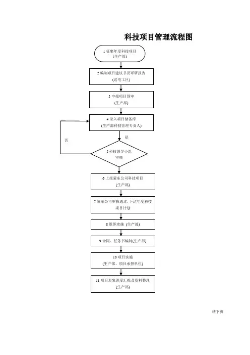
科技项目申报流程节点说明及流程图1 科技项目申报流程说明
流程编
制目的
规范科技项目申报工作,提高本工作效率。
流程节点说明任务名称节
点
任务程序时限责任人
相关
成果
编辑初稿
1
2
从发改委、工信部、中小企业局、科
技局、财政局、经信委网站上获取项
目申报信息。
随时
项目申报
小组
3
确认项目申报的截止时间、申报要求和该项目在科技部门的联系人。
一天
项目申报
小组
项目申报
指南
4
4.1
4.2
如集财务部、研发技术部相关人员召开人力资源部、财务部、技术部三部门项目申报会议,安排分工。
财务部提供财务报表数据,技术部提供技术
资料,人力资源部提供非技术、财务文字资料,并负责整合成粗初稿。
1小时
项目申报
小组
会议纪要
5 根据三个部门提供的材料整理成项目初稿。
15天
项目申报
小组
申报材料
初稿
审核6
项目申报小组内部讨论,根据项目申报指南审核初稿,并根据当地主管部门的意见,对申报材料进行修改和校
对,形成项目定稿,并按申报资料标准进行装订成册,并留存电子版。
两天
项目申报
小组
申报材料审
核稿
定稿提交并公关7
距截止日期15天前,装订成册一式几份的申报书定稿提交科技部门并根据实际情况展开项目公关。
随时高层公关
申报项目
定稿
8
项目申报费用应在定稿提交后第二天及时报账,未提交完的定稿归入档
案室。
一天
项目申报
小组
组织验收评审9
9.1
9.2
持续跟踪项目评审进展并按科技部
门要求组织验收,验收过程中,财务部门、技术部要全力配合。
随时
项目申报
小组
验收
报告书10 全套资料整理归档。
随时项目申报
小组
执行证明
材料
否
集财务部、技术部相关人员召开人力资源部、财务部、技术部三部门项目申报会议,安排分工。
根据当地主管部门意见修改和校对,形
成项目定稿
项目申报小组持续跟踪项目评审进展并按科技部门要求组织
验收,验收过程中,财务部门、技术部要全力配合。
全套资料整理归档
项目申报小组根据三部门提供的基础材料,汇编形成项目初稿
按要求装订、盖章、上交
通过
否
修改
从科技部门网站获取项目申报信息,内
部解读申报要求
科技项目申报流程图
放弃
向各部门主管转发项目申报通知,上报高层审议。