行政人事工作流程图
- 格式:doc
- 大小:22.83 KB
- 文档页数:6
行政及人事工作流程图办公设备购买管理工作流程
办公设备管理工作流程图
员工出差审批管理工作流程
员工出差管理工作流程图
会前准备工作管理流程图
会议管理工作流程
会议组织工作流程
技术资料保密管理工作流程图
参观接待管理工作流程图
客户接待管理工作流程图
客户就餐招待管理工作流程
提案管理工作流程
办公室发文管理工作流程图
办公室收文管理工作流程图
档案管理工作流程图
档案归档与维护管理工作流程图
档案借阅与归还管理工作流程
值班管理工作流程图。
行政人事工作流程会前准备工作流程行政办总经理办公用品申购(包括招商物料印刷)流程部门员工行政办总经理采购部部门员工行政办行政办总经理维修公司行政办总经理总裁办财务部部门员工行政办部门经理总经理行政办总经理注:借款完成后需要准备发票到财务处销账。
各职能部门行政办总经理相关部门/人员各职能部门行政办总经理相关部门/人员行政办总经理行政办相关部门/人员总经理行政办总经理员工行政办总经理各职能部门策划部员工策划部经理各部门员工部门经理总经理行政办员工部门经理行政办总经理采购部各职能部门行政办总经理采购部用车部门行政办总经理部门员工行政办注:如钥匙有遗失,员工需到行政部报备并由员工自行配制。
行政办(前台) 受访人部门经办人行政办总经理部门员工行政办部门经理总经理否否食堂行政办总经理各部门行政办总经理各部门行政办总经理员工部门经理总经理行政办注:如果电话请假需请假结束后补交请假单;病假需要医院出具的休假条加盖公章。
部门员工部门经理总经理行政办(1)(1)针对一般员工的调休假管理流程;(2)针对部门经理的调休假管理流程。
各部门行政办总经理公司人资部招聘/录用管理工作流程行政办部门经理总经理试用期考核管理流程部门员工行政办部门经理总经理辞退手续办理流程各部门部门经理行政办总经理离职办理流程部门员工部门经理行政办总经理备注:试用期员工需提前一周,转正后员工需提前一个月。
岗位变动管理流程总经理行政办员工部门经办人部门经理总经理财务部信息部部门经办人部门经理总经理财务部信息部成交商铺客户更名流程部门经办人部门经理总经理财务部信息部。
劳动合同入职培训1-------- ►享受公司支持转正1i 薪福培奖: ,■1酬利训征丿接受岗位调整待冈晋升降职转冈调薪执行公司制度考勤请假考核评估行政人事部工作流程图(总图)1组织组织结构设置片今结构图公司发展战略工作分析亠职位说明书定岗定编年度编制计划招聘绩效管理考核薪酬福利薪酬培训发展员工关系员工入职程序招聘岗位厂调整人才一储备II职业生涯I-劳动合同入职—试用转正考勤-I档案I 一|奖惩|~|离职|员工活动考核 启动 当月考 核评审 启动 公司考核项目评 分表绩效管理 考核 被考核人 考核人 行政人事部 总经理 关联流程 员工考核项目 k. 当月考核 确定 P 1 填写结束 * 1考核表反馈当月考核评 审结束 匸二4绩效评价 考核考勤表 考核记录 发布/归档 考勤薪酬 公司考核项目申请 公司考核项 目申请表 员工考核项目自定员工考核项目指定 公司考核项目 申请结束 考核表 审批 考核人评审 公司考核项目 评分 ■考核评审确认■ raa ■ r ' ■ r cal ■ r ■■ ■ ■ ri员工考核项目自评福利 社保参保人员 行政人事部主管领导 总经理 关联规程 年度社保基数调整 方案执行和备案签署意见 个人自行 缴费申请 审批 缴纳标准备案疇 集体户参 保/停缴/ 申请 档案 .办理社保增员 /减 员/汇缴手续 社保缴纳月报表 社保发票 原件提供 给公司人 事部 财务部 转账 A ■ 薪酬社保个人扣缴/报 销明细表一 ------------------------ - 福利 制订年度社保基数 调整方案 ----------------------------------- 国家政策审批 审批奖惩员工部门经理 行政人事部 公司领导 总经理 关联流程 绩效评估 相关部门 规程 行为表现 及结果 总经理指派调 查取证并作书 面结论 行为表现及结果 行为表现及结果主管公司领导 或相关部门调 查取证并作书 面结论 須部门经理或相 关部门调查取 证并作书面结 论 奖惩决定 审批 Y N 一次申诉 机会 终止并通知 提名人 书面形式 提交 Y 理由是否 成立 N 维持原决定 取消或改变原决定 终止并通 知提名人 发布文件 奖励 通报表扬 专项奖励 优秀员工 处罚一 通报批评 罚款 开除 起诉 *文件存档 法律程序 档案根据业务规划和工作计划,或员工不胜任岗位工作,提出岗位调整的书面报告根据公司发展或规划需要,提出岗位调整议案调薪1薪酬1晋升« -------------------- i1劳动合同1降职!---------------------1劳动合同!1转岗 1 --------------------1劳动合同i ~待岗劳动合同|岗位调整员工部门/地区行政人事部主管领导/总经理关联流程考核固定时间的岗位调整部门经理会讨论,综合评价全体员工评估评价结果(告知相关人员1签字确认人事通知单(评价结果)存档非固定时间的岗位调整书面意见获知获知*汇总并形成处理意见执行批示审批经理例会讨论决定Y 取消岗位调整因个人爱好特长等提出岗位调整的书面申请。
基础行政人力流程图一、行政人事工作流程1、总图2、员工入职程序3、招聘4、绩效管理考核5、绩效管理评估6、薪酬7、社保8、奖惩9、岗位调整10、人才储备11、培训12、劳动合同13、入职14、使用转正15、考勤16、休假17、档案18、离职二、办公设备19、办公设备购买20、办公设备维修21、办公用品领用三、出差22、出差预算23、出差审批四、会议24、会议筹备25、会议流程26、会议组织五、资料27、资料保密及借阅六、考勤28、节假日休息29、考勤统计七、接待30、参观接待31、客户接待32、客户就餐招待八、档案33、意见收集34、文件通知35、文件整理36、档案管理37、存档维护38、档案借阅39、文件借阅九、公章40、刻章制领41、公章领用十、安全42、值班流程43、安全管理44、安全检查45、出入管理46、事故处理47、突发处置48、消防安全49、治安保卫十一、配套50、就餐管理51、宿舍管理52、车辆加油53、用车登记54、车辆维保55、肇事处理十二、卫生56、卫生维护57、卫生检查58、卫生奖惩十三、人事59、招聘计划60、招聘面试61、入职培训62、培训计划63、试用转正64、转正考核65、辞退流程。
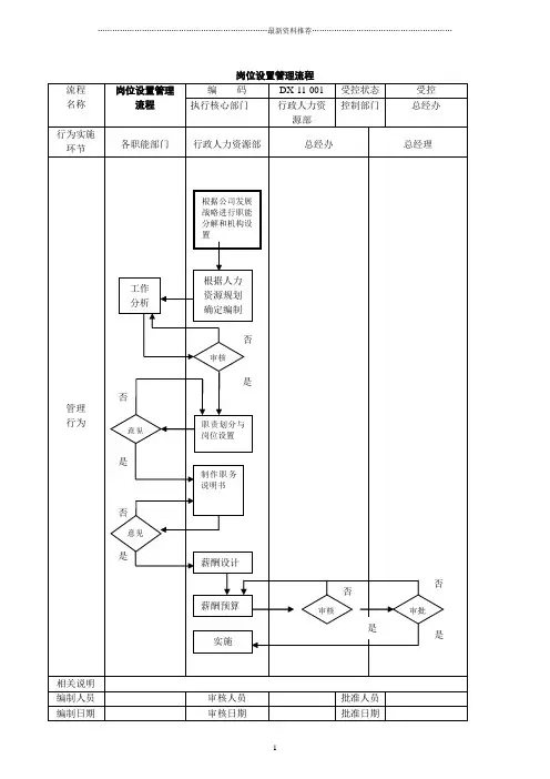
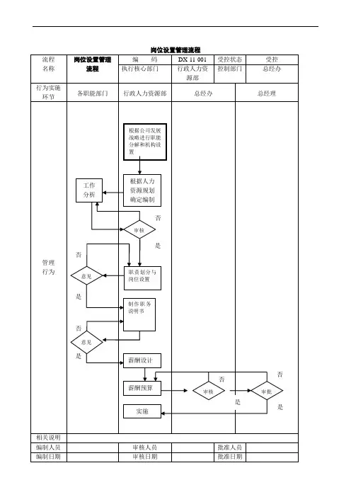
岗位设置管理流程流程 名称 岗位设置管理流程编 码 DX-11-001 受控状态 受控 执行核心部门行政人力资源部控制部门总经办行为实施环节 各职能部门 行政人力资源部 总经办 总经理 管理 行为相关说明编制人员 审核人员 批准人员 否是否否是否 根据公司发展战略进行职能分解和机构设置 根据人力资源规划确定编制 工作分析审核职责划分与岗位设置意见制作职务说明书意见薪酬设计薪酬预算审核审批实施是是是否人员编制管理流程流程 名称 人员编制管理流程编 码 DX-11-002 受控状态 受控 执行核心部门行政人力资源部控制部门总经办行为实施环节 各用人部门 行政人力资源部 总经理办公会议总经理管理 行为相关说明编制人员 审核人员 批准人员 编制日期审核日期批准日期是否进行各部门工作量分析 提出编制草案 对本部门编制提出意见 审议 制定具体的人员编制,并编制职位说明审核否是签批否是执行编制增加编制申请流程流程 名称 增加编制申请流程 编 码 DX-11-003 受控状态 受控 执行核心部门 各用人部门控制部门总经办行为实施环节 各用人部门 行政人力资源部 总经理办公会议总经理 管理 行为相关说明 编制人员 审核人员 批准人员 编制日期审核日期批准日期否否 提出增加编制的申请审核审议 审批 提出增编岗位人员素质要求 决策内聘外聘内部招聘流程外部招聘流程是 是 是否用人申请流程流程 名称 用人申请 流程 编 码 DX-11-004 受控状态 受控 执行核心部门用人部门控制部门分管经理 行为实施环节 用人部门 部门负责人 分管部门 行政人力资源部管理 行为相关说明编制人员 审核人员 批准人员 编制日期审核日期批准日期是因调动、流失等原因出现职位空缺 报告部门 负责人 判断不影响 工作 维持现状 影响 工作 填写用人申请表审核 核实 是 否 否实施 招聘流程源部行为实施环节 用人部门 行政人力资源部 公司员工 员工原就任部门 管理 行为相关说明 编制人员 审核人员 批准人员 编制日期审核日期批准日期关键人员不能调离 决定内聘 决定外聘用工申请 流程 判断 对内发布招聘启事 报名,填写应聘登记表用人部门面试,人力资源部提供相关支持 面试 人员筛选判定 与员工沟通,必要时请人力资源部协调 通知职员,并办理调动手续 非 关键人员 公司外部招聘程序源部行为实施环节 用人部门 行政人力资源部 应聘人员 分管经理 总经办 管理 行为相关说明 编制人员 审核人员 批准人员 编制日期审核日期批准日期· 决定外聘 决定内聘用工申请 流程 判断 对外发布招聘启事 报名,填写应聘登记表用人部门面试,人力资源部提供相关支持 面试 人员筛选通知报到 报到 公司内部招聘程序审核否 是 入职流程新员工入职流程流程 名称 新员工入职 流程编 码 DX-11-007 受控状态 受控 执行核心部门行政人力资源部控制部门总经办行为实施环节 行政人力资源部 用人部门管理 行为相关说明 编制人员 审核人员 批准人员 编制日期审核日期批准日期新员工建档 工作证办理 制度培训 发放员工手册 工作关系介绍人力资源部和用人部门配合进行岗前培训工作交接试用存档 试用员工转正流程 签订试用合同配合行政部办理后勤工作劳动合同管理流程流程 名称 劳动合同管理流程编 码 DX-11-008 受控状态 受控 执行核心部门 行政人力资源部控制部门总经办行为实施环节 相关员工 部门负责人 分管领导 行政人力资源部 管理 行为相关说明编制人员 审核人员 批准人员 编制日期审核日期批准日期不合格新员工报到入职签订试用合同 试用期满考核 签订正式 合同辞退流程 合格劳动仲裁机构签字备案合同期满 是否续签合同 存档办理离职手续否 是新员工试用期满转正流程流程 名称 新员工试用期满转正流程 编 码 DX-11-009 受控状态 受控 执行核心部门行政人力资源部控制部门总经办 行为实施环节 用人部门 试用期满新员工行政人力资源部 部门经理 总经办 管理 行为相关说明编制人员 审核人员 批准人员 编制日期审核日期批准日期转正考核 评估 是否 合格填写转正申请是否 留用审核 审批延长试用期员工辞退流程签订正式 合同劳动仲裁机构签字备案存档是 否是 否是否否是职务任命流程流程 名称 职务任命 流程编 码 DX-11-010 受控状态 受控 执行核心部门行政人力资源部 控制部门总经办行为实施环节 各职能部门 行政人力资源部 总经理办 公会议总经理 董事会 管理 行为相关说明 编制人员 审核人员 批准人员 编制日期审核日期批准日期否 否 是否否 否否是制定晋升制度及各级人员任职资格 审议 审批 提出任命名单(部门负责人以下职位)签发 任命公司经理 下发任命通知提请任命财务负责人审议任命除财务负责人之外的部门级管理人员审议下发任命通知考察审议 存档 备案是是 是 是是否考勤管理流程流程 名称 考勤管理 流程编 码 DX-11-011 受控状态 受控 执行核心部门行政人力资源部控制部门总经办 行为实施环节各部门 行政人力资源部行政人力资源部行政人力资源部经理管理 行为相关说明 程序按照《公司考勤制度》执行 编制人员 审核人员 批准人员 编制日期审核日期批准日期是是 否 否 制定考勤制度,配备考勤刷卡设备 各部门员工刷卡接受考勤 月末汇总编制考勤表特殊情况不能刷卡者由部门负责人核实确认 根据考勤及其他依据编制工资表审核 审核工资发放流程行为实施环节 加班员工 部门负责人 行政人力资源部财务部管理 行为相关说明 编制人员 审核人员 批准人员 编制日期审核日期批准日期是因工作需要加班 填写加班申请表 审批 执行加班 填写加班记录审核审核加班工资核算是 否 是否否纳入综合考评行为实施环节 请假人员 部门负责人 分管领导 总经理 人力 资源部 管理 行为相关说明 各级负责人审批权限(准假时限)可以根据参考《考勤管理制度》 编制人员 审核人员 批准人员 编制日期审核日期批准日期不同意1月以上同意超过5天5天内不同意 同意 填写请假条审批 审批 审批不同意审批审批1个月内同意考勤管理流程行为实施环节 出差人员 部门负责人 分管部门主管总经理 人力 资源部 管理 行为相关说明 编制人员 审核人员 批准人员 编制日期审核日期批准日期同意不同意1月以上同意超过5天5天内时间 审批不同意审批审批1个月内填写出差派遣单 制定出差计划 考勤备案出差行为实施环节 相关部门 分管主管行政人力资源部 总经办 总经理管理 行为相关说明 编制人员审核人员 批准人员 编制日期审核日期批准日期否否 是否 否制定绩效管理制度 审核 审批 制定考核指标、方法考核指标分解工作执行与绩效沟通月度工作检查绩效 考评审核审核工资发放流程是是 是部行为实施环节 各职能部门 行政人力资源部 总经理办公会议总经理 管理 行为相关说明编制人员 审核人员 批准人员 编制日期审核日期批准日期否 制定考核制度(含原则、措施、指标、方法)审议 下达考核通知 根据通知精神,填写考核表,进行部门内考核 审查 核实 汇总当期考核结果,制定报告 审核 签批 执行奖励档案记录是 否 是 否 是 是 否薪酬方案审批流程流程 名称 薪酬方案审批流程编 码 DX-11-017 受控状态 受控 执行核心部门行政人力资源部控制部门总经办行为实施环节 相关部门 行政人力资源部 财务部 总经理 管理 行为相关说明 编制人员 审核人员 批准人员 编制日期审核日期批准日期根据预算编制薪酬草案测算 审批修正方案信息支持执行方案存档是是否否工资发放流程流程 名称 工资发放流程流程 编 码 DX-11-018 受控状态 受控 执行核心部门 行政人力资源部 控制部门 总经办 行为实施环节 用人部门 行政人力资源部 总经办 总经理 财务部 管理 行为相关说明编制人员 审核人员 批准人员 编制日期审核日期批准日期否 是部门月份考评审核编制工资表 审核审核 复核工资表 发放工资工资核算复核存档是是 是否 否 否员工奖励(处罚)流程流程 名称 员工奖励(处罚)流程 编 码 DX-11-019 受控状态 受控 执行核心部门 各职能部门 控制部门 总经办 行为实施环节 各职能部门 行政人力资源部分管主管 总经理 财务部 管理 行为相关说明 编制人员 审核人员 批准人员 编制日期审核日期批准日期不同意或调整 不同意或调整呈报奖励(处罚)名单和事由,提出奖励方案审核审核 审核 同意 同意不同意或调整实施奖励(处罚)发放奖金 (罚款)档案 记录同意培训管理总体流程流程 名称 培训管理总体流程编 码 DX-11-020 受控状态 受控 执行核心部门行政人力资源部控制部门总经办行为实施环节 各相关部门 行政人力资源部 总经理办公会议 总经理 管理 行为相关说明 编制人员 审核人员 批准人员 编制日期审核日期批准日期是 是否 否 制定公司整体培训目标 审议 培训需求调研提出培训需求 制定整体培训计划评审 批准 教学研究设计实施培训培训效果评估总结确认存档否 否是是21岗前培训流程流程 名称 岗前培训 流程编 码 DX-11-021 受控状态 受控 执行核心部门行政人力资源部控制部门总经办行为实施环节 受训部门 受训员工行政人力资源部 行政人力资源部经理管理 行为相关说明 编制人员 审核人员 批准人员 编制日期审核日期批准日期否 是 提出新员工岗前培训需求审核 审核 拟定岗前培训方案 审查 确定培训方案提出 意见培训教材教具师资场所落实实施培训培训考试 效果评估审核上岗修正方案再培训是 是是是否 否 否 否22员工辞职审批流程流程 名称 员工辞职审批流程编 码 DX-11-022 受控状态 受控 执行核心部门行政人力资源部 控制部门总经办行为实施环节 辞职员工 部门负责人行政人力资部分管主管 总经理管理 行为相关说明编制人员 审核人员 批准人员 编制日期审核日期批准日期超越权限 不同意 不同意 同意正常 不同意 同意 提前30天提出申请审批 审批辞职原因调查 判断 做思想工作消除问题办理离职手续审批 是否接受再申请或申诉或仲裁 结束员工离职交接流程非正常同意是否23名称 流程执行核心部门行政人力资源部控制部门总经办行为实施环节 各用人部门 分管主管 行政人力资源部总经办 总经理 管理 行为否相关说明 编制人员 审核人员 批准人员 编制日期审核日期批准日期内部调动是否 否否 提出辞退报告审批 原因调查 审核 审批 审批 决策员工工作调动流程员工离职交接流程是是是超越权限同意辞退24名称 流程 执行核心部门 各职能部门 控制部门 总经办 行为实施环节离职人员部门负责人行政人力资源部总经理财务部管理 行为相关说明 编制人员 审核人员 批准人员 编制日期审核日期批准日期否 超越权限 员工辞职审批填写工作交接单 审核 审核 审批 清退办公用具等,结算工资奖金实施工作交接审阅部门与员工签订离职协议 是否 补充招聘 流程结束是 是 是是否 否否。
岗位设置管理流程流程岗位设置管理编码DX-11-001受控状态受控名称流程履行中心部门行政人力资控制部门总经办源部行为实行各职能部门行政人力资源部总经办总经理环节依据企业发展战略进行职能分解和机构设置工作剖析否管理行为建议是否建议是有关说明编制人员编制日期依据人力资源规划确立编制否审察是职责区分与岗位设置制作职务说明书薪酬设计薪酬估算实行审察人员审察日期否否审察审批是是赞同人员赞同日期流程名称行为实行环节人员编制管理流程各用人部门人员编制管理流程编码DX-11-002受控状态受控履行中心部门行政人力资控制部门总经办源部行政人力资源部总经理办公会议总经理进行各部门工作量剖析否对本部门编制提出建议提出编制草案拟订详细的人员编制,并编制职位说明审议是管理行为否是审察签批否是履行编制有关说明编制人员审察人员赞同人员编制日期审察日期赞同日期流程增添编制申请名称流程行为实行环节各用人部门提出增添编制的申请提出增编岗位人员素质要求管理行为增添编制申请流程编码DX-11-003受控状态受控履行中心部门各用人部门控制部门总经办行政人力资源部总经理办公会议总经理否否是是审察审议审批否是内部招聘流程内聘决议外聘外面招聘流程有关说明编制人员审察人员赞同人员编制日期审察日期赞同日期用人申请流程流程名称行为实行环节管理行为用人申请编码流程履行中心部门用人部门部门负责人保持现状不影因调换、流响失等原由出工现职位空缺作报告部门负责人判断影响工作填写用人申请表DX-11-004受控状态受控用人部门控制部门分管经理分管部门行政人力资源部否是审察核实否是实行招聘流程有关说明编制人员审察人员赞同人员编制日期审察日期赞同日期企业内部招聘流程流程企业内部招聘编码DX-11-005受控状态名称流程履行中心部门行政人力资控制部门源部行为实行环节用人部门行政人力资源部企业职工企业外面招聘用工申请程序流程决定外聘判断决定内聘对内公布招聘报名,填写应启事聘登记表管理行为用人部门面试,人力资源部供给有关支持面试人员挑选通知职员,并办理调换手续有关说明编制人员审察人员赞同人员编制日期审察日期赞同日期受控总经办职工原到任部门与职工沟通,必需时请人力资源部协调关键人员不能调离判断非关键人员企业外面招聘流程流程企业外面招聘编码DX-11-006受控状态受控名称流程履行中心部门行政人力资控制部门总经办源部行为实行分管经理环节用人部门行政人力资源部应聘人员总经办企业内部招聘程序用工申请流程决定内聘判断决定外聘对外公布招聘报名,填写应启事聘登记表管理行为用人部门面试,人力资源部供给有关支持面试否人员挑选审察是通知报到报到入职流程有关说明编制人员编制日期审察人员审察日期赞同人员赞同日期·新职工入职流程流程新职工入职编码DX-11-007受控状态受控名称流程履行中心部门行政人力资源控制部门总经办部行为实行环节行政人力资源部用人部门新职工建档工作证办理发放职工手册配合行政部办理后勤工作管理制度培训人力资源部和用人部门配合进行岗前培训行为签署试用合同工作关系介绍工作交接存档试用试用职工转正流程有关说明编制人员审察人员赞同人员编制日期审察日期赞同日期流程名称行为实行环节管理行为有关说明编制人员编制日期劳动合同管理流程有关职工新职工报到入职试用期满合同期满能否续签合同否劳动合同管理流程编码DX-11-008履行中心部门行政人力资源部部门负责人分管领导不合格查核合格是审察人员审察日期受控状态受控控制部门总经办行政人力资源部签署试用合同解雇流程签校正式合同劳动仲裁机构署名存案存档办理离职手续赞同人员赞同日期新职工试用期满转正流程流程新职工试用期满编码DX-11-009受控状态受控名称转正流程履行中心部门行政人力资源部控制部门总经办行为实行用人部门试用期满新职工行政人力资源部部门经理环节总经办填写转正申请转正查核评估是否是是管理能否行为合格否审察审批是能否留用否职工解雇流程有关说明编制人员审察人员编制日期审察日期否延伸试用期签校正式合同劳动仲裁机构署名存案存档赞同人员赞同日期流程名称行为实行环节管理行为职务委任流程职务委任编码DX-11-010流程履行中心部门行政人力资源部各职能部门行政人力资源部总经理办公会议否拟订荣膺制度及各审议级人员任是职资格提出任命名单(部门负责人否以下职观察审议位)是否是受控状态控制部门总经理否审批是提请任命财务负责人受控总经办董事会否签发是委任企业经理下发委任通知否审议否下发任是委任除财务命通知审议负责人以外的部门级管理人员存档存案有关说明编制人员审察人员赞同人员编制日期审察日期赞同日期·是流程考勤管理名称流程行为实行各部门环节考勤管理流程编码DX-11-011受控状态受控履行中心部门行政人力资源控制部门总经办部行政人力资源部行政人力资源部行政人力资源部经理否拟订考勤制度,装备审察考勤刷卡设施各部门员工刷卡接受考勤特别状况不能刷卡者由部门负责人管理核实确认行为月底汇总编制考勤表是否审察是依据考勤及其余依照编制薪资表薪资发放流程有关说明程序依照《企业考勤制度》履行编制人员审察人员赞同人员编制日期审察日期赞同日期流程职工加班申请名称流程行为实行加班职工环节职工加班申请流程编码DX-11-012受控状态受控履行中心部门各职能部门控制部门总经办部门负责人行政人力资源部财务部管理行为因工作需要加班填写加班申请表履行加班填写加班记录否审批是否是是审审加班薪资核核核算否归入综合考评有关说明编制人员审察人员赞同人员编制日期审察日期赞同日期流程名称行为实行环节管理行为有关说明编制人员编制日期职工告假管理编码DX-11-013受控状态受控流程履行中心部门各用人部门控制部门总经办人力告假人员部门负责人分管领导总经理资源部不同意填写告假审批条同意5天内审批超过同5意天审批不同意1 个月内审批赞同1 月以上审批不考勤管理流同程意各级负责人审批权限(准假时限)能够依据参照《考勤管理制度》审察人员赞同人员审察日期赞同日期流程职工出差管理编码DX-11-014受控状态受控名称流程履行中心部门各职能部门控制部门总经办行为实行人力环节出差人员部门负责人分管部门主管总经理资源部填写出差派遣单5 天内制定出差计划时间不超同过意5管理天审批不同行为意同意1 月以上审批1个月内审批赞同考勤存案出差有关说明编制人员编制日期审察人员审察日期赞同人员赞同日期流程名称行为实行环节管理行为绩效管理工作流程绩效管理工作编码DX-11-015受控状态受控流程履行中心部门行政人力资源部控制部门总经办有关部门分管主管行政人力资源部总经办总经理否拟订绩效是审审管理制度核批否查核指拟订查核标分解指标、方法是工作履行与绩效沟通月度工作检查绩效是是审审考评核核否否薪资发放流程有关说明编制人员审察人员赞同人员编制日期审察日期赞同日期流程名称行为实行环节职工绩效查核流程职工绩效查核编码DX-11-016受控状态受控流程履行中心部门行政人力资源控制部门总经办部各职能部门行政人力资源部总经理办公会议总经理否管理依据通知精神,填写查核表,进行部门内查核拟订查核制度审议(含原则、措施、指标、方法)是下达查核通知否审察核实行为有关说明编制人员编制日期是否汇总当期查核结是签批果,拟订报告审察否是履行奖赏档案记录审察人员赞同人员审察日期赞同日期薪酬方案审批流程流程薪酬方案审批编码DX-11-017受控状态受控名称流程履行中心部门行政人力资源控制部门总经办部行为实行环节有关部门行政人力资源部财务部总经理否依据估算编制薪酬草案测算是信息支持修正方案否审批管理是行为履行方案存档有关说明编制人员审察人员赞同人员编制日期审察日期赞同日期流程名称行为实行环节管理行为薪资发放流程流程用人部门部门月份考评薪资发放流程编码DX-11-018受控状态履行中心部门行政人力资源部控制部门行政人力资源部总经办总经理否审察否是是是编制薪资表审审核核否受控总经办财务部复核工资表发下班资否工资核复算核是存档有关说明编制人员审察人员赞同人员编制日期审察日期赞同日期流程名称行为实行环节管理行为职工奖赏(处分)流程职工奖赏(处分)编码DX-11-019流程履行中心部门各职能部门各职能部门行政人力资源部分管主管呈报奖赏(处分)名单和事赞同由,提出审察奖赏方案不同审察意或不调同整意或调整实行奖赏(处分)档案记录受控状态控制部门总经理赞同审察不一样意或调整受控总经办财务部赞同发放奖金(罚款)有关说明编制人员审察人员赞同人员编制日期审察日期赞同日期流程名称行为实行环节培训管理整体流程培训管理整体编码DX-11-020受控状态受控流程履行中心部门行政人力资源控制部门总经办部各有关部门行政人力资源部总经理办公会议总经理否拟订企业整体培训目标审议提出培训需求培训需求调研是管理行为有关说明编制人员编制日期否否拟订整体培训计划评审赞同是是教课研究设计实行培训培训成效评估否总结确认是存档审察人员赞同人员审察日期赞同日期流程名称行为实行环节岗前培训流程岗前培训编码DX-11-021受控状态受控流程履行中心部门行政人力资源控制部门总经办部行政人力资源部行政人力资源部受训部门受训职工经理否否提出新职工岗前培训需审是审求核核制定岗前培训方案否是否审察是管理行为提出确立培训方案建议是培训教材教具师资场所落实培训考试实行培训否成效评估审察是上岗修正方案再培训有关说明编制人员审察人员赞同人员编制日期审察日期赞同日期流程职工离职审批名称流程行为实行环节离职职工提早 30天提出申请再申请或申述或仲裁管理行为否能否接受是结束办理离职手续职工离职交接流程有关说明编制人员编制日期职工离职审批流程编码DX-11-022受控状态受控履行中心部门行政人力资源控制部门总经办部部门负责人行政人力资部分管主管总经理审赞同不不离职原由批检查同同意意不同意正常超越权限审判审批批断非正常同同意意做思想工作消除问题审察人员赞同人员审察日期赞同日期职工解雇审批流程流程职工解雇审批编码DX-11-023受控状态受控名称流程履行中心部门行政人力资源控制部门总经办部行为实行各用人部门分管主管行政人力资源部总经办总经理环节否是提出辞审原因调查退报告批否管理赞同解雇员工离行为职交接流程否否超越权限审审审核批批是是是决策内部调动职工工作调换流程有关说明编制人员审察人员赞同人员编制日期审察日期赞同日期流程名称行为实行环节管理行为有关说明职工离职交接流程离职人员职工辞职审批填写工作交接单实施工作交接职工离职交接流程编码DX-11-024受控状态受控履行中心部门各职能部门控制部门总经办部门负责人行政人力资源总经理财务部部否否是超越权限是审审审核核批是否审阅部门与员清退办公用工签署离具等,结算职协议薪资奖金是能否招聘增补流程否结束编制人员编制日期审察人员赞同人员审察日期赞同日期。
岗位设置管理流程
人员编制管理流程
增加编制申请流程
用人申请流程
公司内部招聘流程
公司外部招聘流程
·
新员工入职流程
劳动合同管理流程
新员工试用期满转正流程
职务任命流程
·
考勤管理流程
员工加班申请流程
员工请假管理流程
员工出差管理流程
绩效管理工作流程
员工绩效考核流程
薪酬方案审批流程
工资发放流程
员工奖励(处罚)流程
培训管理总体流程
岗前培训流程
员工辞职审批流程
员工辞退审批流程
员工离职交接流程。
办公设备购买管理工作流程
办公设备管理工作流程图
员工出差审批管理工作流程
员工出差管理工作流程图
会前准备工作管理流程图
会议管理工作流程
会议组织工作流程
技术资料保密管理工作流程图
参观接待管理工作流程图
客户接待管理工作流程图
客户就餐招待管理工作流程
提案管理工作流程
办公室发文管理工作流程图
办公室收文管理工作流程图
档案管理工作流程图
档案归档与维护管理工作流程图
档案借阅与归还管理工作流程
值班管理工作流程图
人员出入管理工作流程图
消防管理工作流程图
治安保卫管理工作流程图
宿舍管理工作流程图
餐厅原材料管理工作流程图
宿舍管理工作流程图
车辆维修管理
车辆肇事处理工作流程图
环卫绿化管理工作流程图
辞退管理工作流程图
劳动合同管理工作流程图
招聘计划制定管理工作流程图。
人事行政工作流程(暂行版)
第一部分:行政工作流程
一、行政前台每日工作流程
1. 9:00—9:05,检查公司环境,开灯、开窗、拍照记录不符合规的工位并将照片发送到公司员工群公开;
2. 9:05—9:20整理吧台、补充抽纸、清洗茶具并烧水泡茶、音响播放音乐;
3. 9:20,检查公司环境,卫生间点檀香,补充卫生间卷纸;检查总经理
办公室、VIP清洁并整理,注意检查VIP室的纯净水及纸巾余量,及时补充备用;
4. 9:40,跟市场部总监确认是否召开早会,根据需要布置会场,准备红毯、检测投影仪、测试麦克和音响等。
如遇重要会议,提前安排好摄像人员,
做好会议记录;
5. 9:55,播放集合音乐,开早会;
6. 早会结束,清理会场,并将相关物资归还原位;
7. 10:30—12:30,14:00—18:00处理日常行政事务。
如来访接待、快
递收发、文件打印、办公用品发放、协助人事部拨打招聘等。
(1)接待流程:
①客户接待:起身问好,询问来访原因或者造访对象,根据情况引领客户至VIP室或者总经理办公室,通知相关人员进行接待。
②应聘接待:起身问好,询问来访原因后请求职者签到→填写应聘登记表→安排面试(若求职者等待时间较长,需为求职者准备茶水)→面试结束后,确认面试结果→面试结果通知。
③其他访客(推销、物业)接待:起身问好,上班时间若有推销人员上门推销,应婉转拒绝,告知上班时间在公司推销会影响他人工作,如有员工需
要他们的服务,应告知相关部门人员直接与其对接。
物业管理人员上门通知或
者做其他事情,应告知相关工作人员与其接洽。
(2)快递收发流程:快递由行政前台统一代收并存放在前台,收件后行政前台在QQ群通知收件人下班后到前台取件;公司部寄发快递,通知快递员揽件,并开具发票予以报账。
(3)办公用品领用流程
领用申请→领用登记→发放办公用品;
二、行政前台月度工作流程
1. 每月1号(遇节假日顺延)提醒财务部给办公用品商打款;
2. 每月1-3号(遇节假日顺延)下载考勤记录→整理考勤凭证→制作考勤汇总表→部门主管复核考勤→员工签字确认考勤(离职员工由经理签字确认)→提交考勤到财务部→考勤归档;
请假流程:员工本人提出请假请求→填写请假单→请制度要求领导审批同意→提交请假条至行政前台处备查→作考勤及薪资核算依据→存档;
3. 每月10号左右检查办公用品库存,根据需要制作请购计划,按《请购单》设计流程审批,通过审批后方可采购。
其他物品采购同办公用品采购流程。
注:报销流程,采购完成后提交“费用报销单”,并附上购物发票(收据)和通过审批的《请购单》到财务部报销。
4. 每月29-30号进行固定资产盘点,更新“固定资产统计表”,并提交至财务部。
第二部分:人事工作流程
一、招聘流程
(一)网络招聘
1. 发布招聘信息;
2. 筛选收到的简历(人员需求量较大时,需在人才上搜索符合招聘条件的简历);
3. 拨打面试邀约并发送邀约短信;
4. 面试结果确认并通知应聘者面试结果,告知面试合格者参加培训或者试岗,并告知其需要准备的资料。
(二)现场招聘
1. 现场招聘前一天,确认招聘会场、准备招聘所需资料:招聘简章、应聘简历表、复试通知单等;
2. 招聘当天8:50之前到会场签到、确认展位;
3. 9:00—12:00之间,宣传、引导、初试、发放复试通知单、告知
应聘者注意复试时间,请勿迟到;
4. 12:00--13:00,返回公司;
5. 13:00--14:00 ,致电复试人员,温馨提示复试时间,确认是否参加复试;
6. 14:00—17:00,面试接待、引导;
7. 17:00—18:00 ,确认面试结果,并通知应聘者。
二、培训/试岗流程
(一)培训流程
1. 市场部统一培训流程(同一批入职人数达5人及以上启动该流程)
第一天上午:行业知识+成功案例培训
第一天下午:专业知识培训
第二天上午:营销模式培训
第二天下午:薪酬制度培训+行政制度培训+培训考试
①考试未通过,不予办理入职;
②考试通过,按入职流程办理入职;
2. 同一批入职人数少于5人时,在员工入职一周,由人事部组织行政制度培训;
(二)试岗流程(入职人数少于5人时,安排到相应部门试岗)
前台报到→介绍公司环境→安排到任职部门试岗(试岗时间为3个工作日)
①试岗未通过,不予办理入职;
②试岗通过,按入职流程办理入职;
三、入职流程
1. 通知企业拟聘人员入职时间;
2. 入职材料:
①《员工信息登记表》1份;
②复印件1份(正反两面);
③毕业证、职称(含职业书)复印件1份;
④本人建行卡(复印件);
⑤一寸照片2;
⑥有其他企业工作经验者需提供前一单位解除劳动合同证明书
3. 登记指纹;
4. 建立员工电子档案,更新《员工花名册》和《员工通讯录》;
5. 员工入职一周后(一月)与员工签订试用期劳动合同、自律公约和员工承诺信,建立员工人事档案。
四、转正流程
(一)提前转正流程:
用人部门提出提前转正申请→人事专员将《转正申请表》交与员工→试用员工填写“试用期工作总结及转正意向”→按《转正申请表》设计程序由各级领导逐级考核→考核;
1. 考核未通过,继续试用;
2. 考核通过:《转正申请表》复印一份,交与财务部作为薪资核算依据,《转正申请表》原件存入个人档案并更新《员工花名册》信息。
(二)到期转正流程:
员工试用期满前十个工作日,人事专员将《转正申请表》交与员工→试用员工填写“试用期工作总结及转正意向”→按《转正申请表》设计程序由各级领导逐级考核→考核;
1. 考核未通过:
①延迟转正,继续试用,将《转正申请表》存入个人档案;
②辞退:与员工沟通,按照劳动合同相关条例和《员工手册》相关制度办理相应手续,并将《转正申请表》存入个人档案,更新《员工花名册》信息;
2. 考核通过:《转正申请表》复印一份,交与财务部作为薪资核算依据,将《转正申请表》原件存入个人档案并更新《员工花名册》信息。
(三)延迟转正流程:
人事专员于延迟转正期到期前十个工作日,将《转正申请表》交与员工→试用员工填写“试用期工作总结及转正意向”→按《转正申请表》设计程序由各级领导逐级考核。
1. 考核未通过:辞退。
与员工沟通,按照试用期劳动合同相关条例和《员工手册》相关制度办理相应手续,将《转正申请表》存入个人档案,更新《员工花名册》信息;
2. 考核通过:《转正申请表》复印一份,交与财务部作为薪资核算依据,将《转正申请表》原件存入个人档案,更新《员工花名册》信息。
五、调动流程
(一)员工升职变动工作流程:
公司举办竞聘会,提前10个工作日通知参选员工准备竞聘演讲,
各级领导参加竞聘考评,做出考评结果,发布任命文件,相关资料存档,更新《员工花名册》信息;
(二)员工降职工作流程:
任职部门或人事部提出某员工违反公司劳动纪律、规章制度→调
查取证→提请相关领导讨论,作出处理决定→报请总经理批示→与员工本人沟
通→公司通报→开具调令→相关资料存档,更新《员工花名册》信息;
(三)员工平调工作流程:
有关部门提出人员需求及公司意向人员(也可由人事部部提出建议)→与当事人及意向人员部门负责人、分管领导沟通,提出调配安排,做好思想
工作→开具调令→相关资料存档,更新《员工花名册》信息;
六、离职流程
员工提交《辞职申请表》→按《辞职申请表》设计程序完成工作交接→提交《工作交接表》→下载并保存该员工当月考勤记录,删除其指纹信息→更
新《员工花名册》,相关资料存档。
七、劳动合同续签流程
人事专员在员工劳动合同期满前5日将《续签通知书》送达员工→劳
动合同续签→存档,更新《员工花名册》,相关资料存档。
八、日常人事工作流程
(一)每日人事工作流程
1. 9:00-9:33,刷新在用招聘招聘岗位;
2. 9:30-9:55,准备早会;
3. 10:30-11:00,新员工入职办理,更新《员工花
名册》和《员工通讯录》,并将更新后的《员工花名册》及《员工通讯录》发
送至分管领导;
4. 11:00-12:30,筛选应聘简历→拨打面试邀约→
发送面试邀约短信;
5. 14:00-17:00,刷新在用招聘招聘岗位、发送面试邀约和完成其他日常事务性工作:如员工离职办理,劳动合同签订,建立和
管理员工纸质档案,领导交代的临时性事务,以及协助行政处理一些日常工作;
6. 17:00-18:00,确认面试结果并通知求职者→统
计招聘
(二)每月人事工作流程
1. 每月第一个工作日上午:协助市场部召开月度表彰大会暨
月度动员大会;下午:制定月度招聘计划。
2.每月5号左右统计当月生日员工数量,并为员工准备生日小
礼物一份(价值30元左右)。
3. 月末:
①准备次月表彰大会需要的奖杯、奖状、奖品等物资;
②统计当月招聘数据;
③发送最新的《员工花名册》和《员工通讯录》至财务部
和行政前台处。
经理签字:
日期:。