建设工程规划许可证的办理流程图
- 格式:doc
- 大小:29.00 KB
- 文档页数:4
目录一、住建局建设项目手续办理流程图 (1)二、建设项目选址 (2)三、用地规划许可证 (4)四、建设工程规划许可证 (5)五、需要招标的建设项目进行招标 (6)六、建设工程质量监督注册登记 (8)七、建筑工程施工许可证 (9)八、放线开工建设 (11)九、竣工规划条件核实 (12)十、竣工验收备案 (13)十一、房屋所有权登记 (15)附录:建设项目收费标准及依据 (17)一、住建局建设项目手续办理流程图建设项目选址用地规划许可证建设工程规划许可证需要招标的进行招标建设工程质量监督注册登记建筑工程施工许可证放线开工建设竣工规划条件核实竣工验收备案房屋所有权登记二、建设项目选址(一)需要材料:⑴申请;⑵在1:10000或1:5000地形图上标出项目拟建位置;⑶填写选址意见书(一式三份);⑷国土部门出具符合规划的意见。
(二)办理流程:⑴申请人递交申请;⑵规划窗口初审;⑶现场踏勘;⑷城建专题会议初审会;⑸区城建专题会议;⑹窗口办理选址意见书。
三、用地规划许可证(一)需要材料:A、划拨用地项目:⑴用地预审意见;⑵立项审批或备案登记;⑶环保局审查意见;⑷1:500或1:1000地形图电子文件;⑸用地红线图及电子文件;⑹其他材料(如建设项目涉及林业、消防、水利、安全、交通、文物保护等部门的须提供各相关主管部门的审核意见)。
B、招拍挂出让用地项目:国土部门发出《关于办理规划设计条件的函》后,住建局出具用地规划设计条件,土地履行招拍挂出让程序后,建设单位准备材料:⑴土地成交确认书和土地出让合同(验原件留复印件);⑵立项审批或备案登记;⑶环保局审查意见;⑷1:500或1:1000地形图电子文件;⑸用地红线图及电子文件;⑹其他材料(如建设项目涉及林业、消防、水利、安全、交通、文物保护等部门的须提供各相关主管部门的审核意见)。
(二)办理流程:⑴申请人递交申请;⑵规划窗口审查;⑶办理建设用地规划许可证。
四、建设工程规划许可证(一)需要材料:⑴土地证、土地出让合同(验原件留复印件);⑵经批准的规划图、经评审的建筑设计图A4彩图(报审的单体设计方案不少于3套设计方案,建筑规模超过10000平方米的设计方案应实行招标并报模型)及相应的电子文件;⑶经审查的施工图1套加电子文件;⑷规划批前公示照片;⑸其它与项目有关的资料。
《建设工程规划许可证》(建筑类)办事指南一、设立依据《中华人民共和国城乡规划法》第四十条。
《中华人民共和国城乡规划条例》第四十条。
二、申请前提(一)已取得土地使用权属证明文件;(二)已取得《建设用地规划许可证》;(三)已通过建设工程设计方案审查;(四)已完成施工图设计。
三、申办对象法人及其组织。
四、申请材料(一)申请材料形式标准1、复印件用A4纸复印,加盖建设单位公章,并提供原件核对。
2、申办材料中要求的所有电子文件须存储在同一张电子光盘中。
照片应使用JPG格式,其他设计图纸应使用CAD格式,文字说明应使用DOC格式。
电子文件的文件名应使用中文名称。
(二)申请材料目录(三)申请材料注意事项1、仅变更用地单位的,仅需提交上述第1、3、4、6、8、9、10项。
五、审查内容(一)复核申请对象的送审资料是否完备、准确。
(二)核对申报材料中的用地单位、项目名称等是否一致。
(三)、查核项目用地现状照片、视频和《建设项目现场踏勘情况记录表》。
了解项目现场是否存在“未批先建”情况;了解项目现场是否存在应拆未拆建筑;了解项目用地内部及周边的现状和近期建设情况,尤其是与水库、河流、高压走廊、铁路、轨道交通、加油加气站、变电站、污水处理厂、垃圾站、危险品项目等公建和市政设施用地是否留有足够的防护距离。
(四)核对项目的计容建筑面积和总建筑面积是否满足《建设用地规划许可证》的要求,并与建设工程设计方案基本一致。
(五)核对项目应缴纳的城市基础设置配套费和房地产项目价格调节基金。
(六)核对本期报建建筑物总平面定位蓝图中,建筑物的定位是否与建设工程设计方案基本一致。
六、审批流程根据《关于印发〈东莞市推开简政强镇事权改革实施方案〉的通知》(东委办发〔2010〕12号)的规定,综合考虑项目的投资主体、性质、区位、规模等因素,实行分级审批制度。
具体分为一类项目由市城乡规划局审批,二类项目由中心镇政府审批(不属于中心镇的镇二类项目由市城乡规划局审批)。
一、建设工程规划许可证(一)、工作内容:建设工程规划许可证是城市规划行政主管部门依法核发的,确认有关建设工程符合城市规划要求的法律凭证。
建设工程规划许可证是有关建设工程符合城市规划要求的法律凭证,是建设单位建设工程的法律凭证,是建设活动中接受监督检查时的法定依据。
(二)、主管单位:小项目到各个区的规划分局,大型项目、高层建筑到市规划局办理。
(三)、时间:7个工作日(四)、前置条件:1、具备建设用地规划许可证或国有土地使用权出让合同或土地使用证。
完成文勘、指标复核、日照分析、抗震、人防审批、节能审查、园林审批等各项审批意见。
(五)、所需资料:1、建设工程规划许可申请书;2、建设单位或个人身份证明材料(委托办理的,还应当提交授权委托书和受委托人的身份证明);3、使用土地的有关权属证明文件;4、建设项目批准、核准、备案文件或者相关文件;5、建设工程设计方案;6、建设、水利、环保、人防、园林、国安、抗震、文物等相关主管部门依法出具的审查意见;7、需编制修建性详细规划的建设工程,还应当提交修建性详细规划;对区域交通影响较大的建设工程还应当提交交通影响评价报告;对区域市政管网影响较大的建设工程还应当提交市政管网承载能力评价报告。
(六)、办理流程:(七)、注意事项:1、《建设工程规划许可证》(建筑类)公开公示采取政府网站和建设项目现场方式进行,应在建设项目现场醒目位置竖立公示牌,批前公示期不少于10个工作日。
(八)、工作成果:取得建设工程规划许可证(九)、依据:《河南省实施<中华人民共和国城乡规划法>办法》第四十三条、《郑州市城乡规划管理条例》第四十二条。
(十)、收费标准:依据郑政文﹝2007﹞170号文,缴纳城市配套费。
二、文物勘探(一)、工作内容:文物钻探是调查了解地下文物遗迹分布情况的重要手段,是进行考古发掘的依据,也是保证地下文物免受建设性破坏和保证建筑工程质量的一项重要措施。
因此,必须依法在基本建设和生产建设工程范围内进行文物调查及钻(勘)探工作。
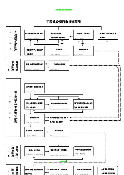
工程建设项目审批流程图 工程建设项目审批流程操作说明 工程建设项目审批流程分为立项规划选址、建设用地审批、项目建设招标(审批)、监理施工招标和报建施工五个阶段.每个阶段,都由牵头部门先受理审批业务,并指引申办人到其他联办部门办理相关的审批手续。
办理结果最后由牵头部门集中答复申办人(立项规划选址阶段除外).申办人办理报建的具体操作步骤如下: 第一阶段:立项规划选址阶段 一、到规划局(牵头部门)窗口办理《建设项目选址意见书》的审批: (一)提交办理《建设项目选址意见书》所需材料,并领取签收《审批跟踪监督卡》(以下简称《监督卡》)。
(二)凭《监督卡》分别到发改局、环保局、消防局、国土局等联办部门窗口提交相关审批材料,并在《监督卡》上签名确认. (三)将全部联办部门窗口已签收确认的《监督卡》送回规划局窗口。
(四)到规划局窗口领取和签收《建设项目选址意见书》以及《监督卡》等有关材料,办理承诺时限为7个工作日。
二、到发改局(牵头部门)窗口办理建设项目立项审批(项目不需要办理《建设项目选址意见书》的,由发改局牵头). (一)以登记备案方式立项的项目 1.提交办理《企业投资项目登记备案》所需材料,并领取《监督卡》。
2.到发改局窗口领取审批结果,并在《监督卡》上签名确认,办理承诺时限为5个工作日。
(二以其他方式立项的项目 1提交办理《项目建议书》或《可行性研究报告》所需材料,并领取签收《监督卡》. 凭《监督卡》分别到环保、国土、规划等联办部门窗口提交相关审批资料,并在《监督卡》上签名确认。
3.将全部联办部门窗口已经签收确认的《监督卡》送回发改局窗口。
立项规划选址阶段 ︵7个工作日︶ 监理、施工 招标阶段︵ 11 个 工 作 日 ︶ 核发《建设项目选址意见书》 牵头单位:规划局 时间:7个工作日 项目建议书审批 可行性研究报告审批 项目申请报告 单位:发改局(经贸局) 时间:6个工作日 有关部门审批意见(水利、地震等) 时间:5个工作日出具初审意见,20个工作日内完成(可并联) 消防预审(甲、乙类生产仓储项目) 单位:消防局 时间:5个工作日 环保部门立项意见 单位:环保局 时间:5个工作日 用地预审 单位:国土局 时间:5个工作日 环评报告审批 单位:环保局 时间:进入初步设计审批阶段之前核发《建设用地规划许可证》 牵头单位:规划局 时间:5个工作日 出具规划、建筑设计条件 单位:规划局 时间:6个工作日 项目规划设计审批(招标)阶段 ︵19个工作日 ︶ 设计方案招标与/或规划 设计方案审批 牵头单位:规划局与/或发改(经贸)局 时间:5个工作日 建设工程交易中心招投标 单位:建设工程交易中心 时间:3个工作日 部门审批意见(消防、人防、水利、管线、海事、航道、地震等) 单位:规划条件要求的部门 时间:4工作日 监理、施工招标 牵头单位:发改(经贸)局 时间:8个工作日(同时进行) 部门审批意见(消防、环保、水利、人防、气象、国土、管线等) 单位:有关单位 时间:4个工作日 初步设计审批 牵头单位:规划局 时间:5个工作日 核发建设工程规划许可证 单位:规划局 时间:3工作日 办理用地审批手续 单位:国土局 时间:16个工作日内完成(可并联) 建设用地 审批阶段︵5个工作日︶ 建设工程交易中心招投标 单位:建设工程交易中心 时间:3个工作日 审核中介机构编制的预算 单位:财政局 时间:发招标文件前完成 (可并联) 报建施工阶段 ︵ 3 个 工 作日︶ 建设施工报建、核发《建设项目 施工许可证》 牵头单位:建设(房管)局 时间:3个工作日 施工图审查 单位:审图中心与气象局、人防 时间:进入报建施工阶段之前 房屋白蚁防治合同备案 单位:建设(房管)局 时间:2个工作日 7 说明: 1、整个审批流程为45个工作日。
部门行政审批流程图1、城市规划编制单位资质认定程图
2、城市规划区内建设项目选址审批流程图
3、建设用地规划许可审批流程图
4、临时建设用地规划许可审批流程
5、规划设计条件许可
6、开发资源、挖取砂石、土方、回填坑塘、河渠、设置垃圾场批准
7、建设工程规划许可流程图(根据情况可划分为方案及施工许可两阶段,每阶段程序相同)
8、临时建设工程规划许可
9、建设工程改变使用性质批准流程图
10、市政建设工程规划许可流程图
11、临时市政建设工程规划许可(包括时限延长)审批
12、区管辖的县级人民政府所在地镇的总体规划审批及乡村规划审批
13、建设工程规划验线和竣工验收。
工程建设项目审批流程图The XXX:1.Site n phase: This phase includes 7 steps。
such as project proposal。
feasibility study report approval。
XXX。
and other XXX.2.Design phase: This phase includes 5 steps。
XXX approval。
land use approval。
and XXX.3.n phase: This phase includes 11 steps。
XXX plans。
n project trading center bidding。
and XXX.During the site n phase。
the lead unit is the planning bureau。
and the project n report unit is the environmental XXX 5 working days。
and the approval should be completed within 20 working days。
The lead unit during the design phase is the planning bureau。
and the XXX 5 working days。
The land use planning permitshould be issued within 5 working days。
and the planning and design ns should be provided within 6 working days.During the n phase。
the lead unit is the n (housing management) bureau。
and the quality and safety n。
建设工程规划许可证办理流程图
建设工程规划许可证办理需提申请人提出申请交的材料:
1、批准建设项目的有未通过审批
关文件(立项文件、有关抄审查申请材料决定是告单及协调会纪要等); 否受
理(3个工作日)
2、土地权属证明(土
地出让合同、建设用地许可
规划科经办人员初步证、建设用地批准书等); 审查,组织现场查勘,
3、经规划科批准的总提出初审意见(5个工作日) 平面规划图;
4、经规划科批准的建
筑设计方案图;
规划科负责人审核,提5、经批准的绿化设计出审核意见(2个工作方案; 日)
6、建筑施工图(建施
部分);
以上材料均一式三份。
报领导审定,作出审批意见(2个工作日)
送达许可决定(1个
工作日)
向社会公开。
新划拨用地办理《建设项目用地规划许可证》程序(用地科、规划科)
word完美格式
word完美格式
word完美格式
word完美格式
办理建设工程规划许可证
word完美格式
(5个工作日,重大
项目12个工作日)
word完美格式
word完美格式
第二阶段
核发建设工程临时
规划许可证(4个
word完美格式
工作日)
利、供电、海洋、港监等)
word完美格式
word完美格式
word 完美格式
章、放线单位北海市城市信息中心盖章);
word完美格式
word 完美格式
市政项目规划报建手续第一阶段
(红线图)
word完美格式
word 完美格式
第二阶段 办理建设工程规划许可证
word完美格式
第三阶段:
word完美格式。
工程建设项目审批流程图工程建设项目审批流程操作说明工程建设项目审批流程分为立项规划选址、建设用地审批、项目建设招标(审批)、监理施工招标和报建施工五个阶段。
每个阶段,都由牵头部门先受理审批业务,并指引申办人到其他联办部门办理相关的审批手续。
办理结果最后由牵头部门集中答复申办人(立项规划选址阶段除外)。
申办人办理报建的具体操作步骤如下:第一阶段:立项规划选址阶段一、到规划局(牵头部门)窗口办理《建设项目选址意见书》的审批: (一)提交办理《建设项目选址意见书》所需材料,并领取签收《审批跟踪监督卡》(以下简称《监督卡》)。
(二)凭《监督卡》分别到发改局、环保局、消防局、国土局等联办部门窗口提交相关审批材料,并在《监督卡》上签名确认。
(三)将全部联办部门窗口已签收确认的《监督卡》送回规划局窗口。
(四)到规划局窗口领取和签收《建设项目选址意见书》以及《监督卡》等有关材料,办理承诺时限为7个工作日。
二、到发改局(牵头部门)窗口办理建设项目立项审批(项目不需要办理《建设项目选址意见书》的,由发改局牵头)。
(一)以登记备案方式立项的项目1.提交办理《企业投资项目登记备案》所需材料,并领取《监督卡》。
2.到发改局窗口领取审批结果,并在《监督卡》上签名确认,办理承诺时限为5个工作日。
(二)以其他方式立项的项目 1.提交办理《项目建议书》或《可行性研究报告》所需材料,并领取签收《监督卡》。
说明:1、整个审批流程为45个工作日。
2.凭《监督卡》分别到环保、国土、规划等联办部门窗口提交相关审批资料,并在《监督卡》上签名确认。
3.将全部联办部门窗口已经签收确认的《监督卡》送回发改局窗口。
4.到发改窗口领取和签收立项意见,办理承诺时限为6个工作日。
第二阶段:建设用地审批阶段到规划局窗口(牵头部门)办理用地审批:(一)提交办理《建设用地规划许可证》的所需材料,并领取签收《监督卡》。
(二)到规划局窗口领取审批结果,在《监督卡》上签名确认,办理承诺时限为5个工作日。
房地产五证办理五证先后顺序是:1.建设用地规划许可证(规划局审批下发)——2.国有土地使用权证(由土地局审批下发)——3.建设工程规划许可证(由房管局规划处下发)——4.建筑工程施工许可证(由建委审批下发)——5.商品房预售许可证(由市房管局预售科下发)详细步骤介绍:一、建设用地规划许可证和国有土地使用证1.选址意见书(审查用地性质、围、面积是否符合城市整体规划)程序:(1)企业提供申请报告、规划申请表、总平面图、土地转让协议或国有土地使用证、企业营业执照和资质证书,报规划局用地处(2)用地处转总工室审查(3)报局业务会批准(4)领取选址意见书2.规划院实地测量,并处定位图,收取测量费3.建设用地规划许可证(规划局审批下发)(1)企业持定位图、选址意见书、用地申请到用地处审查(2)主管局长、主管局市长批准(3)打交费单,领取用地规划许可证4.国有土地使用证(由土地局审批下发)(1)建设单位持用地申请、航测图、平面布置图、土地转让协议、建设用地规划许可证、土地转让双方的有关证件、委托书到土地局土地利用处(2)土地评估(3)土地局测量对现场测量,出定界图(4)缴纳土地出让金和契税,领取国有土地使用证二、建设工程规划许可证1.市消防支队盖章(1)持消防审批表、全套施工图到市消防支队建审科进行审批(2)核发消防设计审核意见书、建设工程规划许可证申请表盖章2.人防证明市人防办六十个工作日办理自建手续3.房地产开发建设规模建设单位持单位申请、总平面图、资金证明到市房管局规划发展处办理4.建设工程规划许可证(由房管局规划处下发)(1)建设单位持申请报告、建设工程规划申请表(消防盖章)、土地征、用地规划许可证、总平面图、全套施工图、四套航测图到市规划局建管处(2)以上资料由总工室、局业务会审定后报处长、局长签字(3)打交费单交费,领取建设规划许可证、放验线通知单5.放线报告持放线通知和施工图、红线图到规划院测量队放线。
建设工程规划许可证的办理
一、依据
《中华人民共和国城市规划法》第三十二条规定:“在城市规划区内新建、扩建和改建建筑物、构筑物、道路、管线和其他工程设施,必须持有关批准文件向城市规划行政主管部门提出申请,由城市规划行政主管部门根据城市规划提出的规划设计要求,核发建设工程规划许可证,建设单位或者个人在取得建设工程规划许可证件和其他有关批准文件后,方可申请办理开工手续。
”
二、受理范围
1、新建、改建、扩建的建、构筑工程;
2、新建、改建、扩建城市道路、桥梁、管线、隧道、河道等工程;
3、建筑外装修、改造工程;
4、户外广告牌匾设置;
5、沿城市道路或者在广场、公共用地设置的城市雕塑工程。
三、办理程序及应提交的文件资料
(一)、申请建设工程设计要求(限在原址建设且不改变使用性质项目,或建筑外装修、改造工程、户外广告牌匾设置、雕塑工程、管线工程)。
应提交的文件资料
1、填报建设工程设计要求申请表;
2、建设用地规划许可证;
3、建设用地的土地权属证件;
4、原建设工程规划许可证和房屋产权证明(外装修、改造工程、原址建设工程及户外广告占用媒体工程);
5、占用构建筑物进行的户外广告设置项目,交验与构建筑物产权单word格式编辑
位协议和与广告发布单位的发布意向协议;
6、外装修工程交验原建设工程的平、立、剖面图、竣工图;
7、计划部门的当年投资计划。
(二)、送审建筑设计方案或初步设计(含室外管线综合图及室外各专业管线设计图)。
应提交的材料
1、填报《建设工程设计方案申报表》
2、《建设工程设计要求复函通知单》原件或建设用地规划许可证和关于核发建设用地规划许可证的通知原件、土地权属证件原件
3、计划部门的当年投资计划
4、设计方案或初步设计叁套及CAD DWG格式电子数据壹套;
(三)、申请办理建设工程规划许可证。
应提交的资料
1、填报《建设工程规划许可证申请表》
2、《建设工程设计方案审核意见单》
3、工程施工图叁套及电子文件壹套
4、《建设工程规划申请附件》
四、建设工程设计要求办理
(一)、办理程序及期限
建设单位送齐应提交的文件资料,经窗口受理申请并发给建设单位立案回执后,将在法定工作日十二天内审核完毕,审核同意后发给建设单位《建设工程设计要求复函通知单》。
审核不同意的,将发放注明详细原因的退件通知书一份。
(二)、建设单位在取得设计要求后,应注意下列事项:
应按要求委托具有相应设计资质的单位进行设计后报送方案,送审图纸应符合规范化要,须有设计单位图签、设计单位资格证书编号、设计人、
word格式编辑
校对人、审核人签名,及有关部门颁发的出图章。
五、送审建筑设计方案或初步设计办理
(一)、办理程序及期限
建设单位送齐应提交的文件资料,经窗口受理申请并发给建设单位立案回执后,将在法定工作日二十天内审批完毕(不含市政府、专家审查和方案公示时间),发给建设单位《建设工程设计方案审核意见通知单》。
1、建设单位根据审核意见,修改设计方案后再次填报《建设工程设计方案申报表(第二次送审)》,报窗口受理。
2、如无修改意见,同时发给《建设工程规划申请附件》。
(二)、建设单位在报审初步设计通过后,应注意下列事项:
建设单位可按《建设工程设计方案审核意见通知单》要求组织施工图设计,并凭《建设工程规划申请附件》报相关部门审查同意后,填报《建设工程规划许可证申报表》报窗口。
六、申请建设工程规划许可证办理
(一)、办理程序及期限
建设单位送齐应提交的文件资料,经窗口受理并发给建设单位立案回执后,将在法定工作日十五天内办理完毕,经审核同意的,发给建设单位下列文件:
1、《建设工程规划许可证》或临时证证件一套。
2、关于核发建设工程规划许可证通知一份。
3、《建设工程规划批后管理跟踪表》两份。
经审核不同意的,将发放注明详细原因的退件通知书一份。
(二)、建设单位在取得《建设工程规划许可证》后,应注意下列事项:
1、建设单位在取得建设工程规划许可证后六个月内,应向建设局申请办理开工手续,申请我局进行放线、验线后,方可开工建设。
届时未取
word格式编辑
得开工批准文件,又未申请延期的,建设工程规划许可证自行失效。
2、施工过程中,如图纸发生变更,须重新履行报批程序,经批准后方可实施。
3、《建设工程规划许可证》不作为办理房屋所有权证书的依据。
word格式编辑。