项目审批手续办理流程图
- 格式:doc
- 大小:36.50 KB
- 文档页数:1
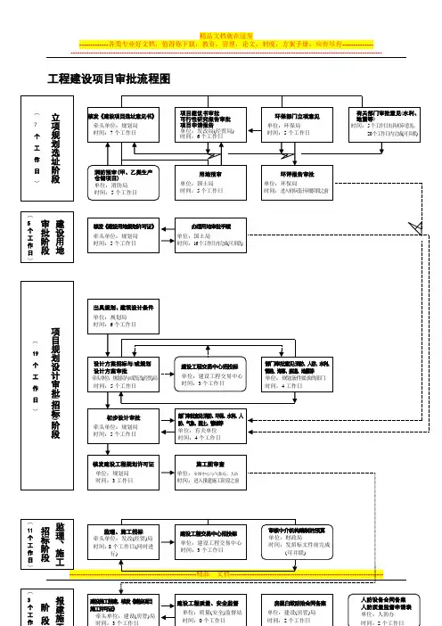
工程建设项目审批流程图工程建设项目审批流程操作说明工程建设项目审批流程分为立项规划选址、建设用地审批、项目建设招标(审批)、监理施工招标和报建施工五个阶段。
每个阶段,都由牵头部门先受理审批业务,并指引申办人到其他联办部门办理相关的审批手续。
办理结果最后由牵头部门集中答复申办人(立项规划选址阶段除外)。
申办人办理报建的具体操作步骤如下:第一阶段:立项规划选址阶段一、到规划局(牵头部门)窗口办理《建设项目选址意见书》的审批:(一)提交办理《建设项目选址意见书》所需材料,并领取签收《审批跟踪监督卡》(以下简称《监督卡》)。
(二)凭《监督卡》分别到发改局、环保局、消防局、国土局等联办部门窗口提交相关审批材料,并在《监督卡》上签名确认。
(三)将全部联办部门窗口已签收确认的《监督卡》送回规划局窗口。
(四)到规划局窗口领取和签收《建设项目选址意见书》以及《监督卡》等有关材料,办理承诺时限为7个工作日。
二、到发改局(牵头部门)窗口办理建设项目立项审批(项目不需要办理《建设项目选址意见书》的,由发改局牵头)。
(一)以登记备案方式立项的项目1.提交办理《企业投资项目登记备案》所需材料,并领取《监督卡》。
2.到发改局窗口领取审批结果,并在《监督卡》上签名确认,办理承诺时限为5个工作日。
(二)以其他方式立项的项目1.提交办理《项目建议书》或《可行性研究报告》所需材料,并领取签收《监督卡》。
2.凭《监督卡》分别到环保、国土、规划等联办部门窗口提交相关审批资料,并在《监督卡》上签名确认。
3.将全部联办部门窗口已经签收确认的《监督卡》送回发改局窗口。
4.到发改窗口领取和签收立项意见,办理承诺时限为6个工作日。
第二阶段:建设用地审批阶段到规划局窗口(牵头部门)办理用地审批:(一)提交办理《建设用地规划许可证》的所需材料,并领取签收《监督卡》。
(二)到规划局窗口领取审批结果,在《监督卡》上签名确认,办理承诺时限为5个工作日。
(三)凭《监督卡》到国土局窗口提交相关审批材料,并在《监督卡》上签名确认。
旗发改局审批制项目服务流程图出具的相关审批文件一、审批依据:《国务院关于投资体制改革决定》(国发〔2004〕20号)。
《国务院办公厅关于保留部分非行政许可审批项目的通知》(国办发〔2004〕62号)。
《国务院办公厅关于加强和规范新开工项目管理的通知》(国办发〔2007〕 64号)。
《中华人民共和国城乡规划法》(十届全国人大常委会第三十次会议通过)(2008年实施)。
《建设项目用地预审管理办法》(国土资源部令第27号)(2004年实施)。
《中华人民共和国环境保护法》(七届全国人大常委会第十一次会议通过)(1989年实施)。
《中华人民共和国招标投标法》(九届全国人大常委会第十一次会议通过)(2000年实施)。
《安徽省实施〈中华人民共和国招标投标法〉办法》。
不予批准 二、申报材料:(一)项目建议书阶段:项目所在地或行业主管部门、计划单列企业要求审批项目建议书的申请文件。
符合要求的项目建议书文本。
重大政府投资项目专家评估意见。
需要提供的其他材料。
(二)可行性研究报告阶段:项目所在地或行业主管部门、计划单列企业要求审批可行性研究报告的申请文件。
项目建议书批复文件。
具备相应资质的工程咨询单位编制的可行性研究报告文本。
规划部门出具的项目选址意见。
环保部门出具的项目环境影响评价批准文件或手续。
土地部门出具的项目用地的审查意见。
资金筹措渠道落实情况的证明文件。
项目建设其它外部条件(包括水、电、气、热等)落实意向。
需要提供的其他材料。
(三)初步设计阶段:项目所在市或省直行业主管部门、计划单列企业要求审批初步设计的申请文件。
可行研究报告的批复文件。
具备相应资质的设计单位编制的初步设计文本。
经批准的建设地址报告。
环保部门批准项目环申请办理工程规划许可(重点项目需通过市规划旗发改局企业核准制项目服务流程图一、划拨用地项目一、审批依据:《国务院关于投资体制改革决定》(国发〔2004〕20号)。
《安徽省人民政府转发国务院关于投资体制改革决定的通知》(皖政〔2004〕86号)。
工程建设项目审批流程图工程建设项目审批流程操作说明工程建设项目审批流程分为立项规划选址、建设用地审批、项目建设招标(审批)、监理施工招标和报建施工五个阶段。
每个阶段,都由牵头部门先受理审批业务,并指引申办人到其他联办部门办理相关的审批手续。
办理结果最后由牵头部门集中答复申办人(立项规划选址阶段除外)。
申办人办理报建的具体操作步骤如下:第一阶段:立项规划选址阶段一、到规划局(牵头部门)窗口办理《建设项目选址意见书》的审批: (一)提交办理《建设项目选址意见书》所需材料,并领取签收《审批跟踪监督卡》(以下简称《监督卡》)。
(二)凭《监督卡》分别到发改局、环保局、消防局、国土局等联办部门窗口提交相关审批材料,并在《监督卡》上签名确认。
(三)将全部联办部门窗口已签收确认的《监督卡》送回规划局窗口。
(四)到规划局窗口领取和签收《建设项目选址意见书》以及《监督卡》等有关材料,办理承诺时限为7个工作日。
二、到发改局(牵头部门)窗口办理建设项目立项审批(项目不需要办理《建设项目选址意见书》的,由发改局牵头)。
(一)以登记备案方式立项的项目1.提交办理《企业投资项目登记备案》所需材料,并领取《监督卡》。
说明:1、整个审批流程为45个工作日。
2、圆角矩形是可选过程;虚线是指审批可跨阶段完成。
3、以上流程属市、区审批权限项目,如报省审批项目,无时间承诺。
2.到发改局窗口领取审批结果,并在《监督卡》上签名确认,办理承诺时限为5个工作日。
(二)以其他方式立项的项目1.提交办理《项目建议书》或《可行性研究报告》所需材料,并领取签收《监督卡》。
2.凭《监督卡》分别到环保、国土、规划等联办部门窗口提交相关审批资料,并在《监督卡》上签名确认。
3.将全部联办部门窗口已经签收确认的《监督卡》送回发改局窗口。
4.到发改窗口领取和签收立项意见,办理承诺时限为6个工作日。
第二阶段:建设用地审批阶段到规划局窗口(牵头部门)办理用地审批:(一)提交办理《建设用地规划许可证》的所需材料,并领取签收《监督卡》。
社会投资类项目审批流程图(41个工作日)第一阶段-立项用地规划许可阶段6个工作日不动产登记区域评价:地震安全性评价、压覆重要矿产资源评估、地质灾害危险性评估、环境影响评价、节能评价、水资源论证等第一阶段可并联或并行办理其他事项建设项目压覆矿产资源审批海域使用权审批与航道有关的工程建设项目对航道通航条件影响评价审核勘查、开采矿藏和各项建设工程占用或者征收、征用林地审核工程建设使用草原审核第一、二阶段可并联或并行办理事项建设用地规划许可证核发占用农业灌溉水源、灌排工程设施审批洪水影响评价审批涉及国家安全事项的建设项目审批建设工程文物保护和考古许可宗教活动场所内改建或者新建建筑物审批危险化学品建设项目安全条件审查第二、三阶段可并联或并行办理事项应建防空地下室的新建民用建筑项目防空地下室防护设计审查(规划)应建防空地下室的新建民用建筑项目防空地下室防护设计审查(施工)第一、二、三阶段可并联或并行办理事项企业投资项目备案建设项目环境影响评价审批生产建设项目水土保持方案审批节能审查取水许可审批国有建设用地使用权批准第一、二、三、四阶段可并联或并行办理事项联合测绘注:地震灾害危险性评估、地质安全性评价、建设项目安全评价、建设工程消防设施及系统检测、雷电防护装置检测等请知悉评估和中介事项,建设单位可根据工程项目实际情况,在相应阶段自行办理。
第三阶段可并联或并行办理其他事项第四阶段可并联或并行办理其他事项雷电防护装置竣工验收第二阶段可并联或并行办理其他事项建设项目安全设施设计审查新建、改建、扩建建设工程避免危害气象探测环境审批江河、湖泊新建、改建或者扩大排污口审核市政设施建设类审批工程建设涉及城市绿地、树木审批因工程建设需要拆除、改动、迁移供水、排水与污水处理设施审核建设工程施工招标文件(最高投标限价)、文件澄清或修改备案拆除人民防空工程审批雷电防护装置设计审核建设相关部门通过多规合一业务协同平台提出建设条件,以及需要开展的评估评价事项要求第二阶段-工程建设许可阶段15个工作日第四阶段-竣工验收阶段8个工作日第三阶段-施工许可阶段11个工作日备案类项目第五阶段不动产登记阶段1个工作日确定建设条件、规划条件。
项目审批流程一、县政府组织项目会审并制发会审纪要二、(1)办理环评预审意见书(环保局)(2)办理选址意见书(建设局)(3)办理用地预审意见书(土地局)三、办理项目立项(发展计划局)四、办理总平批复、用地规划许可证(政府办、建设局)五、办理林地审批(若涉及到)(林业局)六、办理用地批准书(土地局)七、办理环保、消防、人防、气象等部门建审(有关部门)八、办理工程规划许可证(以下除有注明单位外均为建设局)九、工程报建十、工程招投标方案报备(执行招投标的项目)十一、受理工程质量监督十二、受理施工安全申报十三、办理施工许可证十四、工程竣工验收(包含规划、消防、环保、气象等)十五、报送城建档案十六、办理工程竣工验收备案十七、办理产权登记环评(环保局)一. 委托有资质单位编写K贞省、建设项目环境影响报告茨》2.灯也质灾吉危険性评估说明书》二. 县环保局发放C闽侯县环保局建设工程规划环保审査恿见茨》三. 工程竣工后进行环评验收K《建设项目竣工坏境保护強收申请报告及坏评审批总见(或申请茨.登记卡)\2、学校总平面图.施匸平面图.管线勒测资料(排水〉或给排水管综图(施工单位在图纸匕盖率证明按图纸施工).排气管线图(复印件1份〉3.污水接入市政污水管网纳入污水处理厂的证明材料(原件1份〉办理《建设项目选址总见书》K贞建设项目选址您见书》屮请茨原件1份.加盖申报单位公章及项H所在地乡.镇审核盖尊2、建设单位申请規划选址的报書原件(说明申报原因、基本怙况、建设规模.坏境保护和防火安全等要求.建设方案实施的初步设想尊)人型等特殊项目应提供相应资质的设汁单位总平面規划初步方案.原件1份:3、八有测绘资质单位测绘4 500或1: 1000地形图及相应的D盹格式电子图形文件光盘原件各[份同时在1: 500或1: 1000 地形图匕画出拟选址界线用的初步方案.并保存为电子数据盘(属木单位用地改变用地性质或扩征本单位周边上地的•应捉供本单位上地证属双方JS换上地的・应提供双方上地权属证明及协议廿、附图)•原件1份(注:拟选址界限用的初步方案需经所在地乡做确认盖章):4、须知先征得相关部门恿见的.应提交相关部门的恿见原件:5、县委.县政府的相关会议纪要及会议纪要明确爲塹提供的材料.笑卬件1份.注:以上复卬件均需注明“由原件复卬”并加盖建设单位公章。
青岛市工程建设项目审批流程图
青岛市工程建设项目审批流程图
青岛市工程建设项目审批流程图是一个复杂的过程,涉及到多个部门和环节。
为了更好地了解这个过程,我们绘制了以下的审批流程图。
青岛市工程建设项目审批流程图
审批流程图说明:
1、工程建设项目申报单位需先在工程建设项目审批系统(EPS系统)进行项目申报。
2、市行政审批局负责接收、核对、转办、送达审批结果。
3、审批过程中,涉及到的规划、土地、住建、消防、环保等相关部门需积极配合。
4、审批流程中涉及到的每个环节都有相应的审核标准和审核时间,具体审核标准和审核时间由相关责任部门确定。
5、审批流程图中的各个环节如有未达到审核标准的,将由相关责任部门提出退件、补正等处理意见。
6、审批流程图中各个环节的审核时间计算从接收申报材料开始,到最终审批结束。
7、审批流程图中各个环节的具体办理时间应当在法定办理期限内完成。
总结:
通过以上的审批流程图,我们可以清晰地了解青岛市工程建设项目审批的整个过程。
这个过程涉及到多个部门和环节,需要各部门的积极配合和严格审核。
在审批过程中,每个环节都有相应的审核标准和审核时间,以确保整个审批过程的公正、透明和高效。
工程建设项目审批服务流程图
社会投资类工程建设项目审批服务流程图
(一般项目审批时间控制在35个工作日以内、政府技术审查时间控制在40个工作日以内)
社会投资类工程建设项目审批服务流程图
(不带方案出让用地的产业区块范围内工业项目审批时间控制在27个工作日以内、政府技术审查时间控制在15个工作日以内)
社会投资类工程建设项目审批服务流程图
(中小型建设项目审批时间控制在23个工作日以内、政府技术审查时间控制在15个工作日以内)
社会投资类工程建设项目审批服务流程图
(带方案出让用地的产业区块范围内工业项目审批时间控制在21个工作日以内、政府技术审查时间控制在15个工作日以内)。
项目审批程序流程图政府投资项目审批顺序流程图城市树立项目核准流程图城市树立项目审批流程图城市树立项目备案流程图城市树立项目转报流程图〔种植业、林业、畜牧、陆地渔业、水利〕项目备案流程图农业、水利项目核准流程图农业、水利项目核准流程图交通类:公路、独立公路桥梁、机场扩建项目动力类:风电站、电网工程项目核准流程图〔省政府划分的中央政府投资主管部门核准权限属市级投资主管部门核准的项目〕交通类:铁路、公路、独立公路桥梁、水运、新建机场动力类:火电站、燃煤热电站、风电站转报流程图〔属省级以上投资主管部门核准的项目〕工业项目备案流程图商贸流通项目转报流程图应用外资项目核准流程图应用外资项目转报流程图社会事业项目央求下级补助资金转报流程图高技术项目央求下级补助资金转报流程图社会事业项目备案流程图高技术产业项目备案流程图社会事业项目备案流程图央求省以上政府直接投资或资本金注入的基本树立项目初步设计转报流程图央求市政府直接投资或资本金注入的基本树立项目初步设计审批流程图基本树立项目招标方案核准流程图政府投资项目审批顺序流程图---------→----------→| | || | || | ||--------→--------→------→| | | || | | || ||| | ||| | | || | | |-------→资金拨付| || || |城市树立项目核准流程图--------→--------→--------→| | | || | | || | | || | | ||| | | |注:企业不运用政府性资金投资树立的严重和限制类城市树立项目,实行核准管理方法,操持顺序参照本流程图。
城市树立项目审批流程图--------→--------→--------→|| | ||| | ||| | || | | ||| | | || | | |注:党政机关、事业单位、社聚集团不运用政府性资金投资树立的城市树立项目,实行审批管理方法,操持顺序参照本流程图。
无锡市新区工程项目审批实施流程图一、项目可行性研究阶段1.项目立项-项目申报-初步论证和评审-立项批复2.可行性研究报告编制-资料收集-技术论证-经济评价-编制报告3.可行性研究报告审核-专家评审-报告修改-审核批准二、项目初步设计阶段1.初步设计方案编制-方案设计-材料选择-建筑布局2.初步设计方案评审-设计方案评审-专家论证-修改完善方案3.初步设计方案审批-主管部门审批-审批意见反馈-批准方案三、项目施工图设计阶段1.施工图设计编制-结构设计-绘图和标注-技术规范应用2.施工图设计审查-主管部门审核-审查修改意见-审核通过3.施工图设计审批-审批机构审批-审批意见反馈-审批通过四、项目施工阶段1.施工单位选取-招投标-评审中标-签订合同2.建设用地规划许可-用地申请-相关手续办理-审批许可3.建设工程规划许可-工程规划申请-相关手续办理-审批许可4.建设工程施工许可-施工单位申请-相关手续办理-审批许可五、项目竣工验收阶段1.项目竣工验收备案-施工单位申请验收-相关手续办理-验收备案2.技术质量验收-工程质量检测-技术验收-合格证明3.安全验收-安全检查-安全验收-合格证明4.决算审批-决算编制-财务审查-决算批复5.竣工备案-竣工备案申请-相关手续办理-竣工备案以上是无锡市新区工程项目审批实施流程的大致内容,不同项目可能存在细微差别,请根据具体情况进行调整和补充。