省级公安交通管理机关高速公路行政处罚流程图
- 格式:doc
- 大小:41.50 KB
- 文档页数:2
交通综合行政执法行政处罚流程图交通综合行政执法行政处罚流程图一.立案阶段1. 当事人或举报人向交通综合行政执法部门提交案件材料;2. 交通综合行政执法部门受理案件,并进行案件登记;3. 交通综合行政执法部门组织人员进行初步调查,确定是否需要立案。
二.调查阶段1. 交通综合行政执法部门收集证据材料,包括事故现场勘查记录、录像等;2. 交通综合行政执法部门对当事人进行讯问,了解案件情况;3. 交通综合行政执法部门可以通知第三方证人到场作证;4. 交通综合行政执法部门可以委托技术鉴定机构进行技术鉴定;5. 交通综合行政执法部门分析证据材料,作出调查结论。
三.处罚决定阶段1. 交通综合行政执法部门根据调查结论,决定是否给予当事人行政处罚;2. 若决定给予行政处罚,交通综合行政执法部门需要制作处罚决定书,并载明处罚内容、依据和罚款金额等;3. 交通综合行政执法部门通知当事人知晓处罚决定,并告知当事人可以申请行政复议或者提起行政诉讼的权利;4. 当事人签收处罚决定书。
四.处罚执行阶段1. 交通综合行政执法部门根据处罚决定书的内容,依法执行处罚;2. 若当事人未按照处罚决定书的要求履行义务,交通综合行政执法部门可以采取强制执行措施,如冻结当事人的银行账户;3. 当事人履行处罚决定书的全部义务后,交通综合行政执法部门予以了结。
附件:1. 案件材料收集表(样本)2. 调查讯问笔录表(样本)3. 处罚决定书(样本)法律名词及注释:1. 行政处罚:政府机关以行政手段追究违法行为人的责任,并给予相应的处罚措施的行为。
2. 行政复议:当事人对行政机关作出的行政行为不服时,可以向上一级行政机关申请复议,请求行政机关自行或者改变原行政行为。
3. 行政诉讼:当事人对行政机关作出的行政行为不服时,可以向人民法院提起诉讼,请求法院判决撤销或者变更该行政行为。
交通综合行政执法行政处罚流程图交通综合行政执法行政处罚流程图1.执法准备阶段1.1 指派执法人员和车辆1.2 确认执法地点和时间1.3 查阅相关法律法规和执法细则1.4 准备必要的执法工具和设备2.执法检查阶段2.1 到达执法地点,进行现场勘查2.2 核实车辆和驾驶员的身份信息2.3 检查车辆的证件和装备是否符合规定2.4 检查驾驶员是否存在违法行为2.5 记录现场情况和执法过程3.执法犯罪定性阶段3.1 综合现场证据和执法记录,初步定性违法行为 3.2 与其他执法人员讨论确认定性结果3.3 开展相关调查,收集更多证据3.4 最终确定违法行为的性质和情节4.行政处罚决定阶段4.1 根据违法行为的性质和情节,参考法律规定,确定处罚种类和幅度4.2 编写行政处罚决定书,明确违法事实、处罚依据和处罚措施4.3 交由执法主管部门审核和批准4.4 将行政处罚决定书送达当事人5.行政处罚执行阶段5.1 当事人收到行政处罚决定书后,可自行履行处罚或提出陈述申辩5.2 若当事人未履行处罚,执法部门可采取强制执行措施5.3 监督和检查行政处罚执行情况5.4 记录行政处罚执行的过程和结果6.结案和归档阶段6.1 当事人履行完处罚或强制执行结束,确认结案6.2 结案后,整理相关材料和文书6.3 归档涉案文书和材料6.4 统计和分析行政处罚情况附件:1.执法记录单样本3.相关法律法规和执法细则法律名词及注释:1.行政处罚: 行政机关依法对违法行为主体进行的罚款、没收违法所得、没收非法财物、责令停产停业、吊销执照、责令关闭、责令整顿、警告等行政处罚措施。
2.当事人: 行政处罚案件中被认定有违法行为并应受到处罚的个人、法人或其他组织。
3.强制执行: 当当事人未按行政处罚决定履行义务时,执法部门采取必要措施强制履行。
4.结案: 指行政处罚决定已经执行完毕,不再需要进一步的执法行动。
交通综合行政执法行政处罚流程图交通综合行政执法行政处罚流程图1、案件立案流程1.1 收集相关证据材料1.2 对涉案人员进行调查1.3 制定案件材料1.4 确定案件性质和处理依据1.5 提交案件立案申请1.6 审批案件立案2、复核流程2.1 报告复核申请2.2 复核申请审查2.3 审理复核申请2.4 复核结果通知3、行政处罚流程3.1 发出行政处罚通知书3.2 被处罚方接收通知书 3.3 缴纳罚款或申请听证 3.4 开展听证程序3.5 作出处罚决定3.6 通知处罚决定3.7 处罚执行及后续监督4、处罚结果申诉流程4.1 申请处罚结果复议4.2 复议申请审查4.3 处理复议申请4.4 复议结果通知5、处罚决定执行流程5.1 检查处罚决定的合法性 5.2 履行处罚决定5.3 追缴罚款5.4 整理处罚决定文书5.5 结束执行附件:- 证据材料清单- 复核申请表格- 复议申请表格- 听证程序规定法律名词及注释:- 行政法:指国家行政机关根据法定的程序和范围,以行政命令的形式对社会成员进行管理和调控的法律体系。
- 处罚决定书:行政机关基于相关法律法规对违法行为人作出的行政处罚决定的书面文书。
- 复核:被行政处罚的一方对处罚结果不服,向上级行政机关申请复核,请求上级机关对原行政机关作出的处罚决定进行审查。
- 听证程序:行政机关为了保障当事人的权益,在行政处罚前举行的一种程序,通过听取当事人陈述、辩护和举证等方式,公正、公开、公平地进行庭审。
- 复议:被行政处罚的一方对处罚结果不服,向行政复议机关提出申请,请求复议机关审查原行政机关作出的处罚决定的合法性、合理性和适当性。
关于办理发生在高速公路上的刑事、行政案件管辖问题的通知各市、县(区)人民法院、人民检察院、公安局(分局):为了加强高速公路上的治安、交通管理,严厉打击高速公路上的违法犯罪行为,有效防止因职责界线不清和办理程序不明而造成的打击不力、不及时的问题,根据《刑事诉讼法》、《公安机关办理刑事案件程序规定》、《行政处罚法》、《行政复议法》、《公安机关办理行政案件程序规定》和公安部《关于组建公路巡逻民警队在公路上实施统一执法工作的通知》(公通字[1996]58号)的规定,现就办理发生在高速公路上的刑事、行政案件的有关问题通知如下:一、刑事案件的管辖办理(一)发生在高速公路上的交通肇事刑事案件由江西省公安厅交通警察总队高速公路巡逻警察支队所属大队(以下简称“高速公路巡逻警察大队”)管辖,以大队机关所在地县、市(区)公安局(分局)名义办理,使用该局单独编号的法律文书,向所在地人民检察院办理报捕、起诉,犯罪嫌疑人由所在地看守所羁押。
(二)发生在高速公路上的其他刑事案件由高速公路属地公安机关管辖。
高速公路巡逻警察大队接警先期处置后,按属地原则移交给案发地公安机关办理,并出具《公路接警案件移送书》。
二、行政案件的办理及当事人诉权的告知(一)发生在高速公路上的交通管理行政案件由高速公路巡逻警察大队依法办理。
其中,对违反交通管理行为人决定给予行政拘留处罚的,由江西省公安厅交通警察总队高速公路巡逻警察支队领导审批,以大队机关所在地县、市(区)公安局(分局)名义作出,使用该局单独编号的法律文书,由大队机关所在地行政拘留所执行。
(二)发生在高速公路上的其他治安管理行政案件由高速公路巡逻警察大队先期处置后,按属地原则移交给案发地公安机关办理,并出具《公路按警案件移送书》。
(三)高速公路巡逻警察大队以本单位名义作出的行政处罚,告知当事人如不服处罚决定,向江西省公安厅交通警察部队高速公路巡逻支队申请复议,或向大队所在地人民法院提起行政诉讼。
路政⾏政执法流程图路政处罚、赔(补)偿简易程序路政⾏政执法流程图路政处罚、赔(补)偿简易程序路政处罚、赔(补)偿⼀般程序(⾏政征收可以参照该流程图执⾏)公路路政⾏政许可办事流程图路政⾏政强制程序实施强⾏拆除涉及路政处罚的,可以⼀并进⾏调查取证,分别进⾏处理。
路政⾏政监管流程图路政⾏政确认流程图监督机制明⽰图⼀、⾏政相对⼈的权利:1、在检查和调查取证阶段,⾏政相对⼈享有陈述、申辩权。
2、在对当事⼈作出《违法⾏为告知书》、《公路赔(补)偿权利告知书》3个⼯作⽇内,当事⼈依法享有陈述、申辩权。
对拟处罚罚款额度达到个⼈1000元以上,单位法⼈10000元以上(均包含本数)、责令停产停业、⾏政强制执⾏的,⾏政相对⼈依法享有听证权。
3、在⾏政相对⼈收到《公路⾏政处罚决定书》之起60个⼯作内,⾏政相对⼈可以向临安市交通局申请⾏政复议,或者在3个⽉内向临安市⼈民法院起诉。
⼆、监督制约环节:1、对较⼤数额罚款(个⼈5000元以上;单位法⼈50000元以上)、责令停产停业、⾏政强制执⾏的,按《交通⾏政处罚重⼤案件集体讨论制度》进⾏集体讨论,并按重⼤交通⾏政处罚案件向临安市交通局进⾏报备。
2、对特例案件按⾃由裁量权减轻处罚的,进⾏集体讨论,并形成记录,装订⼊副卷,以供备查。
3、⼤队严格执⾏调查、处罚、收缴⼈员三分离制度,建⽴和完善了《路政⾏政执法检查制度》、《路政⾏政损害赔偿制度》、《错案追究制度》、《公开办事制度》、《公路路政⾏政执法公⽰制度》、《信息公开⼯作制度》、《路政执法案卷评查制度》、《公路路政⾏政执法监督制度》等⼀系列规章制度来监督制约路政管理⾏为。
三、投诉举报途径和⽅式:社会各界可以通过电话、举报信、来⼈来访等⽅式对我⼤队⾏政执法进⾏监督和举报。
具体途径为:监督举报电话0571—63928826(⼤队路政科电话);96266(杭州市公路路政服务电话),另外在我⼤队所有执法窗⼝办公场所设有举报监督箱,受理来信监督举报,⼤队路政科(钱王街338号)、办事窗⼝(钱王街223号)、02省道临安超限运输检测站(藻溪镇亭⼝村)欢迎来⼈来访。
公安部关于印发《高速公路交通应急管理程序规定》的通知文章属性•【制定机关】公安部•【公布日期】2008.12.03•【文号】公通字[2008]54号•【施行日期】2008.12.03•【效力等级】部门规范性文件•【时效性】现行有效•【主题分类】道路交通管理正文公安部关于印发《高速公路交通应急管理程序规定》的通知(公通字[2008]54号)各省、自治区、直辖市公安厅、局,新疆生产建设兵团公安局:为加强高速公路交通应急管理,保障高速公路交通安全畅通和人民群众生命财产安全,公安部制定了《高速公路交通应急管理程序规定》,现印发给你们。
请结合本地实际,认真贯彻执行。
执行中遇到的问题,请及时报部。
二〇〇八年十二月三日高速公路交通应急管理程序规定第一章总则第一条为加强高速公路交通应急管理,切实保障高速公路交通安全畅通和人民生命财产安全,有效处置交通拥堵,根据《中华人民共和国道路交通安全法》及其实施条例、《中华人民共和国突发事件应对法》的有关规定,制定本规定。
第二条因道路交通事故、危险化学品泄漏、恶劣天气、自然灾害以及其他突然发生影响安全畅通的事件,造成高速公路交通中断和车辆滞留,各级公安机关按照本规定进行应急处置。
第三条高速公路交通应急管理工作应当坚持以人为本、统一领导、分工负责、协调联动、快速反应、依法实施的原则,将应急救援和交通疏导工作作为首要任务,确保人民群众生命财产安全和交通安全畅通。
第四条各级公安机关要完善高速公路交通应急管理领导机构,建立统一指挥、分级负责、部门联动、协调有序、反应灵敏、运转高效的高速公路交通应急管理机制。
第五条各级公安机关应当建立高速公路分级应急响应机制。
公安部指导各级公安机关开展高速公路交通应急管理工作,省级公安机关指导或指挥本省(自治区、直辖市)公安机关开展高速公路交通应急管理工作,地市级以下公安机关根据职责负责辖区内高速公路交通应急管理工作。
第六条各级公安机关应当结合实际,在本级人民政府统一领导下,会同环境保护、交通运输、卫生、安全监管、气象等部门和高速公路经营管理、医疗急救、抢险救援等单位,联合建立高速公路交通应急管理预警机制和协作机制。
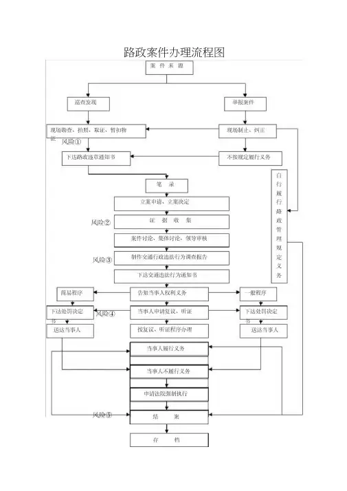
路政案件办理流程图权力运行风险表现:风险① :不按规定查处违法事实,利用职权谋取私利。
风险② :在初步核实情况后,没有视情况进行分类处理;在调查过程中,接受被调查人的好处。
风险③ :不按规定制作司法文书,利用职权谋取私利,弄虚作假。
风险④ :不按规定收取补偿费或罚款、完善司法文书。
风险⑤ :借案件打击报复被调查人员或索取财物,存在不正之风。
防范措施:1、加强责任意识教育,严格按照路政法律、法规与文件精神查处违法事实,廉洁自律,秉公执法,不徇私情。
2、熟悉路政管理业务知识,严格按规定收取补偿费。
完善执法文书。
3、设立监督岗,加大监督力度。
4、强化效能监察,严格责任追究。
一、责任单位岳阳楼区交通局(岳阳楼区地方公路管理所)二、责任人注册登记局实行局长负责下的岗位分工责任制,局长主持全面工作,并对局内工作负全面责任,其他同志按照岗位分工,分别承担各自的工作职责。
三、权力行使依据(一)《中华人民共和国公路法》(二)《中华人民共和国行政许可法》(三)《湖南省实施《中华人民共和国公路法》办法》四、工作责任范围1、宣传、贯彻、执行公路路政管理的法律、法规和规章,开展有效的宣传教育活动,提高公路沿线乡镇、企事业单位和群众爱路护路的意识;2、负责辖区内超限运输车辆行驶公路的管理工作;3、组织实施路政巡查,保护路产,管理公路两侧建筑控制区,依法查处各类违反路政管理法律、法规和规章规定的违法行为;4、按管理权限,负责辖区内路政许可事宜;审核上报由上级公路管理机构办理的许可事宜;五、办理程序和时限1、办理机构受理路政案件时,按照法律程序进行,一般的办理时限为,发现违法行为应当场下达《交通违法行为通知书》,三日后下达《交通违法行政处罚决定书》。
十五日内对违法行为当事人既不履行法律责任又放弃法律权利的,办理机构有权申请人民法院依法执行。
路政许可办理流程图风险②权力运行风险表现:风险① :不按规定查处违法事实,利用职权谋取私利。
交通行政处罚流程图交通行政处罚流程图本旨在详细介绍交通行政处罚的全过程,包括从违法发现到处罚决定的各个环节。
以下是交通行政处罚流程的详细说明:一、案件立案1. 违法发现:交通违法行为可能通过现场执法、监控录相、群众举报等方式被发现。
2. 确认违法事实:执法人员对违法行为进行调查取证,确认违法事实。
3. 案件立案:交通行政执法机构根据确认的违法事实,对案件进行立案。
二、调查取证1. 调查取证:交通行政执法机构根据违法事实,进行调查取证工作,包括事故现场勘查、问询相关当事人、查阅相关证据材料等。
2. 证据呈报:执法人员将调查取证的证据材料呈报给行政处罚决定机关。
三、违法事实认定1. 事实认定:行政处罚决定机关对调查取证的证据材料进行审查,对违法事实进行认定。
2. 违法行为分类:根据违法事实的认定结果,将违法行为进行分类,确定相应处罚依据。
四、处罚决定1. 处罚依据:根据违法行为分类确定相应的法律法规、规章制度等作为处罚依据。
2. 处罚决定:行政处罚决定机关根据处罚依据,以行政处罚决定书的形式对违法行为进行处罚决定,并通知当事人。
五、处罚告知1. 发送通知书:行政处罚决定机关将处罚决定书发送给当事人,并告知当事人可以自查行政决定书,如果存在异议可以提起申请复议或者行政诉讼。
2. 启动复议程序:当事人如对处罚决定不服,可以在规定的时间内提起申请复议。
3. 提起行政诉讼:当事人如对复议结果不服,可以在规定的时间内向人民法院提起行政诉讼。
附件:1. 处罚决定书:包括具体的违法事实、处罚依据、处罚内容等。
2. 取证材料:包括现场照片、视频录相、相关证据文件等。
法律名词及注释:1. 交通行政执法机构:指负责处理交通违法行为的法律法规,如交警部门、公安机关等。
2. 行政处罚决定机关:指负责对违法行为进行处罚决定的机关,普通为行政机关的上级机关或者具有行政处罚权的机关。
交通综合行政执法行政处罚流程图交通综合行政执法行政处罚流程图一、行政处罚流程概述行政处罚是国家机关依照法律规定,对违法行为主体进行惩罚的行政行为。
交通综合行政执法是对交通违法行为进行执法监督和处罚的机制。
本文将详细介绍交通综合行政执法行政处罚的流程图。
二、行政处罚流程图细化1. 接到案件1.1 收到交通违法行为的举报或者自行巡逻发现交通违法行为。
1.2 根据案件特点进行初步评估,并决定是否立案。
1.3 确定案件类型和违法行为的性质。
2. 立案2.1 确定立案程序和组织机构。
2.2 接收立案申请及相关材料。
2.3 对材料进行审核,确保完整和真实性。
2.4 决定是否立案,如不立案需出具相关证明。
3. 侦查取证3.1 委托专业人员对案件进行侦查取证,包括现场勘查、询问当事人等。
3.2 搜集相关证据,如照片、视频、录音等。
3.3 编制调查报告,详细记录证据和调查过程。
3.4 提交调查报告,并根据情况决定是否进一步调查。
4. 处罚决定4.1 依据法律规定,结合调查结果,综合判断是否构成违法行为。
4.2 根据违法行为的性质和情节,确定相应的行政处罚方式和处罚标准。
4.3 编制处罚决定书,明确违法行为和处罚措施。
4.4 经过审批后,将处罚决定书送达当事人,并告知申诉和听证的权利。
5. 处罚执行5.1 当事人在规定期限内未提出申诉,或者申诉未通过,执行处罚决定。
5.2 监督当事人履行处罚决定,并对履行情况进行检查。
5.3 如当事人未按要求履行处罚决定,依法采取强制措施。
5.4 相关部门对处罚情况进行统计和分析,形成报告。
三、附件列表1、案件立案申请表2、调查取证记录表3、处罚决定书格式样本4、申诉和听证申请表格四、法律名词及注释1. 行政处罚:指国家机关依照法律规定,对违法行为主体进行惩罚的行政行为。
2. 违法行为:指违反法律、法规的行为。
3. 处罚决定:国家机关对于违法行为做出的行政处罚决定书。
4. 申诉:当事人对行政处罚决定不服,向上一级机关提出申请,要求重新审查。
路政行政处罚流程图本文将介绍路政行政处罚的基本流程。
路政行政处罚是指政府对于违反道路交通安全管理规定的行为做出处罚决定的行为。
在我国,路政行政处罚是由公安机关和交通运输部门共同实施的。
路政行政处罚可以分为三个步骤:立案、查处、处罚。
一、立案立案是指指定单位接受违法违规行为的举报或发现后,根据相关法规和规定,采取正式措施开始处罚的行为。
立案的主要目的是为了了解案件情况,制定查处方案和决策。
立案流程如下:1.接报案件:公安机关和交通运输部门接到路政违法违规行为的举报或发现,将立即进行登记。
2.立案审查:立案单位对报案或发现的情况进行审查,确定案件是否需要立案。
3.立案决定:立案单位根据审查结果,决定是否给予立案。
如果决定给予立案,则正式开始进入处罚程序。
二、查处查处是指依据相关法规和规定,对违规行为人进行现场调查、取证、变更补正等工作,以及根据证据判断行政违法事实和行政主体身份,确定处罚的行为。
查处流程如下:1.组织力量:对立案的案件进行研究分析,组织力量进行现场调查、取证等工作。
2.调查取证:在辖区内对违反交通规定的车辆、行人等违法行为进行大规模调查取证。
3.变更补正:对于发现问题,立即进行改正工作。
4.行政处罚决定:查处单位根据证据认定违法行为事实,对违规行为人作出行政处罚决定。
三、处罚处罚是指依据相关法规和规定,对违法行为人进行行政处罚,包括罚款、扣车扣证等行为。
处罚流程如下:1.告知批复:违约者收到处罚决定后,立即进行告知并登记。
2.缴费、自首等:违约者在规定的期限内,进行缴费、自首或提出申诉。
3.监督检查:对罚款等监督检查的情况进行审查。
4.行政复议、诉讼:如违约者不服处罚,可以提出行政复议或者诉讼。
总结路政行政处罚是对违反交通安全法规的人员进行的一种行政处罚。
其中包括了立案、查处、处罚三个步骤。
了解这些流程,将有助于提高公民的交通安全意识,减少违法行为的发生。
一、道路交通安全违法行为行政处罚简易程序流程图
1、流程图
2、救济渠道。
行政相对人可依法向公安机关交通管理行政强制执行部门申请听证以及陈述、申辩;依法向上级公安机关交通管理部门或本级人民政府申请行政复议以及向有管辖权的人民法院提起行政诉讼。
3、督查监督电话:8166823,纪委监督电话:8166965。
二、道路交通安全违法行为行政处罚一般程序流程图
1、流程图
2、救济渠道。
行政相对人可依法向公安机关交通管理行政强制执行部门申请听证以及陈述、申辩;依法向上级公安机关交通管理部门或本级人民政府申请行政复议以及向有管辖权的人民法院提起行政诉讼。
3、督查监督电话:8166823,纪委监督电话:8166965
三、道路交通安全违法行为行政强制程序流程图
一、流程图
2、救济渠道。
行政相对人可依法向公安机关交通管理行政强制执行部门申请听证以及陈述、申辩;依法向上级公安机关交通管理部门或本级人民政府申请行政复议以及向有管辖权的人民法院提起行政诉讼。
3、督查监督电话:8166823,纪委监督电话:8166965。
3。
行政处罚简易程序流程图监督检查(举报),发现违法(行为)事实两人以上执法,出示执法证,告知违法(行为)事实和处罚依据听取当事人的陈述和申辩,并复核。
现场制作笔录(执法询问笔录、陈述申辩笔录)不予处罚依法作出处罚决定,填写《行政处罚决定书》,并告知当事人权利执行行政复议决定或行政判决书结案、归档(处罚决定之日起5日内备案)按照《甘肃省交通工程质量安全监督管理局行政处罚自由裁量执行标准》和法律法规进行处罚行政处罚一般程序流程图监督检查,发现违法(行为)事实,以及上级交办、其他部门移送、举报等违法线索立 案(单位负责人审批并指定两名以上承办人)二名以上执法人员向当事人出示撤案,不处罚(移 执法证,开展调查、检查,收集证送、举报线索失实) 调查、取证 据。
调查终结,承办人写出调查终移送司法机关(构 结报告,并根据认定的违法违规事成犯罪) 实和法律、法规依据提出初步处理意见,报送单位负责人审批。
行政处罚事先告知按照《甘肃省省交通工程质量安全监督管理局行政处罚自由裁量执行标准》和法律法规进行处罚按《行政处罚法》第五十一条执行 行政复议或自觉履行拒不履行 行政诉讼按《行政强撤销 制法》第五十三条执行维持或变更处罚决定表1 立案审批表立字()第号表2现场(勘验、检查)笔录说明:现场照片、示意图等可作为本记录的组成部分附后表3询问笔录时间:年月日时分至年月日时分第次询问地点:询问人:记录人:被询问人:______ 性别:年龄:身份证号:联系电话:工作单位:联系地址:我们是的执法人员,这是我们的执法证件,执法证件号码分别是_____________、,请你确认。
答:现依法向你询问,请如实回答所问问题,如果故意作伪证或者隐匿证据,将承担相应的法律责任。
执法人员与你有直接利害关系的,你可以申请回避。
问:答:被询问人签名及时间:询问人签名及时间:第页,共页附页第页,共页注:附页每页都应当注明页码,并由相关人员逐页签字或盖章确认。
道路交通安全违法行为行政处罚一般程序流程图(200元以上罚款)交通违法案件简易程序处理流程图的简要说明和法律依据说明:1、执勤民警按照《交通警察道路执勤执法工作规范》的规定着装,佩戴人民警察标志,随身携带人民警察证件和执勤执法装备在规定辖区执勤,对违法车辆和驾驶员进行处罚;2、发现违法驾驶员后向违法行为人表明执法身份并出示执法证件;3、利用随身携带的驾驶员、车辆信息管理系统(警务通)对违法驾驶员的驾驶证、车辆信息予以核实;4、口头告知其违法行为的基本事实以及拟作出行政处罚的依据和种类,以及其依法享有的权利;5、违法行为人对违法事实和处罚无异议的,制作处罚决定书,由被处罚人签字,告知其缴纳罚款的时间地点以及责任和后果;被处罚人拒绝签名的,应当在简易程序处罚决定书上注明;6、告知当事人依法享有的诉讼权利(不服本决定,可在60日内向上级公安机关申请行政复议,或者三个月内向人民法院提起行政诉讼)。
法律依据:1、《中华人民共和国道路交通安全法》;2、《中华人民共和国道路交通安全法实施条例》;3、《中华人民共和国行政处罚法》;4、《公安机关办理行政案件程序规定》(公安部第125号令);5、《道路交通安全违法行为处理程序规定》(公安部第105号令);6、《交通警察道路执勤执法工作规范》7、《河北省实施〈中华人民共和国道路交通安全法〉办法》。
交通违法案件一般程序处理流程图的简要说明和法律依据说明:1、执勤民警按照《交通警察道路执勤执法工作规范》的规定着装,佩戴人民警察标志,随身携带人民警察证件和执勤执法装备在规定辖区执勤,对违法车辆和驾驶员进行处罚;2、发现违法驾驶员后向违法行为人表明执法身份并出示执法证件;3、利用随身携带的驾驶员、车辆信息管理系统(警务通)对违法驾驶员的驾驶证、车辆信息予以核实;4、根据违法情形决定是否采取强制措施:有下列情形之一的,依法扣留车辆:(一)上道路行驶的机动车未悬挂机动车号牌,未放置检验合格标志、保险标志,或者未随车携带机动车行驶证、驾驶证的;(二)有伪造、变造或者使用伪造、变造的机动车登记证书、号牌、行驶证、检验合格标志、保险标志、驾驶证或者使用其他车辆的机动车登记证书、号牌、行驶证、检验合格标志、保险标志嫌疑的;(三)未按照国家规定投保机动车交通事故责任强制保险的;(四)公路客运车辆或者货运机动车超载的;(五)机动车有被盗抢嫌疑的;(六)机动车有拼装或者达到报废标准嫌疑的;(七)未申领《剧毒化学品公路运输通行证》通过公路运输剧毒化学品的;(八)非机动车驾驶人拒绝接受罚款处罚的。
行政处罚
省辖高速公路上行人、乘车人、非机动车驾驶人违反道路安全法律、法规关于道路通行规定的处罚;省辖高速公路上机动车驾驶人违反道路交通安全法律、法规关于道路通行规定的处罚;省辖高速公路上饮酒、醉酒后驾驶机动车等行为的处罚;省辖高速公路上公路客运车辆载客超过额定乘员、货运机动车超过核定载质量行为的处罚;省辖高速公路上伪造、变造或者使用伪造、变造的机动车登记证书、号牌、行驶证、驾驶证等行为的处罚;省辖高速公路上未按照国家规定投保机动车第三责任强制保险的处罚;省辖高速公路上未取得机动车驾驶证、机动车驾驶证被吊销或者机动车驾驶证被暂扣期间驾驶机动车等行为的处罚;省辖高速公路上驾驶拼装的机动车或者已达到报废标准的机动车上道路行驶的处罚;省辖高速公路上造成交通事故后逃逸的处罚;省辖高速公路上对符合暂扣和吊销机动车驾驶证的情形,机动车驾驶证被扣留后驾驶人无正当理由逾期未接受处理的处罚;省辖高速公路上扣留机动车、非机动车逾期不接受处理的处罚;省辖高速公路上违反分道通行规定等行为的处罚;省辖高速公路上驾驶安全设施不全或者机件不符合技术标准等具有安全隐患的机动车等行为的处罚;省辖高速公路上发生非法安装警报器、标志灯具等行为的处罚;省辖高速公路上驾驶机动车违反禁令标志、警告标志、禁止标线、警告标线指示等行为的处罚;省辖高速公路上在机动车驾驶室的前后窗范围内悬挂、放置妨碍安全驾驶物品等行为的处罚;省辖高速公路上指使、强迫驾驶人违反道路交通安全法律、法规和机动车安全驾驶要求驾驶机动车,造成交通事故但尚不构成犯罪等行为的处罚;省辖高速公路上重型、中型载货汽车及其挂车的车身或者车厢后部未按照规定喷涂放大的牌号或者放大的牌号不清晰等行为的处罚;省辖高速公路上擅自改变机动车外形和已登记的有关技术数据的处罚;省辖高速公路上以欺骗、贿赂等不正当手段办理补、换领机动车登记证书、号牌、行驶证和检验合格标志等业务的处罚;省辖高速公路上适用拼装或者达到报废标准的机动车接送学生的处罚;省辖高速公路上不按照规定为校车配备安全设备,或者不按照规定对校车进行安全维护的处罚;省辖高速公路上驾驶校车运载学生,不按照规定放置校车标牌、开启校车标志灯,或者不按照经审核确定的线路行驶等情形的处罚;省辖高速公路上机动车驾驶人不按照规定避让校车的处罚;省辖高速公路上未按照规定指派照管人员随校车全程照管乘车学生的处罚;省辖高速公路上使用未取得校车标牌的车辆提供校车服务等行为的处罚;省辖高速公路上机动车驾驶人未取得校车驾驶资格驾驶校车的处罚;省辖高速公路上驾驶机动车违反限速规定的处罚;省辖高速公路上违反规定停车等行为的处罚;省辖高速公路上机动车驾驶证被依法扣押、扣留或者暂扣期间,采用隐瞒、欺瞒手段补领机动车驾驶证等行为的处罚;省辖高速公路上机动车驾驶人补领机动车驾驶证后,继续使用原机动车驾驶证等行为的处罚;省辖高速公路上违反规定在道路上施工作业等行为的处罚;省辖高速公路两侧及隔离带上种植树木、其他植物或者设置广告牌、管线等,遮挡路灯、交通信号灯、交通标志,妨碍安全视距的处罚流程图
承办机构:××公安厅高速公路交警支队服务电话:×××-××××××
监督电话:×××-××××××。