男士着装大全(图解)
- 格式:doc
- 大小:24.00 KB
- 文档页数:12
西服款式分类
1.单排扣西服:指的是一种传统的西装款式,只有一排扣子,简约而不失典雅。
2.双排扣西服:指的是西服领口有两排扣子的款式。
3.无纽扣西服:无纽扣西服顾名思义,指的是没有扣子的西服,通常是以前贵族阶层穿的。
4.双排扣领尖西服:指双排扣西服领角较为尖锐的款式,适合面部线条较圆润的男士穿着。
5.半宽领单排扣西服:半宽领单排扣西服,即领口宽度适中,只有一排扣子,适合各种场合穿着。
6.接缝口袋西服:接缝口袋西服是指西服口袋上有一个细缝线,看起来比较细腻和有质感。
7.斜口袋西服:斜口袋西服,指的是西服口袋的开口是倾斜的。
8.系列袋口袋西服:系列袋是指西服口袋分成多个小袋子,更加便于携带小物品。
9.侧开胸口西服:侧开胸口西服指的是西服胸前的口袋在侧面开口的设计,不仅美观而且方便存放小物品。
10.省略口袋西服:这种西服是以简约的款式为主,省略了多余的口袋设计。
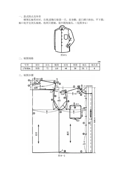
一、款式特点及外形硬领长袖男衬衫,尖领;前胸左贴袋一只,直身腰;前门襟六粒扣,平下摆;袖口处开宝剑头袖衩,收两只褶裥,装中圆角袖头。
(见图5-1)图6-1二、制图规格cm 号型部位衣长胸围肩宽领围袖长袖头宽170/88A 规格72 110 46 39 58。
5 6三、制图步骤图6—2(一)前片(见图6-2)错误!基础线预留门襟挂面宽3。
8cm,里襟挂面宽2.5cm作一直线与布边平行为止口线。
错误!底边线作一直线与错误!垂直。
错误!上平线错误!~错误!等于衣长-4=68cm,作一直线与错误!垂直.错误!落肩线错误!~错误!为B/20-1=4。
5cm。
错误!胸围线错误!~错误!为B/10+12=23cm。
错误!领口深线错误!~错误!为N/5-1.5=6.3cm。
错误!搭门线错误!~错误!为搭门宽2cm,与错误!平行.错误!领口宽线错误!~错误!为N/5-1=6.8cm.错误!前肩宽错误!~错误!为S/2-1.2=21.8cm,与肩颈点相连为肩斜线。
错误!前胸宽由错误!进1。
5 cm作一直线与胸围线垂直。
错误!前胸围大错误!~错误!为B/4=27。
5cm,作一直线与胸围线垂直.○12领口弧线直开领和横开领的交点与前中点相连为领口斜线,取1/3为凹势,用弧线画顺。
错误!袖笼弧线由肩端点经胸宽点至胸围大,用弧线画顺。
错误!底边弧线按底边线在摆缝处提高1cm,用弧线画顺.错误!扣眼位在搭门线上,第一扣眼位在底领上,由领口深线提高1cm,领口深线下3cm为前衣片上扣位,末眼位由底边量上L/5+5=19.4cm。
五粒扣四等分.○16胸袋由胸宽线错误!进3cm,胸围线错误!提高4cm为袋口位,袋口大B/10+0。
5=11.5cm,袋长为袋口大+1.5=13cm,袋底中间低下1.5cm。
(二)后片、过肩(见图6-2)后片上平线由前片上平线低下1。
5cm,胸围线按前衣片延长,底边线按前衣片起翘延长。
错误!背中线在胸围线上由前摆缝线量出后胸围大B/4=27.5cm,作一直线与胸围线垂直。
男士职场着装礼仪男士职场着装礼仪1穿银灰、乳白色西服,适宜配戴大红、朱红、墨绿、海蓝、褐黑色的领带,会给人以文静、秀丽、萧洒的感觉。
穿红色、紫红色西服,适宜配戴乳白、乳黄、银灰、湖蓝、翠绿色的领带,以显示出一种典雅华贵的效果。
穿深蓝、墨绿色西服,适宜佩带橙黄、乳白、浅蓝、玫瑰色的领带,如此穿戴会给人一种深沉、含蓄的美感。
穿褐色、深绿色西服,适宜配戴天蓝、乳黄、橙黄色的领带,会显示出一种秀气飘逸的风度。
穿黑色、棕色的西服,适宜配戴银灰色、乳白色、蓝色、白红条纹或蓝黑条纹的领带,这样会显得更加庄重大方。
西装与领带、衬衫怎么配?穿西服不扎领带,可是不够正式的,不适宜出席正式场合。
说起打领带这里边可有不少讲究。
先来看看领带的花色与图案,一般来说素色、斜纹、圆点、和几何图案的领带都能够与任何款式的西服或衬衫搭配。
但是要注意的是草履虫的图纹却只能在休闲时穿戴,在上班时最好避免使用,否则会有失大雅。
再来看看领带的三种款式:领带的款式主要在领带的宽度上,常用的领带宽度多为8—9厘米,最宽的可达12厘米,最窄的仅有5-7厘米。
领带基本上分为三种,你可以根据自己的爱好来选择。
对了,领带的季节性一般来说也是很有学问的,在炎炎夏日里最好佩带丝和绸等材质的轻软型领带,领带结也要打得比较小,给人以清爽感。
而在秋冬季里颜色就要以暖色为主了,例如深红色、咖啡色之类的暖色调在视觉上就会产生温暖的感觉。
在春夏季节可以以冷色调为主,暖色调为辅。
那么领带如何与西服衬衫相搭配呢?有一种搭配叫三单,也就是说三种单色搭配在一起一般来说比较保险。
或者二单一花,这种装束您要注意了,这其中唯一一个有花纹或图案的无论是衬衫、领带或是西服,那么花纹或图案的颜色一定要是其他两种颜色的其中一种。
对了,还有二花一单。
如果你想这样打扮的时候就要注意:当有两种花纹或图案时,必须先驱分出图案的强弱和图案的走势。
如果穿直条纹西服或衬衫时就要避免使用直纹或横纹的领带,最好用斜纹、圆点或草履虫色等没有方向性的领带比较好。
※春季型春季型人特徵皮肤白皙,拥有一双明亮的眼睛,无论多大年龄,永远给别人一种年轻、精神的感觉。
在高明度色彩中,从中彩度到高彩度之间各种各样的色相对比都会使你显得精神帅气。
春季型男士的用色原则春季型男士适合黄调、明亮的颜色。
白色适合象牙白和稍发黄的白色。
注意纯白色会使脸色看起来发暗。
蓝色我们推荐明亮色调的蓝色系。
如果由于职业关系需要穿深暗的蓝色西装,一定要选择春天色系中明亮颜色的衬衣和领带。
灰色选择黄调的黑灰或白灰,配以本色组中明亮颜色的衬衣和领带。
红、粉选用黄调的红色或粉色,橙红、橙色、发亮的桃红色较适合。
※夏季型夏季型人特徵给人安静的感觉,有米白色皮肤,也有健康的小麦色皮肤。
整体带有蓝灰调子,如雾蒙蒙的江南山水。
适合在自己的季型中选择相同色系或相邻色系进行搭配,这样看上去会更加稳重。
夏季型男士的用色原则夏季型男士适合蓝调、柔和的颜色。
白色适合柔和的乳白色,避开黄白色和茶白色。
注意纯白会使脸看上去发暗。
蓝色我们推荐灰蓝色和蓝灰色。
不选择纯正的藏青色,而是选择有些发浊的藏青色。
发暗的深蓝色西装要配蓝红色或酒红色领带。
灰色适合蓝调、明亮的灰色。
红、粉适合带蓝调的红色或粉色。
深玫瑰粉、酒红色、玫瑰红色最适合。
※秋季型秋季人特徵有瓷器般匀整的皮肤,脸上很少出现红晕。
一双沉稳的眼睛,给人成熟稳重的感觉,再配上棕色的头发,如秋日成熟的田野与浑厚的大地,是四个季型中最成熟最华贵的。
用与自身色特徵相平衡的深沉而稳重的颜色,才能尽显高贵、上品。
秋季型男士的用色原则秋季型男士适合黄调、深沉、饱满的颜色。
白色适合的白色是稍发茶色的牡蛎色。
刚织出的未经漂白的布的白色、象牙白,柔和的白色也可以,但注意纯白色会使脸色发暗。
蓝色适合发黄的沙青色。
穿藏蓝色西装时,一定选择牡蛎色或驼色的衬衫。
或者配秋季色的领带,不建议穿深蓝西装搭配酒红色领带。
灰色尽量选择带有茶或绿调的灰色。
红、粉选择铁锈红或深桃色。
褐红色、橙红色、发亮的珊瑚红色也很适合。
男士着装大全(图解)着装手册西服的演变十七世纪末,西服的雏形在欧洲出现,它由究斯特尔(JUSTAUCORPS、法语,意为紧身全体的衣服)和贝斯特(VESET、法语,现代西服背心的前身)以及克尤罗特(CULOTTE、法语意思是紧身的长及膝的半截裤)等构成,类似于现代的三件套西服。
十九世纪,欧洲出现的"拉翁基套装"可视为成形的西服。
二十世纪初,欧洲的西服已经被标准化,穿法也有了明确的规范,已成为活跃于政坛和经济领域的男士们的"制服"。
西服衣身合体,腰部收紧两侧兜盖很大,前摆下角弧度大,裤脚卷起。
二十世纪六十年代以后,西服一直处于稳定状态,基本形式有三件套和两件套两种,已成为全世界的男士最正规的服装。
十七世纪后半叶的路易十四时代,衣长及膝的外衣"究斯特科尔"(Justaucorps)和比其略短的"贝斯特"(Veste),以及紧身合体的半截裤"克尤罗特"(Culotte)一起登上男装的历史舞台,构成现代三件套西服的组成形式和许多穿着习惯;究斯特科尔前门襟扣子一般不扣,要扣一般只扣腰围线一下的几粒――-这就是现代的单排,穿西服一般不扣扣子不为失礼,这就是两粒扣子只扣上面一粒的穿着习惯的由来。
新西服、衬衫使用前注意1.先将袖口处的标签去掉,只能用剪刀小心剪断标签上缝线,千万不能拉拽,以免将西服织线扯断。
2.去掉西服开叉处固定用线。
3.摘去裤子上的标签。
4.认真检查衬衫固定用大头针是否去掉。
5.穿西服、衬衫时注意避开明火。
不同场合的着装知识正式场合的着装出席正式场合――宴会、正式会见、招待会、婚丧礼、晚间的社交活动必须穿深色西服,衬衫要求穿白色衬衫,领带要求配戴有规则花纹或图案的领带,颜色对比不宜太强烈。
半正式场合的着装半正式场合――上班、午宴、一般性访问、高级会议和白天举行的较隆重活动,可以穿中等色、浅色或较明快的深色西服,可穿素净、文雅与西服颜色协调的衬衫,配戴有规则花纹的或是素雅的单色领带。
着装大全不同场合的着装知识正式场合的着装出席正式场合――宴会、正式会见、招待会、婚丧礼、晚间的社交活动必须穿深色西服,衬衫要求穿白色衬衫,领带要求配戴有规则花纹或图案的领带,颜色对比不宜太强烈。
半正式场合的着装半正式场合――上班、午宴、一般性访问、高级会议和白天举行的较隆重活动,可以穿中等色、浅色或较明快的深色西服,可穿素净、文雅与西服颜色协调的衬衫,配戴有规则花纹的或是素雅的单色领带。
非正式场合的着装非正式场合――旅游、访友等,穿着可较为随便自由,可选择色调明朗轻快,花型华美的西服,衬衫可任意搭配,领带也可自由搭配。
西服及马夹钮扣要领上装:有双排扣与单排扣两种。
穿双排扣上装一般要将全部钮扣扣好,有时可不扣下面一粒。
单排扣上装可不扣下面一粒或全部不扣,不要将钮扣全部扣上。
马夹:往往不扣最下面一粒钮扣。
若扎领带的话,应置于马夹里面,注意领带尖不要露出。
在正式场合应穿三件套或两件套,避免加穿毛背心或毛衣。
各种类型的人着装要领A、肥胖体型的人不宜穿浅色、带格的西服,最好穿单色且颜色较深的西服,不应穿宽条,应穿隐条纹面料,肥胖型人不宜穿双排扣西服。
B、身材矮小型衣着要简洁明快,适合穿肩部较宽的上衣,使身体呈V字型,可使身材显高一些,简单、单色的服装也能在视觉上增加人的高度。
C、肤色较白型的人衣服的颜色可自由选择,深浅皆宜。
D、皮肤较粗糙的人不宜穿质料特别精细的衣服,否则衬托出面部皮肤更加粗糙。
E、瘦削体型的人不宜穿深色西服,最好穿颜色浅或是带花格的西服,面料有条型应选择窄条面料。
F、肤色较黑型的人不宜穿浅色的西服,适宜穿颜色较深的西服。
季节的着装要领春万物复苏,欣欣向荣的气象张扬着轻松而温暖的心情。
这一季的颜色可以是光谱中的任意一组,由冷色向暖色过度是最常见的。
例如米黄、葱绿。
面料质地是以紧密、有弹性的精纺面料为主。
结构最好是协调搭配的两件套加风衣。
夏烈日骄阳,无处躲藏的炽热让我们渴望凉爽。
中性色、白与黑的对比,纯质和明质相对弱些的颜色会受欢迎。
男士职场礼仪男士职场礼仪1形象礼仪1.西装以干净、舒适、稳重为原则。
三色原则:全套装束颜色不超过三种。
西装口袋里不宜放任何东西,除了上衣左胸口口袋的装饰性手帕。
西装上衣领子上最好不要乱别徽章2.衬衣男士衬衣须挺括、整洁、无褶皱,颜色以单色为好,最好是白色,衬衫材质:最好以棉和羊毛,领口要合适,不宜太紧或太松,衬衣的下摆要塞进西裤,袖口必须扣上不得翻起,衬衣的袖子以露出西装衣袖1—2厘米(1.85)为宜,衬衣的领子要高出西装的领子1厘米3.领带领带是西装的灵魂,领带打好的长度,其下端在皮带的1—1.5厘米处。
领带的质地以真丝为最佳,避免斑马搭配和梅花鹿搭配,领带夹应在第三粒扣子和第四粒扣子中间,且不可露出。
穿短袖不能打领带。
4.袜子男袜分为深色的西装袜和浅色的纯棉休闲袜颜色:黑、咖啡、灰和藏青材质:棉和弹性纤维好袜子的特点:吸汗透气、松紧适度、袜筒比较长电话礼仪电话铃响在3声之内接起。
电话机旁预备好纸笔进行记录,确认记录下的时间、地点、对象和事件等重要事项。
告知对方自己的姓名,接听电话时的重点,认真做好记录,使用礼貌语言。
讲电话时要简洁、明了,注重听取时间、地点、事由和数字等词电话中应避免使用对方不能理解的专业术语或简略语注重讲话语速不宜过快,打错电话要有礼貌的回答,让对方重新确认。
仪态举止1.站姿:站立是人最基本的姿势,是一种静态的美。
2.做姿:做,也是一种静态造型。
端庄美丽的坐,会给人以文雅、稳重、自然大方的美感。
3.走姿:行走是人生活中的主要动作,走姿是一种动态的美。
男士职场礼仪2男士的礼仪规范注重仪容仪态,外表形象,行为举止并不是女性的专利,男士同样应该注意这些,不修边幅的样子可能在别人心中的印象分大打折扣,注重礼仪是对双方的互相尊重。
1、男士的皮肤由于生理原因,男士的皮肤比较粗糙、毛孔大、容易老化。
男士日常活动量大,平时分泌的汗液和油脂较多,容易使灰尘、污垢聚集,堵塞毛孔,从而引起各种各样的皮肤病和出现体味过重的情况,影响美观。
男士西服套装的分类及选择要领随着全球经济一体化的发展,各国文化、艺术的融合交流加剧,使得人们在服装款式的普.及与接受方面受到了很大影响,_男士西服套装被广泛使用就是一个说明。
世界很多国家已经将西服套装作为男士标谁着装的代表,并成为男士尊严的象征(如图3-1一!所示)。
(一)男士西服套装的种类目前常见的男士西服套装大体分为四种:英式欧式改良欧式美式1.英式西服套装始终保持文质彬彬的绅士风度(如图3-l-2所示英式西服)。
(1)肩很厚,肩线平直,有时仁翘。
(2)领部驳头很宽。
(3)腰部收省,强调腰线造型。
胸部放松量较大,臀部不.太紧身。
(4)后片双开衩。
(5)裤子为直简裤。
2.欧式西服套装凸显优雅和潇洒的风度(如图3-1-3所示欧式西服)。
(1)肩部很宽,肩斜度明显,肩头呈圆形造型。
(2)领型驳头很宽。
(3)收腰,但位置较低,臀部较贴身,呈上宽下窄的倒梯形造型。
(4)后身片不开权。
(5)右侧兜上有零钱兜。
(6)裤子为上宽下窄的锥形裤。
3.美式西服套装追求自然、舒适的着装风格(如图3-1-4所示美式西服)。
(1)垫肩很薄,肩线自然向下倾斜,肩头造型圆顺。
(2)不收腰,造型宽松,呈直简状“I”形。
(3)后身片单开权,只有单排扣形式。
(4)裤子.为较合体的细筒裤。
(二)男士西服套装常规选择要领了解西装的种类及特点,是选择西装款式最基本的知识,在搭配时,首先要了解自己的身材特点,再根据需要进行选择才会达到比较好的效果。
1.西服套装上衣的选择(1)衣长合适:西装上衣应遮住臀部,着装者双臂自然下垂,衣长在拇指的第一关节。
(2)袖长合适:双臂自然下垂,西装袖口刚好碰到手背。
(3)衣身合适:扣合扣子,西装衣服里有一个拳头的宽松量。
(4)肩部合适:西装肩部与肩型相和谐。
(5)领子合适:西装领子抱脖,服帖。
2 .西服套装背心的选择(1)衣长合适:西装背心长度刚好盖住裤腰带。
(2)衣身合适:西装背心能抓起一定的量。
(3)袖窿合适:西装背心的袖窿自然盖住衬衫的袖窿。
男生穿搭风格分类:一.商务风商务风是上班人士的最正式装扮,但不是每天都需要穿着。
主要在正式会议、商业谈判时穿着。
是每一个职场男人衣橱必备的衣服,但穿的时间不多。
一套合体的深色正装西服,必须成套。
面料常为精纺羊毛/羊绒,手感细腻,有光泽(这里不是洗发水广告)。
西服合身是第一位的,具体合身的指标这里就不赘述了,百度一下有一大堆。
西服不合身,不仅衣服掉价,整个人都掉价,更别说跟别人谈什么合同了,气场一下子就荡然无存了。
一双干净的正装皮鞋,材料为头层小牛皮,做工精良合脚,不要落上灰尘。
穿上同色系绅士长袜,确保坐下时不要露出腿毛。
一定要注意,一般正装皮鞋指的是牛津鞋、德比鞋和孟克鞋,乐福鞋等只能算休闲皮鞋。
一件白色或者浅蓝色正装衬衫(dress shirt),简洁平整就好。
要纯棉或者丝绸材质。
纯棉面料透气性好,吸湿排汗,穿着舒适,性价比相对高,但有一个缺点,就是容易起皱,所以每次穿之前要熨烫服帖。
棉就像是好人没好报,天然材质,优点很多,但因为它容易皱,看起来没有化纤面料那么光鲜,就被认为很廉价,这找谁说理去?领带一般要选真丝的,看起来更高级,深色较为正式。
图案要朴素,不要选颜色太艳或者图案夸张的款式,这样只会让自己看起来像理发店的托尼。
袖扣、皮带、公文包、手表这些配饰也很能体现精英人士的品位。
有很多成功人士手上都是戴着一辆豪车出门的,真正的低调奢华。
冬天就在外面加件呢子大衣。
既保暖又有型。
穿对了分分钟签下几个千万大单。
二.Smart casualSmart casual最近这两年很流行,很多大公司的HR会在招聘的时候会提出,公司着装要求smart casual。
一般的大学毕业生谁会知道这smart casual是啥玩样儿呢?好吃吗?Smart一般翻译成精英,casual是休闲的意思。
合起来就是精英休闲风格。
它有个孪生兄弟,叫business casual商务休闲风。
商务休闲风的意思是在上班的时候(除了正式开会,或者拜访客户)穿的衣服,也就是坐在办公室里穿的衣服。
着装手册西服的演变十七世纪末,西服的雏形在欧洲出现,它由究斯特尔(JUSTAUCORPS、法语,意为紧身全体的衣服)和贝斯特(VESET、法语,现代西服背心的前身)以及克尤罗特(CULOTTE、法语意思是紧身的长及膝的半截裤)等构成,类似于现代的三件套西服。
十九世纪,欧洲出现的"拉翁基套装"可视为成形的西服。
二十世纪初,欧洲的西服已经被标准化,穿法也有了明确的规范,已成为活跃于政坛和经济领域的男士们的"制服"。
西服衣身合体,腰部收紧两侧兜盖很大,前摆下角弧度大,裤脚卷起。
二十世纪六十年代以后,西服一直处于稳定状态,基本形式有三件套和两件套两种,已成为全世界的男士最正规的服装。
十七世纪后半叶的路易十四时代,衣长及膝的外衣"究斯特科尔"(Justaucorps)和比其略短的"贝斯特"(Veste),以及紧身合体的半截裤"克尤罗特"(Culotte)一起登上男装的历史舞台,构成现代三件套西服的组成形式和许多穿着习惯;究斯特科尔前门襟扣子一般不扣,要扣一般只扣腰围线一下的几粒――-这就是现代的单排,穿西服一般不扣扣子不为失礼,这就是两粒扣子只扣上面一粒的穿着习惯的由来。
新西服、衬衫使用前注意1.先将袖口处的标签去掉,只能用剪刀小心剪断标签上缝线,千万不能拉拽,以免将西服织线扯断。
2.去掉西服开叉处固定用线。
3.摘去裤子上的标签。
4.认真检查衬衫固定用大头针是否去掉。
5.穿西服、衬衫时注意避开明火。
不同场合的着装知识正式场合的着装出席正式场合――宴会、正式会见、招待会、婚丧礼、晚间的社交活动必须穿深色西服,衬衫要求穿白色衬衫,领带要求配戴有规则花纹或图案的领带,颜色对比不宜太强烈。
半正式场合的着装半正式场合――上班、午宴、一般性访问、高级会议和白天举行的较隆重活动,可以穿中等色、浅色或较明快的深色西服,可穿素净、文雅与西服颜色协调的衬衫,配戴有规则花纹的或是素雅的单色领带。
20种男士服装搭配原则(图解)1.记住三种颜色:白色、黑色、米色这三种颜色被称为“百搭色”。
也就是说他们和任意的颜色搭配都是合理的,因此购买服饰的时候如果不知道什么颜色好,那么这3种颜色将不会出错。
2.三点一线:衣冠楚楚的男人,他的衬衫领开口、皮带袢和裤子前开口外侧应该在一条线上。
3.如果你穿着西装而不系领带,就可以穿那种平底便鞋;如果你系了领带,就绝不可以。
4.新买的衬衫,如果你在脖子与领子之间插进两个手指,说明这件衬衫洗过后仍然会很合适。
5.如果你身材强壮,就需穿深色西服,而不要穿茄克。
6.细条纹或者方格越不明显越好,选择那种只有细看才能看得出图案的面料。
7.在办公室里背背包:在一栋精英云集的高层写字楼里,那里充斥着律师和各种各样其他的职业人,如果你需要一个能用来装你杂七杂八的文件,手机,备忘录等东西的包,买一个好看的MESSENGER包吧!8.欧式对排扣西服由于钮扣位置较低,有一种上半身显长的感觉,所以身材较矮的男士应该慎重穿着。
9.衣领带钮扣的衬衫不能搭配双排扣西服。
10.如果拥有一件大衣,那么应该是灰色的,第二件大衣应该是黑色的,第三件是咖啡色的,第四件是藏青色的。
11.通常锥形西裤应与椭圆形尖头皮鞋相配;直筒裤要与鞋面有W型接缝的皮鞋相配;猎装裤应配高帮翻毛皮鞋才显得帅气、粗犷,鞋与裤子搭配和谐的关键是鞋形、鞋夹与裤形、裤口的几何造型相近。
12.穿西服一般要系领带。
领带的色彩应与西服、衬衫和谐相配。
按照西服——衬衫——领带这三者的顺序是:深—浅—深,浅——中—浅或深——中——浅的配色方法。
13.穿休闲衬衫时不要忘记配衬卡其布、细帆布等同样的休闲风格的裤子以及休闲鞋,颜色的选择你就可以随心所欲。
14.穿花衬衫时一定要避免带大量的金银饰品。
15.格子衬衣配斜纹的领带,直纹的衬衣配方格图案的领带,虽然都是直线条,但却有纹路方向的变化,不会单调呆板。
16.一般而言,只要线与线之间的间距不要过大,线条不致于过粗,都是可以接受的。
西服的演变十七世纪末,西服的雏形在欧洲出现,它由究斯特尔(JUSTAUCORPS、法语,意为紧身全体的衣服)和贝斯特(VESET、法语,现代西服背心的前身)以及克尤罗特(CULOTTE、法语意思是紧身的长及膝的半截裤)等构成,类似于现代的三件套西服。
十九世纪,欧洲出现的"拉翁基套装"可视为成形的西服。
二十世纪初,欧洲的西服已经被标准化,穿法也有了明确的规范,已成为活跃于政坛和经济领域的男士们的"制服"。
西服衣身合体,腰部收紧两侧兜盖很大,前摆下角弧度大,裤脚卷起。
二十世纪六十年代以后,西服一直处于稳定状态,基本形式有三件套和两件套两种,已成为全世界的男士最正规的服装。
十七世纪后半叶的路易十四时代,衣长及膝的外衣"究斯特科尔"(Justaucorps)和比其略短的"贝斯特"(Veste),以及紧身合体的半截裤"克尤罗特"(Culotte)一起登上男装的历史舞台,构成现代三件套西服的组成形式和许多穿着习惯;究斯特科尔前门襟扣子一般不扣,要扣一般只扣腰围线一下的几粒――-这就是现代的单排,穿西服一般不扣扣子不为失礼,这就是两粒扣子只扣上面一粒的穿着习惯的由来。
新西服、衬衫使用前注意1.先将袖口处的标签去掉,只能用剪刀小心剪断标签上缝线,千万不能拉拽,以免将西服织线扯断。
2.去掉西服开叉处固定用线。
3.摘去裤子上的标签。
4.认真检查衬衫固定用大头针是否去掉。
5.穿西服、衬衫时注意避开明火。
不同场合的着装知识正式场合的着装出席正式场合――宴会、正式会见、招待会、婚丧礼、晚间的社交活动必须穿深色西服,衬衫要求穿白色衬衫,领带要求配戴有规则花纹或图案的领带,颜色对比不宜太强烈。
半正式场合的着装半正式场合――上班、午宴、一般性访问、高级会议和白天举行的较隆重活动,可以穿中等色、浅色或较明快的深色西服,可穿素净、文雅与西服颜色协调的衬衫,配戴有规则花纹的或是素雅的单色领带。
非正式场合的着装非正式场合――旅游、访友等,穿着可较为随便自由,可选择色调明朗轻快,花型华美的西服,衬衫可任意搭配,领带也可自由搭配。
西服及马夹钮扣要领上装:有双排扣与单排扣两种。
穿双排扣上装一般要将全部钮扣扣好,有时可不扣下面一粒。
单排扣上装可不扣下面一粒或全部不扣,不要将钮扣全部扣上。
马夹:往往不扣最下面一粒钮扣。
若扎领带的话,应置于马夹里面,注意领带尖不要露出。
在正式场合应穿三件套或两件套,避免加穿毛背心或毛衣。
各种类型的人着装要领A、肥胖体型的人不宜穿浅色、带格的西服,最好穿单色且颜色较深的西服,不应穿宽条,应穿隐条纹面料,肥胖型人不宜穿双排扣西服。
B、身材矮小型衣着要简洁明快,适合穿肩部较宽的上衣,使身体呈V字型,可使身材显高一些,简单、单色的服装也能在视觉上增加人的高度。
C、肤色较白型的人衣服的颜色可自由选择,深浅皆宜。
D、皮肤较粗糙的人不宜穿质料特别精细的衣服,否则衬托出面部皮肤更加粗糙。
E、瘦削体型的人不宜穿深色西服,最好穿颜色浅或是带花格的西服,面料有条型应选择窄条面料。
F、肤色较黑型的人不宜穿浅色的西服,适宜穿颜色较深的西服。
季节的着装要领春万物复苏,欣欣向荣的气象张扬着轻松而温暖的心情。
这一季的颜色可以是光谱中的任意一组,由冷色向暖色过度是最常见的。
例如米黄、葱绿。
面料质地是以紧密、有弹性的精纺面料为主。
结构最好是协调搭配的两件套加风衣。
夏烈日骄阳,无处躲藏的炽热让我们渴望凉爽。
中性色、白与黑的对比,纯质和明质相对弱些的颜色会受欢迎。
例如:本白、象牙黄、浅米灰。
棉、麻、丝是这一季着装的首选面料。
式样简单而裁剪恰当,做工精致的套装可以在工作时或晚会上穿。
秋草木萧疏,满地黄叶应该堆积起沉甸甸的收获心情。
由一组暖色面料构成的着装方式值得推荐。
例如:咖啡色、芥茉黄。
秋季最能体现"整体着装"的方式,两件套的套装,带有马夹的三件套装,或许再加上堑壕式外套――潇洒的风衣。
面料的选择可以多样化,膨松的质地和柔软的裁剪值得考虑。
冬寒极暖至,自然界的暗淡给我们创造展示色彩的机会,反季节的颜色同样会有吸引力。
当然,常规的应该是藏兰、深灰、姜黄、深紫、褐色,冬季也可以整齐、精致的搭配形象出现,这需要技巧,面料可以用羊毛、羊绒、驼绒为原料。
右以精纺也可粗纺。
西服质量的简易鉴别方法消费者在购买服装时,受时间、条件因素的影响,只能采用简易鉴别一件服装的方法,在步骤上可分为:"一量三看",即量尺寸规格,看外型、质量,看内在做工,看原料疪病。
量尺寸规格上衣主要测量衣长、胸围,高档服装可加量领大、袖长、总肩宽。
裤子主要测量裤长、腰围、裤脚。
将测量结果与成衣规格要求作对比,看是否正确,每个部位允许公差在+-%以内即可。
看外型质量(1)上衣三步法上衣的外型、质量分三步鉴别,目测前面、后面、侧面。
前面:看领头、驳头上否平服、端正;看前身胸部是否饱满圆顺,看袋的位置大小是否正确,袋与盖是否平服。
后面:看身后是否平整,肩胛骨部位是否宽舒;看后叉是否平服;看领圆是否平服。
侧面:看肩缝是否顺直;袖子应圆顺、吃势应均匀;看绱袖是否前后一致;看摆缝是否顺直。
(2)裤子三步法裤子的外型质量也可分三步鉴别:平面、上部、立体。
方法也是目测、尺量。
平面:先看外平面(即将挺缝对齐排平),看侧缝是否顺直;看侧缝袋是否服贴,袋势不外露;看裤脚是否服帖,大小一致,不吊兜;然后看里平面(即将一只裤脚拉起),检查下裆缝是否对齐、顺直;看裤缝下裆缝处是否吊起。
上部:看腰头是否平直;看裥子、省缝是否对称;后袋是否服帖、整洁;看串袋小袢是否平服、位置是否准确;看门襟、里襟配合是否合适、圆顺。
立体:将裤子穿着时的形状拎起,看前后裤缝是否圆顺,四个挺缝,裤片、裤缝是否平整、不吊裂。
(3)看内在做工主要检查针迹、手工、夹面和拼接。
(4)看原料疵病主要检查色差情况,表面疵点、倒顺毛、花纹及对格对花情况,表面污渍、变色、汤黄情况,经纬斜度和底边反翘情况,以及虫蛀情况等等。
经过"一量三看"的简易鉴别方法基本可以确认一件服装的质量。
熟练后"三看"可以合并一起进行,这是简单易行的好方法。
西服上衣的选购试衣时,感觉衣服与身体是否舒适。
西服上衣扣上钮扣后,衣服与腹部直间能放下一个拳头。
从侧面看领子没有不自然的隆起。
在背上或前肩没有横斜的皱纹。
西服上衣长度,基本处于手伸直后食指的第二关节处。
不扣西服扣,前下摆不能有分开或重叠现象。
西服袖口处,没有任何不自然皱褶出现。
胳膊做上下、前后、左右摆动也不会有压迫感。
西服裤子的选购裤腰位置以胯骨号2-公分系腰带处为宜。
如身体较胖,则到-公分为宜。
裤挺缝线顺织纹垂直落下。
裤子的大腿部位,留有适度余份。
领带的花样基本上,领带的花样可分为圆点、直条纹、格子、织花、立体花纹,各种活泼花样以及蝴蝶领结。
圆点:圆点愈小,给人愈正式的感觉:圆点大的领带使人较有精神。
※织纹:针织的领带,象丝质的薄纱,通常是金或银的颜色,织成的结构就是领带的花样。
∥条纹:斜条纹的领带来自英国俱乐部以及军团制服所使用的花样。
领带的保养方法1. 领带使用后,请立即解开领结,并轻轻从领口解开,因用力拉扯表布及内衬,纤维及易断裂,造成永久的皱褶。
2. 领带每次戴完,结口解开后,将领带对折平放或用领带架子吊起来,并留意置放处是否平滑,以免刮伤领带。
3. 开车系安全带时,勿将领带置于安全带内,以免产生皱褶。
4. 领带戴完一次后,请隔几天再戴,并将领带置于潮湿的场所或喷少许水,使其皱褶处恢复原状后,再收至干燥处平放或吊立。
5. 领带粘染污垢后,立即干洗。
6. 处理领带结口皱褶,请用蒸气熨斗低温熨烫,水洗及高温熨烫,容量造成变形而受损。
男人的衣柜男人的衣柜可以不像女人的,被得满满的,但也要有个基本的件数。
考究的男人忌讳两天重复穿同一身衣服。
因此,秋冬时节,男人至少要备上五套装,五套中可以有成套西装,也可以有自由搭配的套装,但一定要协调。
在五身服装里,有一身应是能出入一定场合所用的,既适于白天的活动,也适于晚上场合,颜色最好是深灰或深蓝。
建议男仕在选购衣服时,注意款式的传统性与质量。
质量考究、式样传统的衣服会经久耐用,永不过时。
西服,尤其是毛料的西服,穿过之后要使之"休息",会帮助布料延长寿命,而不用常去洗衣店清洗,最好是衣服被穿过一天之后,挂入衣柜几天后再穿,衣柜最好能常通风。
从传统上说,单排扣的西装,加西服背心或不加,通常是白天的装束。
而双排扣的西装,一般在下午才可以穿,适合参加鸡尾酒会或晚会,白天的西装最好配浅蓝色衬衫,晚间穿的西装若配上白色衬衫,会使人更显庄重,晚上穿的皮鞋以黑色为佳。
面料上带花纹或格子图案的西装被看作是休闲类的服装,灯芯绒布的西装也可视为同类,但又有高雅一面,建议每位白领男士的衣柜应备有一套羊绒或羊绒与其它纤维混纺的外套,既高雅又有休闲之感。
至于春夏的服装,与秋冬的大同小异,不过就是布料薄、颜色浅一些。
西服上衣的种类及系扣的规矩单排单扣:仅用作燕尾服。
单排两扣:十八世纪用作猎装,十九世纪中开始广泛流行系上边扣。
单排三扣:双开叉被视为最庄重最经典式。
仅需系中间钮扣,或仅系上边扣。
正装休闲:四扣明兜,单开叉,被视为介于休闲及正装之间的款式。
西装的兜与兜盖带兜盖的西服上衣属休闲类,兜盖的长短一般与口袋一样,上下高度为至厘米,兜盖可以放入口袋内。
十九世纪时,只有猎装才有兜盖,十分正规的西装没有兜盖。
在西服上部的内兜用于装文件或钱包;下边的内兜用于装香烟和糖果。
男士最常用领带结法全图解1、平结平结为最多男士选用的领结打法之一,几乎适用于各种材质的领带。
要诀:领结下方所形成的凹洞需让两边均匀且对衬。
2、交叉结这是对于单色素雅质料且较薄领带适合选用的领结对于喜欢展现流行感的男士不妨多加使用“交叉结”。
3、双环结一条质地细致的领带再搭配上双环结颇能营造时尚感,适合年轻的上班族选用。
该领结完成的特色就是第一圈会稍露出于第二圈之外,可别刻意给盖住了。
4、温莎结温莎结适合用于宽领型的衬衫,该领结应多往横向发展。
应避免材质过厚的领带,领结也勿打得过大。
5、双交叉结这样的领结很容易让人有种高雅且隆重的感觉,适合正式之活动场合选用。
该领结应多运用在素色且丝质领带上,若搭配大翻领的衬衫不但适合且有种尊贵感。
6、亚伯特王子结适用於浪漫扣领及尖领系列衬衫搭配浪漫质料柔软的细款领带正确打法是在宽边先预留较长的空间并在绕第二圈时尽量贴合在一起即可完成此一完美结型7、四手结(单结)是所有领结中最容易上手的适用於各种款式的浪漫系列衬衫及领带8、浪漫结浪漫是一种完美的结型故适合用於各种浪漫系列的领口及衬衫完成後将领结下方之宽边压以绉摺可缩小其结型窄边亦可将它往左右移动使其小部份出现於宽边领带旁9、简式结(马车夫结)适用於质料较厚的领带最适合打在标准式及扣式领口之衬衫将其宽边以180度由上往下翻转并将折叠处隐藏於後方待完成後可再调整其领带长度。