工程建设项目的一般流程
- 格式:doc
- 大小:1.13 MB
- 文档页数:25
一、工程建设项目前期工作流程1.基本流程项目建议书可行性研究项目评估立项决策方案设计初步设计及其审批扩初步设计施工图设计及其审批建设准备施工许可施工与安装生产准备竣工验收竣工结算与竣工决算项目后评价采购与施工阶段工程设计阶段交付使用阶段投资决策阶段2.建设项目投资决策(建议书、可行性研究报告)流程政府投资项目 企业投资项目编制项目建议书报批项目建议书通过通过划拔、出让等方 式获得土地使用权进 行项 目可行性研究通过进行项目评估 未 通过准通过报批可行性研究报告 申请核准或者登记备案批准 通过实施项目签署土地出让 合同,缴纳土 地出让金,领 取《国有土地 使用权证》办理《拆迁许 可证》并委托 拆迁公司进行拆迁通过招标、拍卖、挂牌 等方式获得土地使用权投资机会研究项目终止未通过未批准通过批未批准或者未通过编制设计阶段管理工作计划委托设计单位进行方案设计 报审绿化、人防规划设计、委托勘探规划主管部门审定设计方案(颁发通知书),核发建设用地规划许可证委托设计单位进行初步设计落实市政配套方案 并签署有关协议人防主管部门审 查人防初步设计 公安部门审查 消防初步设计公安交通管理部门审查停车场 (库)及内容外道路设计初步设计经行政主管部门批准 计划及建设行政主管部门列入年度开工计划委托设计单位进行施工图设计人防施工图审批 消防施工图审批 规划部门审查通过施工图领取建设规划许可证征求水电 、燃气 、供热等市政部门的意见交通规划设计方案审核日照影响测算报告抗震设计方案审核节水设计方案审核文物设计方案审核卫生设计方案审核消防设计方案审核节能设计方案审核保密设计方案审核的其他审核项目编制建设准备阶段管理工作计划到开户行办理资金证明落实施工现场三通一平委托招标代理机构代理招标选定承包单位,签署施工合同选定设备、材料供应单位,签署采购活动选定监理单位,签署委托监理合同办理招标、施工、监理合同及中标通知书备案手续办理质量监督及施工安全监督手续,领取受理通知合格踏勘现场合格领取施工许可证退回材料,条件合格后重新申报不具备开工条件的退件,现场违章开工的赋予处罚,待条件合格后补办组织召开第一次工地会议、参加图纸会审不合格不合格二、工程建设项目管理流程1.项目管理基本流程签订项目管理委托合同项目建议书可行性研究报告项目评估方案设计初步设计施图设计施工前准备施工及设备安装试运行竣工验收备案及工程移交项目后评价签订项目可行性研究委托合同向园林部门报审规划方案向人防部门报审人防规划方案委托设计部门进行方案设计委托勘查单位进行地质勘探取得规划意见书基础测绘地形图确定投资估算取得用地规划许可证,审定设计方案通知确定的投资概算确定投资预算审查通知施工图领取建设工程规划许可证施工招标 办理施工许可证 设备、材料定货竣工决算投资决策阶段施工及安装阶段竣工阶段设计阶段竣工期项目建设准备期项目建设实施期2.招投标基本流程招标工作准备建设单位或者招标代理机构发布招标信息公告投标单位到招标代理机构办理投标申请不符合规定投标单位资格预审合格确定投标单位不合格取销投标资格领取招标文件 符合有关规定勘察现场不合格标前会议和招标文件答疑不合格接受投标单位的投标文件合格召开 开标、评标、定标会议合格确定中标单位,发出中标通知书签订合同不符合有关规定 取销投标资格3.合同签订流程确定合同结构和性质合同条件拟定与合同签定单位谈判是否存在合同条件异议商议后做出调整方案合同签订项目合同、信息管理部门备案返回重做4.施工准备流程制定工程项目管理计划表落实三通一平和大型暂时工程设施计划和实施方案办理相关手续组织设备和材料招标工作确定设备和主要材料供应商审核图纸,编制施工技术组织措施,编制施工图预算落实年度资金使用情况及贷款计划采取招标形式确定工程参建单位施工技术准备发布工程开工令5.项目风险管理与信息管理流程 (1)项目风险管理流程风险管理开始是识别项目风险否风险是否定量?定性处理是小风险量大小?大是风险是否可以预防和减小?否剩余风险是否很大?是是否灾难性风险?否否风险能否自身承担?是风险转移实施、检查• 消极保留 • 非保险转移 • 回避风险 • 积极保留 • 保险转移 • 减小风险风险管理结束是否有风险?风险控制风险保留是否否(2)项目信息管理流程勘察设计物质供应单位相关工程信息单位6.竣工验收流程项目管理部门采集工程建设相关信息信息需求分析信息处理及判断正确明确信息要素信息分析的预见性报告针对不同用户的各种报告向有关部门发布信息通报不正确反馈信息正确项目决策机构正确相关部门执行政府相关部门建设单位监理单位承建单位编制竣工验收计划接受承建单位的竣工验收申请审核是否符合竣工验收的条件不符合重新申请不予验收不予验收要求相关单位完善不合格不合格工程建设项目有关内业资料的审核合格规划、人防、消防、环保、环境工程完成情况完成检查各承建单位合同范围内的项目是否完成合格组织相关单位人员参加验收并签署验收文件不予验收限期完成要求承建单位限期完成合格向建设质量监督机构提出申请不合格质量监督部门验收合格按有关规定进行工程备案向建设单位进行工程移交有未完不合格不正确不正确工程项目监理工作基本流程1.工程项目实施监理的总流程监督承包单位技术管理及质量保证体系的落实检查施工现场安全防护消防、环保卫生设、施文明施工,提出意见并监督执行总监理工程师组织建设单位、设计单位、承包单位进行竣工预检1、承包单位对预检结果需要整理修处,由监理人员验收合格;2、对承包单位的质量保证资料进行验收签订委托监理合同、接受监理工作施工监理的前期准备工作;1、成立项目管理机构、委派总监理工程师;2、明确监理人员的职务及岗位责任;3、配备监理设施及设备;4、熟悉施工图纸、施工图纸会审;5、分析研究委托监理合同及施工合同;6、编制项目监理规划及实施细则施工准备阶段的监理工作;1、参预设计交底;2、审定施工组织设计(施工方案);3、查验施工测量成果;4、施工现场周围环境的调查;召开第一次工地会议,监理交底核查工程开工条件,核准开工催促承包单位按照施工图纸、规范、管理程序及施工组织设计施工总监理工程师组织监理人员对竣工工程进行预检准备1、组织对地基基础、主体工程、门窗工程、装饰工程、地面工程、水、暖、电、卫、煤气、电梯工程等分部工程及所属分项工程的验收及试运行;2、监督检查承包单位的施工技术资料,整理监理资料。
一、工程建设项目前期工作流程
1.基本流程
2.建设项目投资决策(建议书、可行性研究报告)流程
政府投资项目企业投资项目
二、工程建设项目管理流程
1.项目管理基本流程
2.招投标基本流程
3.合同签订流程
4.施工准备流程
5.项目风险管理与信息管理流程
(1)项目风险管理流程
• 积极保留• 保险转移• 减小风险
(2)项目信息管理流程
6.竣工验收流程
工程项目监理工作基本流程1.工程项目实施监理的总流程
修改
9.组织协调控制流程
10.工程质量问题与工程质量事故处理流程
11.工程安全事故处理流程
处
理
12.工程洽商控制与签证工作流程
13.工程竣工验收控制流程
14.保修阶段监理工作流程
总会看清一些事。
用一些事情,总会看清一些人。
有时候觉得自己像个神经病。
既纠结了自己,又打扰了别人。
努力过后,才知道许多事情,坚持坚持,就过来了。
4.岁月是无情的,假如你丢给它的是一片空白,它还给你的也是一片空白。
岁月是有情的,假如你奉献给她的是一些色彩,它奉献给你的也是一些色彩。
你必须努力,当有一天蓦然回首时,你的回忆里才会多一些色彩斑斓,少一些苍白无力。
只有你自己才能把岁月描画成一幅难以忘怀的人生画卷。
工程建设工作流程工程建设是一个复杂的过程,需要进行各种各样的工作。
为了能够高效地完成工程建设项目,需要建立一套科学合理的工作流程。
下面是一个工程建设的一般工作流程。
一、前期准备在进行任何工程建设之前,需要进行充分的前期准备工作。
这包括确定项目需求、制定项目计划、编制项目可行性研究报告、进行项目选址和规划等。
在这个阶段,需要收集相关的资料和数据,进行必要的调研和分析,以确定项目的可行性和可行性。
二、设计阶段在完成前期准备工作后,进入设计阶段。
在设计阶段,需要进行建筑方案设计、施工图设计、工程量清单的编制等工作。
设计阶段通常需要与业主和设计师进行反复的沟通和协商,以满足业主的需求和要求。
设计阶段的完成目标是产生满足技术指标和规范要求的施工图纸和设计文件。
三、招投标阶段设计阶段完成后,进入招投标阶段。
在这个阶段,施工单位会发布工程招标公告,邀请各承包商参与投标。
承包商需要提供相关的报价和资质证明,经过评审后,选择一个或多个承包商。
四、施工阶段在完成招投标工作后,进入施工阶段。
施工阶段是整个工程建设的核心阶段。
在这个阶段,承包商需要根据施工图纸和设计文件,进行工程的实际建设。
施工过程中需要进行工程设备的调试和安装,材料的采购和配送,劳动力的组织和管理等。
同时,还需要进行工程质量的检验和验收,确保施工过程和施工成果的可靠性和安全性。
五、监理和验收阶段在工程建设的过程中,通常还会配备监理人员对施工过程进行监督和检查,确保施工的质量和进度。
同时,还需要进行工程的验收,并将验收结果报送给业主。
验收合格后,项目正式交付使用。
六、运维和维护阶段在工程建设项目交付后,还需要进行后续的运维和维护工作。
这包括设备的日常维护、工程的巡检和保养等。
在这个阶段,需要建立起完善的运维和维护体系,以确保工程的正常运行和可持续发展。
以上就是一个典型的工程建设的工作流程。
当然,不同的工程项目可能存在一些差异和细节上的变化。
但是,这个工作流程的基本框架对于大部分工程建设项目都是适用的。
一、工程建设项目前期工作流程
1.基本流程
2.建设项目投资决策(建议书、可行性研究报告)流程
政府投资项目企业投资项目
二、工程建设项目管理流程
1.项目管理基本流程
2.招投标基本流程
3.合同签订流程
4.施工准备流程
5.项目风险管理与信息管理流程
(1)项目风险管理流程
• 积极保留• 保险转移• 减小风险
(2)项目信息管理流程
6.竣工验收流程
工程项目监理工作基本流程1.工程项目实施监理的总流程
修改
9.组织协调控制流程
10.工程质量问题及工程质量事故处理流程
11.工程安全事故处理流程
处
理
12.工程洽商控制及签证工作流程
13.工程竣工验收控制流程
14.保修阶段监理工作流程。
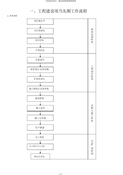
一、工程建设项当先期工作流程1.基本流程项目建议书可行性研究项目评估立项决议方案设计初步设计及其审批扩初步设计施工图设计及其审批建设准备投资决策阶段工程设计阶段采施工允许购与施施工与安装工阶段生产准备完工查收交付完工结算与完工决算使用阶段项目后评论2.建设项目投资决议(建议书、可行性研究报告)流程政府投资项目公司投资项目编制项目建议书投资时机研究未报批项目建议书通经过过经过经过划拔、出让等方经过招标、拍卖、挂牌式获取土地使用权等方式获取土地使用权未批准进行项目可行性研究或未经过通过进行项目评估未经过批经过准项目停止未赞同报批可行性研究报告申请赞同或登记存案赞同经过实行项目签订土地出让合同,缴纳土地出让金,领取《国有土地使用权证》办理《拆迁许可证》并拜托拆迁公司进行拆迁3.建设项目设计阶段工作流程编制设计阶段管理工作计划拜托设计单位进行方案设计报审绿化、人防规划设计、拜托勘探交征消节文卫日通抗节保等求防水物生照规震能密市水设设设设影划设设设政电计计计计响设计计计部、方方方方测计方方方门燃案案案案算方案案案的气审审审审报案审审审意、核核核核告审核核核见供核热规划主管部门判定设计方案(颁发通知书),核发建设用地规划允许证拜托设计单位进行初步设计的其他审核项目落实市政配套方案人防主管部门审公安部门审察公安交通管理部门审察泊车场并签订有关协议查人防初步设计消防初步设计(库)及内容外道路设计初步设计经行政主管部门赞同计划及建设行政主管部门列入年度动工计划拜托设计单位进行施工图设计人防施工图审批消防施工图审批规划部门审察经过施工图领取建设规划允许证4.建设项目准备阶段工作流程编制建设准备阶段管理工作计划到开户行办理资本证明落实行工现场三通一平拜托招标代理机构代理招标选定承包单位,签订施工合同选定设备、资料供给单位,签订采买活动选定监理单位,签订拜托监理合同办理招标、施工、监理合同及中标通知书存案手续不合格办理质量监察及施工安全监察手续,领取受理通知退回资料,条件合格后从头申报合格踏勘现场不合格不具备动工条件的退合格件,现场违章动工的赐予处分,待条件合领取施工允许证格后补办组织召开第一次工地会议、参加图纸会审1.项目管理基本流程二、工程建设项目管理流程项目投资建决设策准阶备段期设计阶段项目建设实施期施工及安装阶段竣竣工工阶期段签订项目管理拜托合同项目建议书可行性研究报告项目评估方案设计初步设计施图设计施工前准备施工及设备安装试运转完工查收存案及工程移交签订项目可行性研究拜托合同向园林部门报审规划方案向人防部门报审人防规划方案拜托设计部门进行方案设计拜托勘查单位进行地质勘探获得规划建议书基础测绘地形图确立投资估量获得用地规划允许证,判定设计方案通知确立的投资概算确立投资估量审察通知施工图领取建设工程规划允许证施工招标办理施工允许证设备、资料订货完工决算项目后评论2.招招标基本流程招标工作准备建设单位或招标代理机构公布招标信息通告招标单位到招标代理机构办理招标申请招标单位资格预审合格不切合规定确立招标单位领取招标文件切合有关规定勘探现场标前会讲和招标文件答疑接受招标单位的招标文件合格不合格召开开标、评标、定标会议合格确立中标单位,发出中标通知书签订合同不合格撤消招标资格不合格不切合有关规定撤消招标资格3.合同签订流程确立合同构造和性质合同条件制定返与合同签订单位谈判回重做能否存在合同条件异议磋商后做出调整方案合同签订项目合同、信息管理部门存案4.施工准备流程拟订工程项目管理计划表落实三通一平和大型暂时工程设备计划和实行方案办理有关手续组织设备和资料招标工作确立设备和主要资料供给商审察图纸,编制施工技术组织举措,编制施工图估量落实年度资本使用状况及贷款计划采纳招标形式确立工程参建单位施工技术准备公布工程动工令5.项目风险管理与信息管理流程( 1)项目风险管理流程风险管理开始是能否有风险?辨别项目风险否风险管理结束风险能否认量?否是定性办理小风险量大小?大是风险能否能够预防和减小?否否节余风险能否很大?风险控制是是能否灾害性风险?否否风险可否自己担当?是风险保存风险转移实行、检查悲观保存踊跃保存非保险转移保险转移回避风险减小风险( 2)项目信息管理流程项目管理部门勘探设计物质供给单位采集工程建设有关信息政府有关部门有关工程信息单位建设单位不信息需求剖析监理单位正承建单位确信息办理及判断正确明确信息因素信息剖析的预示性报告针对不一样用户的各样报告向有关部门公布信息通告不正确反应信息正确不正确项目决议机构正确有关部门履行6. 完工查收流程编制完工查收计划接受承建单位的完工查收申请从头申请不切合不予查收审察能否切合完工查收的条件不予不予验不合格工程建设项目有关规划、人防、消防、环有未完查收收要求内业资料的审察保、环境工程达成状况限时有关单达成位完美合格达成检查各承建单位合同范围不合格要求承建单位内的项目能否达成限时达成合格不合格组织有关单位人员参加查收并签订查收文件合格向建设质量监察机构提出申请不合格质量监察部门查收合格按有关规定进行工程存案向建设单位进行工程移交工程项目监理工作基本流程1.工程项目实行监理的总流程监察承包单位技术管理及质量保证系统的落实检查施工现场安全防备消防、环保卫生设、施文明施工,提出建议并监察履行总监理工程师组织建设单位、设计单位、承包单位进行竣工预检签订拜托监理合同、接受监理工作施工监理的先期准备工作;1、成立项目管理机构、委派总监理工程师;2、明确监理人员的职务及岗位责任;3、装备监理设备及设备;4、熟习施工图纸、施工图纸会审;5、剖析研究拜托监理合同及施工合同;6、编制项目监理规划及实行细则施工准备阶段的监理工作;1、参加设计交底;2、判定施工组织设计(施工方案);3、检验施工丈量成就;4、施工现场四周环境的检查;召开第一次工地会议,监理交底核查工程动工条件,赞同动工敦促承包单位依据施工图纸、规范、管理程序及施工组织设计施工总监理1、组织对地基基础、主体工工程师程、门窗工程、装修工程、地组织监面工程、水、暖、电、卫、煤理人员气、电梯工程平分部工程及所对完工属分项工程的查收及试运转;工程进2、监察检查承包单位的施工行预检技术资料,整理监理资料。
工程建设项目的一般流程
一般工程建设项目的一般流程包括规划、勘测、设计、施工、竣工等
5个基本环节。
具体流程如下:
一、规划阶段
1、项目设立:项目立项,负责项目组织协调工作。
2、编制规划:根据国家、最终用户的要求,编制项目规划方案。
3、编制评估:根据社会、经济、环境等影响,进行综合性的评估。
4、编制计划:根据规划方案和评估结果,编制建设项目的总体计划。
二、勘测阶段
1、制定勘测计划:根据总体计划,制定勘测计划。
2、确定勘测点:根据勘测计划,确定勘测点的位置。
3、开展勘测:开展实际的勘测作业,收集项目地质、水文、气象等
方面的勘测资料。
4、编制勘测报告:根据勘测资料,编制勘测报告,为设计提供参考。
三、设计阶段
1、编制方案设计:根据工程的总体要求,编制方案设计。
2、编制工程设计:依据方案设计,编制工程设计,包括地形、水文、构造等工程设计。
3、核定工程设计:根据现场条件,进行工程设计的审核和核定。
4、编制施工图:确定施工技术指标,并编制施工图纸。
四、施工阶段。
工程项目建设流程工程项目建设是一个复杂而又重要的过程,它涉及到众多的环节和步骤。
在进行工程项目建设时,需要按照一定的流程来进行,以确保项目能够顺利进行并取得成功。
下面将介绍工程项目建设的一般流程。
第一步,确定项目需求。
在进行工程项目建设之前,首先需要明确项目的需求。
这包括项目的性质、规模、功能、用途等方面的需求。
只有明确了项目的需求,才能够有针对性地进行后续的工作。
第二步,项目立项。
项目立项是工程项目建设的重要环节。
在项目立项阶段,需要进行项目可行性研究,确定项目的投资规模、建设内容、建设地点等重要内容。
同时,还需要进行项目的论证和批复,确保项目的合理性和可行性。
第三步,编制项目规划。
在项目立项之后,需要对项目进行详细的规划。
这包括项目的总体规划、专项规划、施工图设计等内容。
项目规划需要充分考虑项目的环境影响、资源利用、经济效益等因素,确保项目能够符合相关的法律法规和标准要求。
第四步,项目招投标。
项目规划完成之后,需要进行项目的招投标工作。
这包括发布招标公告、接受投标文件、评标、确定中标人等环节。
通过招投标工作,可以选择到具有实力和经验的施工单位,确保项目能够按时按质完成。
第五步,施工实施。
当确定了施工单位之后,就需要进行项目的施工实施工作。
这包括施工准备、施工组织、施工管理等内容。
在施工实施阶段,需要严格按照施工图纸和技术规范进行施工,确保工程质量。
第六步,工程验收。
工程项目建设完成之后,需要进行工程的验收工作。
这包括工程竣工验收、环保验收、安全验收等内容。
只有通过了工程验收,项目才能够正式投入使用。
第七步,项目运营管理。
项目建设完成之后,还需要进行项目的运营管理工作。
这包括项目的设施维护、安全管理、环境保护等内容。
通过运营管理,可以确保项目能够长期稳定地运行。
总之,工程项目建设是一个复杂而又系统的过程,需要各个环节的紧密配合和协同努力。
只有严格按照规定的流程进行,才能够保证项目的顺利进行和取得成功。
一、工程建设项目前期工作流程
1.基本流程
2.建设项目投资决策(建议书、可行性研究报告)流程
政府投资项目企业投资项目
二、工程建设项目管理流程
1.项目管理基本流程
2.招投标基本流程
3.合同签订流程
4.施工准备流程
5.项目风险管理与信息管理流程
(1)项目风险管理流程
• 积极保留• 保险转移• 减小风险
(2)项目信息管理流程
6.竣工验收流程
工程项目监理工作基本流程1.工程项目实施监理的总流程
修改
9.组织协调控制流程
10.工程质量问题及工程质量事故处理流程
11.工程安全事故处理流程
处
理
12.工程洽商控制及签证工作流程
13.工程竣工验收控制流程
14.保修阶段监理工作流程。
1、立项。
即项目建设单位向发改部门报送项目建议书,提出立项申请,发改部门审察通事后下达项目建议书批复文件(发改部门批复项目建议书即视为立项)。
该环节产生的必备档案有:①项目建设单位向发改部门提出的立项申请文件(②附项目建议书);③发改部门对项目建议书的批复文件。
2、可行性研究。
(1)可行性研究前置审批程序。
项目建设单位依照发改部门出具的项目建议书批复文件,分别向建设规划、领土资源、环境保护、地震部门申请办理规划选址、用地预审、环境影响评论、地震安全性评论手续。
该环节产生的必备档案有:① 建设规划部门出具的建设项目规划选址建议书;② 领土资源部门出具的用地预审文件;③环境保护部门出具的环境影响评论文件(环境影响报告书、环境影响报告表、环境影响登记表);④ 地震部门出具的地震安全性评论文件。
(2)编报项目可行性研究报告。
项目立项后,项目建设单位向发改部门报送可行性研究报告(并附规划选址、用地预审、环境影响评论审批文件),提出审察同意申请,发改部门审察通事后下达项目可行性研究报告批复文件。
该环节产生的必备档案有:①项目建设单位向发改部门提出的项目可行性研究报告同意申请文件(② 附项目可行性研究报告);③ 发改部门对项目可行性研究报告的批复文件。
④ 可研编制单位资质及法人代表身份证明;⑤依据不一样项目,上司要求一并报送的其余附件。
(3)办理建设规划允许、用地规划允许。
项目单位依照发改部门出具的可行性研究报告批复文件,分别向城乡建设规划部门申请办理“两证”(建设项目规划允许证、建设工程规划允许证),向领土资源部门申请办理用地规划允许。
该环节产生的必备档案有:① 城建部门出具的“两证”(建设项目规划允许证、建设工程规划允许证);②领土部门出具的用地规划允许通知书。
3、初步设计(1)初步设计。
一般包含初步设计和施工图纸设计两个阶段)。
可行性研究报告获批后,项目单位组织编制初步设计和概算书并报送到发改部门,提出审察同意申请。
工程建设的流程前期准备阶段前期准备阶段是工程建设的第一阶段,包括以下主要内容:1.项目可行性研究:对项目进行可行性研究,包括技术、经济、环境等方面评估,确定项目的可行性。
2.立项申报:将项目提出并提交相关部门进行审批,获得工程建设的批准。
3.规划编制:根据项目需求和相关法规,编制项目的工程规划和设计方案,包括土地利用、建筑布局、设施设计等。
4.资金筹措:确定项目资金需求,并通过政府拨款、融资、投资等方式筹措资金。
5.地勘与测绘:进行土壤、地质、水文等调查,获取项目所需的地理信息和地形数据。
设计阶段设计阶段是工程建设的第二阶段,包括以下主要内容:1.方案设计:根据前期准备的工程规划和设计方案,进行详细的设计,确定工程的结构、布局、材料等。
2.施工图设计:根据方案设计,绘制详细的施工图纸,包括平面图、剖面图、构造图等,以便施工人员进行具体操作。
3.材料选购:根据设计需求,确定工程所需的材料种类、规格和数量,并进行采购。
4.技术交底:将设计方案和施工图纸交底给施工单位,确保施工人员准确理解并按照设计要求进行施工。
施工阶段施工阶段是工程建设的第三阶段,包括以下主要内容:1.土建施工:根据设计图纸,进行土方开挖、基础施工、结构施工等工程建设的土建施工工作。
2.装饰与设备安装:进行室内外装饰工程和设备安装工程,包括油漆粉刷、墙面贴砖、设备安装等。
3.施工管理:进行现场施工管理,包括进度控制、质量控制、安全控制等,确保施工工作按照设计要求进行。
4.施工过程中的变更和调整:根据实际施工情况,进行必要的设计变更和调整,保证工程的顺利进行。
竣工验收阶段竣工验收阶段是工程建设的最后一阶段,包括以下主要内容:1.竣工验收申请:施工完成后,由施工单位向相关部门进行竣工验收申请。
2.竣工验收评估:相关部门对工程进行验收评估,包括对工程质量、安全性、环境影响等方面的检查。
3.竣工验收报告:验收合格后,编制竣工验收报告,提交相关部门进行备案。
工程项目建设程序一、工程建设前期阶段一项目建议书二可行性研究三立项二、工程建设准备阶段一报建二委托规划、设计三获取土地使用权四拆迁、安置五工程发包与承包三、工程建设实施阶段一工程建设项目施工准备管理二工程建设项目组织施工阶段的管理四、工程竣工验收备案与保修阶段一工程竣工验收及备案二工程保修投资许可证发改委项目建议书发改委办理选址意见书规划局可行性研究报告发改委工程报建备案建委立项发改委确定施工队伍招标办施工许可证建委建设实施监理、施工队伍建设工程规划许可证规划局初步设计施工图设计建委建设用地规划许可证规划局竣工验收及保修建委确定监理队伍招标办确定勘察设计队伍招标办交纳建设费用财政消防、人防、园林气象、市政配套手续各相关部门建设资金审计审计局确定材料、设备供应商招标办申请土地开发使用权国土房管局拆迁、安置国土房管局质量监督质检站安全监督安监站施工放验线规划局报开工报告年度计划申请文件发改委工程建设程序图承办内容承办单位图示环境影响评价文件报审环保局用地预审报审规划局地震安全性评价环保局附图程序流程建设单位申请办理选址意见书xx市发改委立项建设单位委托做总平面图规划局组织审总平面图规划局办理用地规划许可证国土房管局办理用地手续建设单位委托设计并提供设计方案审批设计方案,其中规划局审批方案建设单位委托作初步设计初步设计审批规划局审查项目管理意见建设单位委托做施工图施工图审查机构审施工图建设单位办理公安消防、园林、气象、人防、市政、交通手续市建委办理施工图审查批准书规划局发建筑核位红线规划局办理工程规划许可证建设单位招投标质量监督手续、白蚁防治合同、文明安全责任书缴纳建设工程规费办理施工许可证凭进场通知书放线验线竣工验收备案第一部分工程建设前期阶段工程建设的前期阶段主要指的是在工程建设的初期,建设单位形成投资意向,通过对投资机会等的研究和决定,形成书面文件上报主管部门和发改委进行审批,进而立项的过程.主要包括编制项目建议书和可行性研究报告,并通过立项审批.一、项目建议书由发改委实施一项目建议书一般应包括以下几方面的内容:1、项目提出的必要性和依据;2、产品方案、拟建规模和建设地点的初步设想;3、资源情况、建设条件、协作关系等的初步分析;4、投资估算和资金筹措设想;5、项目的进度安排;6、经济效益和社会效益的估计.二报送材料:符合编制要求的项目建议书、审批请示及有特殊规定必备的附件材料.注:若建设单位具有编制项目建议书及可行性研究报告等的能力,可自行编制.如不具备自行编制能力,可先行实行监理招标及设计招标,委托具有编制能力及相关资格的监理单位或设计单位编制.监理及设计招标要及时备案.二、办理建设工程选址意见书由规划局实施一通过招标拍卖挂牌方式取得国有土地使用权的建设项目,无并联审批项目的报送材料:1、书面申请原件1份;2、国有土地使用权出让合同复印件1份,需核对原件;3、1:500现状地形图原件2份,附电子文档.二非招标拍卖挂牌方式取得国有土地使用权的建设项目,建设工程选址意见书的审批,申请人需向规划部门提交下列申请材料:1、书面申请原件1份;2、土地权属证明复印件1份,限在自有土地权属范围内申请建设的工程项目;3、1:500现状地形图原件2份,附电子文档;4、项目建议书批复文件或书面意见原件1份,限政府投资项目.书面意见仅用于投资行政主管部门同意合并审批项目建议书与项目可行性研究报告的建设项目;5、相关协议原件1份,限联建的建设项目;6、开发办批文及相关协议原件1份,限转让的建设项目;7、开发资质证书复印件1份.三非招标拍卖挂牌方式取得国有土地使用权的建设项目,建设工程选址意见书的审批,申请人需向协办部门提交下列申请材料:1、消防安全审查限经批准的规划中未明确的易燃易爆建设项目1建筑工程消防设计申报表原件1份;21:500现状地形图原件1份,火工生产及储存项目,还需提交反映周边2000米范围现状的1:2000地形图1份2、地质灾害危险性评估审查限经批准的规划中未作场地地质灾害评估的区域内的建设项目和已作区域性评估中属地质灾害易发区的建设项目地质灾害危险性评估报告内容一般包括:工程建设可能诱发、加剧地质灾害的可能性;工程建设本身可能遭受地质灾害危害的危险性;工程建设适宜性结论;采取防治措施的建议.1地质灾害危险性评估报告原件1份;2地质灾害危险性评估登记申请表或报告备案登记表原件1份.3、建设用地预审限需新征集体土地的建设项目1建设项目用地预审表原件1份;2建设项目用地预审申请报告原件1份,内容包括建设项目基本情况、选址情况、拟用地总规模和拟用地类型,项目需使用土地利用总体规划确定的城市建设用地范围外的农用地的,还应包括补充耕地初步方案;3项目建议书批复文件或书面意见1份,限政府投资项目.书面意见仅用于投资行政主管部门同意合并审批项目建议书与项目可行性研究报告的建设项目;4标注有项目拟用地范围的1:1万乡镇土地利用总体规划图1份,建设项目跨乡镇的,申请人应分别在建设项目所涉及各乡镇1:1万土地利用总体规划图上标注拟用地范围.都市区范围内各区国土资源部门应无偿向申请人提供1:1万乡镇土地利用总体规划图底图供申请人复印.4、国家安全审查限位于市委、市政府、部队副军级以上机关、重要军事设施和要害部门周边500米范围内的下列建设项目:①外国政府驻渝机构;②外商投资的建设项目包括外商独资、中外合资两种情况1涉及国家安全事项的建设项目申报表规划选址原件1份;21:2000地形图原件1份,能反映建设项目及其周边500米内现状.三、建设用地预审报预国土资源局实施报送材料:一建设项目用地预审申请表原件1份;二建设项目用地预审申请报告原件1份,内容包括建设项目基本情况、选址情况、拟用地总规模和拟用地类型,项目需使用土地利用总体规划确定的城市建设用地范围外的农用地的,还应包括补充耕地初步方案;三属政府投资项目的,需提供项目建议书批复文件和项目可行性研究报告1份,项目建议书与项目可行性研究报告合并审批的,只提供项目可行性研究报告文本;四、区县自治县、市国土资源管理部门对建设项目用地的初审意见1份,项目跨区的,应提供项目所涉及的各区县自治县、市国土资源管理部门的初审意见;五、1:500现状地形图2份.四、环境影响评价文件报审由环保局实施报送材料:一xx市建设项目环境影响评价文件审批申请表原件2份;二环境影响登记表或由有资质的单位编制的环境影响报告表或环境影响报告书原件2份,附电子文档;三评估机构环境影响报告书或环境影响报告表的技术评估报告原件1份,建设项目填报环境影响登记表的,申请人不提供技术评估报告.五、建设场地地震安全性评价由地震局实施一必须进行建设场地地震安全性评价的建设项目1、抗震设防要求高于中国地震烈度区划图标定设防标准的重点工程、特殊工程和可能产生严重次生灾害的工程2、位于地震烈度分界线两侧各8km区域内的新建、改建、扩建工程3、局部地质条件较复杂或者地震研究程度和资料详细程度较低的地区4、占地面积较大或者跨越不同地质条件区域的新建城镇、9大型厂矿、港湾、企业以及经济技术开发区二建设单位对场地地震安全性评价的管理程序1、建设单位持立项批准书和建设地址,征询地震主管部门意见,审定是否重做场地地震安全性评价工作和评价区域范围,并征询评价单位的资质;2、选择评价单位和签订评价合同;3、建设单位协助评价单位的工作;4、上报审批.建设单位按合同收到建设项目场地地震安全性评价报告,须立即上报当地地震安全性评价委员会评审,经过评审通过的地震安全性评价报告送市地震局审核批准,确定抗震设防标准.建设单位最后收评价报告副本和审批副本转交设计单位,进行抗震设计.六、可行性研究报告由发展改革委实施一可行性研究报告一般应包括以下基本内容:1、项目提出的背景、投资的必要性和研究工作依据;2、需求预测及拟建规模、产品方案和发展方向的技术经济比较和分析;3、资源、原材料、燃料及公用设施情况;4、项目设计方案及协作配套工程;5、建厂条件与厂址方案;6、环境保护、防震、防洪等要求及其相应措施;7、企业组织、劳动定员和人员培训;8、建设工期和实施进度;9、投资估算和资金筹措方式;10、经济效益和社会效益.二报送材料:除提交由有资质的单位编制的可行性研究报告及审批请示外,还需提交以下附件材料作为审批前置要件:1、城市规划行政主管部门出具的规划选址意见书;2、建设用地预审报审材料或国土房管部门已出具的建设项目用地预审意见或国有土地使用权出让合同;3、环境影响评价文件报审材料;4、涉及国有资产或土地使用权出资的,须由有关部门出具确认文件;5、涉及特许经营的项目,需提供有权部门出具的批准意见;6、涉及拆迁安置的,需附拆迁安置方案审查意见;7、属联合建设的,需出具项目联合建设或合资、合作合同书;8、除市级和中央财政性资金外的建设资金已落实来源的有效证明文件,企业最新财务报表包括资产负债表、损益表和现金流量表,对信贷资金需有商业银行分行以上机构出具的承贷意向书;9、其他特殊规定必备的材料但主办部门不得以此为由要求申请人办理其他部门的许可、审批、备案手续.七、项目审请报告核准由发展改革委实施一报送材料:除提交由有资质的单位编制的项目申请报告外,还需提交以下附件材料作为核准前置要件:1、城市规划行政主管部门出具的规划选址意见书;2、建设用地预审报审材料或国土房管部门已出具的建设项目用地预审意见或国有土地使用权出让合同;3、环境影响评价文件报审材料;4、涉及国有资产或土地使用权出资的,须由有关部门出具确认文件;5、涉及特许经营的项目,需提供有权部门出具的批准意见;6、其他特殊规定必备的材料但主办部门不得以此为由要求申请人办理其他部门的许可、审批、备案手续.二属外商投资项目的,还需增加提交以下附件:1、中外投资各方的企业注册证营业执照、商务登记证、最新企业财务报表包括资产负债表、损益表和现金流量表、开户银行出具的资金信用证明;2、合资协议书、增资、购并项目的公司董事会决议;3、涉及银行贷款的,由有关银行出具融资意向书.建设单位向市发改委提交如下材料申请立项:八、立项由发改委实施一政府投资项目可行性研究报告及其审批请示或企业投资项目核准申请报告可行性研究报告和项目申请报告须由合格的咨询机构编制一式五份,并附相应的附件资料;二用地预审需提交的申请材料;三环境影响评价文件审查需提交的申请材料.项目申请单位提交申请应为书面形式,可采取当面送达或挂号邮寄送达的方式.项目申请单位提交申请应为书面形式,可采取当面送达或挂号邮寄送达的方式.第二部分工程建设准备阶段该阶段的内容包括为勘察、设计、施工创造条件所做的建设现场、建设队伍、建设设备等方面的准备工作.具体包括报建,委托规划、设计,获取土地使用权,拆迁、安置,工程发包与承包等.一、办理报建备案手续由发改革委实施建筑工程立项后,建设单位应向建筑行政主管部门申请办理报建备案手续.建设单位可持已下达的立项批文,到市建委领取工程项目报建申请表、工程项目管理资质申报表和基建手续鉴证表,按要求填写后,连同工程技术管理人员职称证件复印件到市建委办理建设单位资质审查及报建登记手续.报建申报材料:1、报建表;2、立项文件;3、建设用地批准文件;4、资信证明;5、投资许可证.建设单位必须在报建后开工前向受理报建的建设行政主管部门申请办理工程项目建设管理单位资格审批手续,领取工程项目建设管理单位资格审查批准通知书.建设单位在办理完毕工程报建备案后即可在招标办通过招投标确定监理队伍.二、办理建设用地规划许可证由规划局实施建设单位应按照规划局提出的规划设计条件委托规划设计院编制规划设计总图,然后报市规划局审核规划设计总图.规划局可据此核定用地面积,确定用地红线范围,发给建设单位建设用地规划许可证.建设单位在办理了建设用地规划许可证后,下步可向市国土房管局申请土地开发使用权,办理拆迁安置工作.到招标办通过招投标确定勘察、设计单位.三、申请土地开发使用权由国土资源局实施建设单位申请用地环节行政审批,应到建设项目所在地的区国土房管部门递交申请.依法属市国土房管局或其上级行政机关审批权限的,由区国土房管部门受理后在规定的时间内将初步审查意见连同全部申请材料逐级上报.单独选址建设项目确需使用土地利用总体规划确定的城市建设用地范围外的土地,涉及农用地的,应申请办理单独选址项目新增建设用地审批.一单独选址项目新增建设用地审批按以下程序及要求办理:1、建设单位持建设项目有关材料,向区土地行政主管部门提出建设用地申请;2、区土地行政主管部门按照国家和我市有关规定进行审查,符合条件的,拟定农用地转用方案、补充耕地方案、征收土地方案和供地方案,经区人民政府审核同意后,逐级上报有批准权的人民政府批准;3、农用地转用方案、补充耕地方案、征收土地方案和供地方案批准后,由所在地区人民政府按照批准的征收转用土地方案依法组织实施征地.征地补偿安置完成后,由市或区土地行政主管部门按照批准的供地方案向建设单位供地.其中,有偿使用国有土地的,建设单位应与土地行政主管部门签订国有土地有偿使用合同;划拨使用国有土地的,由土地行政主管部门向建设单位核发国有土地划拨决定书.二单独选址项目新增建设用地的审批由耕地保护二处主办,需提交材料:1、新增建设用地申请表原件1份2、建设项目用地预审意见、地质灾害危险性评估审查意见原件1份3、征地预办文件原件1份4、项目审批、核准或备案文件,其中市以上重点工程和主城区用地5公顷、其他区县市用地7公顷以上项目附项目可研申请报告批复原件1份5、涉及征转收林地的林业行政主管部门批准文件原件1份6、建设用地规划许可证及附件附图复印件1份7、土地勘测定界图和技术报告原件1份8、预缴的征地补偿安置资金划入土地行政主管部门征地专用帐户的银行进帐单复印件1份9、土地利用规划图完整图、土地利用现状分幅图1:1万蓝图、地形图高速公路、铁路等线型工程及大中型工程1:2000蓝图;其它项目报1:500蓝图、拟征地红线图原件1份三招标拍卖挂牌出让用地的审批由土地利用处、土地交易中心主办,需提交材料:1、国有土地使用权竞买申请书原件3份2、身份证明或工商营业执照副本复印件3份3、房地产开发资质属房地产开发项目用地且事事前约定须具备房地产开发资质的复印件3份4、银行资信证明开户行出具并盖章,证实有无违法、违规的存贷款行为复印件3份5、按公告要求提交的其他材料四国有土地划拨或协议出让用地的审批由土地利用处主办:申报材料包括:1、身份证明或工商营业执照复印件3份2、建设单位用地申请原件3份3、项目审批、核准或备案文件原件/复印件3份4、建设用地规划许可证及其附件、附图含规划红线图和经城市规划行政主管部门批复的总平面布置蓝图或数字化图1:500-1:1000原件1份/复印件3份5、地籍图原件1份6、实测地形蓝图或数字化图1/500-1/1000原件3份集资合作建房用地还应提供以下材料:1、申请土地行政主管部门收回原土地使用权的申请原件1份2、国有土地使用权证原件1份/复印件3份3、房改部门集资合作建房的批准文件原件1份/复印件3份经济适用房项目用地还应提供以下材料:1、经济适用房项目批准文件复印件1份2、房地产开发资质证明复印件1份五建设项目压覆矿产资源的审批由矿产资源勘查储量处主办,需提交材料:1、建设项目压覆矿产资源审查表原件3份2、建设项目审批、核准或备案文件复印件3份3、建设项目范围1:500地形图宗地面积10公顷以上或线型工程可提供1:2000或1:10000地形图,2份4、建设项目压覆矿产储量申请登记表原件3份5、建设项目压覆矿产资源储量评估报告或压覆矿床证明材料四、拆迁、安置建设单位在取得用地使用权后,向当地拆迁主管部门提出书面申请.拆迁主管部门对拆迁申请进行审查,批准拆迁的,房屋拆迁主管部门发给拆迁申请人房屋拆迁许可证,建设单位可据此组织实施拆迁.申请领取房屋拆迁许可证需提交下列资料:一建设项目批准文件;二建设用地规划许可证;三国有土地使用权批准文件;四拆迁计划和拆迁方案;五办理存款业务的金融机构出具的拆迁补偿安置资金证明.五、报审建设工程规划设计方案由规划局实施建设单位在取得土地使用权后,根据市规划局提出的设计要求,委托建筑设计院编制设计方案.建设工程规划设计方案的审查按以下条件实施:一建设工程规划设计方案的审查,申请人需向规划部门提交下列申请材料:1、书面申请原件1份;2、建设工程项目可行性研究报告审批文件或企业投资项目核准文件原件1份,限需投资行政主管部门审批、核准的建设项目.如申请人认为项目属投资行政主管部门备案类项目,而规划部门把握不准的,可要求申请人提供投资行政主管部门的备案文件.3、建设工程规划设计方案2份,含室外综合管网设计;4、彩色渲染图和建筑模型等1套,限重要地段、重要节点及大型建设项目.二建设工程规划设计方案的审查,申请人需向协办部门提交下列申请材料:1、涉及消防事项的审查1建筑工程消防设计申报表原件1份,须加盖申请单位印章;2建设工程规划设计方案2份;3设计单位消防自审小组自审意见书原件1份.2、涉及园林绿地指标事项的审查1建设工程规划设计方案1份,附电子文档;21:500绿化现状图1份;3建设工程项目配套绿地布置总平面图及说明2份,附电子文档.3、涉及防空地下室设置事项的审查涉及民用建筑配套建设防空地下室的建设项目1民用建筑配套建设防空地下室申请书1份;2建设工程规划设计方案1份,附电子文档.4、涉及市政公用设施安全事项的审查涉及危及市政公用设施安全的建设项目1建设工程规划设计方案2份,附电子文档;2建设项目对市政设施安全影响技术报告1份,由申请人自行编制或由工程的设计单位编制,无固定格式.5、涉及国家安全事项的审查限两类建设项目:①选址阶段进行了国家安全审查的建设项目;②机场、出入境口岸、码头、邮政枢纽、电信枢纽、海关1涉及国家安全事项的建设项目申报表规划设计方案审查原件1份;2建设工程规划设计方案1份,附电子文档;3建设工程弱电系统设计图说1份,附电子文档.6、涉及河道管理事项的审查限河道管理范围内的建设项目1建设工程规划设计方案2份;2建设工程涉及河道部分工程设计方案2份;3具有水利水电勘察设计或研究资质的单位编制的防洪评价报告原件1份,限长江、嘉陵江两岸50年一遇洪水位以下20区域内修建的建设项目、涉及封盖、改造次级河流及其它自然水域的建设项目,同时附专家评审意见.7、涉及机场空域安全管理事项的审查限机场规划用地范围内的建设项目及机场净空保护范围内危及飞行安全的建设项目甲、机场规划用地范围的建设项目建设工程规划设计方案2份,含建设项目最高点坐标及其海拔高度;乙、机场净空保护范围内危及飞行安全的建设项目建设工程规划设计方案1份,含建设项目室外地坪海拔高度、建构筑物净高度和无线电发射设备、有线传输设备、高压供电线路及工业高频炉等电磁辐射设备的情况.8、涉及无线电管理事项的审查限涉及总体规划确定的微波通廊的建设项目;大型地球站、大型无线电收发信台站、广播电视发射塔等建设项目甲、涉及总体规划确定的微波通廊的建设项目建设工程规划设计方案2份,含经纬度、最高点海拔高度;。
一、前期施工准备阶段1、地质勘察在启动建设项目时,建设单位通常会邀请地质单位协助。
地质单位会用各种方法,根据设计需求,对预定建设地点的地质状况进行全面检查,包括地形、水文地质条件,以及土壤和岩石的性质等。
之后,地质单位会出具一份详尽的“岩土工程勘察报告”,为设计和施工提供必要的地质信息。
2、文物勘察如果预计建设地点可能存在文物,建设单位需要向政府文物部门报告,由后者组织专业人员进行考古调查和勘探。
一旦发现文物,文物部门与建设单位会共同商议保护措施。
对于重要的发现,文物部门还需向国务院文物部门报告。
3、建筑边坡与深基坑工程的设计方案评审设计方案评审是一项重要的步骤,通常由县级以上的住房城乡建设主管部门或其委托机构负责。
这些部门会依据国家和地方的技术规范,对建筑边坡和深基坑工程的设计方案进行安全、经济和合理性的技术论证,以确保建设工程及其周边建筑、地下管线、道路的安全。
4、工程测量定位建筑工程开始后,第一次放线是至关重要的。
这个过程需要城市规划部门的测量队和施工单位的测量人员共同完成。
他们会根据建筑规划定位图进行定位,并在施工现场设立至少4个定位桩。
全站仪或高级经纬仪是他们常用的放线工具。
5、施工现场市政临水临电报批建设单位在取得建设行政主管部门批准的建筑工程许可证后,需要凭证明去电力公司和自来水公司办理临时水电审批手续。
6、三通一平三通一平是指基本建设项目开工的前提条件,水通、电通、路通和场地平整7、工地围栏及大门建设主要路段的围墙高度不低于2.5米,一般路段的围墙高度不低于1.8米。
企业宣传的围挡钢架及基础需要专门设计。
主入口处会有一个大门,其高度要与围墙相适应,宽度不应小于5米。
在大门内侧会有一个门卫室,门卫制度会贴在里面。
在大门外侧的围墙上,会挂上五牌一图,包括工程概况牌、组织网络牌、消防保卫牌、安全生产牌、文明施工管理牌和施工总平面布置图。
同时,会搭建办公区和生活区。
8、组织员工培训及图纸会审在工程开始前,需要组织员工进行培训和图纸会审。
一、工程建设项目前期工作流程
1.基本流程
2.建设项目投资决策(建议书、可行性研究报告)流程
政府投资项目企业投资项目
二、工程建设项目管理流程
1.项目管理基本流程
2.招投标基本流程
3.合同签订流程
4.施工准备流程
5.项目风险管理与信息管理流程
(1)项目风险管理流程
∙ 积极保留∙ 保险转移∙ 减小风险
(2)项目信息管理流程
6.竣工验收流程
工程项目监理工作基本流程1.工程项目实施监理的总流程
修改
9.组织协调控制流程
10.工程质量问题及工程质量事故处理流程
11.工程安全事故处理流程
处
理
12.工程洽商控制及签证工作流程
13.工程竣工验收控制流程
14.保修阶段监理工作流程
THANKS !!!
致力为企业和个人提供合同协议,策划案计划书,学习课件等等
打造全网一站式需求
欢迎您的下载,资料仅供参考!。
一、工程建设项目前期工作流程
1.基本流程
2.建设项目投资决策(建议书、可行性研究报告)流程
政府投资项目企业投资项目
二、工程建设项目管理流程
1.项目管理基本流程
2.招投标基本流程
3.合同签订流程
4.施工准备流程
5.项目风险管理与信息管理流程
(1)项目风险管理流程
• 积极保留• 保险转移• 减小风险
(2)项目信息管理流程
6.竣工验收流程
工程项目监理工作基本流程1.工程项目实施监理的总流程
修改
9.组织协调控制流程
10.工程质量问题及工程质量事故处理流程
11.工程安全事故处理流程
处
理
12.工程洽商控制及签证工作流程
13.工程竣工验收控制流程
14.保修阶段监理工作流程。
一、工程建设项目前期工作流程
1.基本流程
2.建设项目投资决策(建议书、可行性研究报告)流程
政府投资项目企业投资项目
二、工程建设项目管理流程
1.项目管理基本流程
2.招投标基本流程
3.合同签订流程
4.施工准备流程
5.项目风险管理与信息管理流程
(1)项目风险管理流程
• 积极保留• 保险转移• 减小风险
(2)项目信息管理流程
6.竣工验收流程
工程项目监理工作基本流程1.工程项目实施监理的总流程
修改
9.组织协调控制流程
10.工程质量问题及工程质量事故处理流程
11.工程安全事故处理流程
处
理
12.工程洽商控制及签证工作流程
13.工程竣工验收控制流程
14.保修阶段监理工作流程
---精心整理,希望对您有所帮助。
工程建设项目的一般流程一、工程建设项目前期工作流程1.基本流程项目建议书可行性研究项目评估立项决策方案设计初步设计及其审批扩初步设计施工图设计及其审批建设准备施工许可施工与安装生产准备竣工验收竣工结算与竣工决算项目后评价投资决策阶段工程设计阶段采购与施工阶段交付使用阶段2.建设项目投资决策(建议书、可行性研究报告)流程编制项目建议书报批项目建议书通过划拔、出让等方式获得土地使用权通过招标、拍卖、挂牌等方式获得土地使用权投资机会研究进 行项 目可行性研究进行项目评估项目终止报批可行性研究报告申请核准或登记备案实施项目签署土地出让合同,缴纳土地出让金,领取《国有土地使用权证》办理《拆迁许可证》并委托拆迁公司进行拆迁未通过未批准通过通过通过通过通过批准通过未批准政府投资项目企业投资项目编制设计阶段管理工作计划委托设计单位进行方案设计报审绿化、人防规划设计、委托勘探规划主管部门审定设计方案(颁发通知书),核发建设用地规划许可证消防设计方案审核节水设计方案审核文物设计方案审核卫生设计方案审核日照影响测算报告交通规划设计方案审核抗震设计方案审核节能设计方案审核保密设计方案审核征求水电、燃气、供热等市政部门的意见的其他审核项目委托设计单位进行初步设计落实市政配套方案并签署有关协议人防主管部门审查人防初步设计公安部门审查消防初步设计公安交通管理部门审查停车场(库)及内容外道路设计初步设计经行政主管部门批准计划及建设行政主管部门列入年度开工计划委托设计单位进行施工图设计人防施工图审批消防施工图审批规划部门审查通过施工图领取建设规划许可证编制建设准备阶段管理工作计划到开户行办理资金证明落实施工现场三通一平委托招标代理机构代理招标选定承包单位,签署施工合同选定设备、材料供应单位,签署采购活动选定监理单位,签署委托监理合同办理招标、施工、监理合同及中标通知书备案手续办理质量监督及施工安全监督手续,领取受理通知踏勘现场领取施工许可证组织召开第一次工地会议、参加图纸会审不具备开工条件的退件,现场违章开工的给予处罚,待条件合格后补办退回材料,条件合格后重新申报合格合格不合格不合格二、工程建设项目管理流程1.项目管理基本流程签订项目管理委托合同项目建议书可行性研究报告签订项目可行性研究委托合同向园林部门报审规划方案向人防部门报审人防规划方案委托设计部门进行方案设计委托勘查单位进行地质勘探项目评估方案设计初步设计取得规划意见书基础测绘地形图确定投资估算取得用地规划许可证,审定设计方案通知确定的投资概算施图设计施工前准备施工招标办理施工许可证设备、材料订货确定投资预算审查通知施工图领取建设工程规划许可证施工及设备安装试运行竣工验收备案及工程移交项目后评价竣工决算项目建设准备期投资决策阶段设计阶段施工及安装阶段项目建设实施期竣工阶段竣工期2.招投标基本流程招标工作准备建设单位或招标代理机构发布招标信息公告投标单位到招标代理机构办理投标申请投标单位资格预审确定投标单位领取招标文件勘察现场标前会议和招标文件答疑接受投标单位的投标文件召开 开标、评标、定标会议确定中标单位,发出中标通知书签订合同取消投标资格不符合有关规定取消投标资格不合格不符合规定不合格不合格合格符合有关规定合格合格3.合同签订流程确定合同结构和性质合同条件拟定与合同签订单位谈判是否存在合同条件异议协商后做出调整方案合同签订项目合同、信息管理部门备案返回重做4.施工准备流程制定工程项目管理计划表落实三通一平和大型临时工程设施计划和实施方案办理相关手续组织设备和材料招标工作确定设备和主要材料供应商审核图纸,编制施工技术组织措施,编制施工图预算落实年度资金使用情况及贷款计划采取招标形式确定工程参建单位施工技术准备发布工程开工令5.项目风险管理与信息管理流程(1)项目风险管理流程风险管理开始是否有风险?风险管理结束识别项目风险风险是否定量?风险量大小?风险是否可以预防和减小?剩余风险是否很大?是否灾难性风险?风险能否自身承担?风险保留定性处理风险控制风险转移实施、检查是是是否是否是否大是否小否否• 消极保留• 积极保留• 非保险转移• 保险转移• 回避风险• 减小风险(2)项目信息管理流程项目管理部门收集工程建设相关信息信息需求分析信息处理及判断明确信息要素信息分析的预见性报告针对不同用户的各种报告向有关部门发布信息通报反馈信息项目决策机构相关部门执行政府相关部门建设单位监理单位承建单位勘察设计物质供应单位相关工程信息单位不正确正确正确正确不正确不正确6.竣工验收流程编制竣工验收计划接受承建单位的竣工验收申请审核是否符合竣工验收的条件不予验收不予验收限期完成检查各承建单位合同范围内的项目是否完成要求承建单位限期完成工程建设项目有关内业资料的审核规划、人防、消防、环保、环境工程完成情况组织相关单位人员参加验收并签署验收文件向建设质量监督机构提出申请质量监督部门验收按有关规定进行工程备案向建设单位进行工程移交不予验收要求相关单位完善重新申请不符合有未完合格完成不合格不合格合格合格合格不合格不合格工程项目监理工作基本流程1.工程项目实施监理的总流程签订委托监理合同、接受监理工作 施工监理的前期准备工作;1、成立项目管理机构、委派总监理工程师;2、明确监理人员的职务及岗位责任;3、配备监理设施及设备;4、熟悉施工图纸、施工图纸会审;5、分析研究委托监理合同及施工合同;6、编制项目监理规划及实施细则施工准备阶段的监理工作;1、参与设计交底;2、审定施工组织设计(施工方案);3、查验施工测量成果;4、施工现场周围环境的调查;召开第一次工地会议,监理交底核查工程开工条件,核准开工督促承包单位按照施工图纸、规范、管理程序及施工组织设计施工1、组织对地基基础、主体工程、门窗工程、装饰工程、地面工程、水、暖、电、卫、煤气、电梯工程等分部工程及所属分项工程的验收及试运行;2、监督检查承包单位的施工技术资料,整理监理资料。
总监理工程师组织监理人员对竣工工程进行预检准备正式验收合格,建设、设计、承包、监理单位在竣工文件上签字,对工程质量进行评估建设(项目管理)单位组织竣工验收工程移交建设单位,建设、监理、承包单位办理交接手续,工程进入保修期总监理工程师编写工程竣工总结报告,监理资料归档1、承包单位对预检结果需要整理修处,由监理人员验收合格;2、对承包单位的质量保证资料进行验收总监理工程师组织建设单位、设计单位、承包单位进行竣工预检检查施工现场安全防护消防、环保卫生设、施文明施工,提出意见并监督执行监督承包单位技术管理及质量保证体系的落实协助建设单位组织招标、评标、优选中标单位,签订施工合同审定工程总进度计划审定工程年季月工程进度加强进度计划的动态控制对年季月进度计划提出修改意见进度控制审批分包单位签认隐、预检工程验收分项、分部工程验收进场材料构配件设备审签工程质量报表参加质量事故的调查处理质量控制认定工程质量及进度核定、会签工程变更文件签发付款凭证造价控制处理索赔事件核定、会签工程变更文件收集与监理有关的合同对合同进行分析研究并跟踪管理合同管理监理例会、各种专业会议利用监理月报、会议纪要、简报交流信息协调参建各方之间的关系信息管理2.施工准备阶段监理工作流程确定总分包单位建设单位签订工程建设合同建设、承包单位签订工程建设监理合同建设、监理单位总包单位资格报审承包单位设计交底设计单位施工组织设计承包单位图纸会审建设、监理、施工工程定位防线承包单位监理规划监理细则监理单位监理交底监理单位第一次工地会议建设单位审核监理单位施工组织设计(施工方案)审核监理单位验核监理单位审核建设单位承包单位开工准备承包单位承包单位提交开工报审表A-2承包单位审查工程开条件监理单位签署工程开工报审表监理单位正式开工不合格否鉴定施工合同建设、承包、监理单位施工图纸会审设计、建设、承包、监理单位工程预付款申请承包单位施工图纸实施承包单位材料设备采购建设、监理、承包单位联合考察厂家材料、设备等审核预付款申请监理工程师总监理工程师核准设计变更及工程洽商申请承包单位申报已完分项工程报验单承包单位提出价差申请承包单位审核认可申请监理工程师索赔申请承包单位索赔审批监理工程师总监理工程师审核计量监理工程师审核申请监理工程师鉴认付款证书总监理工程师报送建设单位付款监理单位不成立否否否否根据工期总目标编制施工总进度计划承包单位审核施工总进度计划建设、监理单位编制年、季、月度计划承包单位审核年、季、月度计划建设、监理单位按计划组织实施承包单位检查计划执行情况,实际进度与计划进度对比分析监理单位签发严重偏离计划通知书监理单位纠正进度计划偏离承包单位继续施工承包单位实施工期总目标应附有:编制材料、设备采供计划,劳动力使用计划,施工机械使用计划。
编制说明中应有:1、上月实际完成量、工程量;2、当月(年)计划完成量、工作量;3、计划提前或拖后的原因分析;4、拟采取的对策。
审批开工申请、下达开工令加倍复试或更换材料承包单位施工方案审批承包单位申报材料合格证、复验单监理审批分部、分项工程施工施工试验及监理取样各分项、隐蔽工程自检填报工程报检单监理工程师现场检查及审查实验报告签发工程报验单及其附件下一道工序施工分部工程完成填写分部工程报验承包单位签发分部工程检验认可书监理工程师检查结果现场检查监理工程师内业资料检查监理工程师检验批、分项(隐蔽)工程报验单项分项工种检验认可书附:1、隐检单2、预检单3、质量保证资料4、分项工程质量评定表修改不合格不合格合格不合格不合格签改不合格附签改合格6.施工阶段安全监理控制流程审阅设计文件、参加设计交底(确保主体结构、房屋功能和施工操作、使用中的安全)审查《施工组织设计》、《专项安全施工方案》、《安全防范预案》、编制《监理细则》(落实《施工安全》的管理制度和技术措施)熟悉掌握施工现场内部、外部环境审查入场施工(分包)单位与主要人员和设备的资证材料(确保单位人员的技术素质和设备的性能可靠)分包单位管理人员特种技工机具设备安全器材查明场地与周边之地上、地下管线设施已作好安全处理与保护《施工组织设计》与《专项安全施工方案》已审批、现场临设(房屋、道路、水电等)已完成审核开工条件下达开工令检查和验收施工设备(水电、器材)的安全装置质量并调试合格检查主体施工支撑、安全防护系统的器材质量与安装使用方法检查安全管理制度与措施、各种标志、警示的落实情况并通报按《建设工程安全生产管理条例》、《建筑工程安全检查标准》、《安全生产监理细则》和《施工企业安全生产评价标准》对现场定期(月、季)检查与评价对安全隐患发出限令整改令对发生的安全事故按程序及时报告协助事故的调查分析和处理利用每周例会通报一周安全情况审查重要、特种设备的拆除方案、检查拆除措施的落实情况检查建安施工对主体结构的影响检查施工设施、器具拆除的措施与落实情况检查装饰(修)施工对主体结构的影响《监理工作总结》中对安全监理工作进行总结双方鉴定委托监理合同建设、监理单位指派项目监理机构合同管理员总监理工程师成立项目监理机构任命总监理工程师监理单位项目监理人员熟悉和分析委托监理合同:1、服务范围;2、双方责任;3、工期、质量、造价控制目标;4、违约处理条款;5、监理酬金支付条款;6、其他事项。