订单处理流程图
- 格式:doc
- 大小:48.50 KB
- 文档页数:2
客户A 公司
客户查询商品价格
客户下订单
业务员与客户
确认订单
订单是否
有效
有效
确认订单
确认支付方式
现金
库存是否
充足
发货
销售统计分析
客户查询订单
客户取消订单
前台
后台
无效
取消订单
不足
赊账信用额度
充足
库存盘点
缺货采购\生产
库存管理
退货(库存增加)
调整商品结构和价格
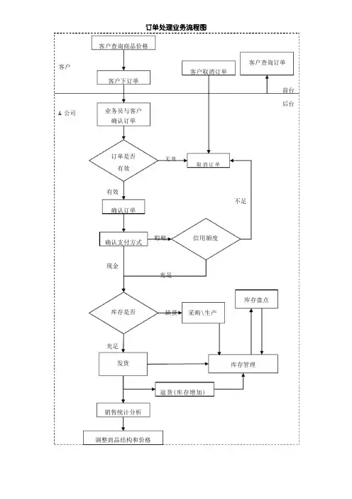
订单处理业务概述:
1. 客户查询商品价格,下订单;客户可随时查询订单处理情况,并可取消订单
2. 业务员与客户确认订单是否有效,无效则取消订单,有效则继续确认支付方式
3. 支付方式分现金和赊账,如果是赊账则要继续确认客户是否有足够的信用额度,
如果不足则取消订单,如果充足则继续确认库存
4. 库存不足,则 A 公司采购或生产足够商品并入库,库存充足则发货
5. 库存管理方面,采购或生产入库将增加库存,发货将减少库存,发货后客户可能
还会退货则增加库存;库存的变化可通过库存盘点进行修正
6. 最后可以对销售数据进行统计分析,以方便 A 公司做出下一阶段的商品结构和价
格的调整决策。
爱的空间 罗兰定制
1 罗兰衣柜订单处理流程
(传真至公司前台并电邮给衣柜设计师)
(图纸及料单不标准需重新填写)
(图纸及料单审核无误)
注:若经销商变更订单,需填写正规《ROLAND 衣柜变更单》,公司签字确认后方为生效。
下单后3天内改单,免改单费,若定单已进入生产环节,公司根据实际成本情况收取改造费用;若超过3天,订单可以变更的,公司根据实际成本情况收取改造费用,并收取50元/单的改单费;不能变更的,公司不予受理,由此产生的任何损失经销商负责。
商服部订单处理流程客户购物流程出现的情况:1.1修改订单信息:一、修改订单信息类型:1、收货信息2、送货方式3、购买的商品信息二、操作流程:1、客户致电客服热线及通过旺旺、QQ、商桥要求修改订单信息2、请客户提供订单号、旺旺ID、QQ及收货人姓名,客服进入店铺后台查询,根据用户提供的订单号、旺旺ID、QQ及收货人姓名进行检索找到该订单;2.1 查看订单状态,如果订单状态显示发货状态拒绝为客户操作修改2.2 查看订单如果未发货,可修改订单后状态(管理中心)。
3、客户已付款的订单,如客户要求修改商品信息,如商品的颜色,尺码等信息,在未发给库管时,可修改相关信息(修改信息,包括改码数、换款、改地址、电话等,但必须是发给库管前的订单状态)三、注意事项:1、订单备货前可对订单信息做修改。
2、要求修改商品信息,具体操作详情查订单信息修改流程3、客户换购商品需要补差价时,请具体写客户要换的商品款号、尺码、颜色等相关信息,并在补差价订单里注明客户是补哪个订单的差价订单信息修改流程图:1.2订单发货前退货流程:一、操作退/换货流程:1、客户致电客服热线及通过旺旺、QQ、商桥要求退/换货2、请客户提供订单号、旺旺ID、QQ及收货人姓名,客服进入店铺后台查询,根据用户提供的订单号、旺旺ID、QQ及收货人姓名进行检索找到该订单;2.1 如果订单已经发货,货物不能追回拒绝此操作。
3、订单客户已付款,未安排发货、可在系统后台备注退/换货信息:退货-告知客户付款24小时后申请退款;换货-确认客户换购商品信息及退补差价,在订单中备注相关联信息4、如果订单未付款,客户要求关闭交易,确认身份后可请直接在系统后台操作关闭交易。
订单发货前退/换货流程图:二、注意事项:1、订单已显示发货状态,不可操作退/换货操作2、订单发生换货,如有新订单,请在新订单里说明原订单相关联系信息3、请在原订单及新订单里备注客户要换购商品信息。
如:尺码、商品款号、颜色等4、客户要求退/换款:退款-告知客户我们让工作人员尽快处理,会在1到2个工作日内完成退款;换货-确认退补差价,安排发货1.3 订单缺货处理流程一、操作缺货流程:1、售后电话联系客户,客户下的订单已缺货1.1 客户要求换货1.1.1 确认客户要换的货是否需退补差价1.1.2 如果客户同时下了多个商品,确认是否需要一起发货,并在换货订单中备注相关联信息1.1.3 如果客户要求有货的先发货,无货商品待考虑换货,请在客户的订单中备注相关联信息1.2 客户要求退货1.2.1 订单中只有一件商品,给客户做退货处理(在系统后台备注退款)1.2.2 订单中有多件商品,与客户确认是否有货商品先发货,无货商品待客户申请退款(在系统后台备注退款)1.3 客户要求等待退换货1.3.1 订单中只有一件商品,在店铺后台备注待客户考虑退换款1.3.2 订单中有多件商品,客户要求一起发货,在系统后台备注待客户考虑退换款一起发货1.3.3 订单中有多件商品,客户要求有货的先发货,无货的待考虑退换款,在订单里备注安排有货商品先发货,无货的待客户考虑退换款缺货流程图:三、注意事项:1、如果客户要换购商品,请与客户确认商品信息。
电子商务B2B缺货订单处理流程图
一般缺货订单流程:
购买的商品数量>货场存货数量
Yes
缺货订单
受理
缺货订单列表
缺货信息
供应商
1)判别缺货订单:
当企业用户购买的商品数量大于货场存货数量是,将生成缺货订单
2)缺货订单已被受理
3)显示缺货订单列表
4)向供应商发送缺货信息
5)缺货订单已被受理
在博星系统中在B2B这一块的设计相对简单,只能够提供最基本的交易操作。
下面对博星系统缺货订单作部分的改进:
订单库存+在途库存
补足库存安全库存
供应商缺货信息缺货订单沟通协调
客户反馈重要性排序缺货
订单列表交货期、交货批次客户分批发货订单完成
缺货订单判别:
1)确认订单时,先检查库存是否满足需要,库存不能满足时,检查在途库存是否能够满足,应考虑动用安全库存,并通知供应商增加商品库存以补足库存(博星系统增加安全库存这项)
2)在途库存数量能够满足,但时间不能满足时,应通知客户可以满足的最早时间和可靠时间,建议客户分批订货,客户同意先部分交货时,分拆订单处理。
3)客户紧急需求无法延时时,应作为缺货订单处理
缺货订单处理:
1)与客户沟通协调交货期、交货数量、交货批次
2)给客户重要性排序分配可以交货的数量,并与客户沟通维持客户满意度
3)对客户急需的产品,通过通知供应商紧急调货、紧急采购、当地采购三种方法处理。
精品word完整版-行业资料分享
售后流程图
未收到联系快递回复顾客回访顾客
全额退款
丢件核实信息注意登记补发告知单号跟踪物流回访顾客
查件拦件{因错发重发或者换快递} 联系快递退回跟踪信息收到拆包退回仓库
疑难件快递反应派送未成功联系顾客回复快递回访顾客
E邮宝全国查询电话11185 回复顾客
全额退款
少发核实信息与重量确定少发补发告知单号跟踪物流回访顾客已发货低价销售退部分款顾客申请同意退款
错发全额退款+退货寄回运费
安排退换顾客退回拆包处理安排换发告知单号跟踪物流签收后退寄回运费
低价销售退部分款顾客申请同意退款
质量全额退款+退货寄回运费
问题安排退换顾客退回拆包处理安排换发告知单号跟踪物流签收后退寄回运费特殊情况例如很明显的由于买的不合适找问题要求退换最大限度内争取利益最大化{不能惹怒顾客}
同意退款
七天无理由退换买家申请卖家同意买家退货拆包处理退回仓库
基本步骤:
1 安抚顾客
2 核实信息备注:
3 联系处理 1 所有问题需登记表格,方便查询。
需要跟踪的问题注意跟踪。
4 跟踪进度 2 丢件问题要登记好表格。
一个月汇总一次交售后部门。
5 回访顾客 3 少发错发问题需要找到责任人,并告知责任人。
提醒避免下次再犯
4 质量问题需保存图片,登记好。
普遍情况一个星期总结一次交由采购部。
特殊情况当即汇报。
责任人员业务部
计划员或物控
PMC生管PMC订单作业流程图
作业流程操作叙述
业务接到客户订单,确定产品、
数量、价格及交期,交期应参考
“交期预测”给出的日期
计划员定期生成新的经营计划,
处理所有未完成销售订单
计划员通过主计划调整各个周
的工作内容
物料计算,已经参考库存、在
途及在制
PC检查各个工序的负荷,若不
满足,则设置零部件外协,或
单独工序外协,直至满足为止
PC执行排产,并发放最近一日
的加工任务
相关表单
销售订单
经营计划
周生产计划
采购计划
生产计划
外协计划
负荷信息表
加工日程表
流程说明:
上面是正常交期的订单处理流程,若遇到紧急订单,可如下处理:
1. 业务接到紧急交期客户订单,通知计划及生管进行插单
2. 计划接到订单后查库存是否足,若不足则召开生产会议,进行产能分析,若产能足则直接按正常订单执行
车间调度 车间物料 员 制造部 车间文员 仓库 业务部 将具体的加工任务分配给 员工
工单
根据工单,WIP 等领料,仓
库也可根据加工任务安排 生产制令单 情况送料到车间
领料单
工单
录入工序完工信息
工单
生产完成,入库 生产制令单 业务根据完成数据及客户
出库单
安排,通知仓库出货
3. 若产能不足,可协商调整其它订单的交货日期,或通知制造部门考虑加班或加派员工赶货考虑到急单通常是小规模订单,若急单较多,可以预留部分产能不参与自动排产,专门处理急单。
销售订单处理流程图1销售订单处理流程图流程说明1、销售部接到订单8小时内处理完毕,订单转至品质技术部、生产部;2、特殊订单品质技术部确认技术标准、原料标准及做法说明,4小时内提供给生产部;3、生产部根据产品技术规格标准及做法说明,4小时内提供生产物料采购单交由采购部采购;4、采购部根据技术要求和出货时间按采购合同时间采购物料入待检仓;采购物料入待检仓后,品质技术部立即进行检验,合格后方可入物料仓;5、生产部按要求进行生产,品质部在生产过程中进行巡检,成品后入待检仓;6、由品质技术部检验合格后入成品仓;7、生产部将入仓数据报至销售跟单;8、销售部联系回款,财务部确认后销售总监审核;9、销售跟单通知生产部按约定时间组织发货。
说明:如生产物料不须采购,则省去(3)(4)(5)(6)(7)(8)操作流程。
销售订单处理流程图21销售订单处理流程图:附件2产品批号申请单申请部门:交货日期:编号:批准:审核:制单:附件3工程项目流程单JA-XY-产品批号申请单编号:档案编号:附件4 订单/合同评审记录工作令表JA-ZJ-005 年月日编号:销售订单管理流程制度1销售管理流程制度一、制定制度的目的:对整个订单执行过程实行明析的流程化管理和责任化管理,提高工作效率和服务质量。
最大限度地保证订单的履约率和客户满意度,保证公司内部各工作单元有交衔接及工作的顺畅推进。
二、订单管理内容描述:主要是对订单的评审、记录、技术交底、报价、合同签订、图纸设计、产品生产、进度跟踪等程序化管理。
三、订单具体管理程序:1、业务人员接订单时,对订单内容进行必要的了解。
包括品种、数量、工期及质量等,并进行编号记录。
2、业务人员传递《评审报价单》,由生产分管经理、技术部经理组织评审,根据客户情况、产品类型和数量、工期、预计合同额等确定接单方式,非重点或无潜力客户的小订单将考虑提高报价和延长工期,接单后各部门确定各属工作所需时间,填写《合同评审表》。
订单处理流程图
转
回 常 规
订 单 处
理 流 程
常规产品
客户来图生产
客户下达订货单
客户填写规定格式订单交客服部,客服
部销售助理将单交技术研发部 客服交图纸到技术研发部,
确定能否生产 技术研发部出工艺清单
技术研发部将工艺清单交财务核价,
客服部经理审核确认
通知客户确认订单并支付定金;定金到账,客服下单到生产部
技术研发部提供工艺图纸到生产部;
生产部组织生产 生产完成后入成品仓,成品仓通知客
客服部通知客户付清余款,经 财务确认到账无误后,安排发货
技术研发部提供图纸、物料及加工清单交财务部核算报价 通知客服,客服部与客户沟通,更改产品
款形
财务核算报价,客服部经理审核确认,再由客服向客户报价
客户确认可生产产品, ,客服填写正规定单并回传
客户进行书面确认
可生产
不能生产。