双向转诊下转流程图
- 格式:xls
- 大小:17.00 KB
- 文档页数:1
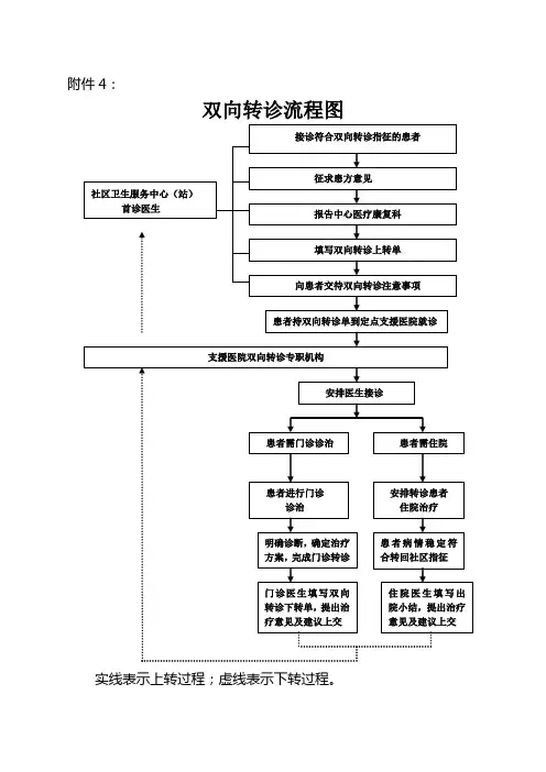
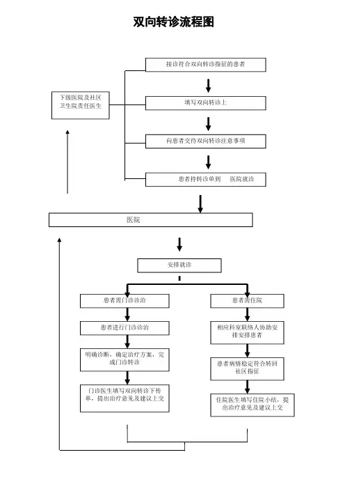
附件4:双向转诊流程图实线表示上转过程;虚线表示下转过程。
一、上级医院职责:l、负责向大关上塘地段社区卫生服务中心和大关上塘街道社区居民推荐医院专家,承担社区医疗顾问。
2、负责接诊大关上塘地段社区卫生服务中心转诊的患者,使转诊患者得到及时、有效的诊治。
3、社区卫生服务中心如遇急重症患者,根据病情,将病人转上级医院急诊,以保证及时、有效的抢救治疗,急诊科任何医务人员不得延误及推委病人。
4、根据病情,上级医院认定确能转回社区的病人,转出者要把关,科室应安排副主任医师以上的负责这项工作,以确保医疗质量和医疗安全。
5、定期召开社区医疗工作会议,及时总结双向转诊工作中的问题和经验,随时完善社区卫生服务双向转诊工作。
6、结合会诊中的常见问题组织专家讲座。
二、社区卫生服务中心、社区站职责:1、负责向转诊病人针对性推荐专家。
2、社区医生要认真填写转诊单。
3、接诊上级医院转回社区卫生服务中心、社区站的病人,并及时与上级医院医生联系,建立良好的合作关系。
5、有责任随时反馈上级医院专家的服务情况、医疗服务质量,进一步提高双向转诊的医疗水平。
6、与上级医院联合对社区居民开展健康教育、健康促进活动。
转诊改进措施:1、转诊数量不多。
2、是绿色通道作用不明显。
3、康复回社区还没有真正实施4、是缺乏规范的管理制度5、双向转诊带给病人的优惠还没有充分体现。
改进建议:1、加大宣传力度。
目前居民对社区首诊制的利好认识不足,分级医疗的服务格局难以形成,应加强宣传,促使居民合理就诊。
2、加强管理与服务。
建议尽快出台全市统一的双向转诊管理规定,制定具体的双向转诊标准,逐步使双向转诊规范化、制度化和科学化,让转诊做到有章可循。
3、尽快提高社区卫生服务水平,加大社区卫生服务人员培训力度,通过大医院专家到社区来坐诊、会诊等业务上的传帮带,使社区卫生服务机构的服务质量迅速提高。
4、建立规范有序的回访制度。
上级医院和各社区卫生服务中心(站)要对转诊病人建立回访制度,及时与上(下)转单位进行业务沟通,和转诊病人取得联系,关心他们的健康问题,让病人真正体会到家庭医生的好处。
双向转诊制度为了给患者提供方便、快捷、优质,连续性的医疗服务,进一步加强我院与上、下级医院之间的联系,逐步形成一个有序的转诊网络,特制定本制度。
一、高度重视双向转诊工作,对于只需进行后续治疗、疾病监测、康复指导,护理等服务的患者,医院应结合患者意愿,宣传、鼓励、动员患者转入相应的乡镇卫生院或社区卫生服务中心,由下级医院完成后续康复治疗。
二、建立健全组织领导体系,加强双向转诊管理,将其作为工作的重点任务之一。
医院成立双向转诊领导小组,业务副院长为组长,医务科科长为副组长,各临床科室科主任为成员。
三、双向转诊协议医院双方要保持通讯畅通,遇危、急病人和大批伤员时直接沟通,建立急救绿色通道。
四、我院负责接收各乡镇卫生院、社区卫生服务中心转诊的患者,上级医院转回的病情稳定患者,使转诊患者得到及时、有效的诊治。
如遇急重症患者,根据病情,协议医院拨打我院急诊科急救电话或将病人转入我院急诊科,急诊科任何医务人员不得延误及推委病人,要保证及时、有效的抢救治疗。
转诊预约专线电话。
五、根据患者病情需要,病房科主任或诊疗组长认定确需要转出的病人,需与上级医院或下级医院做好联系,保证病人在转出过程中病人的安全。
六、转诊程序(一)转入病人:接转诊病人后,在急诊科进行转诊登记,实行优先就诊、检查、交费、取药;需住院者优先安排。
(二)转出病人:根据病情,需要转到上级医院进一步治疗的患者,在征得科室主任同意、患者及家属同意后,科室医生进行登记、填写转诊病情介绍单,联系好上级医院,医护人员要护送患者转院,确保患者安全转入上级医院,并做好病情交接工作。
符合下转条件者在征得科室主任同意、患者及家属同意后,由科室医生进行登记、填写转诊病情介绍单,并联系好下级医院。
由患者家属附带相关诊疗资料,将患者转送至下级医院。
七、双向转诊需具备的条件(一)转上级医院条件(除急诊抢救外)1.由于我院治疗条件有限,不能实施有效救治,且转运途中风险相对较小的患者;2.多次诊断不明确或治疗无效的病例,疑难复杂病例;3.甲、乙、丙类传染病及其他需要住院治疗的新发传染病人;4.疾病诊治超出我院核准诊疗登记科目的病例,因技术、设备限制或其他原因不能处理的病例。
双向转诊流程图实线表示上转过程;虚线表示下转过程转诊协议:双向转诊协议规定,双方要保持通讯畅通,遇危、急病人和大批伤员时直接沟通,建立急救绿色通道。
对于只需进行后续治疗、疾病监测、康复指导、护理等服务的患者,医院应结合患者意愿,宣传、鼓励、动员患者转入相应的社区卫生服务中心,由社区卫生服务中心完成后续康复治疗。
而如果社区卫生服务机构在诊治过程中,遇到还没有开展的医疗项目,如对口支援的医院具备,首选去该医院诊治。
双向转诊协议,其实也是对口支援协议,规定了公立医疗机构要定期对对口支援的社区卫生服务中心进行帮扶,包括会诊、学习、培训等。
有的对口单位在协议中还具体规定:医院必须定期派出副高职称医师(含相当于副高职称)以上医、技人员到社区卫生服务机构参与查房、病案讨论、讲座、会诊等。
双向转诊制度:与望京医院建立双向转诊制度,目的是为望京社区居民提供方便、快捷、优质、连续性的医疗服务,有利于加强望京医院与社区卫生服务中心医生之间的联系,逐步形成一个有序的双向转诊网络,为即将出台的医疗保险制度即大病进医院、小病进社区、合理分流奠定良好的基础。
一、望京医院职责:l、负责向望京社区卫生服务中心和望京社区居民推荐医院专家,承担社区医疗顾问。
2、负责接诊望京社区卫生服务中心转诊的患者,使转诊患者得到及时、有效的诊治。
3、社区卫生服务中心如遇急重症患者,根据病情,将病人转望京医院急诊,以保证及时、有效的抢救治疗,急诊科任何医务人员不得延误及推委病人。
4、根据病情,望京医院认定确能转回社区的病人,转出者要把关,科室应安排副主任医师以上的负责这项工作,以确保医疗质量和医疗安全。
5、定期召开社区医疗工作会议,及时总结双向转诊工作中的问题和经验,随时完善社区卫生服务双向转诊工作。
6、结合会诊中的常见问题组织专家讲座。
二、社区卫生服务中心、社区站职责:1、负责向转诊病人针对性推荐专家。
2、社区医生要认真填写转诊单。
3、接诊望京医院转回社区卫生服务中心、社区站的病人,并及时与望京医院医生联系,建立良好的合作关系。
医院安排就诊
患者需门诊诊治患者需住院
患者进行门诊诊治相应科室联络人协助安
排安排患者
明确诊断,确定治疗方案,完
成门诊转诊患者病情稳定符合转回
社区指征
门诊医生填写双向转诊下传
单,提出治疗意见及建议上交住院医生填写住院小结,提出治疗意见及建议上交
双向转诊流程图
接诊符合双向转诊指征的患者
填写双向转诊上
下级医院及社区
卫生院责任医生向患者交待双向转诊注意事项
患者持转诊单到医院就诊
双向转诊单(开出医院保存)
转诊单编号健康档案号
姓名性别年龄住址患方电话
费别医疗保险、公费医疗、新农合、自费、其他
转诊原因
转诊日期病情:轻、中、重、危机、康复
患方签字转诊医生签名医生电话
年月日
双向转诊单(接收单位保存)
转诊单编号健康档案号
费别(医疗保险、公费医疗、新农合、自费、其他)
转诊目的:
病情摘要:
转诊注意事项:
转诊单位/科室:(盖章)转诊医生签名:
联系电话:
患方签字:转诊时间:年月日。
双向转诊工作制第一条根据卫生部和国家中医药管局《关于巾发公医院支援社区卫生服务工作意见的通知》(卫医发[2022]244号)京市卫生局和京市中医管局《关于开展对口支援社区卫生服务工作的意见》(京卫医字[2022]172号)和《关于印发对口支援社区卫洼服务工作实施方案的通知》(京卫医字[2022]45号)文件,形成“小病在社区、大病到医院、康复回社区的医疗卫生服务格局,推进我院对社区卫生支援工作的开展,恃制订本制第二条双向转诊工作领导小组统筹规划、管、组织、协调双向转诊服务工作。
第三条建医院联系制医政赴召开双向转诊单位之间月会,加强信息沟通,及时解决工作中的问題。
第四条医院接待双向转诊办公室设在社区转诊患者限务部负责与对口支援社区卫生取务中心之间的信息沟通和工作协调。
并负责接待社区上转和联系下转病人,统一协调和规范管双向转诊工作,畅通双向转诊的绿色通道,减少环节,为转诊病人提供。
第五条双向转诊原則(一)患者自愿的原則:从维护病人出发,充分尊重病人的选择权,真正使患者莩受到“双向转诊的方、快捷。
(二)分级诊治原则:大病在医院,小病在社区;常见病、多发病在基层医院、危(wei)险重症在上级医院。
(三)医疗资源共享的原则:加强技术合作和人材的有效动,促逬卫生资源的合用。
(四)连续治疗的原则:建起有效 .严密. 实用畅.通的上转.下转渠道. 为病人提供整体性,持续性医疗照护。
第条各科室职责(一)医政处1 、建医院高血压 .病、脑卒中 ^冠心病等慢性病专家库,备案。
2 、向社区卫生服务中心提供医院目前的检验,大型设备裣项目目录 .3 、向社区卫生服务中心提供医院支援专家名单,包括专业特色及在院出诊时间,介绍支援社区卫生服务中心的专家及专业特色.特长,提髙医院的知名 -4 、根据受援社区卫生服务中心的实际需求,组织具有中岛级职称的卫生技术人员以专家门诊、专家咨询、健康课堂、专家带教等多形式,为居民提供诊疗服务.制定工作时间表,提前送达社区卫生服务中心并做好宣传工作.5 、制定双向转诊的标准(见附件 1)6 、制定双向转诊的洗程(见附件 2)7 、制定对口支援社区方案。
南安市中医院双向转诊制度为了给患者提供方便、快捷、优质,连续性的医疗服务,进一步加强我院与上、下级医院之间的联系,逐步形成一个有序的转诊网络,特制定本制度。
一、高度重视双向转诊工作,对于只需进行后续治疗、疾病监测、康复指导,护理等服务的患者,医院应结合患者意愿,宣传、鼓励、动员患者转入相应的乡镇卫生院或社区卫生服务中心,由下级医院完成后续康复治疗。
二、建立健全组织领导体系,加强双向转诊管理,将其作为工作的重点任务之一。
医院成立双向转诊领导小组,业务副院长为组长,医务科科长为副组长,各临床科室科主任为成员。
三、双向转诊协议医院双方要保持通讯畅通,遇危、急病人和大批伤员时直接沟通,建立急救绿色通道。
四、我院负责接收各乡镇卫生院、社区卫生服务中心转诊的患者,上级医院转回的病情稳定患者,使转诊患者得到及时、有效的诊治。
如遇急重症患者,根据病情,协议医院拨打我院急诊科急救电话或将病人转入我院急诊科,急诊科任何医务人员不得延误及推委病人,要保证及时、有效的抢救治疗。
转诊预约专线电话86277618 。
五、根据患者病情需要,病房科主任或诊疗组长认定确需要转出的病人,需与上级医院或下级医院做好联系,保证病人在转出过程中病人的安全。
六、转诊程序(一)转入病人接转诊病人后,在急诊科进行转诊登记,实行优先就诊、检查、交费、取药;需住院者优先安排。
(二)转出病人根据病情,需要转到上级医院进一步治疗的患者,在征得科室主任同意、患者及家属同意后,科室医生进行登记、填写转诊病情介绍单,联系好上级医院,医护人员要护送患者转院,确保患者安全转入上级医院,并做好病情交接工作。
符合下转条件者,在征得科室主任同意、患者及家属同意后,由科室医生进行登记、填写转诊病情介绍单,并联系好下级医院。
由患者家属附带相关诊疗资料,将患者转送至下级医院。
七、双向转诊需具备的条件(一)转上级医院条件(除急诊抢救外)1.由于我院治疗条件有限,不能实施有效救治,且转运途中风险相对较小的患者;2.多次诊断不明确或治疗无效的病例,疑难复杂病例;3.特殊传染病病人;4.疾病诊治超出我院核准诊疗登记科目的病例,因技术、设备限制或其他原因不能处理的病例。
双向转诊制度为了给患者提供方便、快捷、优质,连续性的医疗服务,进一步加强我院与上、下级医院之间的联系,逐步形成一个有序的转诊网络,特制定本制度。
一、高度重视双向转诊工作,对于只需进行后续治疗、疾病监测、康复指导,护理等服务的患者,医院应结合患者意愿,宣传、鼓励、动员患者转入相应的乡镇卫生院或社区卫生服务中心,由下级医院完成后续康复治疗。
二、建立健全组织领导体系,加强双向转诊管理,将其作为工作的重点任务之一.医院成立双向转诊领导小组,业务副院长为组长,医务科科长为副组长,各临床科室科主任为成员.三、双向转诊协议医院双方要保持通讯畅通,遇危、急病人和大批伤员时直接沟通,建立急救绿色通道.四、我院负责接收各乡镇卫生院、社区卫生服务中心转诊的患者,上级医院转回的病情稳定患者,使转诊患者得到及时、有效的诊治。
如遇急重症患者,根据病情,协议医院拨打我院急诊科急救电话或将病人转入我院急诊科,急诊科任何医务人员不得延误及推委病人,要保证及时、有效的抢救治疗。
转诊预约专线电话0932—7727058.五、根据患者病情需要,科主任认定确需要转出的病人,需与上级医院或下级医院做好联系,保证病人在转出过程中病人的安全。
六、转诊程序(一)转入病人接转诊病人后,在急诊科进行转诊登记,实行优先就诊、检查、交费、取药;需住院者优先安排.(二)转出病人根据病情,需要转到上级医院进一步治疗的患者,在征得科室主任同意、患者及家属同意后,科室医生进行登记、填写转诊病情介绍单,联系好上级医院,医护人员要护送患者转院,确保患者安全转入上级医院,并做好病情交接工作.符合下转条件者,在征得科室主任同意、患者及家属同意后,由科室医生进行登记、填写转诊病情介绍单,并联系好下级医院.由患者家属附带相关诊疗资料,将患者转送至下级医院。
七、双向转诊需具备的条件(一)转上级医院条件(除急诊抢救外)1。
由于我院治疗条件有限,不能实施有效救治,且转运途中风险相对较小的患者;2。
附件4:双向转诊流程图实线表示上转进程;虚线表示下转进程。
一、上级医院职责:l、负责向大关上塘地段社区卫生服务中心和大关上塘街道社区居民推荐医院专家,承担社区医疗顾问。
二、负责接诊大关上塘地段社区卫生服务中心转诊的患者,使转诊患者取得及时、有效的诊治。
3、社区卫生服务中心如遇急重症患者,按照病情,将病人转上级医院急诊,以保证及时、有效的抢救医治,急诊科任何医务人员不得延误及推委病人。
4、按照病情,上级医院认定确能转回社区的病人,转出者要把关,科室应安排副主任医师以上的负责这项工作,以确保医疗质量和医疗安全。
五、按期召开社区医疗工作会议,及时总结双向转诊工作中的问题和经验,随时完善社区卫生服务双向转诊工作。
六、结合会诊中的常见问题组织专家讲座。
二、社区卫生服务中心、社区站职责:一、负责向转诊病人针对性推荐专家。
二、社区医生要认真填写转诊单。
3、接诊上级医院转回社区卫生服务中心、社区站的病人,并及时与上级医院医生联系,成立良好的合作关系。
五、有责任随时反馈上级医院专家的服务情形、医疗服务质量,进一步提高双向转诊的医疗水平。
六、与上级医院联合对社区居民开展健康教育、健康增进活动。
转诊改良办法:1、转诊数量不多。
2、是绿色通道作用不明显。
3、康复回社区尚未真正实施4、是缺乏规范的管理制度5、双向转诊带给病人的优惠尚未充分表现。
改良建议:1、加大宣传力度。
目前居民对社区首诊制的利好熟悉不足,分级医疗的服务格局难以形成,应增强宣传,促使居民合理就医。
2、增强管理与服务。
建议尽快出台全市统一的双向转诊管理规定,制定具体的双向转诊标准,慢慢使双向转诊规范化、制度化和科学化,让转诊做到有章可循。
3、尽快提高社区卫生服务水平,加大社区卫生服务人员培训力度,通过大医院专家到社区来坐诊、会诊等业务上的传帮带,使社区卫生服务机构的服务质量迅速提高。
4、成立规范有序的回访制度。
上级医院和各社区卫生服务中心(站)要对转诊病人成立回访制度,及时与上(下)转单位进行业务沟通,和转诊病人取得联系,关心他们的健康问题,让病人真正体会抵家庭医生的益处。