四议两公开流程图
- 格式:xls
- 大小:16.50 KB
- 文档页数:2
1、村级重大事项“四议两公开”流程图
2、一事一议工程项目管理流程图
3、村级采购流程图
4、财务开支票据审批流程图
5、村级集体固定资产、公益设施变卖、
出租、转让管理流程
6.1、村级集体土地、林地等承包、租赁管理
6.2、村级集体土地、林地流转管理
6.3、报省政府审批农用地转用和土地征收建设项目用地流
8、党务公开流程图
9、村务公开运行流程图
10、财务公开运行流程图
11、户籍办理流程图
12.城乡居民基本医疗保险费征缴流程图
13、城乡居民基本养老保险参保登记流程图
14、农村宅基地建房审批流程图
15、计划生育“两证”办理流程
1、生育登记
网上申请
2、独生子女父母光荣证
16、办理残疾人证流程图
17、慢性病证办理流程图
18、矛盾纠纷调处流程图
19、法律援助流程图
20、贫困户建档立卡流程图
21、贫困户退出流程图
22、贫困户动态调整(自然增减)流程图
23、脱贫攻坚产业奖补申报流程图
不符合条件
24.1、中职学校家庭经济困难学生国家
助学金发放流程图
24.2 中等职业学校免学费流程图
24.3 普通高中建档立卡等家庭经济困难
学生免学杂费流程图
24.4、
24.5、学前教育资助服务流程图
打卡发放
25.“雨露计划”申报流程图
26.1、贫困劳动者公益岗位、居家就业补贴
申报流程图
26.2、贫困劳动者县外转移就业交通补贴
申报流程图
27、光伏扶贫电站收益资金分配流程图
28、政府代缴、减免项
29、农村低保申报审批流程图
30、特困人员救助供养申报流程图。
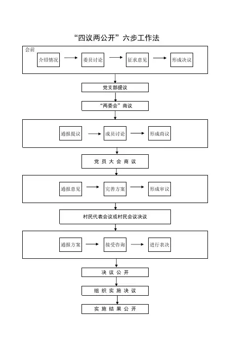
四议两公开具体内容和程序一、主要内容:“四议两公开”工作法的主要内容是:所有村级重大事项和涉及群众切身利益的相关事项都要在村党组织领导下,按照“四议”、“两公开”的程序决策实施。
“四议”即:村党支部会提议,村“两委”会商议,党员大会审议,村民代表会议或村民会议决议;“两公开”即:决议公开,实施结果公开。
二、决策事项:凡是村级重大事务和与农民群众切身利益相关的事项,都要按照“四议两公开”工作法决策、实施。
主要内容包括:新农村建设长期规划和年度工作计划;村集体土地的承包、租赁;公益事业经费筹集、组织实施与管理;集体经济项目的立项、承包及公益事业的建设承包;集体资产购建与处理;村组建设规划、土地征用及补偿分配、宅基地审报;计划生育、农村低保、新型农村合作医疗等政策和制度的落实;重大救灾救济款物的发放,以及其他应当民主决策的事项法律规定必须由村民会议讨论的事项,按有关法律规定执行。
三、决议程序:“四议两公开”工作方法分六个环节实施,要永决策过程中要做到提议准确,商议充分,审议广泛,决议民主公开准确及时,必须按照以下步骤组织实施:1、村党支部会提议。
对村内重大事项,由村党支在充分征求党员村民代表及广大村民意见和认真调查认证的基础上,集体研究提出初步意见和方案,使提议符合中央和省、市、区的要求,符合本村发展实际,符合群众意愿的原则,集体研究提出初步意见和方案。
2、村“两委”会商议。
根据村党总支的初步意见,组织“两委”会进行商议,在商议之前,村党组织书记提议前将提议内容与村委会主任通报并充分沟通。
同时提前将提议议题口头或书面发至“两委”班子成员手中,待充分酝酿、调研、思考之后,再组织“两委”班子成员讨论,发表意见。
对意见分歧比较大的事项,按照少数服从多数的原则形成商议意见。
3、党员议事会或党员大会审议。
对村“两委”商定的意见,提交党员议事会或党员大会讨论审议。
召开党员议事会或党员大会审议前,须把村“两委”商议方案发书面或口头形式,提前一周向党员议事会或党员大会进行通报,在党员中充分酝酿并征求村民意见,提前做好沟通工作;党员议事会或党员大会审议时,到会党员人数须议事会成员数的或党员总数的以上,审议事项经应到会议事会成员人数的或应到党员人数半数以上同意,方可提交村民代表会议或村民会议表决。
四议两公开程序和流程四议两公开是指党的各级组织在决策、执行、管理、服务、监督等各个环节中都充分发扬民主、加强监督,把工作的重心放在广大党员和人民群众身上,让决策过程更加透明、更能广泛听取各方面意见,加强党的组织的激励机制,提高决策质量。
四议,即要议事议事情、议出决策、议来决策的过程以及事后对决策的总结与评价。
倡导充分民主参与,广泛吸纳党员和干部的意见和建议,确保充分听取各方面的声音,在决策中解决问题,凝聚共识,提高决策质量和实施效果。
两公开,即对党务公开和权力运行公开。
党务公开是指在党的组织生活、党风廉政建设、党建工作等方面进行公开,提高党组织活动的透明度;权力运行公开则是指对官员权力运行过程进行公开,增强权力的监督和制约。
一、议事程序1.研究议题立项:确定需要讨论或决策的问题,进行立项并明确研究的范围和目标。
2.调查研究:组织相关人员进行必要的调研和收集资料,了解问题的现状、原因和解决方法。
3.座谈听取意见:组织相关人员进行座谈会,邀请各方面意见、学术机构、专家学者和群众代表等进行讨论,收集各方面的意见和建议。
4.形成初步意见:根据调研和座谈的结果,形成初步的决策方案,并进行内部讨论和修改。
5.确定决策方案:召开决策会议,让各方面人员进行讨论,并最终确定决策方案。
6.公示公告:决策方案确定后,向党员、群众公示公告,让更多人了解并提出意见和建议。
7.最终决策:根据公示公告期间收集到的意见和建议,对决策方案进行再次修改和完善,并最终确定最终的决策方案。
二、执行流程1.组织实施:根据最终的决策方案,分解任务,明确责任,并进行任务的实施。
2.监督评估:对执行情况进行定期的监督和评估,及时发现问题,进行整改和优化。
3.反馈情况:将执行情况及时向相关人员进行反馈,包括任务完成情况、遇到的问题、需要的支持等。
4.整改优化:根据反馈结果,对执行过程中存在的问题进行整改和优化。
5.绩效考核:根据执行情况和效果,进行绩效考核,及时奖励优质执行的人员,对执行不到位的人员进行约谈和纠正。
“四议两公开”工作制度凡涉及社区重大事务和与居民群众切身利益相关的事项,按照“四议两公开”工作法决策、实施。
(一)决策事项主要内容:社区建设规划(3年或5年)、社区年度发展计划和居民公约的修订;集体资源、资产、资金的使用和管理以及楼栋长、单位长奖励金费的确定;社区重大救灾、救济、求助事项和低保事项的实施,以及其他应当民主决策的事项。
法律规定必须由居民会议讨论通过的事项,按有关法律规定执行。
(二)决策程序“四议两公开”分六步实施,可以一事一议,也可以多项内容一次商议。
第一步,社区党支委会提议。
对社区内重大事项的提议,由社区党支委会在充分征求党员、居民代表及广大居民意见的基础上,按照符合上级和法律法规的要求、符合本社区发展实际、符合群众意愿的原则,集体研究提出初步意见。
第二步,社区“两委”会商议。
根据社区党支部提出初步意见,组织召开社区“两委”联席会进行商议。
在商议之前,社区党支部书记提前将支委会提议内容与居委会主任通报并充分沟通。
同时,提前将议题口头或书面告知“两委”班子成员,然后召开会议,组织“两委”班子成员讨论、发表意见。
对有分歧意见的事项,根据不同情况,可采取口头、举手、无记名投票等方式进行表决,按照少数服从多数的原则形成商议意见。
第三步,党员大会审议。
将社区“两委”会商定的意见,提交党员大会讨论审议。
召开党员大会审议前,把社区“两委”会商定的意见以书面或口头形式,向全体党员进行传达,在党员中充分酝酿。
党员大会审议时,到会党员人数要达到党员总数的三分之二以上,审议事项需到会党员半数以上同意方可提交居民代表会议或居民会议表决。
党员大会审议后,要认真吸纳党员的意见和建议,对事项实施意见进行修订完善,并组织党员入户做好宣传工作。
第四步,居民代表会议或居民会议决议。
对党员大会通过的事项意见,由居委会主持召集居民代表会议或居民会议讨论表决。
居委会要采取适当方式,使居民代表或居民充分了解决策的动因、事项和预期目标效果。
四议两公开
1、四议两公开的内容:
“四议两公开”即“4+2”工作法,即农村所有村级重大事项都必须在村党组织领导下,按照“四议”、“两公开”的程序决策实施,“四议”:党支部会提议、“两委”会商议、党员大会审议、村民代表会议或村民会议决议;“两公开”:决议公开、实施结果公开。
通过“4+2”工作法的实践和完善,基层民主深入人心,农村党建扎实推进,乡风文明日新月异,农村经济快速发展,社会主义新农村建设呈现出一派勃勃生机。
2、按照“四议两公开”工作法程序进行决策的事项,主要包括:1、村民自治章程和村规民约的制定。
村发展规划和年度工作计划的制定。
2、村集体资产购建与处理、集体借贷、集体企业改制;村机动地、林果基地及“四荒”地等经济资源的开发、承包、租赁、流转;集体所有的土地、房屋、设施、机械等的经营、承包租赁、出售、转让及费用的收缴和使用;集体经济项目的立项、承包。
3、村组建设规划、土地征用及补偿分配、宅基地的规划、报批;生育证发放对象、优抚对象、低保户、五保户的确定;政府下拨和社会捐赠的救灾、救济、扶贫、助残等款物的分配、发放。
4、农村公益事业建设承包、经费筹集、组织、实施与管理。
5、村集体大额资金的使用、支出。
6、法律规定必须由村民会议讨论通过的事项,按有关法律规定执行。
7、其他事关村民切身利益和全村经济发展稳定的事项。
2、“四议两公开”参考流程图
“四议两公开”参考流程图
3、2010宁海村“四议两公开”的决议事项(表格)
4、“四议两公开”记录本照片(缺)。