幕墙构造节点详图演示 (2)资料
- 格式:pps
- 大小:16.82 MB
- 文档页数:145
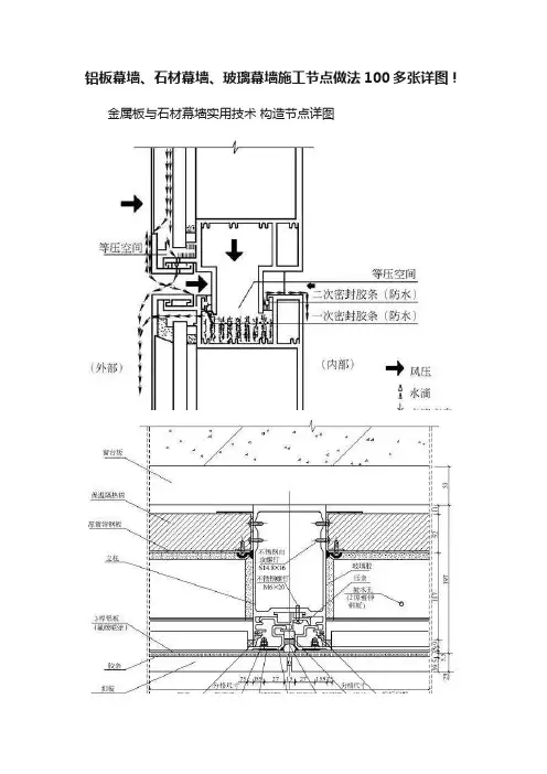
铝板幕墙、石材幕墙、玻璃幕墙施工节点做法100多张详图!金属板与石材幕墙实用技术构造节点详图图3-16 耳子与幕墙框格体系螺蚊联接节点图3-17a铝板幕墙标准竖剖节点图3-17b铝板幕墙标准横剖节点图3-18 外插式单层铝板与幕墙隔构体系节点图3-19 开洞铝板节点图3-20 开洞铝板节点图3-21 铝板幕墙节点图3-22a 铝板幕墙横剖典型节点图3-22b 铝板幕墙纵剖典型节点图3-23a 铝板幕墙标准纵剖节点图3-23b 铝板幕墙标准横剖节点图3-24a 铝板标准竖向节点图3-24b 铝板标准横向节点图3-25a 单元式层间连接节点图3-25b 玻璃翼节点图3-25c 转角节点图3-26 转角节点图3-27 铝板包角节点图3-28 铝板幕墙阳角转角节点图3-29 女儿墙单层铝板压顶构造图3-30 铝板幕墙女儿墙收口节点图图3-39a 铝板横剖节点图3-39b 铝板竖剖节点图3-40a 铝板横剖节点图3-40b 铝板竖剖节点图3-41a 铝板横剖节点图3-41b 铝板竖剖节点图3-42a 铝复合板幕墙标准横剖节点图3-42b 铝复合板幕墙标准纵剖节点图3-42c 铝复合板幕墙标准纵剖节点图3-43 铝板做滴水线节点图3-44 铝板包女儿墙节点图3-46铝板阴角节点图3-45 铝板包大玻璃橱窗节点图3-47 铝板阳角节点图3-52 蜂窝铝板标准节点图3-53 蜂窝铝板标准节点图3-54 蜂窝铝板标准节点图3-55 蜂窝铝板标准节点图3-64 复合连接图3-71 背栓在异型部位的连接情况图3-72 敞缝图3-74a 钢销式石材幕墙节点构造图3-74b 销钉式图3-75a 石材横向剖面节点图3-75b 石材纵向剖面节点图3-75c 石材横向剖面节点图3-75d 石材纵向剖面节点图3-75e 石材幕墙底部收口节点图3-76a 石材横剖节点图3-76b 石材竖剖节点图3-77 石材节点图3-78 石材节点图3-79 石材节点图3-80a 石材幕墙节点图3-80b 石材幕墙节点图3-81a 石材横剖节点图3-81b 石材竖剖节点图3-82a 石材幕墙节点图3-82b 石材幕墙节点图3-83a 石材横剖节点图3-83b 石材竖剖节点图3-84a 石材标准横剖节点图3-84a 石材标准纵剖节点图3-85a 石材干挂标准横剖节点图3-85b 石材干挂标准纵剖节点图3-86a 石材幕墙横剖节点图3-86b 石材幕墙竖剖节点图3-87a 石材横剖节点图3-87a 石材横剖节点、图3-88a 石材横剖节点图3-88b 石材纵剖节点图3-89a 石材横剖节点图3-89b 石材纵剖节点图3-90 石材幕墙节点图3-91a 石材标准横剖面节点详图图3-91b 石材标准纵剖面节点详图图3-91c 石材面板与单元组件连接节点图3-92a 石材面板与单元组件连接节点图3-92b 石材面板与单元组件连接节点图3-92c 石材面板与单元组件连接节点图3-93a 石材面板与单元组件连接节点。
金属板与石材幕墙实用技术配套光盘构造节点详图图1-1 等压原理图图3-15 不折边平板做法图3-16 耳子与幕墙框格体系螺蚊联接节点图3-17a 铝板幕墙标准竖剖节点图3-17b 铝板幕墙标准横剖节点图3-18 外插式单层铝板与幕墙隔构体系节点图3-19 开洞铝板节点图3-20 开洞铝板节点图3-21 铝板幕墙节点图3-22a 铝板幕墙横剖典型节点图3-22b 铝板幕墙纵剖典型节点图3-23a 铝板幕墙标准纵剖节点图3-23b 铝板幕墙标准横剖节点图3-24a 铝板标准竖向节点图3-24b 铝板标准横向节点图3-25a 单元式层间连接节点图3-25b 玻璃翼节点图3-25c 转角节点图3-26 转角节点图3-27 铝板包角节点图3-28 铝板幕墙阳角转角节点图3-29 女儿墙单层铝板压顶构造图3-30 铝板幕墙女儿墙收口节点图图3-39a 铝板横剖节点图3-39b 铝板竖剖节点图3-40a 铝板横剖节点图3-40b 铝板竖剖节点图3-41a 铝板横剖节点图3-41b 铝板竖剖节点图3-42a 铝复合板幕墙标准横剖节点图3-42b 铝复合板幕墙标准纵剖节点图3-42c 铝复合板幕墙标准纵剖节点图3-43 铝板做滴水线节点图3-44 铝板包女儿墙节点图3-46 铝板阴角节点图3-45 铝板包大玻璃橱窗节点图3-47 铝板阳角节点图3-52 蜂窝铝板标准节点图3-53 蜂窝铝板标准节点图3-54 蜂窝铝板标准节点图3-55 蜂窝铝板标准节点图3-64 复合连接图3-71 背栓在异型部位的连接情况图3-72 敞缝图3-74a 钢销式石材幕墙节点构造图3-74b 销钉式图3-75a 石材横向剖面节点图3-75b 石材纵向剖面节点图3-75c 石材横向剖面节点。
金属板与石材幕墙实用技术
配套光盘
构造节点详图
图1-1 等压原理图
图3-15 不折边平板做法
图3-16 耳子与幕墙框格体系螺蚊联接节点
图3-17a 铝板幕墙标准竖剖节点
图3-17b 铝板幕墙标准横剖节点
图3-18 外插式单层铝板与幕墙隔构体系节点
图3-19 开洞铝板节点
图3-20 开洞铝板节点
图3-21 铝板幕墙节点
图3-22a 铝板幕墙横剖典型节点
图3-22b 铝板幕墙纵剖典型节点
图3-23a 铝板幕墙标准纵剖节点
图3-23b 铝板幕墙标准横剖节点
图3-24a 铝板标准竖向节点
图3-24b 铝板标准横向节点
图3-25a 单元式层间连接节点
图3-25b 玻璃翼节点
图3-25c 转角节点
图3-26 转角节点
图3-27 铝板包角节点
图3-28 铝板幕墙阳角转角节点
图3-29 女儿墙单层铝板压顶构造
图3-30 铝板幕墙女儿墙收口节点图
图3-39a 铝板横剖节点
图3-39b 铝板竖剖节点
图3-40a 铝板横剖节点
图3-40b 铝板竖剖节点
图3-41a 铝板横剖节点
图3-41b 铝板竖剖节点
图3-42a 铝复合板幕墙标准横剖节点
图3-42b 铝复合板幕墙标准纵剖节点
图3-42c 铝复合板幕墙标准纵剖节点
图3-43 铝板做滴水线节点
图3-44 铝板包女儿墙节点
图3-46 铝板阴角节点
图3-45 铝板包大玻璃橱窗节点
图3-47 铝板阳角节点
图3-52 蜂窝铝板标准节点
图3-53 蜂窝铝板标准节点
图3-54 蜂窝铝板标准节点
图3-55 蜂窝铝板标准节点
图3-64 复合连接
图3-71 背栓在异型部位的连接情况
图3-72 敞缝
图3-74a 钢销式石材幕墙节点构造
图3-74b 销钉式
图3-75a 石材横向剖面节点
图3-75b 石材纵向剖面节点
图3-75c 石材横向剖面节点。