宴会摆台服务工作标准表格格式
- 格式:docx
- 大小:318.17 KB
- 文档页数:4
宴会上菜进度表
宴会上菜进度表
宴会特别服务进度表
宴会特别服务进度表
宴会需用餐具物品清单
宴会需用餐具、物品清单
服务规范检查表
班组姓名:时间:月日检查者:
就餐环境检查
员工仪表仪容检查
工作纪律检查
班组姓名:时间:月日检查者:
餐用具检查表
班组姓名:时间:月日检查者:
例会
会议时间:每日17:20-17:50(星期六、日例外)
会议地点:208房间
参会人员:部门经理、;楼面主任、楼层部长、传菜部主任、传菜部长
会议主持:部门经理
会议记录:陈荣玲
主要内容:
1、昨日工作需协调的地方,客人投诉处理,每个楼层消费比较高(2000元以上)
的客户资料收集整理并上交
2、与其他部门需沟通的地方
3、楼面部与传菜部厨房的协调
会议纪律:
1、提前5分钟到会,有重要事不能参加的需提前向部门经理请假。
2、参会人员迟到者罚款20元/次,未请假旷会者罚款50元/次,未请假者中途退
场者罚款30元/次
3、参会者必须将手机调成震动或关机,有重要事务的请于会场外接听电话,禁止
铃声或通话声影响会议。
会议要求:
会议按秩序发言,讲话要简明扼要,有重点,可以协调解决的不要提到会议上说明。
不要打断他人的谈话,每位的发言时间为2分钟。
会议由二楼负责安排会场,如果变化需提前通知楼面办公室。
为了保持会场整洁,会议期间不要抽烟。
中餐宴会摆台评分表日期: 年 月 日项目要求和评分标准满分扣分123456台布5动作利索一次铺成台布中心凸缝折痕向上且对准正、副主位,下垂四角均称5转盘3居中摆在台面正中央3餐碟10定位均匀,碟与碟间距均等餐碟边缘距桌边1.5cm餐桌中心与相对两个餐位三点一线10翅碗味碟10翅碗在餐碟左上方距餐碟边缘1cm,味碟在翅碗右侧,与翅碗边缘切线相接,汤匙把柄朝左与味碟中心线成直线10勺筷5筷架放于味碟右侧1cm处,筷子钢勺放在筷架上,筷子尾端距桌边1.5cm牙签在钢勺与筷子中间与钢勺尾端平齐,5酒杯10红酒杯正对餐碟中线、水杯在左、烈酒杯在右三杯杯底相距1cm,水杯杯底距翅碗1cm三杯杯柄成一直线与桌边平行10餐巾花15巾花放餐碟上,观赏面朝客人,巾边朝台中心主位皇冠,副主位主教帽、其他位星形15巾花造型美观、挺拔、不松散,整体效果好花盘汤勺2花盘置于转盘中心2拉椅55效果55斟酒2020备注小 计 扣 分90得 分项目裁判长: 裁判员: 计分员:中餐摆台服务技能比赛评分表姓名: 最后15、水杯摆在位碗正上方,与位碗相距0.5CM516、餐酒杯摆在水杯右方,距水杯1CM517、烈酒杯摆在餐酒杯右方,距酒杯1CM,三杯成一直线518、餐巾花杯花放在水杯上,折十款不同式样的餐巾花(五款植物,五款动物,头部向右),在工作台上操作,名字摆在味碗左侧。
花款要突出正副主人位,并要高出其他位置的花。
519、上花盆摆在转盘中央320、台面效果台面餐具,用具摆位整齐一致、美观3间距均等,台面用具清洁、无破损321、斟酒①用干净布将瓶口抹干净;②闻一下,检查酒水质量;③站在客人身后右侧斟酒;④左手托托盘,右手持瓶;⑤酒的标签朝外;⑥斟酒的份量:啤酒斟4/5(不用斟),红酒斟2/3,烈酒斟3/4红酒4烈酒422、菜单摆放于转盘上,对应正副主人位,菜单下沿中心距离转盘边缘1.5厘米。
字体面向正副主人,设计精制,突出本酒店特色。
宴会服务台设置标准
1:每个工作台由2张会议桌(水平相接)或2张宽45cm的ibm桌(平行相接)或1张宽90cm的ibm桌组成。
2:每个工作台服务4个客用圆桌
3:每个工作台配置的物品如下:
1、骨碟44个(每摞11个)
2、汤碗44个(每摞11个)
3、毛巾碟4个
4、味碟10个
5、筷架8个
6、筷子8双
7、饮料杯4个
8、红酒杯4个
9、纸巾一碟(12张)
10、果叉40把
11、大公勺=视菜品情况而定(汤菜*4)
12、分更=视菜品情况而定(需要分更菜品*4)
13、毛巾篮1个
14、下篮筐2个
15、红酒杯筐2个
16、饮料杯筐2个
17、圆托4个
18、刀叉一副
19、汤匙44把
20、菜单及服务流程1张
21、烟缸12个
22、包装牙签10支或牙签盅1个
23、火柴2盒。
中餐摆台评分表姓名:部门:日期:总分:评委:餐饮服务操作比赛考核标准比赛内容:1、中餐摆台.斟酒服务(50分)2、个案处理(餐厅突发事情的解决办法)(20分)3、菜肴推荐(20分)4、总体印象分(10分)一、中餐摆台操作细则与标准:摆台要求:10人中餐宴会台.服务操作要求:斟酒。
1、摆台的顺序和标准(40分)(1)、铺台布:站在主人位右侧,拉开椅子,将台布一次铺成。
(2分)(2)、台布中心突缝向上,对准正、副主人,台布四周下垂的部分要均匀。
(2分)(3)、摆转台和花瓶/桌面饰物:转台,花瓶置于餐桌中心。
(2分)(4)、拉椅定位:要从主人位开始,椅子中心要对准台布中缝,然后按顺时针方向进行。
餐椅的坐面边缘距下垂台布1厘米,间距要均匀。
(3分)(5)、托盘的使用要求:摆台操作时要左手将托盘托起,五指分开,托住托盘底面,掌心不碰到托盘。
托盘悬位于椅背外,不能置于人前。
餐具按顺序分类摆放,(酒杯口朝上摆放)。
右手摆餐具.站在主人位右侧顺时针方向进行,动作快而不乱,步伐要稳。
(3分) (6)、摆展示碟、骨碟:展示碟边缘距桌边1.5厘米,骨碟与展示碟的周边距离相等.操作时手拿餐碟边缘部分。
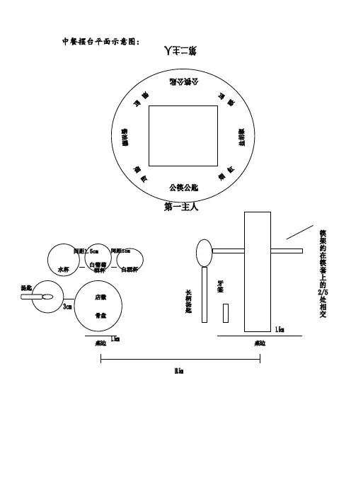
(见图3分)(7)、摆翅碗、味碟:手拿翅碗边缘部分,放于餐碟左上方,翅碗边缘距餐碟边缘1厘米,味碟中心线与瓷更平行放于餐盘左上方相应位置。
(见图3分)(8)、摆瓷更:手拿瓷更柄部,放于翅碗内,瓷更柄部朝左。
(见图2分)(9)、摆筷架、分更、筷子、牙签:筷架与翅碗中心在同一水平线上.筷架近餐碟一侧放分更,右边放筷子,牙签放在筷子的右边与筷子相距1厘米。
分更、筷子、牙签与餐具的中轴线相互平行,与桌边相距1.5厘米(见图5分)(10)、摆水杯、黄酒杯、白酒杯:操作时手拿酒杯的下半步,不碰杯口。
水杯放在翅碗的左上方,黄、白酒杯与水杯成一条斜线,与翅碗上方的切线成45度角。
三杯之间相距1厘米。
(见图4分)(11)、摆烟缸:摆放四个烟缸。
附赠酒店管理的八大要点酒店管理无小事,酒店管理的任一个方面都可能至关重要,酒店管理的每一个细节都可能关乎成败。
归纳起来,酒店管理离不开以下八件事:酒店质量管理酒店取得成功的关键是什么?是能持续提供符合客户要求,能得到客户满意和信赖的高质量产品和服务。
质量管理是酒店管理最基本的要素,最基本思路就是通过酒店店运行中的每一个过程进行调查、分析,从而确定质量管理的总体状况。
酒店能源管理加强能源管理是酒店规划建设以及运营阶段的一个永恒的话题。
作为酒店的管理人员应该注重酒店的建筑节能,设备节能,人员节能,合理处理好能源的分配和使用。
总之,能源管理的目标是使酒店在整个寿命周期的能源消耗及配套改造工程费用降到最低。
酒店客户管理酒店通过提供产品和服务实现经营效益。
客户作为产品和服务的接受者,对于酒店至关重要。
拥有客户的酒店才拥有生存和发展的基础,而拥有稳定客户的酒店才具有进行市场竞争的宝贵资源。
客户管理的实质是通过调查分析,进行客户开发、客户服务、客户促销、客户维护并促进客户价值的提升。
技术研发管理酒店是劳动密集型产业,技术门槛很低,如果其他行业具有实力的企业看重这块市场并投入竞争的话,短期内很快能研发出在技术、质量和成本方面超过基准经营水平的酒店,很快成为强有力的竞争对手,新酒店的成长速度往往是惊人的。
如果酒店经营者不能利用暂时形成的技术和经验优势,抓住机遇不断研发出新产品,不断改进产品性能,改进技术研发管理能力,对酒店而言往往是致命的。
服务现场管理一个酒店的服务质量对于酒店的利益多少有着十分大的联系。
客户的满意程度也大多由此决定。
服务质量形成于过程之中,对服务质量的控制,需要加强事先的过程设计,解决好影响过程的人、设施、材料、方法、环境等方面的问题。
以一个好的服务体系去面对客户。
酒店目标管理目标管理是现代企业管理最集中的体现,企业在近期要达到一个什么样的目标,通过制定详细计划来体现管理者的'意志,以及达标进取的目的。
摆台技能实操评分表(42分)姓名用时 摆台技能实操评分备注:1、考核摆台规格:台面2米、台布2米、转盘1.2米、餐具店铺自定; 2、摆台时间:参考时间7分钟,店铺自行根据餐具规格等因素定时间; 附加表2:托盘技能实操评分表(10分) 标准要求 设定分值 单项扣分 单项得分项目满分 细节要求 扣分 得分 铺台布 (3) 1 站在主人位右侧,将椅子拉开,台布一次铺成1 台布中心凸缝向上,且对准正、副主人位0.5 台布四周下垂部分均等,十字取中(误差在5厘米内不扣分)0.5 铺台布动作规范摆转台、花盆(3)1.5 转台位于餐桌中心(误差在5厘米内不扣分)1.5 花盆位于转台中心拉椅定位(2.5)0.5 从主人位开始,按顺时针方向摆放1 餐椅坐面边缘距下垂台布1厘米1 餐椅之间距离对等(上下误差在5厘米内不扣分)消毒(0.5) 0.5 用消毒毛巾对双手消毒摆骨碟 (3) 0.5 从主人位开始,按顺时针方向摆放1 骨碟距离桌边1.5厘米1 骨碟与花瓶三点一线0.5 操作时手拿边缘部分摆汤碗、汤匙 (2.5) 0.5 将汤碗放于骨碟左上方0.5 汤勺放在汤碗内,柄朝左(错一个此项不得分)0.5 操作时手拿边缘部分1 口汤碗边缘距骨碟顶部间距1厘米摆味碟(2)1 味碟置于骨碟右上方,与汤碗间距1厘米0.5 与汤碗保持同一水平线0.5 操作时手拿边缘部分摆筷架/筷子 (4) 1 筷架与味碟间距1厘米1 口汤碗、味碟与筷架在同一水平线上1 筷子与骨碟中心线平行,并与口汤碗、味碟、筷架三点一线成90度角1 筷子尾部距桌边1.5厘米(筷套图案向上)摆牙签(2)1 牙签与筷子平行,相距1厘米1 牙签尾部与骨碟横向中心线持平(牙签套图案向上)摆红酒杯 注1将红酒杯定位在骨碟中心线上方(杯底不可在口汤碗和转盘下)注1:每个杯子0.5(一个杯子一项不合格不得分)摆烟缸(1.5)0.5 摆在主宾位与主人位之间,每2个餐位之间摆一个烟缸1 烟缸垫距转盘7厘米托盘使用(1)0.5 餐具按顺序分类摆整齐,重量分布均匀,酒具杯口朝上0.5 动作规范,托盘外展至椅背后台面效果(3)1 台面餐具、用具摆放整齐一致,布局合理美观1 每组餐具间距均等,摆放位置正确(骨碟间距误差在5厘米内不扣分)1 台面用具整洁,无破损整体规范(4)1.5 按标准程序进行操作1.5 没有操作失误,如打碎餐具、餐具落地等(注:凡错一项,此项不得分)1 操作时一律在客人的右侧进行总体印象(10) 10 动作规范、敏捷、轻声大方、美观、清洁卫生加分标准每提前1整分钟完成加2分,每超过1分钟扣2分合计 42仪表仪态1分左手臂自然弯成90°角1分肘与腰间要有15公分的距离1分掌心向上,五指分开,用手指和1分大拇指指根部托住盘底掌心不与盘底接触,手掌形成凹1分形托盘稳定性考核(滴出一滴扣0.55分分,大量扣2分,打翻扣5分)姓名:总分:附加表3:斟酒技能实操评分表(10分)标准要求设定分值单项扣分单项得分仪表仪态1分‘丁’字步站在客人的右侧1分商标朝向客人1分瓶口与杯口保持1-2厘米距离,2分瓶口不可碰杯口将酒缓缓倒入,收瓶时手腕带动4分瓶身旋转45度,酒不可滴出葡萄酒1/3杯1分姓名:总分:附加表4:折花技能实操评分表(10分)标准要求设定分值单项扣分单项得分仪表仪态1分折花动作规范利索、不要用牙咬,1分手不可触摸杯口折10种不同类型的杯花:动、植5分物各5种突出正主位,口布花摆放整齐、1分高矮有序,杯花观赏面朝向客人,动物造型头偏向右折叠均匀,形象逼真,线条挺括2分美观姓名:总分:。
中餐宴会摆台评分表(2021年参考新格式)编号:日期:项目分数评分细节扣分得分台布(5分)3两张台布都一次成形,每张1.5分2台布正面朝上,居中,四周下垂均等座椅位置(4分)2(每组0.1)双手拉椅、椅距均等2(每组0.1)与餐具正对,与台布间隔一公分骨盘(4分)1(每组0.1)间隔基本相等2(每组0.2)骨盘徽标正向,距离桌边一指宽(1.5cm)1(每组0.1)操作时拿边缘部分汤碗(3分)3位置:见图(每组0.2)操作时拿边(每组0.1)汤匙柄(4分)2(每组0.1)方向一致,一律向左2(每组0.1)操作时拿柄筷子(6分)2(每组0.1)离桌边一指(1.5cm)2(每组0.1)约2/5位置放在筷子架上2(每组0.1)操作时拿筷子下部三杯摆放(11分)8(每组0.2)位置红酒杯杯底与骨盘间距3cm白酒杯与红酒杯杯肚间距1cm红酒杯与水杯杯肚间距1.5cm三杯中心成一直线3(每组0.1)拿法拿杯具下半部或柄,不碰杯口公筷、汤匙(2分)2(每组1分)见图调味品(2分)2(每组1)见图,两两对称成一直线烟缸、火柴(2分)2(每组0.5)见图,两两对称成一直线牙签(2分)(每组0.2)居中、底部平行,见图菜单(2分)2(每组1分)竖放在主人、副主人面前餐具与公筷之间口布(4分)2符合主题、整体协调、突出主位2(每组0.2)折法卫生、一次成型、花型逼真、美观大方托盘(6分)2托盘位置高于腰、悬于椅子外4动作平稳、姿势协调斟酒(13分)2开葡萄酒瓶方法正确,瓶口、木塞完好1酒瓶商标面向客人10(每组0.5)白酒、红葡萄酒按规定量斟酒台面设计与总体印象(10分)4台面设计主题明确,布置符合主题要求4颜色搭配合理,整体美观,具有强烈艺术美感2操作规范、娴熟、敏捷,动作优美失误扣分操作时每调整或重复一次扣1分餐具每落地或遗忘一件扣5分,每碰倒或碰撞一次扣1分。
不滴酒,洒一滴扣1分,洒一滩或溢出扣3分时间18分钟每提前满30秒加1分,每超时满30秒扣1分。
餐厅宴会摆台评分表(doc 1页)
餐厅宴会摆台评分表
姓名:职位:比赛编号年月日
序号程序标准及要求分
值
得分
优
90%
良
80%
一
般
60%
工作准备
检查
物品准备;仪容仪表;
桌布紧贴桌面;正面向上;中线对主位与副主位;
转盘一次定位;与桌面成同心圆;
拉椅定位从主宾开始;均匀分布;手脚协调;
餐具托盘稳健;摆放物品准确;动作轻快;手持动作规范;餐具间距以附图为准。
摆放杯具手持动作规范;杯具间距以附图为准。
折杯花不能用嘴咬;折花台面清洁;造型与主次搭配合理美观;观赏面朝向正确;化型不超过3种;
摆放其他公筷、勺、配菜菜单(主人与主宾、副主人与副主宾之间)、小花瓶
摆台卡台卡朝向餐厅入口处;
自查从主为开始绕桌一周进行检查;
整体效果10。