故障流程图解析
- 格式:docx
- 大小:1.07 MB
- 文档页数:12
常见故障分析及排除
1.监控设备.探测器在调试中可能发生的故障分析及排除DB、DB1监控设备常见故障列表、分析及处理方法如下:
2. Q系列探测器故障现象及排除方法
Q系列探测器常见故障列表.分析及处理方法如下:
对于DB 型监控设备,当报故障以后,先检查是否市电断电,如确定不是 主电断电,那么可以按下面的流程进行检查。
报故障后的检修流程说明:
1. 监控室内的监控设备发生报“故障"以后(颜色为 黄色时,提示探头掉线颜色为黄色加惊叹号为探测器 掉线〉,先査看报故障的地址和具体数值,并做记录;
2. 故障为黄色时,通知系统维护人员査看探头是否断 线;故障为黄色加惊叹弓
时,询问屯工是否断屯;
3. 相淡人员处理以后 与监控室进行通话,报告检修情 况;
4. 监控室人员进行复位操作,并观察原报故障地址是 否继续报故障,如恢复正常,则
检修完成;如果还在
“报故障”,则通知维修人员继续检査.维修,宜至故 障消除。
<世色加惊叹号?
・・・・• •・・•・•
是
<探测器断电?
是
等待恢堂供电
监控设备“复 位”操作
监控设备声光报
故障
査看故障种类
监控设备“复 位”操作
监控设备“貝
位”操作。
电脑故障判断与排除分析流程图一、电脑开机后无显示(排除各种线缆未接好的可能)1、有声音:1.一长三短:显卡问题。
解决方法:重插2.持续均匀的响声:内存问题。
解决方法:重插、换插槽、去尘3.一声响:本应是正常启动声音,若无显示,可能是显卡坏(备注:有声音说明开始自检了,说明主板和CPU是好的,问题只可能在内存及显卡)2、无声音:这种问题常见原因有:内存接触不良(可能性最大)—主板与机箱电路短路(也较常见)—主板有问题—CPU问题。
解决思路:将内存去尘后重插—如若不行,想办法证明主板与CPU是好的,方法是:拔内存后开机若有声音,证明主板和CPU是好的,问题还在内存,解决方法同上。
若无声音,说明问题在主板(可能性最大,往往是短路造成)及CPU,解决方法是:将配件从机箱中取出,将主板应放在一个绝缘体上放在机箱外面测试(只留主板,CPU,内存及接好SPEAK线,只要有内存报警声音,主板及CPU就是好的,只要再将内存插上就可以了),如若还不行的话,可以给主板CMOS放电,如若还不行,那就只能替换掉主板或CPU中的一个来试了,一般是因为主板有问题造成的,CPU问题可能较小。
二、开机后有显示1、自检过不去:肯定是因为CMOS设置不正确倒致,解决方法:进入CMOS装入默认值,然后设置几个必须的选项,如磁盘等。
如若不行,可以给CMOS放电2、自检通过,但不能引导系统:肯定是因为磁盘上无系统文件或系统文件及引导文件不全或分区被破坏,解决方法:先确认原因,分区若被删除,只能重新分区,分区存在,说明文件被破坏,只能重新安装操作系统了3、启动操作系统时死机:可能是操作系统问题或硬件不稳定所致,先假设是系统问题:通过还原点、备份、GHOST映像文件来恢复,如若还不行的话,就可能是硬件问题,要证实是否是硬件质量问题,可以通过安装系统来证实,系统装不上说明硬件质量有问题:可能是内存质量、主板质量、硬盘坏道(可通过SCANDISK的检测),这时只能通过替换法来测试了三、运行软件时死机或有问题:首先看运行其它类似的软件是否有问题,若只是运行这个软件有问题,可能是软件本身有问题,重装后再试,若运行很多软件都有问题,可能原因就是系统问题或硬件质量问题,解决方法:重新安装系统来测试,安装时没问题,说明硬件没问题,原先应该是系统有问题,若安装系统时有问题,说明是硬件质量问题:可能是内存质量、主板质量、硬盘坏道(可通过SCANDISK的检测),这时只能通过替换法来测试了。
精品文档
仪器故障处理流程图
仪器出现故障
保留仪器报警信息和相关数据
填写《仪器故障维修记录》
未能解决
维修或通知专业组长
及时通知工程师共同维修
故障涉及检测部分故障未涉及检测部分
需要做性能验证不需要做性能验证大型维修小型维修
验证:精密度,质控,
故障前后样品比对
验证:质控
或与其他仪器进行
样品比对
验证合格
产生费用上报技
术管理组长
工程师填写《仪器维修报告》
工作人员填写《仪器故障维修记录》
存档《仪器维修报告》、《仪器故障维修记录》、《仪器维修后验
证记录》、《仪器验证原始数据》
.。
故障检修流程图及故障现象说明1.三无(无光栅、无图像、无声音):三无电源指示灯能否亮查电源特别是 +3.3V查 5V-STBY亮不亮断开电源板和信号办理板的连结,再测试 5V-STBY不正常正常将 X604 的 1 脚 STANDBY 对 5V 短路,再测电源查 N501 和 N601正常不正常正常不正常分别断开电源板和视频办理板及主板的连结再判断是哪块板工作不正常拔去 X604 再测电源N606 工作异样电源板问题JI正常不正常查 N606 的供电、晶振电源板问题某路电源出现短路正常查 N201、N601、N204、 N701 的供电晶振及总线注:电源具备过流、过压等保护功能,若某路电源出现过流、过压,电源将出现保护而惹起无输出。
2.有声音无图像:有声音无图像有无开机界面有无试其余通道能否都无图像如有示波器,可先检测X3, X4 的信号波形无有检查 N201(PW2300)及外头转入 4 检查程序拔去 X3 、X4 ,开机能否出现白屏正常不正常正常不正常检查背光板供电 +120V查 N601(218)的输入信号和供电正常不正常查 N201 及其输出部分电路N601 破坏正常不正常电源板坏3.有图像无声音有图像无声音伴音功放板上 X700 能否有输出无丈量伴音功放第 3 脚和 5 脚有无信号输入有音箱坏有无丈量 N400 相对应的目前通道的伴音输入能否正常伴音功放或其外头电路有问题,检查供电, SHUTDOWN 脚控制能否正常;能否存在输出短路等可能致使保护启动的可能是否顺着输入音频信号的通道检查各级电路R2S15900或其外头电路的问题4.某种通道工作不正常1 AV无图像测 N400 第 7 脚( AV1 )、第 10 脚( AV2 )能否有信号输入有无测 X4 第 1 脚能否有信号输出由 AV 插座至 N102 通路有问题否是N400 到 X4 电路有问题测 N201(PW2300)输出排阻看 PW2300 输出能否正常否是N201 (PW218)或其外头电路有问题N201 PW2300 或其外头电路有问题高频板检修流程喇叭零件有问题1,有图无声:是否正常没有是否有无若耳机没声音,喇叭有声音则检查耳机插座及耳机功放 N302(NJW1109)的外头电路。
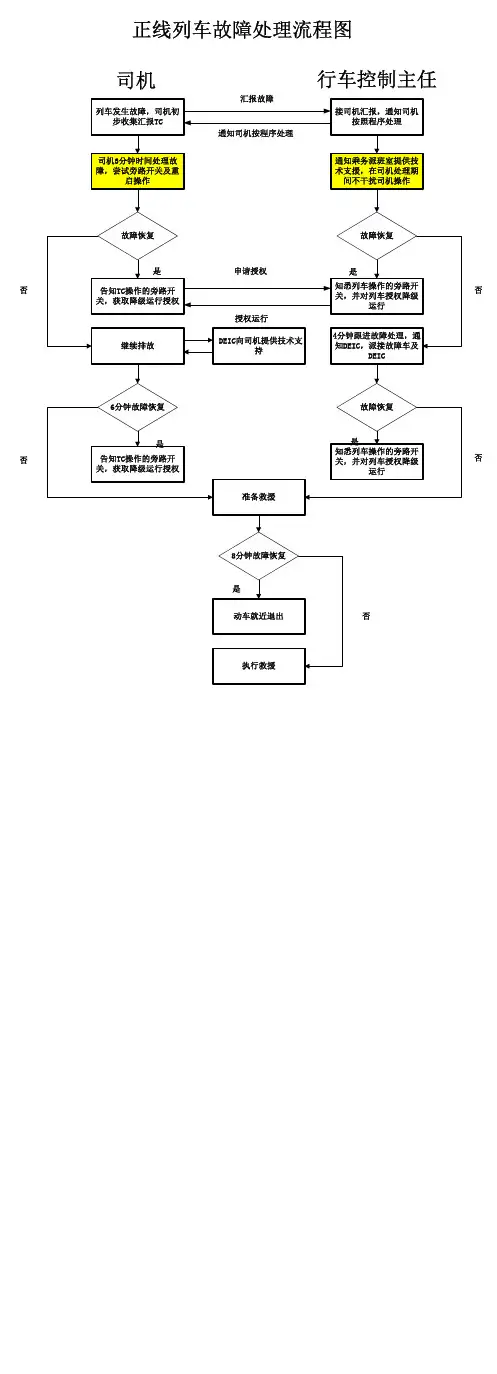
1 故障处理流程图1.1 信号设备故障处理流程图接到故障通知,首先在《行车设备检查登记簿》签到。
5分钟内将故障简要概况报段调度、工长。
段调度通知段值班干部、车间主任,并跟踪车间故障处理人员组织及赶往现场的过程 故障处理人员向车站值班员了解故障现象。
询问接发车及调车作业情况经过试验设备正常,确无问题,及时消记。
5分钟内向段调度汇报。
(车间安排跟踪并48小时监控)进行查找处理故障消记,写清故障原因,交付使用。
5分钟内向段调度汇报。
故障排除后全面复查试验判断故障范围室内室外机械电气断线混线其 他故 障 现 象存 在不存在经车站值班员同意,进行试验确认故障现象处理过程中要与段调度保持联系并严禁使用封联线,故障处理时间站内控制在50分钟以内、区间90分钟以内。
登记停用相关设备。
5分钟内向段调度汇报。
段和车间启动应急预案分析判断1.2 信号机室外故障处理程序流程图1.3 ZD6道岔无表示故障处理流程图1.4 车载设备故障处理流程图1.5 ZYJ-7液压提速道岔设备故障处理流程图1.6.1 交流轨道电路故障处理流程图1.1.9 信号电缆中断造成的信号设备故障处理流程图1.10 外界妨害造成的信号设备故障处理流程图1.11 信号设备雷害处理流程图1.12.2 ZPW-2000移频设备故障处理流程图(二)1.13 64D半自动闭塞故障处理流程图故障现象1故障现象2故障现象31.14 6502电气集中故障处理流程图1.15 电源屏故障处理程序流程图1.16 智能电源屏故障处理程序流程图1.17 TDCS设备故障处理流程图1.17.1 信息设备工区TDCS故障处理流程TDCS故障1.17.2 通道故障处理流程图1.17.3 车站采集分机故障处理流程图故障现象:看不到本站或邻站站场图注:NPC:中央处理单元 DIB:数据采集板 Power板:电源板1.17.4 打印机故障处理流程图故障现象:打印机不能正常打印1.17.5 显示终端故障故障现象:显示器无显示或屏幕显示异常1.17.6 工控机故障处理流程图:故障现象:显示器黑屏或蓝屏或系统显示界面不正常。
PLC故障排除流程图,一步步真清晰PART1.外围电路元器件故障此类故障在PLC工作一定时间后的故障中经常发生。
在PLC控制回路中如果出现元器件损坏故障,PLC控制系统就会立即自动停止工作。
输入电路是PLC接受开关量、模拟量等输入信号的端口,其元器件质量的优劣、接线方式及是否牢靠也是影响控制系统可靠性的重要因素。
对于开关量输出来说,PLC的输出有继电器输出、晶闸管输出、晶体管输出三种形式,具体选择哪种形式的输出应根据负载要求来决定,选择不当会使系统可靠性降低严重时导致系统不能正常工作。
此外,PLC的输出端子带负载能力是有限的,如果超过了规定的最大限值,必须外接继电器或接触器,才能正常工作。
外接继电器、接触器、电磁阀等执行元件的质量,是影响系统可靠性的重要因素。
常见的故障有线圈短路、机械故障造成触点不动或接触不良。
PART2.端子接线接触不良此类故障在PLC工作一定时间后随着设备动作的频率升高出现。
由于控制柜配线缺陷或者使用中的震动加剧及机械寿命等原因,接线头或元器件接线柱易产生松动而引起接触不良。
这类故障的排除方法是使用万用表,借助控制系统原理图或者是PLC逻辑梯形图进行故障诊断维修。
对于某些比较重要的外设接线端子的接线,为保证可靠连接,一般采用焊接冷压片或冷压插针的方法处理。
PART3.PLC受到干扰引起的功能性故障自动化系统中所使用的各种类型PLC,是专门为工业生产环境而设计的控制装置。
在设计和制造过程中采用了多层次抗干扰和精选元件措施,故具有较强的适应恶劣工业环境的能力、运行稳定性和较高的可靠性。
因此一般不需要采取什么特殊措施就可以直接在工业环境使用。
PLC受到的干扰可分为内部干扰和外部干扰。
在实际的生产环境下,外部干扰是随机的,与系统结构无关,且干扰源是无法消除的只能针对具体情况加以限制。
内部干扰与系统结构有关。
主要通过系统内交流主电路、模拟量输入信号等引起,通过精心设计系统线路或系统软件滤波等处理,可使内部干扰得到最大限度地抑制。
故障在流程图中的表示方法下载温馨提示:该文档是我店铺精心编制而成,希望大家下载以后,能够帮助大家解决实际的问题。
文档下载后可定制随意修改,请根据实际需要进行相应的调整和使用,谢谢!并且,本店铺为大家提供各种各样类型的实用资料,如教育随笔、日记赏析、句子摘抄、古诗大全、经典美文、话题作文、工作总结、词语解析、文案摘录、其他资料等等,如想了解不同资料格式和写法,敬请关注!Download tips: This document is carefully compiled by theeditor. I hope that after you download them,they can help yousolve practical problems. The document can be customized andmodified after downloading,please adjust and use it according toactual needs, thank you!In addition, our shop provides you with various types ofpractical materials,such as educational essays, diaryappreciation,sentence excerpts,ancient poems,classic articles,topic composition,work summary,word parsing,copy excerpts,other materials and so on,want to know different data formats andwriting methods,please pay attention!一、故障的定义和分类。
1. 故障的定义。
故障是指系统、设备或组件在运行过程中出现的异常情况,导致其无法正常工作或性能下降。
流程图详细介绍1、发现故障---指设备在运行中出现异常,下步可能造成停井和设备严重损坏以及危及安全的设备状态。
不管是那种方式得到的信息,值班人员必须立即到现场进行确认和有效实施下步行动;2、故障处理方法----指设备故障被确认后的处理方案,分为以下两种情况:第一种、虽然设备已出现异常,但是还在运行生产当中,随时可能导致停井或严重后果,处理方法:必须立即启动备用设备紧急替换在用设备,然后再进行故障修复工作,如没有备用设备的马上汇报设备故障状况,根据设备故障产生后果的严重程度来判断是否等待上级指示后再进行下步操作,如果严重的、危及安全的立即停机、停井处理后再汇报。
第二种、设备发生故障已经停运、停井或者损坏,甚至出现严重的事故,立即与中控取得联系,汇报造成停井的设备名称、设备故障原因、事故原因等,立即启动备用设备紧急替换在用设备,然后再进行故障修复工作,如没有备用设备的马上汇报设备故障状况给中控、上级等,根据设备故障产生后果的严重程度来判断是否等待上级指示再进行下步操作,如果严重的、危及安全的立即停机、停井处理后再汇报。
能够进行修复的故障立即进行修复,在修复过程中可以联系维保人员、巡井人员、专业工程师等,得到技术支持和援助,故障处理完毕后做好记录,未能处理的请求维保人员和其他相关人员赶到现场处理,如发生灾难性的事故,请启用《灾难处理应急预案》程序。
3、故障修复:值班人员按预定的方案进行修复,遇到技术困难可请求维保人员、专业工程师的技术支持,故障修复后做好详细记录,主要包括:故障发生时间、故障发生过程、故障发生原因、故障修复执行人、故障修复结果和使用材料等信息,未能处理的请求支援和要求相关人员到达现场处理。
前三项都是以驻井人员为主来开展工作的,必须主动、积极。
4、维保接到通知后的处理方案,主要分为三种类型:第一、是驻井人员已处理和解决的设备故障,请将处理的结果和措施报维保组备案,以便于设备日后的运行管理;第二、维保人员接通知后立即赶到现场并及时修复的故障,驻井人员全力配合维修工作并做好故障修复的详细记录;第三、维保人员未能立即赶到现场,驻井人员必须以保生产为工作前提,尽量准确的描述设备故障发生的细节,保持与维保人员的沟通和确定维修人员具体到达时间。