医院后勤部总务科工作流程图
- 格式:docx
- 大小:197.32 KB
- 文档页数:7
后勤服务部维修工作流程维修查房科室报修申请查房及报修申请记录水、电、暖、家电器件损坏正常损坏非正常损坏报维修班报科室主管领导处理意见维修班派人到现场按处理意见执行维修班派人到现场维修班派人到现场无需配件需更换配件报主管领导申领配件按处理意见执行后勤服务部应急突发事件管理工作流程维修接待或总值班人员接到突发事故(件)报告维修人员赶快现场了解情况报科室和上级主管院领导马上通知应急小组到位报告相关政府主管部门应急小组第一时间赶到现场迅速处置或协助相关部门进行处置协调完毕后做好记录解决问题分析、总结、汇总后勤服务部应对恶劣气候及严重灾害处置流程后勤服务部值班人员防汛、方台风地震火灾有毒、化学物品泄漏A:台风、暴雨、风暴潮对电器、人员、财产B:出现风灾和水灾等险情时C:配电间和泵房内入水D:发生漏电、电击损坏设备A:高空坠落伤人B:电击C:人员被困电梯中A:烟尘污染B:蔓延、恶化至燃烧、爆炸C:人员被困D:燃烧物具有有毒性等危险性A:化学危险品事故B:蔓延、扩散C:彼此发生化学反应产生失火、爆炸或危险性物质生成D:有毒气体持续飘散造成人A:立即启动应急预案,第一时间通知全院各部门关闭门窗、收拢置于窗外的悬挂物,做好安全防范措施。
B:通知物业打开地下管道、排水沟排积水保证畅通C:检查院区内电线、电路、电器设备确保电路设施正常,必要时切断配电间周围设备电源,以防漏电、电击损坏设备。
A:立即启动应急预案,组织救援疏散并告知切断电源、关闭门窗防止高空坠落伤人。
B:通知疏散引导,配合组织病房内全体人员安全有序地撤离至应急避险场所集中。
C:搜寻、解救被困电梯内人员,安排撤离至应急避难场所。
A:详细全面了解情况后,第一时间通知班组负责人。
B:配电班切断电源,电梯班搜寻、解救被电梯内人员C:采取措施、组织现场扑救、控制火势、防止蔓延、尽可能挽回损失。
D:协助病区医护人员组织好人员疏散与安置、等待救援。
A:详细全面了解情况后,第一时间通知班组负责人采取相应措施。
后勤保障制度总务科工作制度一、总务科在分管院长领导下开展工作,实行主任负责制。
二、全心全意为病人和全院职工服务,努力做好后勤保障工作。
三、掌握总务科的工作重点,以保证医疗工作的顺利开展为宗旨,明确各部门的职责范围,贯彻和执行医院的各项规章制度。
四、提高服务质量和工作效率,在后勤工作中应有计划性,预见性,及时性,管理人员应定期下科室问询后勤保障情况,检查了解所规定的工作项目是否落实,不断提高业务管理水平。
五、及时处理医院工作中发生的各类有关后勤保障方面的问题,坚持下收、下送、下修和服务上门的制度。
医疗废物分类采集工作制度1、按照《医疗废物专用包装物、容器的标准和警示标识规定》医疗废物分置于黄色塑料容器内,并认真检查有无破损。
2、医疗废物按照医疗废物分类进行采集不能混装。
3、隔离传染病人生活垃圾归在感染性废物中,并用双层黄色塑料袋密封。
4、在盛装医疗废物的每一个包装物及容器外表面贴有警示标识和标签(标签上注明:产生单位、产生日期、类别及备注)。
5、医疗废物中病原体的培养基、标本和菌种、毒种保存液等高危(wei)险物及时消毒后运送。
污水站规章制度一、确保处理的污水符合国家排放标准。
二、认真填写运行记录。
三、爱护保养污水处理和余氯检测设备,保证有效氯浓度运行正常。
四、加强防范措施,非本室人员不能进入。
五、保持室内外卫生清洁。
维修人员工作制度一、负责全院机械设备、水暖、五金设备、建造性设施的维修、小型安装任务。
二、维修人员应熟练掌握基本操作技术,严守操作规程,保证安全生产。
三、了解和掌握医院、宿舍等各种主要管道、路线和有关设施运行情况。
主要管道设施应按需保障修缮,加强保养管理,做到不漏水、不漏气。
四、坚守岗位,随叫随到,通讯随时保持畅通,接到维修通知,应及时赶到现场进行维修。
遇有抢修或者急需,必须加班加点及时完成。
五、厉行节约,做到物尽其用、节约开支。
六、不经批准,不许为私人安装水、暖设施。
对擅自滥用管材配件造成浪费的行为追究责任,严肃处理,由当事者承担一切经济损失。
医院后勤标准化工作流程图集
后勤设备、配件、材料购置工作流程图
设备定期检验管理工作流程图
后勤仓库物资管理工作流程图
至账务处理工作流程
后勤物资报废工作流程图
后勤维修工作流程图
电梯使用安全工作流程图
锅炉操作工作流程图
氧气瓶使用流程图
输送
气瓶
发电工作流程图
中央空调运行工作流程图
冼衣房工作流程图
安全检查工作流程图
应急突发事件管理工作流程图
安全保卫工作流程图
卫生管理工作流程图。
后勤管理工作流程固定资产及物资购置工作流程图后勤仓库物资管理工作流程图物品领取工作流程图报废工作流程图固定资产管理工作流程图工勤维修工作流程图供氧工作流程图发电工作流程图中央空调运行工作流程图冼衣房工作流程图电梯检修保养工作流程图电梯驾驶员操作工作流程图医疗废物回收、处理工作流程图医院卫生管理工作流程图设备科工作流程图医疗设备器材购置工作流程图医疗设备管理工作流程图医用耗材采购流程计量管理工作流程图后勤管理工作流程固定资产及物资购置工作流程图整理相关凭据服财务科按合同上报付款计划后勤仓库物资管理工作流程图至财务处理工作流程物品领取工作流程图少量物品领取人带走成批物品下送后勤物资报废工作流程图加工维修科室设备器材仓库固定资产管理工作流程图*至财务处理工作流程工勤维修工作流程图* 上报维修班使用科室申请维修查房及申请记录*水电暖器件损坏非正常损坏*报主管领导需配件**需院外维修* 报主管领导一 * *外部处理供氧工作流程图发电工作流程图保养正常发电前发电后*定期维修保养检查记录院内维修院外维修1联系外修,做预算审审批、领用物资*修理签订维修协议、维修*调试运行*送电*保养维修及检查记录归档中央空调运行工作流程图运行前运行前11定期保养维修检查故障报主管领导保养维修及运行记录归档保养正常1内修1外修审批、领用物资联系外修,做预算4审批修理、调度1预热运行I电梯检修保养工作流程图电梯运行丄修理调试运行检修保养记录归档电梯驾驶员操作工作流程图医疗废物回收、处理工作流程图医院卫生管理工作流程图设备科工作流程图医疗设备器材购置工作流程图医疗设备管理工作流程图*维修或更换调试、清理医用耗材采购流程。
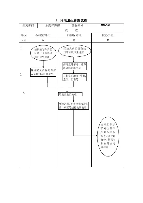
实施部门后勤保障部单元节点1各科室/部门A按科室划分责任区域,负责本区域的卫生管理各科室负责催促保洁2 人员打扫本区域卫生流程编号流程后勤保障部B保洁人员负责全院日常环境卫生清洁保持室外干净、花草检修等环境美化打扫室内地面、墙面、桌面、门窗等HB-001院办公室C3 垃圾采集及处理环境消毒,配置消毒液对门诊、病区等进行定期消毒定期组织人员对全院卫生状况进行检查,并评比打分,结果与科室综合考评挂钩实施部门安全保卫部、后勤保障部流程编号HB-002流程单元节点123 各科室/部门A协助保持通道的畅通性救护车道、消防通道、楼内通道时刻保持畅通设置并检查警示、指引标志是否完好定期检查通道的畅通及相关设施的完备性安全保卫部、后勤保障部B专人负责巡视道路畅通情况门前路口内部道路停车场与当地公安、城管、工商部门建立共建机制保持道路畅通,引导车辆、行人有序安全通行为老弱残等需要匡助的人士赋予及时匡助负责监督严禁烟火,定期检查消防器械的完好性内部职工车辆与外来车辆分开存放,确保车辆存放的有序,并按规定收取停车费实施部门后勤保障部流程编号HB-003流程单元节点各科室/部门A后勤保障部B院办公室C12积极推广节能新技大力宣传节能的重要性和必要性根据国家法律法规及医院实际,制定医院节能具体行为规范术、新产品,通过技术和科学管理的进步,不断提高医院能源利用率4 5 响应医院节能管理号召,认真履行节能制度进行科室成本核算,严格控制医疗服务成本定期组织人员对科室节能情况进行检查,并评比打分,结果与科室综合考评挂钩3实施部门后勤保障部流程编号HB-004流程单元节点各科室/部门A后勤保障部B按照规定,严格1控制污水、噪声、医疗废物污水处理噪声处理医疗废物处理2 3 严格管理污水,禁止污水直接排放应用过滤、混凝、活性炭吸附、离子交换等物理化学净化方法使之无害化取样并化验,保证污水处理复核排放标准,并做好详细记录医院设计上考虑减低噪声设计,电梯、检查室、治疗室要考虑噪声因素减少病房噪声:医务人员穿软底鞋,减少陪护人员,为病床及各种推车加防撞轮,等等医疗废物采集清理、消毒、封口,并认真做好过秤、交接及登记工作由专车运送至政府指定的集中处理点统一集中销毁爱护各种废水、废物、噪声控制设备,定期维护保养5 配合做好环保、卫生监督等部门执法检查工作4实施部门 基建维修管理部 流程编号 HB-006单元 节点基建维修管理部 A流 程 安全保卫部B分管副院长C12做出批示3加强建造施工安全 检查和监督管理协助基建部开展防 火防盗事务,协助 处理突发事件45发现重大安全隐患 及时上报主管人员做出批示催促相关人 员进行整改6 记录备案与施工单位签订 安全责任书及安 全生产协议书实施部门单元节点1234567891011后勤保障部流程编号流程职工食堂A工作人员严格执行《中华人民共和国食品卫生法》食品采购的卫生安全管理按规定选择供货商食品验收入库,并详细记录按食品卫生要求进行贮存按食物的特性进行烹饪,保证食品的安全按照卫生标准对餐具进行清洗和消毒在制定的地方及容器里销售食品,保证取放食品的卫生安全配合上级部门进行食品卫生检查发现重大食品安全事故时即将上报主管人员按照指示处理事故详细记录食品卫生安全情况,并定期汇报HB-007总值班及当班院领导B做出指示严格挑选食物严格管理食物运输实施部门单元节点12345678910后勤保障部流锅炉班A流程编号程检查锅炉的各设施及部位,确认正常后方可开启锅炉锅炉运行中,确保供水保持正常水位(60%-70%)冲洗水位表和点接点水位计,每班不少于2 次定期做排汽试验,保持气压稳定运行和压火时,必须严格监控发现重大异常情况时,必须立即采取紧急措施,并及时上报按照领导指示抢救保护现场详细记录当班情况,并办好交接班手续定期进行设备安全检验定期更新锅炉及相关设施HB-008当班院领导B当班领导做出指示实施部门后勤保障部流程编号HB-010流程单元水工班院领导节点 A B1巡回检修供水排水管道2 发现溢漏、阻塞等问题,及时解决3 检查供水水质,定期污水排放前进进行水质化验、消毒行无害化处理4 做好日常供水排水设备的定期检查以及保养、维修工作,并做好记录5发现重大故障,应即将采取应急措施,并上报分管副院长67做出批示按照院领导批示进行事故处理8 严格执行交接班制度,做好值班记录,定期汇报9 定期更新设备实施部门单元节点1物资采供部各科室/部门A各科室/部门填写卫生被服申请单流程编号流程物资采供部BHB-011院领导C2科室负责人签字允许院领导做出批示3 4 56科室专人携带院领导批示条到物资采供部领取科室验货后,使用库房备货办理出库登记手续定期统计、核算各科室领用情况7 申请单、出库单等资料汇总归档保存实施部门单元节点后勤保障部各科室/部门A流流程编号程HB-012洗衣房B1 各科室/部门把需要洗涤的被单、衣服送洗衣房清点数量并登记2进行分类,并装入病人专用洗衣机3 45 67 89传染性衣物加消毒液初步清洁消毒加洗涤剂蒸汽煮沸非传染性衣物加水初步清洁加洗涤剂搅拌漂洗3 次脱水、晾晒烫干、叠放、入库,注明洗涤日期清点、返回分账登记清点接受,签字实施部门单元节点后勤保障部院办公室A流流程编号程HB-013保洁员B保洁员到岗集合12 巡视卫生区域,保持卫生清洁传染性病房用消毒液擦拭家具、器械等3严格区分医疗垃圾和生活垃圾4 定期清扫房间、走廊、楼梯的地面墙面、门窗、桌椅等采集处理垃圾5 时常巡视,随时保洁6 7每月评价室内环境质量,评价结果与保洁员个人考核、工资挂钩改进保洁质量实施部门单元节点后勤保障部院办公室A流流程编号程HB-014后勤保障部B1 2 3保洁员到岗巡视卫生区域,保持卫生清洁清扫路面,清除烟头、纸屑等杂物4院内绿化美化,定期修剪绿化带5 采集处理垃圾6 时常巡视,随时保洁7 8 每月评价室外环境质量,评价结果与保洁员个人考核、工资挂钩不断改进院内环境实施部门后勤保障部流程编号HB-018单元节点1流程污水处理员A医院污水通过总管道后勤主任B2 3 污水沉淀池沉淀抽入氧化池氧化消毒池加次的氯酸消毒剂10%至12%进行消4 排放前监测排放前记录5余氯量6 PH值时间设备运行投药量投药浓度污水处理量接触时间值班员7 发现设备运行故障及时并上报主任按指示维修或者更新设备,保证污水处理正常运行做出指示污水处理合格后按规定排放基建人员流程实施部门单元节点后勤保障部后勤主任A流流程编号程HB-014基建人员B1基建人员到岗2 3检查承包人投入工程项目的人力、材料、主要设备及使用运行情况,并做好检查记录。
使用部门调试、确认
维修查房
科室报 扌修申请
总务科维修工作流程
查房及报修申请记录
、
£
水、电、暖、家电器件损坏
正常损坏
非正常损坏
报维修班 报科室主管领
维修班派人到现场
处理意见
按处理意见执行
需更换配件
无需配件
报主管领导
申领配件
5
按处理意见执行
维修班派人到现场
I
在限定期限内修复
维修班派人到现场 :
总务科应急突发事件管理工作流程
维修接待值班人员
接到突发事故(件)报告
维修人员赶快现场
分析、总结、汇总
整理资料入档
I
总务科应对恶劣气候及严重灾害处置流程
总务科值班人员
A :立即启动应急预案,第一 时间通知全院各部门关闭门 窗、收拢置于窗外的悬挂物, 做好安全防范措施。
B:通知保洁打开地下管道、 排水沟排积水保证畅通
C:检查院区内电线、电路、 电器设备确保电路设施正常, 必要时切断配电间周围设备 电源,以防漏电、电击损坏设 备。
A :立即启动应急预案, 组织救援疏散并告知切 断电源、关闭门窗防止高 空坠落伤人。
B:通知疏散引导,配合 组织病房内全体人员安 全有序地撤离至应急避 险场所集中。
C:搜寻、解救被困电梯 内人员,安排撤离至应急 避难场所。
A :详细全面了解情况后, 第一时间通知班组负责 人。
B:配电班切断电源,电 梯班搜寻、解救被电梯内 人员 C:采取措施、组织现场 扑救、控制火势、防止蔓 延、尽可能挽回损失。
D:协助病区医护人员组 织好人员疏散与安置、等 待救援。
A :详细全面了解情况 后,第一时间通知班 组负责人采取相应措 施。
B:组织现场抢救、控 制形势、防止蔓延、 尽可能挽回损失,隔 离现场。
C:视情况通知相邻楼 栋及病室组织好人员 疏散与安置、等待救 援。
维修班长及院总值班
立即组织相关人员到达现场
向部门领导或院领导
立即启动紧急预案
1
处理善后适宜
防汛、防风暴 A :暴雨、风暴潮对电器、人 员、财产 B:出现风灾和水灾等险情时 C:配电间和泵房内入水 D :发生漏电、电击损坏设备
酌情报告“ 110” “ 119”
总务科业务外包流程
I选择承包方1
签订业务外包合同
组织实施业务外包
业务外包过程管理
总务科外包业务监管工作流程:
制定外包业务监管制度
制定外包业务监管制度
制定外包业务监管制度I 1
i
整理管理资料归档
V
管网维修工作流程图:
无法自行修复
申请外修
领导批示
按领导意见执行
报废处理
巡查及电话报修
工作人员现场查看
\z
可自行修复
申购配件、材料
配件、材料入库
领用配件、材料
修复
、*
使用科室确认
维修记登记
公务用车运输工作流程图
科室提出派车申请
7
驾驶员检查车辆安全
车辆状况良好车辆有故障
市内市外
可自行排除不能自行排除
符合规定院领导批示提出外修申请不符合规定
说明原因,停止派车
总务科安排
填写派车单,出车
返回,填写出车记录I
清洗车辆、例行检查。