1:10000土地利用现状图编制方法研究
- 格式:docx
- 大小:3.15 MB
- 文档页数:71
Map GIS制作1∶10000土地利用现状图的技术与方法赵新萍 胡敬红(库尔勒市巴州土地勘测设计院,新疆库尔勒 841000)摘 要:本文通过Map GIS系统的性能特点入手,着重讲述依据地理信息系统平台制图的技术与方法,并对其在项目中的应用情况进行较详细的阐述。
关键词:Map GIS 1∶10000土地利用现状图制作 专题要素1 引 言Map GIS是通用的工具型地理信息系统软件。
具有强大的空间数据的图形显示、各类地图制图的制作功能。
作为各类数字信息的可视化工具,可将数字形式的地理信息以直观的图形形式在屏幕显示,能自动进行线段跟踪、结点平差、线段接点裁载与延伸,多边形拓扑结构的自动生成,图纸形变的非线性校正,还可自动或半自动地消除图幅之间图元的接边误差,以及错误的自动检测,同时它能对图形数据与各种专业数据进行一体化管理和空间分析查询,为多源地学信息的综合分析提供了一个理想的桌面地理信息系统。
2 基于Map GIS的地图制作与方法在作1∶10000土地利用现状图时,根据Map GIS 的图形文件对于图形的输入和编辑系统,在技术步骤上可以分为准备、数据输入、地图制作、输出4个阶段。
其中准备阶段及输出阶段的工作内容及技术与一般计算机地图无异,不再叙述。
2.1 数据输入它是采用扫描仪直接扫描原图或影像图,以栅格形式存贮于图像文件中(如:TIF、MSI),这些栅格式文件将作为屏幕矢量化时提取各类地图要素的依据。
然后在Map GIS中经过屏幕矢量化及属性信息的键盘输入,由矢量化转换成矢量数据,存入到线文件(WL)中,再进行编辑、输出。
2.2 分类归纳其在Map GIS中的具体制作方法(1)标准图框的生成在Map GIS平台上按投影变换“系列标准图框”菜单,选择“生成1∶10000图框”。
输入图框左下角经纬度,再输入图框文件名,点击图框的辅助选项,输入完毕后,系统即自动绘制出所要求的标准图框。
(2)图像的镶嵌配准在Map GIS中打开栅格数据文件进行图像的投影及配准。
浅谈二次土地调查中各种面积的计算及应用摘要:利用对二次土地调查中所有面积的计算公式和第一次土地利用情况的分析对比,了解线状地物和零星地物的数学模型和作业手段,对所有面积计算的优势和不足开展整合,指出完善的发展策略。
关键词:土地调查;面积测量;精度评估针对二次土地调查中的全部区域的统计,从原理和准确性两个角度进行了研究,期望能够理解全部区域的优点和缺点,以便更好的对调查结果进行评价,并利用已掌握到的数据。
1图斑平面面积的计算和使用在第一次对用地状况进行的研究中,受限于技术方式和条件,所采用的区域均为平面区域,所采用的基础地图均采用由测量机构发给的1:10000或1:50000的地图作为基础,而全国各大规模地图均采用高斯-克吕格投射法。
在国内,1:5万及以上的标度图中,都有详细的规定。
该方法为水平等角的椭圆柱面投影。
它的作用就是将一个圆柱形的物体,以它的中心为中心,然后将它与一个经线相切入,这个弧形物体被称为中心经线,这个弧形物体就是它的投影。
在经过运算后,使地球转动的椭圆面上,经纬线与坐标的关系是相等的,并将其投射到其圆柱面上。
2椭球面积的计算和使用根据二次土地调查技术的需要,图斑的区域采用了卵形区域,所有工作都是由计算机进行的,逆求投影的平面坐标,获得每个点的球面经纬度,再按照下面的方程,计算出全部图斑球面的面积,并对这一类型的图斑块进行面积分配。
使用它的面积,完全排除了由投影引起的误差。
鉴于这一数据系统是基于高斯的,现有的计算机处理的版面大多是平面版面,但标准分幅地图版面大多是圆面版面,为了确保本系统版面与版面的运算要求相吻合,本项目拟利用《规程》中所列版面的版面来对版面进行版面分割,将版面分割为圆面版面,再将版面分割到圆面版面,以确保版面分割的一致性。
针对任何一幅闭合图,采用反问题变换模型,将其变换模型下的空间坐标转化为对应的地物坐标,并根据其上的任何一个阶梯区域,计算出每一幅区域的椭球体坐标,进而得到每一幅闭合图的椭球体坐标,从而得到每一幅闭合图的椭球体坐标。
1:10000土地利用现状图编制方法研究毕业设计(论文)终稿题目1:1万土地利用现状图制作方法实践学院测绘科学与技术学院专业地理信息系统班级0902班姓名吴文学号0910030215指导教师崔晓临日期2013年5月7日摘要土地是宝贵的不可再生资源。
随着人口不断的增长、经济迅猛发展,二十世纪以来,有限的土地和不断增长的人口之间的矛盾日益加深,人们对土地的不合理开发利用导致土地退化程度加剧,继而影响到全球的环境。
我国是人口大国,人口总数约占全世界人口的五分之一。
然而,我国的耕地面积约为9572万公顷,占世界耕地总面积7.7%。
再加上21世纪以来,我国城市化进度加大,城市拓展过程中侵占了大量耕地。
所以,加强土地的科学化管理与使用、切实保护耕地已成为我国当今迫在眉睫的一项国策。
土地利用现状图是用地图符号表达一定区域内的土地利用类型及其分布、反映区域内土地利用结构的专题地图。
1:1万土地利用现状图是目前我国要求各县级土地管理部门用来进行乡镇土地利用总体规划、实施耕地保护、规定基本农田、建立土地利用数据库,以及实施土地利用年度变更等工作所用的基础图件。
土地利用现状图的编绘有多种技术方法,目前主要的有基于ArcGIS平台、基于MapGIS平台、使用遥感影像制作土地利用现状图等多种技术方法。
本论文主要研究基于ArcGIS软件,利用第二次全国土地调查结果数据制作陕西省榆林市靖边县部分地区1:1万土地利用现状图。
本文详细介绍了使用ArcGIS制作1:1万土地利用现状图的操作过程,重点讲述了具体的操作细节、常见问题,以及一些作图技巧和经验。
此外,本文还讲述了其他几种现阶段流行的制作土地利用现状图的技术和方法。
最后,制作出目标区域的1:1万土地利用现状图。
关键字:土地利用,1:1万土地利用现状图,ArcGIS,地理信息系统ABSTRACTLand is valuable non-renewable resources. Since 21th, with the increase of population, the rapid development of economy, the contradiction between the limited land and the growing population is growing, people are not rational development and utilization of the land leads to land degradation degree aggravate, then affect the global environment.China is a country with a large population, the total population accounted for about 1/5 of the world's population. However, our country cultivated area of about 95720000 hectares, ac- counting for the world total cultivated area of 7.7%. Since after twenty-first Century, our coun- try city plan to increase the process of city development, occupied a great deal of cultivated land. Therefore, strengthen economics a national policy of China's imminent.Land use map is the map symbol shows the land use types and their distribution, reflecting the region land use thematic map structure. The 1:1 million map of land use actuality in our country at present the county land management departments for the land use planning, the im- plementation of arable land protection, provision of basic farmland, build land use database, and the implementation of basic graph element the annual land use change for work. The cur- rent land use map compilation of a variety of techniques, at present mainly is based on the ArcGIS platform, based on the MapGIS platform, the use of remote sensing image making land use map methods.This paper mainly studies based on the ArcGIS software, 1:1 million map of land use in the national land survey results of datebase produced in Jingbian County of Yulin city in shannxi province. This paper introduces in detail the use of operation process of ArcGIS production of 1:1 million map of land use actuality, focuses on the specific details of the operation, common problems, as well as some drawing skill and experience. In addition, this paper also describes several other stage.Technology and method of makingland using status of the popular. Finally, make the status of 1:1 million land use map target area.KEY WORDS: Land use, 1:10000 map of land use, ArcGIS, Geographic Information System目录第1章绪论 (8)1.1土地利用现状图及其在实际生产中的作用 (8)1.2国内外研究现状 (9)1.3研究背景及目的意义 (9)1.3.1 制图区的区域特点 (9)1.3.2 研究制作土地利用现状图的目的意义 (10)1.4土地利用现状图制作技术路线 (12)1.4.1 技术依据 (12)1.4.2 数学基础 (12)1.4.3 技术流程 (13)第2章几种制作土地利用现状图的技术 (14)2.1基于A RC GIS软件制作土地利用现状图 (14)2.1.1 数据准备技术指标 (14)2.1.2 技术路线 (14)2.1.3 结论 (15)2.2使用原有的大比例尺图件缩编小比例尺图件 (16)2.2.1缩编原则 (16)2.2.2设计方案 (16)2.2.3 缩编技术指标 (17)2.2.4 缩编关键技术 (18)2.2.5 结论 (18)2.3基于M AP GIS软件编制土地利用现状图 (18)2.3.1MapGIS软件简介 (18)2.3.2 基于MapGIS的地图制作流程 (18)2.3.3 基于MapGIS制作地图的优点 (19)2.4利用遥感影像更新土地利用现状图 (19)2.4.1遥感技术与土地利用信息 (19)2.4.2研究内容与技术路线 (19)2.4.3 利用遥感影像更新土地利用现状图的优点 (21)2.4.4存在问题 (22)2.5几种制图方法见的优劣性比较 (22)2.5.1 制图数据要求 (22)2.5.2 制图效率比较 (23)第3章使用ARCGIS软件制作1:1万土地利用现状图 (24)3.1数据资料及设备准备及技术指标 (24)3.1.1 数据资料准备 (24)3.1.2 设备准备 (24)3.1.3技术指标 (24)3.2A RC GIS软件简介 (24)3.31:1万分幅土地利用现状图数据组织形式 (26)3.3.1 图件组织形式 (26)3.3.2 ArcMap地图文档 (27)3.41:1图幅制作 (28)3.4.1 地图制作流程 (28)3.4.2 数据裁剪 (29)3.4.3 图层名称 (30)3.5地图要素符号化 (31)3.5.1 地类图斑符号化 (32)3.5.2 地类图斑在符号化的过程中存在的问题 (36)3.5.3大图斑问题 (36)3.6地图制图表达 (39)3.6.1 制图表达简单介绍 (39)3.6.2 如何生成制图表达 (39)3.6.3 制图表达原理 (40)3.7使用制图表达 (42)3.7.1 使用地图表达处理大图斑 (42)3.7.2小图斑、长条图斑问题 (44)3.7.3符号压盖问题 (46)3.8线状地物符号化 (47)3.8.1 一般线状地物符号化 (47)3.8.2 行政区界线符号化 (48)3.9注记 (51)3.9.1注记自动标注 (52)3.9.2 Maplex模块管理标签 (55)3.9.3注记整饰 (56)3.10制图辅助要素 (60)3.10.1 桥、流向等有向符号的表示 (60)3.10.2各级政府驻地符号化 (62)3.11图外整饰 (63)3.11.1图框的整饰 (63)3.11.2 数据与图形 (66)3.11.3图框十字设置 (68)3.11.4 接合图表 (68)3.11.5 图名、比例尺 (70)3.11.6图例 (71)3.11.7图下文字 (73)3.11.8 打印出图 (74)3.12成果图 (75)第4章总结 (76)致谢 (77)参考文献: (78)第1章绪论1.1 土地利用现状图及其在实际生产中的作用土地利用现状图是用地图符号表达一定区域内的土地利用类型及其分布、反映区域内土地利用结构的专题地图。
土地利用现状更新调查技术方案第一局部根本概况1.1.土地利用更新调查的概念为贯彻国土资源部?关于加强土地利用更新调查工作有关事项的通知?〔国土资发[2003]296号〕和?省人民政府办公厅关于在全省开展土地利用更新调查工作的通知?〔鄂政办发[2004]99号〕的要求,XX县人民政府决定在全县X围内开展土地利用更新调查工作。
土地利用更新调查〔以下简称更新调查〕指在土地详查成果根底上,依据土地调查的有关技术规程和规定,参考土地详查和土地变更调查的图件、数据等有关资料,并借助遥感影像图等现势性较强的数据资料,启用最新的国家勘界成果,采用新的土地分类体系,按照不小于详查的调查比例尺度,对调查区的土地利用现状进展一次全新的实地调查,查清土地利用现状和所有权状况,在此根底上建立或更新土地利用数据库。
这是对土地详查和土地变更调查成果进展全面更新的调查。
1.2.目标土地利用更新调查是新形势下加强土地资源管理的一项新任务,通过使用现代测绘、卫星遥感、GIS、GPS等新技术新方法,加快土地利用现状调查速度、减轻调查强度,客观、准确地掌握土地利用现状及其动态变化状况,提高国土资源调查的科技水平,保持土地利用根底图件和数据的现势性,全面更新土地利用现状调查成果,为准确摸清XX县土地资源家底、合理开发利用土地资源、加强耕地保护、实施土地用途管制、修编土地利用总体规划以及为政府有关部门决策提供可靠依据,同时为农村集体土地所有权登记发证等农村集体土地权属调查提供根底。
本次更新调查的主要目标包括以下三个方面:1、通过土地利用更新调查,查清土地利用类型、数量、构成和分布,实现土地利用图件、数据、实地相一致,建立或更新土地利用现状数据库,同时也为今后开展土地变更调查奠定根底。
2、通过土地更新调查真正实现新旧土地分类的转换,使图形数据和属性数据都统一到新分类中去,发挥土地分类在城乡土地一体化管理中的作用。
3、为农村集体土地所有权登记发证提供根底数据。
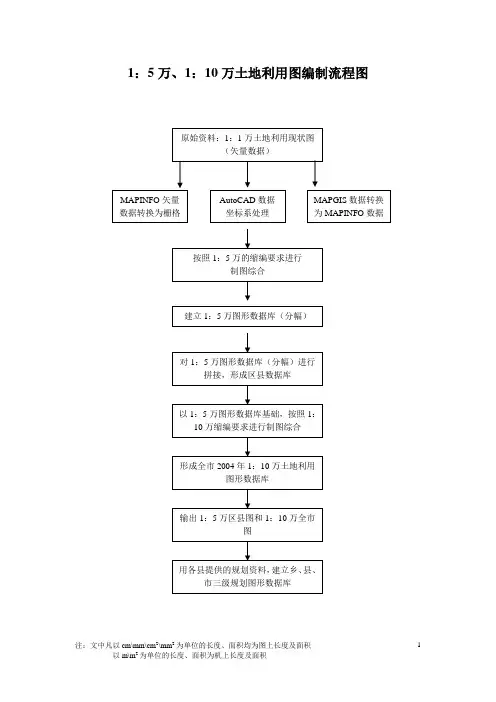
1:5万、1:10万土地利用图编制流程图一、资料收集2004年1:10000土地利用现状分幅图数据(MAPINFO、AutoCAD、MAPGIS 矢量数据)。
二、矢量数据处理1、MAPINFO矢量数据转换为栅格数据由于缩编需要对图形进行重新矢量化采集,所以先要形成各分幅图的栅格数据。
栅格数据可以在MAPINFO中对现有1:10000分幅图数据(矢量数据)采用直接存储为栅格数据的方式得到。
存储前,需将线状、境界的线宽细,符号、文字改小。
(存出标准分幅图线宽可改成0.2粗,符号改为2号,文字改为7号。
根据不同情况,可作调整)。
存出的影像,可在Photoshop中作裁切→锐化→模糊处理,裁切后的影像时,应尽量将白边裁完,方便cad使用。
矢量化时,可将几幅影像拼在一起画,减少接边的工作量,也容易掌握稀密度。
2、DWG数据坐标系处理原始资料中,除嘉陵区及营山县分别为MAPINFO格式数据和MAPGIS格式数据外,都为DWG格式数据,且其坐标都缩小了10倍,需要对其进行坐标系处理。
a、分幅数据中,以内图框左下角为基点,对所有数据进行10倍的放大;b、运行生成图框程序,生成当前区县的图框结合表;c、将放大的数据,插入到当前区县图框结合表中正确的位置,另存为分幅数据;d、删除分幅数据中的图框结合表。
DWG数据坐标系处理结束。
3、MAPGIS数据转换为MAPINFO数据数据转换较为复杂,且技术路线的正确性正在验证中,有待进一步进行确认。
MAPGIS数据转换为MAPINFO数据将在稍后进行补充。
三、按照1:5万的缩编要求进行制图综合1. 采用在计算机内直接综合(边综合边矢量化)的方法原图采用2004年1:10000土地利用现状图,进行矢量化采集(相对于1:10000土地利用现状图,1:50000图形长度缩小5倍,面积缩小25倍),并进行图形的综合处理和适当取舍达到缩编为1:50000的目的。
缩编后各地类面积比例应与缩编前各地类面积比例相近。
1:10000标准分幅图制作流程一、插件安装1、安装中国工具软件2、打开Arcmap,在软件右上角空白处右击添加“CTOOLS工具版本号2.01.0”。
二、图框制作(1)打开Arcmap,在中国工具中找图框工具下的系统设置,按如下参数进行输入:1:基本信息主标题:边距:27mm xx县土地利用现状图字体:宋体19.28 字符间距:100副标题1边距:15 MapName 字体:黑体19.28 字符间距:100副标题2边距:4 NewMapNo 字体:黑体17.01 字符间距:6比例尺边距:6 1:10000 字体:宋体13.46如图所示:2:四周注记左边距:3 无(空格)左下角陕西省第二次土地调查办公室字体:宋体9右上角1无(空格)右上角2边距:2.5 内部用途字体:宋体10右下角边距:13 1980西安坐标系等(按要求走)字体:宋体9 字符距离:80如图所示:3:图框信息图框线外框8mm 内框0mm 如图所示:4:网格信息网格类型:十字丝间隔100 线的长度: 10大数字体:样式设置:黑体7.8小数字体:样式设置:黑体11.34距外框的距离:0.5如图所示:5.结合图表信息:6.比例尺条:7.页边距设置:5、纸张大小:参数如图75*61(注:视电脑软件情况而定)(2)参数设置好,点击批量创建梯形标准分幅,如下:注:图框生成文件为dd。
二:数据裁剪标准分幅数据将要做的县区数据库、结合图表添加进Arcgis里,点击图形裁剪下的矢量批量裁剪,如下裁剪好的数据库:注:数据批量裁剪生成文件为kk。
三:标准分幅制作过程(加入与各图幅号相对应的图框和数据)1.添加数据DLTB、XZDW、XZQJX、XZQ,以及裁好的图框。
2.设置参考比例1:100003.页面设置75*61.将框调至页边距大小2.修改图框线的颜色以及粗细:L_I49G004041 0号线0.28 黑1号线0.28 黑2号线0.28 黑3号线 1.42 黑5号线0.28 黑打开L的属性/类别/唯一值ID3.XZDW操作过程(1)打开XZDW进行匹配符号库,字段用DLBM。
1:10000土地利用现状建库工作之图幅接边方法资环03级3班陶舒1030901407摘要:随着城市化的不断推进,土地利用类型在不断变更,土地资源也不断减少。
要及时、准确的掌握土地利用情况,抛弃传统方法的累赘、复杂与低效,建立土地利用空间数据库势在必行。
而图幅拼接过程是地理信息系统数据库建库过程中的重要环节,之前栅格图的校准、矢量化过程中的及时校准是拼合成败的关键,方法的选择更是其精度的保证。
关键字:土地利用现状建库图幅接边拓扑仿射变化1 前言随着城市化的不断推进,土地利用类型在不断变更,土地资源也不断减少。
如何及时、准确的掌握土地利用情况,势必要建立土地利用现状库。
传统的土地利用类型只能在行片或卫片等影像数据上进行解译,在以人工录入表格的方式建立属性数据库。
这种方法缺乏不能进行属性、空间数据互查,查询起来累赘、复杂。
那么,建立土地利用空间数据库就势在必行了。
尤其是建立一个面向对象的、可进行属性、图形互查的GIS空间数据库,对于土地资源的利用、城市的规划、自然保护乃至政府部门的管理都有着重大的意义。
其具体流程如下图:2 图幅拼接2.1 图幅拼接的重要性图幅拼接过程是地理信息系统数据库建库过程中的重要环节,之前栅格图的校准、矢量化过程中的及时校准是拼合成败的关键。
然而,由于我们在工作开始之初并未协调好,矢量化前的栅格图的校准并不是很准确,且矢量化过程中存在误差,因此当十个小组将各自进行处理、修正后的矢量图集中时,发现图幅周边的接边处或错开、或重叠,且图中误差程度在几毫米甚至十几毫米以上(如图1所示),图幅接边工作无法继续。
这时,我们请教了李老师,老师为我们提供了一种方法,即按照地图的经纬度生成标准的接边框,将每个组的图幅与此边框建立拓扑,设置优先级,保证矢量图以此边框为边界。
这为我们提供了一个很好的思路,工作继续开展。
2.2 图幅拼接的步骤2.2.1接边框的生成接边框的生成方法是多种多样的,我们是通过在ArcGIS中调用fishinet插件,输入成图范围左下角的经纬度坐标,设置图框数目为三行四列,且计算每个图框的长度、宽度(均以经度、纬度表示),系统自动生成。
1.新增规划用地在ArcCatalog新建(或直接导入)“GH**(乡镇代码)_**乡(镇)_新增规划用地“图层开始“Editor”,Target:GH**(乡镇代码)_**乡(镇)_新增规划用地根据乡镇调研成果,找到准确的位置,通过复制现状地类图斑等命令规划新增用地。
单击右键,打开“Attributes”,根据“Shape_Area”调整图斑面积,单位:平方米。
(调整结果“Shape_Area”个位数字5以下,最好是0,十位百位必须都是0)规划规模与之对应保留一位小数,单位:公顷。
具体调整方式:选中图斑,使用Task:Cut Polygon Features命令,割去多余的面积。
双击图斑,调整结点位置。
可以单击右键insert vertex或者delete vertex增加或删除结点。
注意:适当割补,不要出现尖角和小块图斑。
打开“Attributes”,根据“乡镇规划用途分区代码一览表”修改图斑属性。
(ps:个人建议,在这一步,只修改XMMC、规划规模、乡镇村名三条属性,出图代码、出图分类、用途分区以及管制分区四项属性可以在规划图层完成后,open Attributes Table,使用“Field Calculator”命令,统一修改,汉字写在英文状态的””里)(1)县级重点项目上图导入“县级规划新增建设用地等”图层复制该图层图斑到“新增规划用地”图层Tips:A.县级重点项目以乡镇调研确定的位置为准,形状根据具体地类图斑情况以及边界作调整,面积不变;B.有勘界资料的,将勘界范围导入Arcgis中进行处理。
(2)高速公路铁路等上图导入“GH面状地物_高速公路和铁路用地”图层,选择”县级新增规划中的高速公路”, 将其复制到“GH 面状地物_高速公路和铁路用地”中. 选中高速公路, Data managemeng tools 再features 再polygon to line,这样就把面转为一个新线图层. 在这个新图层中,再用split tool 把线打碎,删成一条线. 导入“GH线状地物_高速公路和铁路用地”图层, 把这条线导入其中,即可. 再对线的位置作一定调整. 完成!(3)场镇范围允许建设区以及有条件建设区上图参考场镇规划基本范围制图(有CAD规划图的要先将.dwg文件导入Arcgis)。
主要参考国土资源补充耕地易地开发工程理规定、国土基建工程资金理规定、土地出让金农业土地开发资金使用理规定及、有关建立工程监理和招理方法等。
工程理过程主要包括:工程可行性研究阶段、初步规划设计方案及编制阶段、工程施行理阶段和开工验收阶段。
一、工程可行性研究阶段:流程:1、工程调查;2、听取工程所在地权属、村民代表举行听证会;3、可行性分析及评价;4、撰写可行性研究;5、组织国土、农业、水利等部门专业技术人员评审;6、上报国土资源。
上报材料:1、1:10000土地利用现状图及地形图;2、地类情况表;3、可行性研究摘要书;4、可行性研究;5、工程概算;6、土地所有权证复印件。
考前须知:1、工程区应具备必要的交通干〔支〕线、水利设施等条件;2、工程立项申报应实行听证制度并保存听证记录;3、可行性分析及评价应充分考虑当地的社会、经济及农业消费条件;4、地类情况表采用上年度土地利用变更调查数据;5、应分析工程可增加耕地的潜能;6、概算采用公布的土地开发整理工程定额;7、年度申报工程超过一个的应填写工程汇总表;8、国土资源在全申报的工程中挑选出适宜建立的工程制定年度开发方案经会审后报人民批准。
二、初步规划设计方案阶段流程:1、现场勘踏调查;2、工程区地形测量;3、聘请有资质的设计进度规划方案设计;4、向工程报在地工程初步设计方案并征询土地权属人、村见;5、编制工程;6、撰写工程规划方案设计;7、组织专家评审;8、上报国土资源经与会审后由下达工程年度方案。
上报材料:1、规划方案设计文本。
附件包括:A、地类情况表;B、水量平衡分析;C、涉及土壤改善的应有农业部门出具的土壤改善方案及土壤养分分析;D、涉及取水的应有门的用水答应证明;E、工程施行机构情况;F、土地所有权证复印件;G、涉及土地权属调整的应有土地权属调整方案;H、土地权属人、村民代表修改及就该对规划设计方案进度修改的说明;I、工程量计算表。
2、工程书;3、图件包括:A、1:10000土地利用现状图;B、工程总体布图;C、工程规划平面布置图;D、施工大样图。
土地利用图中地图载负量的研究摘要土地利用图是表达一定区域内的土地利用类型分布、面积及土地利用结构的一种专题地图,可为土地利用规划和管理提供直观的依据。
为适应不同管理的需要,应编制不同比例尺的土地利用图。
需要对测量获取的大比例尺土地利用数据进行综合,缩编小比例尺土地利用图,其中必然涉及地图载负量的变化。
本文简述土地利用图特点,说明研究土地利用图载负量的必要性,探讨土地利用图载负量极限值和适宜值,结合湖北省蕲春县乡镇土地利用数据,根据拟定的地图载负量,用1:10000的土地利用图缩编1:25000的土地利用现状图,进行地图易读性评价。
关键字极限载负量、适宜载负量、土地利用图、制图综合、地图易读性中图分类号:u412.1+4 文献标识码:a文章编号:1引言当前我国正在全面开展第二次全国土地调查。
县级调查成果(1:1万为主)完成之后,为了满足乡镇、县等各级土地管理部门工作的需求,迫切需要编制系列比例尺土地利用现状图。
土地利用现状图是用质底法反映一个地区各类土地利用现状的专题地图[2],在空间分布上具有全覆盖、无重叠、无缝隙特征,在语义上具有类型的层次化划分。
随着地图比例尺的减小,制图区域表现在地图上的面积成等比级数倍减小【4】。
地图比例尺越小,能表示在地图上的内容就越少。
由于土地利用分类是国家标准,不进行归并,因此,仅要对制图区域中的内容进行几何综合,并通过地图载负量来反映地图综合的合理性。
地图载负量一般理解为地图图廓内符号和注记的数量。
当地图符号确定以后,地图载负量越大,意味着地图内容越多。
当地图上的符号和注记互不压盖,符号和注记密度达到人眼可辨识的最大限度时,地图载负量达到极限值,超过这个阈值,地图阅读就会非常困难;当地图上的符号和注记的密度能保证图面内容清晰美观,保证读图者读图轻松,此时地图的载负量为适宜值。
2土地利用图载负量的研究方法根据所编图的用途、比例尺等的不同,可采用不同的数学方法来确定图上应保留的信息量或其等价物地图载负量。
1:1万到1:5万土地利用现状图缩编技术要点摘要:本文介绍了当前计算机制图缩编技术的现状,以MapGIS软件以例详细说明了1:1万土地利用现状图缩编成1:5万土地利用挂图的方法步骤,以及在缩编过程中需要注意的问题。
关键词:缩编,土地利用,MapGIS,1:5万。
Abstract:this paper introduces the current status of computer graphics downsizing technology,using MapGIS software as an example to illustrate the 1:10,000 map of land use status downsizing into 1:50,000 map of land use method steps,as well as in the downsizing process should pay attention to the problem.Key words:downsizing,land use,MapGIS,1:50,000.本文以河北某县的1:1万的土地利用现状图为基础数据,以武汉中地数码科技有限公司的MapGIS软件为例,详细说明土地利用数据缩编时的具体步骤与技术要点。
1:1万比例尺为第二次全国土地调查的基本比列尺,1:5万比例尺为县级挂图的比例尺。
需进行缩编的主要图层为地类图斑层和线状地物层,以及其它注记图层等辅助图层。
一、数据库生成全县现状图:此项由数据库直接生成,打开MapGIS土地变更调查数据库管理系统的“生成本年度工程” 菜单即可生成。
二、各要素图层缩编:1、地类图斑层:地类图斑层中包含了本地区的所有地类,样例数据为河北北部平原地区,主要有耕地(01)、园地(02)、林地(03)、草地(04)、水域(11)以及其它未利用地等。
地类图斑层缩编的主要工作为相邻且地类相同的图斑自动合并,在合并时,需要两块图斑的相邻边线共用边线,数据库直接生成的图斑,其公共边界为两条边界,如下图:41号图斑和42号图斑的共用边线是位置完全相同的两条边线,需改成共用一条边线,才能自动进行合并。
1:10000标准分幅土地利用现状图注记参数及相关说明详细名称注记字体计算机字大(mm)243 图斑编号黑体 2.0/6.0大型江河名称宋体左倾15°6.6一般河流名称宋体左倾15°4.4一般河流名称宋体左倾15°3.3/8.5干渠名称宋体左倾15°3.8支渠名称宋体左倾15°2.8一般水库名称宋体左倾15°3.3陕西省省级政府驻地名称黑体加粗7.2西安市地(市)级政府驻地名称黑体加粗6.3黄陵县县(市)级政府驻地名称黑体加粗5.5阿党镇乡(镇)级政府驻地名称黑体加粗4.4/12.5阿党村村、权属单位名称加粗 3.3/8.5 阿党村散列式村委会名称仿宋 3.3阿党村飞地、自然村、村民小组名称仿宋 3.0/8.0 店头林场农、林场方正中等线简体 3.0铁路名称注记方正中等线简体(扁体)2.8×3.6铁路名称注记方正中等线简体(长体)3.2×2.8道路名称注记方正中等线简体(扁体)2.8×3.6道路名称注记方正中等线简体(长体)3.2×2.86.1 道路宽度注记黑体 2.0/6.0 2.1 河流宽度注记黑体 2.0/6.0 Z033 撂荒地等注记“Z+地类编黑体 1.8说明:1、铁路、公路依比例表示的,填充面色,其附属设施不需填充面色;2、县界、地区界、省界的线宽分别增加至0.4mm、0.5mm、0.6mm;3、线状农村道路、县乡(含)以上公路、国道的线宽分别增加至0.3mm、0.4mm、0.6mm、0.8mm;4、图外整饰注记参数一律按《陕西省第二次土地调查实施细则》执行;5、线划比例尺的形状、大小一律按《陕西省第二次土地调查实施细则》执行;6、右下角说明文字统一为:2008年7月外业调查2009年11月更新调查1980西安坐标系1985国家高程基准《第二次全国土地调查技术规程》图式国家林业局西北林业调查规划设计院遥感计算中心制图7、图例框:长×高=17×8.5(mm)8、副图名位于接图表的正中位置9、图例框之间的距离:。
毕业设计(论文)终稿题目1:1万土地利用现状图制作方法实践学院测绘科学与技术学院专业地理信息系统班级0902班姓名吴文学号**********指导教师崔晓临日期2013年5月7日摘要土地是宝贵的不可再生资源。
随着人口不断的增长、经济迅猛发展,二十世纪以来,有限的土地和不断增长的人口之间的矛盾日益加深,人们对土地的不合理开发利用导致土地退化程度加剧,继而影响到全球的环境。
我国是人口大国,人口总数约占全世界人口的五分之一。
然而,我国的耕地面积约为9572万公顷,占世界耕地总面积7.7%。
再加上21世纪以来,我国城市化进度加大,城市拓展过程中侵占了大量耕地。
所以,加强土地的科学化管理与使用、切实保护耕地已成为我国当今迫在眉睫的一项国策。
土地利用现状图是用地图符号表达一定区域内的土地利用类型及其分布、反映区域内土地利用结构的专题地图。
1:1万土地利用现状图是目前我国要求各县级土地管理部门用来进行乡镇土地利用总体规划、实施耕地保护、规定基本农田、建立土地利用数据库,以及实施土地利用年度变更等工作所用的基础图件。
土地利用现状图的编绘有多种技术方法,目前主要的有基于ArcGIS平台、基于MapGIS平台、使用遥感影像制作土地利用现状图等多种技术方法。
本论文主要研究基于ArcGIS软件,利用第二次全国土地调查结果数据制作陕西省榆林市靖边县部分地区1:1万土地利用现状图。
本文详细介绍了使用ArcGIS制作1:1万土地利用现状图的操作过程,重点讲述了具体的操作细节、常见问题,以及一些作图技巧和经验。
此外,本文还讲述了其他几种现阶段流行的制作土地利用现状图的技术和方法。
最后,制作出目标区域的1:1万土地利用现状图。
关键字:土地利用,1:1万土地利用现状图,ArcGIS,地理信息系统ABSTRACTLand is valuable non-renewable resources. Since 21th, with the increase of population, the rapid development of economy, the contradiction between the limited land and the growing population is growing, people are not rational development and utilization of the land leads to land degradation degree aggravate, then affect the global environment.China is a country with a large population, the total population accounted for about 1/5 of the world's population. However, our country cultivated area of about 95720000 hectares, ac- counting for the world total cultivated area of 7.7%. Since after twenty-first Century, our coun- try city plan to increase the process of city development, occupied a great deal of cultivated land. Therefore, strengthen economics a national policy of China's imminent.Land use map is the map symbol shows the land use types and their distribution, reflecting the region land use thematic map structure. The 1:1 million map of land use actuality in our country at present the county land management departments for the land use planning, the im- plementation of arable land protection, provision of basic farmland, build land use database, and the implementation of basic graph element the annual land use change for work. The cur- rent land use map compilation of a variety of techniques, at present mainly is based on the ArcGIS platform, based on the MapGIS platform, the use of remote sensing image making land use map methods.This paper mainly studies based on the ArcGIS software, 1:1 million map of land use in the national land survey results of datebase produced in Jingbian County of Yulin city in shannxi province. This paper introduces in detail the use of operation process of ArcGIS production of 1:1 million map of land use actuality, focuses on the specific details of the operation, common problems, as well as some drawing skill and experience. In addition, this paper also describes several other stage.Technology and method of making land using status of the popular. Finally, make the status of 1:1 million land use map target area.KEY WORDS: Land use, 1:10000 map of land use, ArcGIS, Geographic Information System目录第1章绪论 (7)1.1土地利用现状图及其在实际生产中的作用 (7)1.2国内外研究现状 (8)1.3研究背景及目的意义 (8)1.3.1 制图区的区域特点 (8)1.3.2 研究制作土地利用现状图的目的意义 (9)1.4土地利用现状图制作技术路线 (11)1.4.1 技术依据 (11)1.4.2 数学基础 (11)1.4.3 技术流程 (12)第2章几种制作土地利用现状图的技术 (13)2.1基于A RC GIS软件制作土地利用现状图 (13)2.1.1 数据准备技术指标 (13)2.1.2 技术路线 (13)2.1.3 结论 (14)2.2使用原有的大比例尺图件缩编小比例尺图件 (14)2.2.1缩编原则 (14)2.2.2设计方案 (15)2.2.3 缩编技术指标 (16)2.2.4 缩编关键技术 (16)2.2.5 结论 (17)2.3 基于M AP GIS软件编制土地利用现状图 (17)2.3.1MapGIS软件简介 (17)2.3.2 基于MapGIS的地图制作流程 (17)2.3.3 基于MapGIS制作地图的优点 (17)2.4利用遥感影像更新土地利用现状图 (18)2.4.1遥感技术与土地利用信息 (18)2.4.2研究内容与技术路线 (18)2.4.3 利用遥感影像更新土地利用现状图的优点 (19)2.4.4存在问题 (20)2.5几种制图方法见的优劣性比较 (20)2.5.1 制图数据要求 (20)2.5.2 制图效率比较 (21)第3章使用ARCGIS软件制作1:1万土地利用现状图 (22)3.1数据资料及设备准备及技术指标 (22)3.1.1 数据资料准备 (22)3.1.2 设备准备 (22)3.1.3技术指标 (22)3.2A RC GIS软件简介 (22)3.31:1万分幅土地利用现状图数据组织形式 (24)3.3.1 图件组织形式 (24)3.3.2 ArcMap地图文档 (25)3.41:1图幅制作 (25)3.4.1 地图制作流程 (26)3.4.2 数据裁剪 (27)3.4.3 图层名称 (28)3.5地图要素符号化 (29)3.5.1 地类图斑符号化 (29)3.5.2 地类图斑在符号化的过程中存在的问题 (32)3.5.3大图斑问题 (32)3.6地图制图表达 (34)3.6.1 制图表达简单介绍 (34)3.6.2 如何生成制图表达 (34)3.6.3 制图表达原理 (35)3.7使用制图表达 (37)3.7.1 使用地图表达处理大图斑 (37)3.7.2小图斑、长条图斑问题 (39)3.7.3符号压盖问题 (40)3.8线状地物符号化 (42)3.8.1 一般线状地物符号化 (42)3.8.2 行政区界线符号化 (43)3.9注记 (45)3.9.1注记自动标注 (45)3.9.2 Maplex模块管理标签 (48)3.9.3注记整饰 (49)3.10制图辅助要素 (52)3.10.1 桥、流向等有向符号的表示 (52)3.10.2各级政府驻地符号化 (54)3.11图外整饰 (55)3.11.1图框的整饰 (55)3.11.2 数据与图形 (57)3.11.3图框十字设置 (59)3.11.4 接合图表 (59)3.11.5 图名、比例尺 (61)3.11.6图例 (62)3.11.7图下文字 (64)3.11.8 打印出图 (65)3.12成果图 (66)第4章总结 (67)致谢 (68)参考文献: (69)第1章绪论1.1 土地利用现状图及其在实际生产中的作用土地利用现状图是用地图符号表达一定区域内的土地利用类型及其分布、反映区域内土地利用结构的专题地图。