注射用水工艺流程
- 格式:docx
- 大小:319.68 KB
- 文档页数:16
瓶装输液车间1、氯化钠注射液工艺流程图:搅拌溶解煮沸15ˊ过滤脱炭过滤脱炭测pH含量115℃30ˊ氯化钠注射液生产过程质量控制要点:2、葡萄糖注射液工艺流程图:煮沸 搅拌溶解+ 煮沸 过滤脱炭15ˊ过滤脱炭测pH 值含量115℃30ˊ葡萄糖注射液生产过程质量控制要点:3、葡萄糖氯化钠注射液工艺流程图:煮沸 + 15ˊ过滤脱炭 测pH 值含量115℃30ˊ葡萄糖氯化钠注射液生产过程质量控制要点:胶塞洗涤水可见异物1次/每锅灌装后半成品药液装量1次/每小时可见异物1次/批轧口铝盖铝盖紧密度随时/班灭菌灭菌柜标志、装量、压力、温度、时间、记录每柜灭菌前半成品标志、存放区每柜灭菌后半成品外壁清洁度、标志、存放区每柜灯检灯检品可见异物每个工号/班每瓶标志随时/班包装贴签内容、外观随时/班装箱数量、装箱单、内容每箱4、复方氨基酸注射液(15AA)工艺流程图:复方氨基酸注射液(15AA)生产过程质量控制要点:灌装后半成品药液装量1次/每小时可见异物1次/批轧口铝盖铝盖紧密度随时/班灭菌灭菌柜标志、装量、压力、温度、时间、记录每柜灭菌前半成品标志、存放区每柜灭菌后半成品外壁清洁度、标志、存放区每柜灯检灯检品可见异物每个工号/班每瓶标志随时/班包装贴签内容、外观随时/班装箱数量、装箱单、内容每箱5、复方氨基酸注射液(18AA)工艺流程图:复方氨基酸注射液(18AA)生产过程质量控制要点:灌装后半成品药液装量1次/每小时可见异物1次/批轧口铝盖铝盖紧密度随时/班灭菌灭菌柜标志、装量、压力、温度、时间、记录每柜灭菌前半成品标志、存放区每柜灭菌后半成品外壁清洁度、标志、存放区每柜灯检灯检品可见异物每个工号/班每瓶标志随时/班包装贴签内容、外观随时/班装箱数量、装箱单、内容每箱6、复方氨基酸注射液(18AA)30g工艺流程图:复方氨基酸注射液(18AA)30g生产过程质量控制要点:7、甘露醇注射液工艺流程图:煮沸 搅拌溶解 + + 煮沸30 ˊ 过滤脱炭过滤脱炭+泵至稀配锅测PH 含量120℃40ˊ甘露醇注射液生产过程质量控制要点:8、甲硝唑氯化钠注射液工艺流程图:+ +过滤脱炭+ 测PH 含量115℃30ˊ甲硝唑氯化钠注射液生产过程质量控制要点:9、氧氟沙星葡萄糖注射液工艺流程图:搅拌溶解 煮沸+15ˊ冷却至30℃ 搅拌————→NaOH 溶液乳酸过滤 ———————→ 调节PH4.0-5.0116℃———→ ———→ ———→ 30ˊ氧氟沙星葡萄糖注射液生产过程质量控制要点:灌装后半成品药液装量1次/每小时可见异物1次/批轧口铝盖铝盖紧密度随时/班灭菌灭菌柜标志、装量、压力、温度、时间、记录每柜灭菌前半成品标志、存放区每柜灭菌后半成品外壁清洁度、标志、存放区每柜灯检灯检品可见异物每个工号/班每瓶标志随时/班包装贴签内容、外观随时/班装箱数量、装箱单、内容每箱10、硫酸依替米星氯化钠注射液工艺流程图:硫酸依替米星氯化钠注射液生产过程质量控制要点:软包装输液车间1、氯化钠注射液工艺流程图:搅拌溶解煮沸+15ˊ过滤脱炭过滤脱炭+测pH 含量115℃30ˊ氯化钠注射液生产过程质量控制要点:2、葡萄糖注射液工艺流程图:煮沸搅拌溶解+ + 煮沸+ 15ˊ过滤脱炭测pH值含量葡萄糖注射液生产过程质量控制要点:3、葡萄糖氯化钠注射液工艺流程图:煮沸+ 15分钟过滤脱炭测pH值含量葡萄糖氯化钠注射液生产过程质量控制要点:4、甲硝唑氯化钠注射液工艺流程图:搅拌溶解+ +过滤脱炭115℃+测PH含量30ˊ甲硝唑氯化钠注射液生产过程质量控制要点:小容量注射液车间1、苯甲醇注射液工艺流程图:搅拌至溶解测PH值+ +(必要时加热)测含量100℃30ˊ苯甲醇注射液生产过程质量控制要点:2、酚磺乙胺注射液工艺流程图:+测PH 值酚磺乙胺注射液生产过程质量控制要点:3、肌苷注射液工艺流程图:加热微沸边加边搅拌 搅拌 调PH 值+ 85℃保温30分钟测定含量 通N 2 100℃+ 30ˊ肌苷注射液生产过程质量控制要点:4、氟罗沙星注射液工艺流程图:加热至85-90℃ +搅拌80℃保温30溶解冷却至45℃100℃30ˊ氟罗沙星注射液生产过程质量控制要点:5、甲钴胺注射液工艺流程图:+ + +甲钴胺注射液生产过程质量控制要点:6、利巴韦林注射液工艺流程图:搅拌后搅拌溶解+ +过滤测PH 至澄明100℃含量30ˊ利巴韦林注射液生产过程质量控制要点:7、硫酸阿米卡星注射液:充N 2 30ˊ搅拌温度15~20℃搅拌 搅拌均匀测PH 值+药液温度≤20℃用NaOH 调PH 值通N2 搅拌15ˊ 100℃ + 静止15ˊ 30ˊ硫酸阿米卡星注射液生产过程质量控制要点:8、硫酸奈替米星注射液工艺流程图:通氮气20ˊ溶解后+ +搅拌均匀+ +搅拌20ˊ 105℃静置10ˊ 20ˊ硫酸奈替米星注射液生产过程质量控制要点:9、硫酸庆大霉素注射液工艺流程图:+30ˊ硫酸庆大霉素注射液生产过程质量控制要点:10、硫酸小诺霉素注射液工艺流程图:搅拌++搅拌30ˊ 充氮 100℃ + 30ˊ硫酸小诺霉素注射液生产过程质量控制要点:。
注射用水的制备工艺流程
注射用水的制备工艺流程通常包括以下几个步骤:
1. 原水处理:将自来水或其他水源经过预处理,如过滤、沉淀、混凝等,去除悬浮物、杂质、微生物等。
2. 进一步处理:将原水进行进一步处理,如软化、反渗透、电离交换等,去除硬度、溶解性盐类、离子等。
3. 灭菌:使用适当的方法对处理后的水进行灭菌,如高温灭菌、过滤灭菌、紫外线灭菌等,以确保水中没有细菌和其他微生物。
4. 纯化:使用反渗透、蒸馏、超滤等纯化技术,去除水中的有机物、无机物、微量金属离子等,以达到注射用水的纯净度要求。
5. 储存:将经过处理和纯化的水储存在符合卫生要求的容器中,避免二次污染。
6. 包装:将储存好的注射用水进行灌装,通常使用无菌包装材料,以确保产品的无菌性。
7. 检测:对包装好的注射用水进行质量检测,包括微生物检测、化学指标检测等,确保符合相关标准和规定。
8. 标签和存储:对合格的注射用水进行标签贴附,包括产品名称、编号、规格、生产日期等信息,并储存于干燥、阴凉、避
光、空气流通的条件下。
以上是一般制备注射用水的工艺流程,具体的步骤和方法可能会因生产工艺、设备等因素而有所差异。
在实际的工业生产中,也需要根据法规和标准要求进行操作和控制,以确保注射用水的质量和安全性。
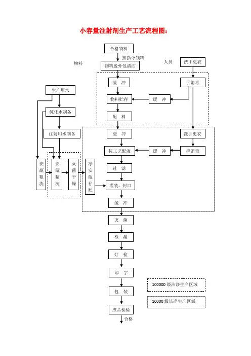
小容量注射剂生产工艺流程图:一、生产用物料包括原辅料、纯化水、注射用水、包装材料。
原辅料、包装材料(包括安瓿)应检验合格后使用。
纯化水为原水制得,清洗安瓿使用;注射用水为纯化水制得,清洗安瓿和配制使用,均应定时检查,制得后及时使用。
二、纯化水、注射用水1、原水处理(纯化水的制备)原水处理方法有离子交换法、电渗析法及反渗透法。
离子交换法制得的去离子水可能存在热原、乳光等问题,主要供蒸馏法制备注射用水使用,也可用于洗瓶,但不得用来配制注射液。
2、注射用水的制备注射用水为蒸馏水或去离子水经蒸馏所得的水,又称重蒸馏水。
其质量要求见《中国药典》,除氯化物、硫酸盐、钙盐、硝酸盐、亚硝酸盐、二氧化碳、易氧化物、不挥发物与重金属按蒸馏水检查应符合规定外,还规定pH应为5.0~7.0,氨含量不超过0.00002%,热原检查应符合规定,应于制备后12h内使用。
三、人员操作人员应身体健康,每年体检一次,并建立健康档案。
操作作人员按生产区域进行划分,严格遵守工作服穿戴制度,并不得将工作服穿出该区域。
不得将头发、胡须外露,不得化妆,不得佩带饰物、手表,操作前后、接触污物后均应洗手并且消毒。
工作服应定期清洗,更换。
四、领料按生产指令领取处方原料,核对物料品名,批号、规格、数量应相符,所领物料应有检验合格报告书。
五、配料领取的原料核对品名、批号、数量、合格证,按生产处方配料,装入清洁容器转入下一工序。
称量时需由第二人复核。
六、安瓿清洗将安瓿轩洗瓶机内,依次用饮用水、纯化水、注射用水进行清洗,清洗后干燥灭菌,置相应区域,检验合格后及时使用。
七、配液按生产工艺进行配液八、过滤将配置完成的药液过滤,除去其中所含的杂质。
九、灌封滤液经检查合格后进行灌装和封口,即灌封。
十、灭菌除采用无菌操作生产的注射剂外,注射液在灌封后须尽快进行灭菌,以保证产品的无菌。
(灭菌要求是杀灭微生物,以保证用药安全,同时避免药物的降解,以免影响药效。
)十一、检漏灭菌后的安瓿立即进行漏气检查。
注射剂的制备工艺流程1.配制配液应在洁净区内进行;配液方法通常有稀配法和浓配法两种,根据产品的不同要求,将原料加入溶剂中一次配成注射剂所规定的浓度,或将全部原料加入部分溶剂中,配成浓溶液,加热滤过后再加溶剂至全量;提高注射剂的澄明度和稳定性的措施:1热处理冷藏,即将配制的注射液加热至950℃以上30分钟后冷藏,使杂质呈胶体分散状态的沉淀而除去;2活性炭处理使用%~%的经150℃干燥活化3~4h的针用活性炭与药液同煮至沸,稍冷后过滤;使用时应注意活性炭对有效成分的影响;加入附加剂,如抗氧剂、止痛剂和pH调节剂等;2.滤过1初滤常用的滤材有滤纸、绸布、纸浆、滤板等;常用的滤器有布氏漏斗、砂滤棒、板框压滤机等;2精滤常用滤器有垂熔玻璃滤器球、棒、微孔滤膜滤器及超滤器等;其中,G3、G4垂熔玻璃滤器一般用于加压或减压过滤,G6垂熔玻璃滤器可用于滤过除菌;μm 以下的微孔滤膜可用于无菌过滤;3常用的滤过方式有减压过滤及加压滤过;3.灌封灌封包括药液灌注和安瓿熔封,这两步应在同一室中进行;灌封有手工和机械两种灌封操作,大生产常用自动安瓿灌封机;1灌注①应做到剂量准确;②灌装药液尽量不要使灌注针头与安瓿颈内壁碰撞,以免爆裂或产生焦头;③接触空气易变质的药物,在灌装过程中,应排除容器内空气,可填充二氧化碳或氮等气体,并立即用适宜的方法熔封或严封;2熔封安瓿的熔封应严密,无缝隙,不漏气,颈端应圆整光滑,无尖头及小泡;4.灭菌和检漏1灭菌注射剂熔封或严封后,一般应根据药物性质选用适宜的方法和条件及时灭菌,以保证制成品无菌;中药注射剂多采用流通蒸汽或煮沸灭菌100℃,30~45分钟,容量较大的可酌情延长灭菌时间;2检漏注射剂在灭菌时或灭菌后,应采用减压法或其他适宜的方法进行容器检漏;目的是将熔封不严的注射剂剔除;5.印字与包装注射剂经质量检查各项目合格后方可印字、包装;每支注射液均应标明品名、规格、批号等;包装既要避光又要防止破损,常用纸盒;原料的准备配制原料的形式:①以中药中提取的单体有效成分为原料②以中药中提取的有效部位为原料③中药中提取的总提取物为原料现状一中药材的预处理药材原料必须确定品种与来源,鉴定符合要求后,预处理挑选、洗涤、切制、干燥、粉碎、灭菌;二中药注射用原液的制备1、要求:最大限度地除去杂质,保留有效成分;2、提取与纯化路线选择依据:1根据处方组成中药物所含成分的基本理化性质;2结合中医药理论确定的功能主治与现代药理研究;3处方的传统用法、剂量;4制成注射剂后应用的部位与作用时间;3、用途:可供配制注射剂成品用的原液或相应的干燥品;4、制备方法:1蒸馏法:本法提取挥发性成分;如:柴胡、野、鱼腥草、艾叶、徐长卿、防风、细辛、大蒜、薄荷、荆芥等均宜用蒸馏法提取有效成分;方法:系指将药材粗粉或薄片放入蒸馏器内,加水适量,待充分吸水膨胀后,加热蒸馏或通水蒸气蒸馏,收集馏出液;若药材中有效成分为挥发油或其他挥发性成分,则可存在于馏出液内;为提高蒸馏效率和防止有效成分被热破坏,也可采用减压蒸馏法;影响蒸馏提取的主要因素:浸泡时间、加水倍量、蒸馏时间;注意:①挥发油饱和水溶液澄明度较差时,加少量精制滑石粉或硅藻土吸附滤过,还可加适量增溶剂;②蒸馏法制得的原液,不含或少含电解质,渗透压偏低,直接配制需要加适量的氯化钠调整渗透压;2水提醇沉法本法适用于成分即溶于水又溶于醇,利用在水中不溶或乙醇中不同溶解度的特性; 方法:处方中药材加水煎煮,提取出有效成分,如:生物碱盐、苷类、有机酸类、氨基酸、多糖类等;同时也提出一些水溶性杂质,如:淀粉、蛋白质、粘液质、鞣质、色素、无机盐等;若往水煎液中加入适量乙醇,可以改变杂质溶解性能而将杂质部分或全部除去;当乙醇浓度达到60%~70%时,除鞣质、树脂等外,其他杂质已基本上沉淀而除去;如果分2~3次加入乙醇,浓度又逐步提高,最终达到75%~80%,则除去杂质的效果更好; 药液醇沉时,一般放置12~24小时或24小时以上,若能低温冷藏则更有利于杂质的充分沉淀; 水煎液往往还含有一些水不溶性杂质,醇沉也难以除去,应在醇沉、滤过、回收乙醇后,再加水混匀,冷藏24小时,又可除去一些杂质;如此醇、水交替处理,杂质除得完全,有利于提高注射液的澄明度;注意:鞣质、水溶性色素、树脂不能完全除去;3醇提水沉法本法适用于成分即溶于醇又溶于水;方法:将中药原料用一定浓度的乙醇用渗漉法、回流法提取,即可提取出生物碱及其盐、苷类、挥发油及有机酸类等;虽然多糖类、蛋白质、淀粉等无效成分不易溶出,但树脂、油脂、色素等杂质却仍可提出;为此,醇提取液经回收乙醇后,再加水处理,并冷藏一定时间,可使杂质沉淀而除去;40%~50%的乙醇可提取强心苷、鞣质、蒽醌及其苷、苦味质等;60%~70%乙醇可提取苷类;更高浓度乙醇则可用于生物碱、挥发油、树脂和叶绿素的提取;注意:①鞣质、水溶性色素、树脂不能完全除去;②脂溶性色素较多,溶液颜色较深;4双提法蒸馏法与水醇法的结合;如果处方内药材既需要挥发性成分,又需要不挥发性成分时,可采用“双提法”;双提法是先将药材用蒸馏法提出挥发性成分,再以水提醇沉法或其他方法提取不挥发性成分,最后将两部分合并,供配注射液用;5超滤法中药水煎液中有效成分的分子量多在1000以下,而一般无效成分鞣质、蛋白质、树脂等分子量较大,在常温和一定压力下外源氮气压或真空泵压,将中药提取液通过一种装有高分子多微孔膜的超滤器,可达到去除杂质,保留有效成分的目的;常用的高分子膜有醋酸纤维膜CA膜、聚砜膜PS膜等;通常选用截留蛋白质分子量为10000~30000的膜孔范围,用于的制备;本法的特点是:①以水为溶剂,保持传统的煎煮方法;②操作条件温和,不加热,不用有机溶剂,有利于保持原药材的生物活性和有效成分的稳定性;③易于除去鞣质等杂质,注射剂的澄明度和稳定性较好;此外,尚有透析法、离子交换法、有机溶剂萃取法、树脂吸附法、酸碱沉淀法、反渗透法、石硫法、离子交换法可供选用;三除去注射剂原液中鞣质的方法:1、鞣质性质:鞣质多元酚的衍生物,中药植物药材中广泛存在,即溶解于水又溶解于醇,有较强的还原性,在酸、酶、强氧化剂存在或加热时,可发生氧化、水解、缩合反应,生成不溶性物质;2、除鞣质目的:①一般纯化方法不容易除尽,经灭菌会产生沉淀,影响澄明度,制剂的稳定性差;②鞣质与蛋白质形成不溶性鞣酸蛋白,注射时刺激疼痛,往往在注射部位结成硬块;除去鞣质通常用下列几种方法;3、除鞣质方法:1明胶沉淀法与改良明胶沉淀法明胶是一种蛋白质,与鞣质在水溶液中能形成不溶性的鞣质蛋白,因而可除鞣质,该反应在~时最灵敏;①明胶沉淀法:在中药水煎浓缩液中,加入2%~5%明胶溶液,至不产生沉淀为止,静置、滤过除去沉淀,滤液浓缩后,加乙醇,使含量达75%以上,以除去过量明胶;②改良明胶沉淀法:水煎液浓缩,加入2%~5%明胶后稍经放置,不须滤过即再加入乙醇至含酸量达70%~80%,静置过夜,滤过即得,该法可降低明胶对中药中黄酮类成分和蒽醌类成分的吸附作用;2醇溶液调pH值法碱性醇沉法将中药的水煎液浓缩加入乙醇,使其含酸量达80%或更高,冷处放置,滤除沉淀后,用40%氢氧化钠调至pH为8,此时鞣质生成钠盐且不溶于乙醇而析出,经放置,即可滤过除去;注意:醇浓度与PH越高,除鞣越多;但有些酸性成分会被除掉;醇溶液调PH不易超过8;3聚酰胺除鞣质法聚酰胺又称锦纶、尼龙、卡普隆,是由酰胺聚合而成的高分子化合物;分子内含有许多酰胺键,可与酚类、酸类、醌类、硝基类化合物形成氨键而吸附这些物质;鞣质为多元酚的衍生物,亦可被吸附,从而达到除去的目的;注意:硝基化合物、酸类成分、醌类成分也可成氢键吸附;4铅盐沉淀法醋酸铅在水溶液或醇溶液中能沉淀有机酸、酸性皂苷、树脂、鞣质、色素、蛋白质等;碱式醋酸铅还能沉淀出某些含有醇基、酮类、醛基类物质,以及黄酮类、中性皂苷和少数生物碱;本法是利用此性质用铅盐从提取液中沉淀出有效成分或分离除去杂质;由于铅盐对人体有害,溶液中过量的铅必须除尽;除铅的常用方法有:①硫酸和硫酸钠法;②硫化氢法;5其他方法酸性水溶性沉淀法、超滤法等;三、注射剂的容器与处理一注射剂容器的种类:按其质地可分为玻璃容器和塑料容器两类;分装剂量不同可分为单剂量装小容器、多剂量装容器及大剂量装容器三种;目前,单剂量装小容器仍以安瓿为主;1、单剂量容器:安瓿2、多剂量容器3、大剂量容器二注射剂容器的质量要求①应无色透明需避光的注射剂可用棕色、洁净、无污物附着;②具较高的化学稳定性,不改变药液的pH值,又不易被药液腐蚀;③具有足够的机械强度,抗冲击强度,能耐受热压灭菌所产生的压力差,减少生产、贮运中的破损;④熔点较低,易于熔封;⑤不得有气泡、麻点与砂粒;玻璃容器要达到以上要求,关键决定于玻璃的理化性质;而玻璃的理化性质又取决于其化学组成及其熔合情况即玻璃的结构;目前制造安瓿根据组成可分:中性玻璃、含钡玻璃、含锆玻璃三种;中性玻璃化学稳定性较好,可作为pH接近中性或弱酸性注射剂的容器;含钡玻璃的耐碱性能好,可用作碱性较强注射剂的容器;含锆玻璃系含少量锆的中性玻璃,具有更高的化学稳定性,耐酸、耐碱性均好;目前国内推广应用,为今后发展重点的是刻痕色点曲颈易折安瓿;塑料容器,必须进行相应的稳定性试验;三安瓿的质量检查依据;1、物理检查①外观:安瓿的身长、身粗、丝粗、丝全长等符合规定;外观无歪丝、歪底、色泽、麻点、砂粒、疙瘩、细缝、油污及铁锈粉色等;②清洁度:将洁净烘干的安瓿,灌入合格的注射用水,封口;经检查合格者用121℃、30分钟热压灭菌,再检查澄明度应符合规定;③耐热性:将洗净的安瓿,灌注射用水,熔封,热压灭菌后检查安瓿破损率,1~2mL的安瓿不超过l%,5~20mL安瓿不超过2%;2、化学检查①耐酸性:取安瓿110支,洗净烘干,灌入L盐酸液至正常装量,封口,剔除含玻璃屑、纤维及白点等异物的安瓿,置121℃热压灭菌30分钟,取出检查,全部安瓿均不得有易见的脱片;②耐碱性:取安瓿220支洗净,烘干,分别注入%氢氧化钠溶液至正常装量,熔封,剔除含有玻璃屑、纤维及白点等异物的安瓿,121℃热压灭菌30分钟,取出检查,全部安瓿均不得有易见到的脱片;③中性检查:取安瓿11支,用煮沸过的冷蒸馏水洗净;10支安瓿中注入甲基红酸性溶液至正常装量,熔封;另1支安瓿注入甲基红酸性溶液10mL与L氢氧化钠液混合液至正常装量,熔封;将上述10支安瓿121℃热压灭菌30分钟,放冷,取出与未经热压的安瓿内溶液比较,其色不得相同或更深;3、装药试验:进一步考察容器与药物有无相互作用;四安瓿的处理安瓿一般须经切割→圆口→灌水蒸煮→洗涤→干燥或灭菌等工序;1、安瓿的切割与圆口:空安瓿带有细长的颈丝,必须切割至适当的同一长度,瓶口整齐、无缺口、裂口、双线,才可应用;既可手工切割小批量生产,也能用机器切割安瓿自动切割机;在安瓿切割后,颈口截面粗糙,留有细小玻璃屑,为了使安瓿颈截面光滑,防止灌注药液时玻璃屑落入,用强烈火焰喷烤安瓿割颈的截面,使截面玻璃熔融光滑,该操作称为圆口;国内生产时安瓿瓶口已做处理,不需切割与圆口;2、安瓿的洗涤:将已圆口的安瓿中灌满蒸馏水、去离子水或%~%的盐酸溶液,于100℃蒸煮30分钟,使玻璃表面的硅酸盐水解,除去微量的碱和金属离子,此过程称为“灌水蒸煮”;蒸煮后的安瓿再行洗涤;大量生产时多采用甩水法或气水加压喷射法;5mL以下的安瓿;甩水法用安瓿灌水机将安瓿灌满滤清的蒸馏水,然后用甩水机将水甩出,如此反复数次即可洗净;气水加压喷射法系将加压滤过的去离子水或蒸馏水与经过处理已洁净的压缩空气,由针头交替倒喷入安瓿内,借助洗涤水与压缩空气交替数次的强烈冲洗,以洗净安瓿;此法效果颇佳,更适用于5mL以上的安瓿或其他玻璃容器;3、安瓿的干燥与灭菌:将洗净的安瓿倒置在铝盘中,送入烘箱于100℃以上干燥;用于无菌操作下灌封的安瓿需在200℃以上干热灭菌45分钟,以杀灭微生物和破坏安瓿中可能污染的热原;常用的灭菌烘箱有:隧道式红外线烘箱、电热红外线隧道式自动干燥灭菌机、电热远红外线隧道式自动干燥灭菌机等;安瓿干燥灭菌后,应密闭保存,并及时应用;存放空间应有洁净空气保护,时间不得超过24个小时;此外,有些有条件厂家,将安瓿制造与灌封结合起来,新制成的安瓿在密封状态下立即或在短时间内提供给注射剂车间灌封,这样可免除割、圆、水洗操作,只采用洁净空气吹洗即可;还有一种密封安瓿,使用时在净化空气下用火焰开口,直接灌封,这样可免去洗瓶、干燥、灭菌等工序;四、注射剂的配液与滤过:一注射液的配制1、配液室的洁净要求配液室的环境、设计要求、通风降温及空气灭菌等均应符合药品生产管理规范;室内用具应力求简单,工作台面要求便于清洁和灭菌;地面要平整,工作时保持潮湿,防止尘土飞扬;工作后保持干燥,避免霉菌滋生;2、原料投料量的计算:1按有效成分或有效部位投料,可按百分浓度表示:适用于有效成分已明确,并已提取出单体者,可注明每毫升注射液内含单体多少克、毫克或微克;例如丹皮酚注射液每毫升含丹皮酚5mg;2按总提取物的百分浓度或每毫升含总浸出物的量表示:适用于干燥提取物未制成单体的配制的注射液,例如毛冬青注射液每毫升中含毛冬青提取物18~22mg;3按每毫升注射液相当于多少克中药材来表示:适用于有效成分不明确的中药注射液,例如用200g中药材经提取精制后,配成100ml注射液,即lml注射液相当于2g 中药材;3、配液用具的选择与处理:配液用具应采用由中性硬质玻璃、搪瓷、耐酸耐碱的陶瓷及无毒聚氯乙烯、聚乙烯等塑料制成的;不宜用铝制品;玻璃器皿和容器可用清洁液处理后,再以自来水刷洗,最后用注射用水荡洗干净;塑料容器及管道可先用较稀的清洁液处理后,再以自来水刷洗,然后用注射用水抽洗数次;乳胶管一般先用蒸馏水煮沸20~30分钟,再用注射用水反复抽洗;亦可用1%NaOH 溶液浸泡10分钟,用自来水搓揉冲洗,再用注射用水抽洗至干净;使用后的管道应立即洗净,如暂时不用,可浸泡在1%~%苯酚溶液中,以防止微生物生长;4、配液方法:1稀配法:将原料加入所需的溶剂中一次配成注射剂所需浓度;本法适用于原料质量好,小剂量注射剂的配制;2浓配法:将原料先加入部分溶剂配成浓溶液,加热溶解过滤后,再将全部溶剂加入滤液中,使其达到规定浓度;本法适用于原料质量一般,大剂量注射剂的配制;①配成浓溶液可用热处理与冷藏法保证质量,亦称变温法,注射液中的某些高分子杂质,如树脂、鞣质等如未除尽,在水中呈胶体状态,不易凝聚和沉淀,但经加热处理,煮沸30分钟或115℃加热15~20分钟,能破坏其胶体状态而使之凝聚,再在0℃~4℃冷藏24小时,又能降低其动力学稳定性,使沉淀析出,即可滤过除去杂质;②几种原料的性质不同,溶解要求有差异,配液时可分别溶解,在混合,最后加溶剂至全量;5、改善色泽与澄明度用吸附法吸附剂,如:活性炭、滑石粉等在水溶液中既能吸附树脂、鞣质、色素等杂质,又能改善注射剂的澄明度,还有助滤作用;活性炭在应用前应于150℃干烤4~5小时,可除去炭中的气体使之活化,也能破坏热原质;应用时溶液加热至80℃左右,能增强其吸附作用;活性炭同时吸附一些有效成分,如:生物碱、苷类、有机酸等,故用量应适当;滑石粉虽吸附力较小,但对胶体有良好的分散作用;临用前应在115℃活化1小时;纸浆与药液混合、滤过,有较好的助滤和脱色作用;配好注射剂,进行质检;二注射液的滤过滤过是保证注射液澄明的重要操作,一般分为初滤和精滤;如药液中沉淀物较多时,特别加活性炭处理的药液须初滤后方可精滤;以免沉淀堵塞滤孔;常用于初滤的滤材有:滤纸、长纤维脱脂棉、绸布、绒布、尼龙布等;常用的滤器有:三角玻璃漏斗、布氏漏斗、滤棒;精滤常用滤器有:垂熔玻璃漏斗、微孔滤膜及滤器等;砂滤棒适用于大生产初滤粗滤;垂熔玻璃滤器G3常压过滤,G4加压或减压过滤,G6灭菌过滤,此类滤器可热压灭菌,用后要用水抽洗,并以清洁液或1%~2%硝酸钠硫酸液浸泡处理;板框压滤机用于大生产预滤;微孔滤膜用于精滤~μm或无菌过滤~μm;滤过方式有三种:1自然滤过:通常采用高位静压滤过装置;该装置适用于楼房,配液间和储液罐在楼上,待滤药液通过管道自然流入滤器,滤液流入楼下的贮液瓶或直接灌入容器;利用液位差形成的静压,促使经过滤器的滤材自然滤过;此法简便、压力稳定、质量好,但滤速慢;2减压滤过装置:是在滤液贮存器上不断抽去空气,形成一种负压,促使在滤器上方的药液经滤材流入滤液贮存器内;3加压滤过装置:系用离心泵输送药液通过滤器进行滤过;其特点是:压力稳定、滤速快、质量好、产量高;由于全部装置保持正压,空气中的微生物和微粒不易侵入滤过系统,同时滤层不易松动,因此滤过质量比较稳定;适用于配液、滤过、灌封在同一平面工作;不论采用何种滤过方式和装置,由于滤材的孔径不可能完全一致,故最初的滤液不一定澄明,需将初滤液回滤,直至滤液澄明度完全合格后,方可正式滤过,供灌封;五、注射剂的灌封:灌封包括药液的灌注和容器的封口;灌封间是无菌制剂生产的关键区域,其洁净度要求特别严格,应达到100级;一注射液的灌装为了保证注射剂使用时有足够的剂量,以补偿在给药时由于瓶壁粘附和注射器及针头在吸液时造成的损失,安瓿中注射液的实际灌注量应等于标示量加上附加量;对注射剂附加量的规定见表10-5P259;灌注时要求做到:1装量准确,每次灌注前必须先校正灌注器容量,试灌若干支,按照规定的“注射剂的装量检查法”进行检查,符合规定后再行灌注;2灌注时应注意尽量不使灌注针头与安瓿颈内壁碰撞,以免玻屑落入安瓿;3药液不可粘附在安瓿颈壁上,以免产生焦头或爆裂;灌装方法:手工灌装与机器灌装;常用的灌注器有:手工竖式灌注器、手工横式灌注器、双针或多针灌注器、电动灌封机等;若需充入惰性气体以防药液氧化时,要让惰性气体完全置换掉安瓿中的空气,一般认为2次充气比1次充气的效果好;二注射液的熔封1、要求:安瓿的熔封应严密,无缝隙、不漏气;安瓿封口应长短一致,颈端应圆整光滑,无尖锐易断的尖头及易破碎的球状小泡;2、方法:1手工熔封:单火焰法与双火焰法,属“拦腰封口” ,小量生产;2机器熔封:多采用自动安瓿灌封机,为顶端自然熔封;但目前多采用拉封法,大量生产时,操作方便,生产效率高;灌装与封口时,一些主药遇空气易氧化的产品,要通入惰性气体置换安瓿中的空气;常用的有氮气与二氧化碳;封口不佳常见原因;六、注射剂的灭菌与检漏1、灭菌熔封后的安瓿应立即灭菌,不可久置;一般注射剂的配制到灭菌,应在12小时之内完成;灭菌方法主要根据主药性质来选择,既要保证灭菌效果,又不破坏主药的有效成分;具体方法见药剂卫生章中有关内容;一般小容量的,大多采用湿热灭菌,100℃30分钟~45分钟;容量较大的安瓿可酌情延长灭菌时间;对热稳定的产品,可用热压灭菌;每批灭菌后的注射液,均需进行“无菌检查”,合格后方可移交下一工序;2、漏气检查安瓿熔封时,有时由于熔封工具或操作等原因,少数安瓿顶端留有毛细孔或微隙而造成漏气;漏气安瓿则易污染微生物而药液变质,不得应用,因此必须查出漏气安瓿,予以剔除;检查方法有下列两种:l将安瓿浸入有色溶液如:0.05%曙红、酸性大红G或亚甲蓝等中,再置灭菌器内灭菌;或将灭菌后的安瓿趁热浸入有色溶液中,当冷却时,因安瓿内压力降低,有色溶液借助负压由漏孔进入安瓿内,而使药液染色,即可检出;2将安瓿置于密闭容器内,抽去容器内空气后再放入有色溶液,由于漏气安瓿内空气也被抽出,当放入空气时,有色溶液借助大气压力进入漏气安瓿而被检出;若药液色泽较深,可在减压后灌入常水,如药液色泽变浅,即表示漏气;3将安瓿倒置或横放于灭菌器内,升温灭菌时,安瓿内部空气受热膨胀形成正压,药液从漏气处压出,灭菌后变成空安瓿,挑出;方法简便实用;3、灯检七、注射剂的质量要求成品:1、装量检查注射液的标示量为2ml或2ml以下者取供试品5支,2ml以上至10ml者取供试品3支,10ml以上者取供试品2支;开启时避免药液损失,将内容物分别用干燥的注射器预经标化抽尽,在室温下检视;测定油溶液或混悬液的装量时,应先加温摇匀,再用干燥注射器抽尽后,放冷至室温检视;每支注射液的装量均不得少于其标示量;2、澄明度检查澄明度检查实质上是异物检查,对确保用药安全和改进生产工艺都相当重要;注射液中的异物包括:炭黑、碳酸钙、氧化锌、纤维、纸屑、玻璃屑、橡皮屑、细菌、霉菌、芽胞及晶粒等;主要是生产中使用的原辅料、容器、用具及生产环境。
-题目:大输液生产工艺规程新订:执行日:变更原因及目的:批准执行日:文件 STP-PC-99000〔01 〕 部门审阅:变更记录:修订人: 部门:生产部起草: 替代:1/15目的:建立一个大容量注射液〔大输液〕生产的通用工艺规程,为车间提供一个通用技术标准合用*围:大输液的生产工艺责任者:生产部经理、输液车间主任、工艺技术员、质监员及操作员容:一、生产工艺流程图〔见下页〕。
二、操作过程及工艺条件。
1、制水将饮用水〔来自青城山〕经石英砂过滤和活性碳过滤去除水中有机质及微粒,经电渗析初步脱盐〔脱盐率75±5%后,再经过“阳—阴—阴—混〞离子交换柱去离子化制得去离子水,再经过切割份子量为 10000 〔相当于0.001 μm〕中空纤维滤材组成的超滤系统过滤后制得超纯水〔纯化水〕,再经五效蒸馏水机创造蒸馏水,经微孔滤膜〔孔径0.45μm〕过滤后制得注射用水。
2、洗瓶将检验合格的输液瓶在车间外脱去外包装〔麻袋或者纸箱〕,在玻瓶进入口处转入周转箱中,运至理瓶室理瓶机旁,逐一上瓶于转盘上,开动外洗瓶机,淋水下对玻瓶发展外刷洗,同时灌入约100ml 自来水,传送至内洗瓶〔粗洗〕机,先用 0.5%NaOH 洗刷,再用自来水洗刷,再用自来水洗刷,最后用纯化水冲洗,传送至精洗瓶机,用注射用水〔经0.45 μ m 滤过〕冲洗两次,精选剔除不合格瓶,并经检查不得带有剩余洗涤剂和洗水澄明度检查合格, pH5.0—7.0,合格的输液瓶传送至灌装间待用。
3 、胶塞处理新胶塞及使用过的回收胶塞,均需按以下程序发展处理:①用 1.2%〔g/ml〕NaOH 液煮沸 1 小时,用自来水洗净, pH 为 7.0;②用 1%〔ml/ml〕 HCl 液煮沸 1 小时,用自来水洗净, pH 为 7.0;③用蒸馏水煮沸 1 小时,用蒸馏水漂洗至最后一次洗涤水经检查不显氯化物反响,洗水澄清〔允许少量白点存在〕为合格,转移至干净不锈钢盛桶内备用;④当天未使用完的胶塞隔天重新经蒸馏水煮沸、漂洗合格后再用。
氯化钠注射液(也称生理盐水)的生产原理基于简单的溶液制备和严格的无菌生产工艺。
其主要步骤如下:
1. 原料准备:
- 主要原料为氯化钠,要求纯度高、无杂质,并符合药典规定的质量标准。
2. 溶剂处理:
- 使用注射用水作为溶剂,注射用水需经过多级蒸馏或反渗透等工艺严格净化,达到无菌、无热原、无内毒素的标准。
3. 溶解过程:
- 在无菌条件下,将适量的氯化钠精确称量后加入到预先准备好的注射用水中。
- 通过搅拌等方式确保氯化钠充分溶解,形成浓度准确的氯化钠溶液,例如常见的0.9%氯化钠溶液,即每升水中含有0.9克氯化钠,此浓度与人体血浆中的氯化钠浓度相近,故称为生理盐水。
4. 过滤除菌:
- 溶解后的溶液必须经过多层微孔滤膜或其他高效过滤器进行过滤除菌,以去除可能存在的微生物及微粒污染物。
5. 灌封与灭菌:
- 将过滤合格的氯化钠溶液在无菌环境中灌装入已经过严格清洗和灭菌的塑料瓶或玻璃瓶中。
- 灌封完毕后,采用湿热灭菌法(如高压蒸汽灭菌)对产品进行最终灭菌处理,确保产品的无菌性。
6. 检测与包装:
- 灭菌后的氯化钠注射液需要冷却后进行质量检查,包括但不限于pH值、含量测定、可见异物检查、无菌检查、热原试验等。
- 质检合格的产品经贴签、装盒等工序后,才能作为成品入库待售。
通过以上严谨的生产流程,可以保证所生产的氯化钠注射液不仅有效成分含量准确稳定,而且安全无菌,满足医疗用途需求。
写出综合法制备注射用水的工艺流程好的呀,那咱们就开始聊聊综合法制备注射用水的工艺流程吧。
注射用水可是个很重要的东西呢,在医药领域那是相当关键的。
综合法制备注射用水的流程呀,还是挺有趣的。
一、原水的预处理。
原水嘛,就像是我们做菜的原材料,它得先经过处理。
原水中可能会有很多杂质,像小颗粒啦、悬浮物啦,还有可能有些微生物。
这时候呢,就得通过一些方法把这些东西去掉一部分。
通常会有过滤这个步骤,就像是给原水先过一个小筛子,把那些大的、肉眼能看到的杂质先筛出去。
还有可能会有沉淀这个过程哦,就像是让原水在一个地方静静地待一会儿,那些重的杂质就会自己慢慢沉到下面去。
这一步就像是给原水做一个初步的清洁,让它变得稍微干净一点,这样才能进行后面的步骤呢。
二、蒸馏过程。
经过预处理的原水,接下来就要进行蒸馏啦。
蒸馏这个过程就像是魔法一样呢。
把原水加热,让水变成水蒸气,然后再把水蒸气收集起来,让它冷却又变回液态水。
这个过程中呀,很多杂质就被留在原来的地方啦,因为它们可没有水那么容易变成水蒸气。
蒸馏出来的水就比原来的原水干净多啦,但是还没有达到注射用水的标准哦。
三、离子交换过程。
蒸馏后的水虽然干净了不少,可是水里可能还会有一些离子呢。
这时候离子交换就登场啦。
离子交换树脂就像是一个个小小的卫士,它们能够把水里的一些不需要的离子抓住,然后把一些对注射用水有益的离子释放到水里。
比如说,可能会把水里的钙、镁离子等去掉,让水的纯度更高。
这个过程就像是给蒸馏后的水来一次精细的调理,让水的成分更加符合注射用水的要求。
四、反渗透过程。
反渗透也是很重要的一步呢。
这就像是给经过前面步骤的水再来一次深度的过滤。
通过反渗透膜,只有水分子能够通过,其他的杂质呀,离子呀,都被挡在膜的另一边啦。
这一步能够进一步去除水中的微小杂质和残留的离子,让水变得更加纯净。
五、超滤过程。
超滤这个步骤就像是给已经很纯净的水再做一次最后的检查和完善。
超滤膜可以把那些可能还残留的大分子物质,像一些蛋白质碎片或者非常微小的胶体粒子给过滤掉。
简述注射用水三种制备工艺流程下载温馨提示:该文档是我店铺精心编制而成,希望大家下载以后,能够帮助大家解决实际的问题。
文档下载后可定制随意修改,请根据实际需要进行相应的调整和使用,谢谢!并且,本店铺为大家提供各种各样类型的实用资料,如教育随笔、日记赏析、句子摘抄、古诗大全、经典美文、话题作文、工作总结、词语解析、文案摘录、其他资料等等,如想了解不同资料格式和写法,敬请关注!Download tips: This document is carefully compiled by theeditor. I hope that after you download them,they can help yousolve practical problems. The document can be customized andmodified after downloading,please adjust and use it according toactual needs, thank you!In addition, our shop provides you with various types ofpractical materials,such as educational essays, diaryappreciation,sentence excerpts,ancient poems,classic articles,topic composition,work summary,word parsing,copy excerpts,other materials and so on,want to know different data formats andwriting methods,please pay attention!注射用水三种制备工艺流程一、准备工作阶段在进行注射用水的制备工艺之前,需要进行一系列准备工作。
注射用水的制备工艺流程:(1)原水处理。
原水通常为经过预处理的自来水,其质量应符合国家关于生活饮用水的卫生标准。
原水中含有悬浮微粒、可溶性无机盐、有机物、微生物、热原及挥发性气体等杂质,必须经处理成为纯化水后方可作为蒸馏法制备注射用水的水源。
原水处理方法有离子交换法、电渗析法和反渗透法。
①离子交换法离子交换法处理原水是通过离子交换树脂进行的。
最常用的离子交换树脂是732苯乙烯强酸性阳离子交换树脂和717苯乙烯强碱性阴离子交换树脂。
一般采用阳离子树脂床、阴离子树脂床、混和树脂床串联的组合方式,在阳离子树脂床后加一脱气塔,除去水中二氧化碳,以减轻阴离子树脂的负担。
此法所得水化学纯度高,比电阻可达100万ω。
cm以上,设备简单,节约燃料和冷却水,成本低;离子交换一段时间后树脂老化,出水质量不合格,可用酸碱液将树脂再生后继续使用。
②电渗析法电渗析法是依据离子在电场作用下定向迁移和交换膜的选择透过性而除去离子的。
此法不需消耗离子交换树脂再生所用的酸和碱,较离子交换法经济,但制得的水纯度较低,比电阻一般为5万~10万ω。
cm;③反渗透法在u形管内设置一个半透膜,半透膜两侧分别放入盐溶液和纯水,纯水一侧的水分子通过半透膜向盐溶液一侧转移,使盐溶液液面升高,此为渗透过程(osmosis)。
两侧液柱的高度差形成的压力即为此盐溶液具有的渗透压。
若在盐溶液上施加一个大于该盐溶液渗透压的压力,则盐溶液中的水分子向纯水一侧渗透,达到盐、水分离,此为反渗透(reverse osmosis)。
反渗透法纯化原水一般选用的半透膜膜材为醋酸纤维膜和聚酰胺膜。
(2)蒸馏。
小量生产一般用塔式蒸馏水器,主要包括蒸发锅、隔沫装置和冷凝器三部分。
大量生产时,常用多效蒸馏水器或气压式蒸馏水器。
制备注射用水的蒸馏水器,应安装有效的隔沫装置,以确保不带入热原。
(3)注射用水的收集与贮存。
弃去初馏液,检查合格后采用带有无菌过滤装置的密闭收集系统收集,在80℃以上保温、65℃以上保温循环或4℃以下无菌状态下贮存,并于制备12h内使用。
纯化水及注射用水的制备流程英文回答:Purification of Water and Preparation of Water for Injection.Introduction.Water is a critical component of many pharmaceutical products and medical procedures. It is used as a solvent, a diluent, a cleaning agent, and a lubricant. The purity of water is essential to ensure the safety and efficacy of these products and procedures.Types of Water.There are three main types of water used in pharmaceutical and medical applications:Purified water is water that has been treated toremove impurities, such as bacteria, viruses, and minerals. It is used in the preparation of many pharmaceutical products and medical devices.Water for injection (WFI) is water that has beentreated to meet the highest standards of purity. It is used in the preparation of injectable products, such as vaccines and antibiotics.Sterile water is water that has been sterilized tokill all bacteria and viruses. It is used in thepreparation of products that must be free of microorganisms, such as surgical instruments and contact lenses.Purification Processes.The purification of water and the preparation of WFI involve a series of processes, including:Filtration removes particles, such as bacteria, viruses, and dust.Distillation removes impurities by boiling water and collecting the vapor.Reverse osmosis uses a semipermeable membrane to remove impurities.Deionization removes minerals by passing water through a bed of ion exchange resins.Ultrafiltration uses a membrane to remove particles, such as bacteria and viruses.Sterilization kills all bacteria and viruses.The specific processes used to purify water and prepare WFI depend on the intended use of the water.Quality Control.The purity of water and WFI is essential to ensure the safety and efficacy of pharmaceutical products and medical procedures. Therefore, it is important to have a robustquality control program in place to monitor the quality of water and WFI.Conclusion.Water is a critical component of many pharmaceutical products and medical procedures. The purity of water is essential to ensure the safety and efficacy of these products and procedures. The purification of water and the preparation of WFI involve a series of processes, including filtration, distillation, reverse osmosis, deionization, ultrafiltration, and sterilization. The specific processes used depend on the intended use of the water. A robust quality control program is essential to ensure the purity of water and WFI.中文回答:纯化水及注射用水的制备流程。
维生素C水针剂生产工艺流程图引言维生素C(Vitamin C),也被称为抗坏血酸(Ascorbic Acid),是一种重要的营养物质。
在医药领域中,维生素C 常以水针剂的形式使用,用于治疗缺乏维生素C或需要大剂量补充维生素C的病症。
本文将介绍维生素C水针剂的生产工艺流程图,以帮助理解该产品的生产过程。
生产工艺流程图graph LRA(原料准备)B(溶剂配制)C(溶液调整)D(灭菌处理)E(灌装包装)F(质量控制)G(包装入库)H{结束}A-->|维生素C原料|BB-->|配制溶剂|CC-->|调整溶液浓度和PH值|DD-->|高温高压灭菌处理|EE-->|注入灭菌玻璃瓶中|FF-->|检测产品质量|GG-->|包装产品并入库|H详细步骤1. 原料准备在维生素C水针剂的生产过程中,首先需要准备维生素C的原料。
维生素C原料包括维生素C纯品和辅料。
2. 溶剂配制接下来,需要将适量的溶剂(一般常用的是无菌注射用水)与维生素C原料进行配制。
配制溶剂的目的是为了将维生素C 溶解并制备成一定浓度的溶液。
3. 溶液调整在溶剂配制完成后,需要调整溶液的浓度和pH值。
这一步是为了确保维生素C溶液的浓度和酸碱性符合生产要求。
4. 灭菌处理调整完溶液后,接下来需要对维生素C溶液进行灭菌处理。
通常采用高温高压灭菌的方法,确保产品在灌装过程中不受到细菌污染。
5. 灌装包装灭菌处理完成后,将维生素C溶液注入灭菌玻璃瓶中。
注入过程需要保持无菌环境,以确保产品的质量。
6. 质量控制在灌装包装完成后,需要对维生素C水针剂进行质量控制。
常用的质量控制指标包括产品的外观、溶液浓度、pH值、灭菌效果等。
7. 包装入库经过质量控制的维生素C水针剂将被包装起来,并存放到指定的仓库中,等待后续分发或销售。
结论本文对维生素C水针剂的生产工艺流程进行了详细的介绍,并给出了相应的工艺流程图。
了解和掌握该产品的生产过程对于保障维生素C水针剂的质量和安全具有重要意义。
合肥工业大学2011年大学生暑期“三下乡”社会实践活动优秀调查报告(论文)申报表报告(论文)标注射用水工艺流程题申报者情况第一作者所在学院医学工程学院学历本科专业年级合作者所在学院医学工程学院学历本科专业年级指导教师工作单位医学工程学院职务(职称)辅导员摘要:注射用水:指符合中国药典注射用水项下规定的水。
注射用水为蒸馏水或去离子经蒸馏所得的水,故又称重蒸馏水。
注射用水是生产塑瓶输液的主要原料,注射用水是否合格直接影响产品的质量,是塑瓶输液生产中极其重要的环节。
因此对于注射用水生产的各个环节行业内有严格的规定。
关键字:注射用水生产工艺,注射用水的质量检测校社会实践领导小组意见学院(社团)推荐意签章:日签章:年月年月日注射用水工艺流程、摘要注射用水:指符合中国药典注射用水项下规定的水。
注射用水为蒸馏水或去离子经蒸馏所得的水,故又称重蒸馏水。
注射用水是生产塑瓶输液的主要原料,注射用水是否合格直接影响产品的质量,是塑瓶输液生产中极其重要的环节。
因此对于注射用水生产的各个环节行业内有严格的规定。
1、对贮水容器(贮罐)的基本要求:①采用316L不锈钢制作,内壁电抛光并作钝化处理;②贮水罐上安装0.2 am疏水性的通气过滤器(呼吸器),并可以加热消毒或有夹套;③能经受至少121 C高温蒸汽的消毒;④排水阀采用不锈钢隔膜阀;⑤若充以氮气,须装0.2 勺疏水性过滤器过滤。
2、对管路及分配系统的基本要求:①采用316L不锈钢管材内壁电抛光作钝化处理;②管道采用热熔式氩弧焊焊接,或者采用卫生夹头分段连接;③阀门采用不锈钢聚四乙烯隔膜阀,卫生夹头连接;④管道有一定的倾斜度,便于排除存水;⑤管道采取循环布置,回水流入贮罐,可采用并联或串联的连接方法,以串联连接方法较好。
使用点阀门处的盲管”段长度,对于加热系统不得大于6倍管径,冷却系统不得大于4倍管径。
⑥管路用清洁蒸汽消毒,消毒温度121 Co3、对注射用水输送泵的基本要求:①采用316L不锈钢(浸泡部分),电抛光钝化处理;②卫生夹头作连接件;③润滑剂采用纯化水或注射用水本身;④可完全排除积水。
4、对热交换器的基本要求:①采用316L不锈钢制;②按卫生要求设计;③电抛光和钝化处理;④可完全排除积水。
生产中应严格遵守这些规定才能保证注射用水的质量。
、注射用水工艺流程原水*过滤调节PH三级反渗透原水:原水一般为地下水,经过软化除去钙镁等离子而得。
或 是直接引用自来水。
过滤:一般经过保安过滤器来过滤掉原水中的颗粒物质以及水 中的盐。
保安过滤器:精密过滤器又称保安过滤器,一般设置在压力容 器之前,以去除浊度1度以上的细小微粒,来满足后续工序对 进水的要求;有时也设置在整个水处理系统的末端,防止细小 微粒(如破碎的树脂)进入成品水。
保安过滤器具有以下特点:.能有效除去液体中的悬浮物、铁锈等。
.可承受较高的过滤压力。
.独特的深层网孔结构使滤芯有较高的容渣负荷能力。
.滤芯可用多种材质制作,以适应各种流体过滤的需要。
.外形体积小,过滤面积大,阻力小,使用寿命长注射用水 多次蒸馏纯化水箱1、 2、功能和目的:为了防止预处理中未能完全去除或新产生的悬浮 颗粒进入反渗透系统,保护高压泵和反渗透膜,通常在反渗透 进水前设置滤芯式保安过滤器。
一般采用孔径小于 i0um 根据实际设计情况可设计为5um 或更低。
PH 调节:通过耐酸碱自动控制加药装置和耐腐蚀加药计量泵自 动调节水的PH 。
耐酸碱自动控制加药装置、耐腐蚀加药计量泵: 1)、自动控制装置特点 变频式自动加药控制装置采用引进的高科技产品 --交流变频器 构成先进的交流调速系统,对加药量实现最佳自动控制,该系 统最大优点是性能可靠、寿命长、启动特性好、能耗低。
该装置还可以作为水泵、3、油泵、风机等交流电机的转速控制系实现对输液管道内液体、汽体的压力、流量控制。
2)、自动控制装置结构自动控制装置主要由自动控制柜、记录仪、交流电机、加药泵等组成。
自动控制柜内有变频器、调节器、检测仪等,见下表。
检测仪的选择由用户的加药种类决定,例如:加氨,检测仪可选用电导率仪或PH计,加磷酸盐可选用快速磷酸根分析仪,中和池可选用PH 计,协调磷酸盐处理则需采用R表,混凝则采用流动电流测定仪, 3)、自动控制装置原理由图可知,加药泵电机在交流变频器驱动下,将药剂注入到液体中,药浓度被检测仪检测,检测仪将与浓度成比例的电信号输入到调节器与设定值比较,得到偏差信号,调节器将偏差信号按工艺要求进行比例、积分运算,其运算结果信号输送给变频器,变频器按调节器输出的调节信号改变电机工作电源的频率,使电机转速发生变化,改变注入液体中药液浓度,使药剂浓度控制在最佳范围内。
反渗透:在经过以上净化的基础上进行三级反渗透。
三级反渗 透法采用TFC 卷式复合膜,除去离子型物质、有机物、微生物、 胶体粒子、热原质等;阳、阴、混床以树脂为材料,去除透过 反渗透的微量离子。
1)反渗透:反渗透又称逆渗透,一种以压力差为推动力,从溶 液中分离出溶剂的膜分离操作。
因为它和自然渗透的方向相反, 故称反渗透。
根据各种物料的不同渗透压,就可以使大于渗透 压的反渗透法达到分离、提4、*取、纯化和浓缩的目的。
反渗透膜能截留水中的各种无机离子、胶体物质和大分子溶质,从而取得净制的水。
也可用于大分子有机物溶液的预浓缩。
2)基本原理:把相同体积的稀溶液(如淡水)和浓液(如海水或盐水)分别置于一容器的两侧,中间用半透膜阻隔,稀溶液中的溶剂将自然的穿过半透膜,向浓溶液侧流动,浓溶液侧的液面会比稀溶液的液面高出一定高度,形成一个压力差,达到渗透平衡状态,此种压力差即为渗透压渗透压的大小决定于浓液的种类,浓度和温度与半透膜的性质无关。
若在浓溶液侧施加一个大于渗透压的压力时,浓溶液中的溶剂会向稀溶液流动, 此种溶剂的流动方向与原来渗透的方向相反,这一过程称为反渗透。
5、6、2■ F在各级净化后水箱的取样点进行取样检测净化水后的PH电导二出彳- 11 I 匸4^■仃W厂Qirr-L 一r £i館L率等各项指标。
蒸馏:蒸馏一般是以蒸汽为热源,加热纯水使之成为蒸汽,经冷却便得到注射用水。
I」三、注射用水的质量检测1、设备检验标准:2、注射用水的水质分析标准3、检测的的方法①.管道、管件及其连接质量的确认:注射用水的管件应采用内外抛光316L不锈钢材质,阀门选用抛光316L不锈钢材质的洁净球阀和隔膜阀。
不锈钢管道应采用热熔式氩弧焊接,内壁要光滑,应检查焊接质量,并做X光拍片。
在实际操作中,由于管道在技术夹层中难以拍片,一般采用自动氩弧热熔式焊机。
②.管道压力试验:用纯化水试压,实验压力为工作压力的 1.5倍,各接头在实验压力下应无渗漏。
③.管道的清洗、钝化、消毒:不锈钢管道的处理(清洗、钝化、消毒)可大致分为纯化水循环预冲洗7碱液循环清洗7纯化水清洗7钝化7纯化水再次冲洗7排放7注射用水冲洗7纯蒸汽消毒7注射用水冲洗等几个步骤,实际操作制备时间较长,管道冲洗次数较多,用水量非常大,故钝化后清洗先使用纯化水,最后几次才使用注射用水清洗,纯蒸汽消毒,最后再用注射用水清洗一遍。
a、纯化水循环预冲洗:首先用纯化水设备制备足够的纯化水,用水泵加以循环,15min后打开排水阀,边循环边排放,最好能装一只流量计;当贮罐的纯化水排放完毕后,再打开各用水点阀门和管道最低点的排放阀,排放管道中残留的纯化水。
b、碱液清洗:准备氢氧化钠化学纯试剂,打开注射用水贮罐顶部的入孔,加入已从新制备的注射用水中(温度不低于700C)配制成1% (体积浓度)的碱液,用泵进行循环,时间不少于30min.然后排放贮罐中清洗水;C、冲洗:从新注入足够的纯化水,启动水泵,同时打开排水阀排放贮罐中的清洗水,当贮罐的清洗水排放完毕后,再打开各用水点阀门和管道最低点的排放阀,排放管道中残留的清洗水。
反复以上过程,直到各出口点水的电阻率与罐中水的电阻率相一致,排放时间至少30min;d、钝化:(a)用纯化水和化学纯的硝酸配制成8%的酸液,在49-500C温度下循环60min 后排放;(b )或用3%氢氟酸、20%硝酸、77%纯化水配制溶液,溶液温度在25-350C ,循环处理10-20min,然后排放;初始冲洗:用常温纯化水冲洗,时间不少于 5mi n ;最后冲洗:用注射用水再次冲洗至进、出口注射用水的电导率一 致; 纯蒸汽消毒:将纯蒸汽发生器产生的洁净纯蒸汽同时或分别通入整个注射用水的循环管道系统,包括注射用水管道和注射用水贮罐,消毒灭菌至少在121C 已上保持1小时。
⑤仪器仪表的校正:包括电阻(导)仪,数字仪,温度、水位控制/记录仪,压力表,转子流量计以及分析水质用的各种仪器。
填入表格。
4、异常情况处理程序:注射用水系统性能确认过程中,应严格按照系统标准操作程序、 维护保养程序、取样程序、检验规程和质量标准进行操作和判定。
出 现个别取样点水质量不符合标准的结果时,应按下列程序进行处理:① 重新取样由于取样、化验等因素,有时会出现个别点水质不合格的现象, 这时必须考虑重新取样化验。
a.在不合格的使用点再取样一次;b.重新化验不合格的指标;C.重测这个指标必须合格。
如不合格,需检查原因,可发不合格报告书,并通知有关部门处理,经处理合格后,此系统方可投入运 行。
② 必要时,在不合格的前后分段取样,进行对照检测,确定不合e 、 g 、 ④、水罐上安装的各种通气过滤器必须做完整性试验。
格原因。
③若属于系统运行方面的原因,必要时报验证委员会、调整系统运行参数或对系统进行处理。
5.注射用水系统验证的周期(1)注射用水系统新建或改建后必须作验证。
(2)注射用水正常运行后一般循环水泵不得停止工作,若较长时间停用,在正式生产三个星期前开启注射用水系统并做三个周期监控。
(3)注射用水管道一般每周用纯蒸汽消毒一次。
消毒方法为用纯蒸汽发生器产生的活洁净蒸汽经输水管道通入注射用水系统中,一直到注射用水储罐,用储水罐下排水口作排汽,保持系统灭菌压力为0.09~0.1M Pa温度:121 C, 消毒 1 小时。
四、活动感悟时光荏苒,如白驹过隙般匆匆而去,我们的三下乡活动在不知不觉中已然结束,回想起这八天以来的生活我感想颇多。
依稀记得那天我们兴奋地踏上火车来到这个我们将生活学习一周的地方药业淮丰原海制药公司。
我们像小孩子一般面对这些新奇的事物,从毫无所知到深入了解,可以说我们完成了一次蜕变。
通过比较系统的学习,我们了解了这个企业的基本概况、制药企业严谨认真的生产态度,正如厂房里的一条宣传标语:“一条输液,一条命”。
我们的行业处于一个比较特殊的地位,产品的质量直接关系着消费者的生命安全以及国家的稳定, 所以我们制药行业的生产态度必须是严谨认真的,不容有任何差错, 这也是我们必须具备的职业品格。