包装物及其它废料处理工作流程图
- 格式:doc
- 大小:231.00 KB
- 文档页数:21
产品物料废料处理流程本文档旨在介绍产品物料废料的处理流程,确保废料的合理处理和资源的最大化利用。
1. 废料分类根据废料的性质和特点,我们将废料分为以下几类:- 可回收废料:包括纸张、塑料、玻璃等可回收材料。
- 有害废料:包括电池、荧光灯管等对环境有害的废弃物。
- 厨余废料:包括食材残渣、厨房垃圾等可堆肥处理的废料。
- 其他废料:包括无法归类于以上几类的废弃物。
2. 废料收集- 可回收废料:在指定区域设置回收桶,定期由专人进行收集,并进行分类和标记。
- 有害废料:设立专门的有害废料回收点,提供专用,确保有害废料的安全收集。
- 厨余废料:在厨房区域设置专门的垃圾桶,并定期清理和更换。
- 其他废料:根据实际情况,设立合适的收集点,并定期进行清理。
3. 废料处理- 可回收废料:收集的可回收废料送往专门的回收处理厂,经过分类和处理后进行再利用。
- 有害废料:有害废料需要得到专门的处理,确保安全和环保。
我们与认可的废物处理公司合作,将有害废料交付给他们进行专业的处理和处置。
- 厨余废料:厨余废料经过合理的装运和处理,进行堆肥处理或者通过生物酶进行分解,最大限度地利用资源。
- 其他废料:根据废料的特性和数量,选择合适的处理方法,并确保符合相关法律法规要求。
4. 监督和管理- 废料处理过程需严格遵守相关法律法规要求,确保废料的合规处理。
- 设立废料管理负责人,负责废料的收集、处理和监督。
- 定期进行废料处理情况的检查和评估,确保处理流程的有效性和可持续性。
以上是产品物料废料处理流程的基本概述,我们将不断优化和改进废料处理流程,以实现资源的最大化利用和环境的保护。
感谢您的阅读!。
废旧物资管理办法含处理流程图及处理单模板(总4页)
--本页仅作为文档封面,使用时请直接删除即可--
--内页可以根据需求调整合适字体及大小--
废旧物资管理办法及处理流程
第一章总则
第一条为进一步加强公司废旧物资管理,规范废旧物资处理,制定本办法。
第二条本办法适用于公司所属各职能部门及车间
第三条本办法中的废旧物资包括:
1.报废的设备等固定资产;
2.报废的库存材料、低值易耗品等库存物资;
3.生产、维修、大修理、更新改造、小型基建过程中拆除更换的材料等;
4.生产(施工)过程中产生的边角废料、包装物等。
5.其他废旧物资。
第四条事业部购销部负责公司废旧物资处理工作。
第二章废旧物资管理
第五条各(职能部门)对废旧物资要及时上报,集中分类堆放,并做台帐进行登记,处置后做销帐处理;对废旧物资做简单的防护,以防止日晒雨淋等外界因素造成的损失。
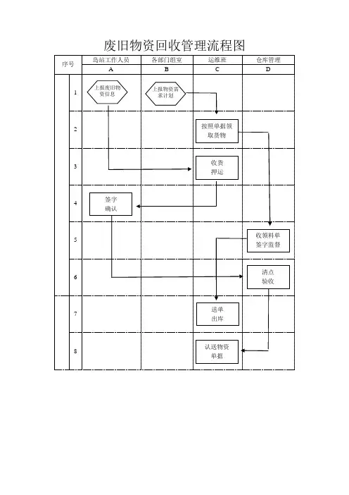
第三章处理程序及工作流程
第六条废旧物资应区分具体情况进行处理:
1、各职能部门对需要处理的报废的库存材料、低值易耗品及生产、维修、大修理、更新改造、小型基建过程中拆除更换的材料、生产(施工)过程中产生的边角废料、包装物、其他废旧物资的处置
以书面形式(废旧物资处理单)上报设备能源部及生产技术部,确认确实无利用价值需要处理的,签字报转总经理审批,经总经理审批后转到购销部,由购销部安排废旧物资处理和招(议)标工作;
2、需要处理的废旧物资由事业部购销部、设备能源部、生产技术部、后勤服务中心现场监督清点签字认可后方可装车,由购销部开具车辆出入申请,由后勤服务中心开具出入证后方可进行废旧物资的拉运。
附1、业务处理流程图:
附1、废旧物资处理单:
废旧物资处理单。
废弃物分类、清运、处理流程图
可回收 一般废弃物
生产中所产生的可回收
废弃物由生产部门自行
收集
集中至厂区 内垃圾池
技术部定期联络外部回收商收集
外部回收商
集中处理
生活/办公中所产生的可回收废弃物由清洁工
收集
集中至厂区 内垃圾池
本公司废弃物
危险 废弃物
业务部定期联络外部回收商收集 外部回收商集中处理
一般
废弃物
不可回收 一般废弃
各部门自行
至于 指定垃圾
清洁工 全厂收集
集中至厂区
当地环保局
可回收 危险废弃物
不可回收 危险废弃物
各部门 自行收集
置厂区内指定放置处
各部门 自行收集 置于 指定垃圾桶
清洁工全厂 收集分类 灯管由电工直接置于厂区内危险废房
置于厂内 指定放置处。
包装车间工作流程图一、背景介绍包装车间是一个关键的生产环节,它负责对产品进行包装和标识,确保产品的安全和质量。
本文将详细介绍包装车间的工作流程图,包括各个环节的具体步骤和所需的资源。
二、工作流程图1. 接收产品- 产品从生产车间送至包装车间。
- 包装车间工作人员按照订单要求对产品进行验收,确保产品数量和质量无误。
2. 准备包装材料- 根据产品特性和订单要求,包装车间工作人员准备所需的包装材料,如纸箱、泡沫、胶带等。
- 确保包装材料的质量和数量满足生产需求。
3. 包装操作- 将产品放置在合适的包装材料中,确保产品的稳固性和安全性。
- 使用适当的包装工具,如封箱机、打包机等,对包装材料进行封装和固定。
4. 标识产品- 在包装好的产品上粘贴或打印相关标签,包括产品名称、规格、生产日期、质量标志等。
- 确保标识清晰可见,方便识别和追溯。
5. 质量检查- 对包装好的产品进行质量检查,确保产品的外观和包装完好无损。
- 如发现问题,及时进行修复或更换包装材料。
6. 包装成品存储- 将包装好的产品按照订单要求进行分类和存储。
- 确保存储环境干燥、整洁,防止产品受潮、受污染。
7. 包装废料处理- 将包装过程中产生的废料进行分类和处理。
- 有机废料进行垃圾分类处理,可回收废料进行回收利用。
8. 工作记录- 包装车间工作人员需要及时记录包装过程中的关键信息,如包装数量、质检情况、异常情况等。
- 这些记录有助于追溯和分析生产过程中的问题,提高工作效率和产品质量。
三、资源需求1. 人力资源:包装车间需要足够数量的包装工人,他们应具备包装操作和质检技能。
2. 设备资源:包装车间需要适当的包装设备,如封箱机、打包机等。
3. 包装材料:根据产品特性和订单要求,需要准备合适的包装材料,如纸箱、泡沫、胶带等。
4. 存储空间:包装车间需要足够的存储空间,以便存放包装好的成品。
四、总结包装车间的工作流程图涵盖了接收产品、准备包装材料、包装操作、标识产品、质量检查、包装成品存储、包装废料处理和工作记录等环节。