(完整版)固定资产管理流程图
- 格式:docx
- 大小:346.06 KB
- 文档页数:7
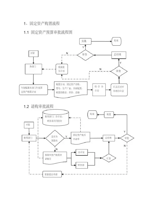
1、固定资产购置流程
固定资产预算审批流程图各部门
重
年初编制本部购置计划:固定资
综合汇总后
请购审批流程
使用部门、办
是否固定资产
预算外资产
、购置流程
购置相关信
大于
、验收流程
办理退
购入
、登记流程
固定验收后一
固定
办公室、财
2、固定资产使用流程
、盘点清查流程
帐外资
闲置制对责任
由企管
资产发现的
提
、维修流程
固定资产
统一
相应凭
办理固定资组织进行升
、内部调拨及借用流程
部门
固定资产
部门
固定资产对固定资产台
借用人交出
借出方资产管理、固定资产租赁流程
2.4.1 、外部租赁流程
无特殊情
办理
办公
10 万
实物
按照租
3、固定资产闲置处理流程
、封存及闲置设备处理流程
停
准
书
连续停止使
准
使恢
申请有
连续停止使
同意
、固定资产报废流程
在固定资组织相相关专用设
报废所在公
办公设财务部根据
进
报废单由
固定资产管理流程图目录
、固定资产预算审批流程
、请购审批流
固定资
、购置流程
、验收流程
、登记流程
、盘点清查流
、升级与维修流
固定资
、内部调拨及借用流 2.4.1 、外部租
、固定资产租赁流程 2.4.2 、融资租
2.4.3 、抵押
资产租赁处
、封存及闲置设备处理
固定资产
、固定资产报废流。
1、固定资产购置流程1.1固定资产预算审批流程图1.2请购审批流程综合办公室各部门年初编制本部门年度固定资产购置计划购置计划:固定资产名称、型号、生产厂家、具体配置、购置的数量、单价、金额汇总后召开经理办公会审查总经理审查实施重新提交计划YNYN结束开始使用部门是否为预算内办公室财务部预算外资产购置申请报告使用部门、办公室、财务部共同留存汇签审批总经理购置固定资产购买申请单重新提出申请YNYN开始结束1.3、购置流程1.4、验收流程1.5、登记流程采购人员30万元商务部公开招标招标文件备案购置相关信息在公司内部公开购置大于等于小于开始结束使用部门办公室验收后一周内持联合验收单办理固定资产卡片登记手续固定资产卡片登记固定资产台账贴标签办公室、财务部、使用单位留存财务部计提折旧开始结束采购人员办公室使用部门验收办理报销手续购入的固定资产办公室办理退换、索赔、拒付YN开始结束2.1、盘点清查流程2.2、维修流程2.3、内部调拨及借用流程办公室财务部资产使用部门由企管部牵头进行盘点清查闲置资产查明情况制定处理计划发现的盈亏和资产损毁查明原因提出处理意见总经理审批对责任人追究赔偿责任结束开始帐外资产做盘赢处理入账财务部使用部门固定资产在使用过程中需增加器件或维修办公室提出申请统一编制费用预算相关领导审批财务部组织进行升级或修理并制定具体承办部门和责任人相应凭证、账薄的处理工作办理固定资产卡片和固定资产实物账的变更Y开始结束N需求部门固定资产内部调剂通知单固定资产内部借用通知单办公室财务部主管领导交出方部门经理签字审批对固定资产台账和固定资产管理卡片进行调整iaozheng对账务进行调整重新提出申请YYN借用人和本部门经理签字审批重新提出申请办公室备案借出方资产管理员对借出的固定资产进行登记,并负责借出资产的收回。
YN开始结束部门间调剂使用固定资产部门间临时借用固定资产2.4.1、外部租赁流程3、固定资产闲置处理流程3.1、封存及闲置设备处理流程借出部门10万元贵重设备无特殊情况不办理出租手续办公室分管领导办公室实物数量台账重新申请办理正式租赁协议执行审批借入部门提出借入申请提出借出申请按照租赁协议进行清点重新申请YN开始结束开始书面通知结束连续停止使用三个月以上的固定资产停止提折旧财务部办公室使用部门连续停止使用两年以上的固定资产审核准备封存准备启用恢复提折旧同意调剂或处理申请有偿调拨或出售重新申请重新申请YNN结束办公室报废申请人进行鉴定组织相相关技术人员进行技术鉴定所在部门经理签字报废单专用设备、仪器仪表类办公设备、家具、房屋、运输工具及其它公司领导报废单由办公室、财务部留存在固定资产管理台账和卡片上盖作废章审批财务部财务部根据《报废单》对报废资产进行账务处理开始会签重新申请YYYNN固定资产管理流程图目录固定资产购置流程1.1、固定资产预算审批流程图1.2、请购审批流程1.3、购置流程1.4、验收流程1.5、登记流程固定资产使用流程2.1、盘点清查流程2.2、升级与维修流程2.3、内部调拨及借用流程2.4、固定资产租赁流程2.4.1、外部租赁流程2.4.2、融资租赁流程2.4.3、抵押资产租赁处理流程固定资产闲置处理流程3.1、封存及闲置设备处理流程3.2、固定资产报废流程。
固定资产管理流程图
固定资产管理是企业管理中不可或缺的一环。
该流程图展示了固定资产管理的主要流程,包括购置、日常管理维护、调拨和处置四个环节。
在购置环节,行政部门需要制作固定资产标签卡,并建立台账,财务部门则需要核算折旧。
在日常管理维护环节,行政部门需要对固定资产进行保管登记,使用部门则需要做好固定资产使用维护记录。
在调拨环节,使用部门需要填写固定资产报废申请单或调拨申请单,领导审核后行政部门进行审核和监督。
在处置环节,行政部门需要进行鉴定,填写固定资产报废单,并进行资产处置,如丢弃、变卖废品或转让。
整个流程中,财务部门需要对资金进行审核,主管领导需要进行审批。
行政部门则需要负责采购、调整固定资产记录、办理折旧、损坏、赔偿事宜以及进行账务处理。
最后,使用部门需要进行验收,行政部门则需要进行入账并将处理结果登记。
固定资产管理流程编制日期审核日期批准日期修订记录3、工作程序3.1固定资产的购置3.1.1总部各中心根据工作需要,提出固定资产购置申请;3.1.2行政人力中心进行购置申请初步审核,如目前有可供调配的同类资产,则与相关部门协商调配,不再购置;3.1.3购置申请经财务管理中心审核,项目执行总经理审核后,按如下权限进行审批:1)单笔小于等于5万的固定资产的购置由财务分管副总裁审批;2)单笔大于5万小于等于10万的固定资产的购置申请由财务分管副总裁审核,总裁审批;3)单笔大于10万的固定资产的购置申请由财务分管副总裁、总裁审核,报董事会审批。
3.1.4购置申请经审批后,行政人力中心与财务管理中心协商固定资产分摊方式,并同项目公司执行总经理协商、沟通后,由财务管理中心通知项目公司计划财务部进行分摊;3.1.5根据资产购置权限范围规定,固定资产购置由行政人力中心或资产使用部门购置。
3.2固定资产验收3.2.1资产购置后,由行政人力中心、资产使用部门共同进行资产验收后,使用部门办理领用手续;3.2.2行政人力中心将发票登记后交项目公司计划财务部,由计划财务部办理固定资产入账手续,并将资产编号告知行政人力中心;3.2.3固定资产的编号:验收入库的固定资产务必由公司资产管理员统一进行编号管理。
资产编号由:A-公司-类别-序号四部分组成公司:HH(翰宏)、BX(冰雪)、RH(瑞华)、JX(建兴)、ZD(钟鼎)类别:FW(房屋建筑)、JT(交通运输)、DZ(电子类办公设备)、JJ(办公家具)固定资产与编号一一对应,每一个固定资产只有唯一的编号。
3.2.4行政人力中心建立固定资产台帐及固定资产标签,标签中需同时标明总部资产标号和其在项目公司计划财务部的财务资产编号,以便资产清查核对。
3.3固定资产发放3.3.1固定资产发放时,行政人力中心要对固定资产进行相应登记;归还时须保持固定资产完好,否则因保管不善和其他人为因素造成固定资产遗失、失窃或损坏的,责任人应按规定赔偿。
固定资产管理的流程图
固定资产管理的流程图可以按以下步骤进行:
1. 资产购置:确定需要购置的固定资产,并进行采购流程,包括编制采购计划、招标或询价、选择供应商、签订合同等。
2. 资产登记:将购置的固定资产进行登记,包括编制资产
登记表,记录资产的名称、型号、数量、购置日期、购置
价格等信息,并在库房或办公室进行存放。
3. 资产验收:对购置的固定资产进行验收,检查资产的完
整性和功能是否符合预期,并填写验收报告。
4. 资产入账:根据资产登记和验收报告,将固定资产的价
值记录到财务会计系统中,形成固定资产账户,对资产进
行分类、编码、计量等。
5. 资产使用与维护:安排固定资产的使用和维护,包括为资产分配使用人员、建立资产使用规范、进行定期维护、检修和保养等。
6. 资产变动:对固定资产的变动情况进行管理,包括资产的转移、报废、报损、封存等,需要及时更新资产登记和会计系统中的信息。
7. 资产盘点:定期对固定资产进行盘点,核对实际存量与系统记录的数量是否一致,并更新资产账户中的信息。
8. 报废处理:对已报废的固定资产进行处理,包括编制报废申请、审批报废、销毁或处置资产等,并更新资产账户中的信息。
9. 报告与分析:根据固定资产的情况,编制相关报告和分析,例如资产增长报告、折旧摊销报告、维修保养报告等,用于决策和管理。
以上是一个基本的固定资产管理的流程图,具体的流程可
以根据不同的组织和需求进行适当调整和补充。
固定资产管理流程图固定资产购置流程包括预算审批、请购审批、购置流程、验收流程和登记流程。
在预算审批流程中,各部门和子公司编制本部门年度固定资产购置预算,并提交审查。
审查后,总经理审批并汇总后召开XXX经理办公会。
在请购审批流程中,使用单位、XXX和财务部共同留存购置申请单,并进行总经理审批。
如果是预算内的固定资产购买,直接购置;如果是预算外的资产购置申请报告,需要重新提出申请。
在购置流程中,小于30万元的采购可以直接由采购人员进行,大于等于30万元的需要公开招标。
在验收流程中,采购人员办理退换、索赔、拒付等手续,并由XXX和财务部进行验收。
在登记流程中,使用单位在验收后一周内持联合验收单办理固定资产卡片登记手续,并财务部计提折旧登记,企管部和财务部贴标签并留存。
固定资产使用流程包括盘点清查流程、升级与维修流程和内部调拨及借用流程。
在盘点清查流程中,由企管部牵头进行盘点清查,发现的盈亏和资产损毁需要查明原因并提出处理意见,总经理审批并制定处理计划。
对责任人追究赔偿责任,帐外资产做盘赢处理,财务部入账开始。
在升级与维修流程中,固定资产在使用过程中需增加器件或维修,提出申请并进行审批,企管部统一编制费用预算,财务部办理固定资产卡片和固定资产实物账的变更,并组织进行升级或修理并制定具体承办部门和责任人的处理工作。
在内部调拨及借用流程中,需求部门重新提出申请,部门间调剂使用固定资产,财务部对账务进行调整,签字主管领导审批并对固定资产台账和固定资产管理卡片进行调整。
对于固定资产的临时借用,借出方资产管理员需要对借出的固定资产进行登记,并负责借出资产的收回。
固定资产租赁流程不在本文中提及。
2.4.1 外部租赁流程借出部门开始向总经理提出借出申请,如果申请通过,则企管部办理出租手续并签署正式租赁协议。
借入部门按照协议进行清点实物数量,并将其记录在量台账中。
如果出现特殊情况,则需要重新申请。
2.4.2 融资租赁流程开始时,借入部门向总经理提出租赁申请。
1、固定资产购置流程
固定资产预算审批流程图
、购置流程
2、固定资产使用流程、盘点清查流程
资产打企管丿
I帐外资丿
I闲置丿
发现的
—-弋r、对责仟,
、内部调拨及借用流程
3、固定资产闲置处理流程
、封存及闲置设备处理流程
固定资产管理流程图目录
、固定资产预算审批流程
、请购审批流 、购置流程 、验收流程 、登记流程 、盘点清查流 、升级与维修流 242、 融资租 243、 抵押 资产租赁处 、固定资产报丿发流 固定资 内部调拨及借用流
241、外部租 固定资产 、封存及闲置设备处理 固定资
、固定资产租赁流程。