产万支无菌分装粉针剂生产车间工艺设计
- 格式:docx
- 大小:68.27 KB
- 文档页数:31
注射用粉针剂生产车间的初步设计说明1.车间总体布局:注射用粉针剂的生产车间应根据工艺流程合理布局,包括原料存放区、原料验收区、粉针剂制备区、包装区等。
各个功能区域之间应合理划分,并设立适当的通道以保证生产过程的连贯性。
2.设备选择和摆放:根据生产工艺流程和产能需求,选择合适的设备进行粉针剂的制备。
常见的设备有粉末混合机、干燥机、包装机等。
设备的摆放应考虑操作流程的便捷性和生产安全性,确保设备之间有足够的间距,并设立合理的工作区域。
3.温湿度控制:注射用粉针剂的生产对温湿度要求较高,特别是在干燥和包装等环节。
车间应设立温湿度控制系统,确保生产环境稳定,以避免影响产品品质。
4.洁净室建设:注射用粉针剂的生产需要在洁净室环境下进行,以防止空气中的微生物和尘埃污染药品。
根据生产工艺的要求,车间应设立洁净室,并采用适当的过滤系统和洁净灭菌设备,确保洁净水平满足要求。
5.原料管理:注射用粉针剂的原料需要仔细管理,包括接收、验收、存储等。
车间应设立原料验收区,做好原料来料检验,确保原料的质量符合要求,并设立适当的存储区域,注意原料的分类和标识,以防止交叉污染。
6.人员培训和操作规范:车间应设立培训计划,对操作人员进行相关技术和操作规范方面的培训,确保人员具备相应的知识和技能,提高工作效率和产品质量。
7.设备维护和保养:车间应落实设备维护和保养计划,定期对设备进行检查和维护,及时处置存在的问题,确保设备的正常运行和生产的连续性。
8.除尘和废物处理:注射用粉针剂的生产会产生一定量的粉尘和废物,车间应设立适当的除尘设备和废物处理系统,确保车间环境整洁和废物的安全处理。
总之,注射用粉针剂的生产车间初步设计需要考虑布局、设备选择和摆放、温湿度控制、洁净室建设、原料管理、人员培训、设备维护和保养,以及除尘和废物处理等方面。
通过合理的设计和规范化的操作,可以提高生产效率,保证产品质量,确保生产过程的安全和卫生。
一、引言无菌分装的粉针剂是一种常见的药物剂型,具有方便、安全等优点,广泛应用于医疗领域。
为了确保产品的质量和安全性,需要设计一个合理的生产车间工艺。
本文将详细介绍年产2000万支无菌分装的粉针剂生产车间工艺设计。
二、工艺流程设计1.原料筛选:选择高质量的原料,确保产品的质量。
应根据药物性质和制剂要求进行原料筛选。
2.制剂液体制备:根据药物的特性,选择适当的制剂液体制备方法。
常见的制剂液体制备方法有搅拌法、溶解法、混合法等。
3.粉剂制备:根据药物的特性和制剂要求,选择适当的粉剂制备方法。
常见的粉剂制备方法有搅拌法、研磨法、混合法等。
4.灭菌处理:无菌分装的粉针剂需要进行灭菌处理,以确保产品的无菌性。
常用的灭菌方法有高温高压灭菌法、过滤灭菌法等。
5.包装:对已经灭菌的产品进行包装,以保护产品不受外界环境的污染。
常用的包装方式有瓶装、袋装、管装等。
6.检验:对生产的产品进行质量检验,包括外观检查、物理性质测试、化学成分分析、微生物检验等。
7.产品储存:存放已经通过检验的产品,确保产品的质量和安全性。
三、工艺参数设计1.生产能力:根据年产量为2000万支无菌分装的粉针剂,确定每天的生产量和生产时间安排。
合理安排生产能力,确保按时完成生产任务。
2.温度控制:根据药物的要求,确定生产车间的温度范围。
应确保温度稳定,不受外界环境影响。
3.湿度控制:根据无菌要求,确定生产车间的湿度范围。
应确保湿度适宜,不影响产品的质量和无菌性。
4.空气洁净度:根据无菌要求,确定生产车间的空气洁净度等级。
应确保空气中的微生物和颗粒物的浓度符合要求。
5.灭菌参数:根据灭菌方法的要求,确定灭菌的温度、压力和时间。
应确保灭菌处理能够完全灭菌,确保产品的无菌性。
四、设备选择和布局设计1.根据工艺流程和工艺参数,选择合适的设备,包括制剂液体制备设备、粉剂制备设备、灭菌设备、包装设备等。
2.设计合理的设备布局,确保设备之间的流程顺畅,减少操作员的移动和产品的污染。
注射剂生产车间工程设计最终灭菌小容量注射剂车间GMP设计(1)最终灭菌小容量注射剂生产过程包括原辅料的准备、配制、灌封、灭菌、质检、包装等步骤,按工艺设备的不同型式可分为单机生产工艺和联动机组生产工艺两种,其流程及环境区域划分(见图A B)。
关于水针各单机设备和联动机组设备的具体内容详见前。
(2)按照GMP的规定最终灭菌小容量注射剂生产环境分为三个区域:一般生产区、10万级洁净区、1万级洁净区。
一般生产区包括安瓿外清处理、半成品的灭菌检漏、异物检查、印包等;10万级洁净区包括物料称量、浓配、质检、安瓿的洗烘、工作服的洗涤等;1万级洁净区包括稀配、灌封,且灌封机自带局部100级层流。
洁净级别高的区域相对于洁净级别低的区域要保持5~10Pa的正压差。
如工艺无特殊要求,一般洁净区温度为18~26℃,相对湿度为45%~65%.各工序需安装紫外线灯。
(3)车间设计要贯彻人、物流分开的原则.人员在进入各个级别的生产车间时,要先更衣,不同级别的生产区需有相应级别的更衣净化措施。
生产区要严格按照生产工艺流程布置,各个级别相同的生产区相对集中,洁净级别不同的房间相互联系中设立传递窗或缓冲间,使物料传递路线尽量短捷、顺畅。
物流路线的一条线是原辅料,物料经过外清处理,进行浓配、稀配;另一条线是安瓿瓶,安瓿经过外清处理后,进入洗灌封联动线清洗、烘干.两条线汇聚于灌封工序。
灌封后的安瓿再经过灭菌、检漏、擦瓶、异物检查,最后外包成整个生产过程.具体进出水针车间的人流、物流路线(见图)所示。
(4)辅助用房的合理设置是制剂车间GMP没计的一个重要环节。
厂房内设置与生产规模相适应的原、辅材料,半成品、成品存放区域,且尽可能靠近与其联系的生产区域,减少运输过程中的混杂与污染.存放区域内应安排待验区、合格品区和不合格品区;贮料称量室,并且要有利于包括空调风管在内的公用管线的布置。
(5)水针生产车间内地面一般做耐清洗的环氧自流坪地面,隔墙采用轻质彩钢板,墙与墙、墙与地面、墙与吊顶之间接缝处采用圆弧角处理,不得留有死角.(6)水针生产车间需要排热、排湿房间有浓配间、稀配间、工具清洗间、灭菌间、洗瓶间、洁具室等,灭菌检漏需考虑通风.公用工程包括给排水、供气、供热、强弱电、制冷通风、采暖等专业设汁应符合GMP原则.车间设计举例图车间设计举例图是水针生产联动机组工艺车间布置图采用浓配加稀配的配料方式,具体布置(见图)。
注射剂车间的设计严格按GMP规定设计一. 注射剂车间的设计要求(一)位置选择(二)房间布局制备注射剂至少要备有下列各室,即射用水制备室、洗涤配滤室、灌封室、灭菌室、质检室和包装室等。
房间的布局要考虑生产艺的衔接,必须避免重复往返并防止原材料、半成品交叉污染与混杂,人物要分流。
人的走应有更衣室和卫生设施,保证进入室内人员的清洁卫生;物的走向可设计机械传送线,也可人工传送,但室间应设计有传递橱,并应该有足够的缓冲间。
注射剂生产车间按生产工艺及产品质量要求可分一般生产区、控制区、洁净区。
一般生产区指无空气洁净度要求的生产或辅助房间。
控制区指对空气洁净度或菌落数有一定要求的生产或辅助房间,一般定为>10万级或10万级。
洁净区指有较高洁净度或菌落数要求的生产房间,一般定为l万级或100级。
控制要求温度18℃~28℃,相对湿度50%~60%。
洁净区要求温度18℃一24℃,,相对湿度45%~65%。
(三)内部结构二、无菌操作室的空调系统无菌操作室的空调系统可对进入室内的空气给予过滤、去湿、加热等处理,使之成为无尘、无菌、清洁新鲜的空气,且使室内保持适宜的温度和湿度。
为提高洁净度可采用层流洁净空气技术。
三、空气的净化空气中大量生物和非生物微粒,设法去除这些微粒使空气符合规定的过程称为空气净化…空气净化是保证生产环境洁净和无菌的主要手段洁净室的标准。
(一)洁净室的标准净化空气中所残留的粒大小及数量是洁净度划分的依据。
各项要求见表4-4。
(二)层流洁净空气技术层流是指空气流线平行,具有一定的均匀的断面速度,气流水平的称水平层流,气流垂直向下的称垂直层流。
1.层流净化的优点微粒流体连续稳定地向个方向运动,一切粒子保持在层流运动中子粒子不易相碰而聚结,沉降。
2.水平层流净室的构造与工作原理3.垂直层流洁净室4. 层流洁净工作台层流净化室和净化台我国均有定型产品’,其净化效果均可达到lOO级洁净度的要求。
5. 层流净化技术在注射剂生产中的应用近年来在注射剂生产中,层流净化技术已广泛应用,按照国家卫生部GMP规定,100级洁净标准适用于生产无菌而又不能在最后容器中进行灭菌的药品的配液(指灌封前不需无菌滤过)及灌封;能在最后容器中灭菌的大体积(≥ 50m1)注射用药品的滤过、灌封;粉针剂的分装、压塞;无菌制剂、粉针剂原料药的精制烘干、分装。
冻干粉针剂是一种常见的制剂形式,其干燥过程通过减少温度和压力来移除溶剂,保持药物活性。
在一个年产4000万支冻干粉针剂的车间工艺设计中,需要考虑以下几个方面。
首先,需要考虑原料药的处理。
车间应该设有药材的接收和存储区域,对原料药进行验收和质量检查,并依据不同药品的特性进行正确的存储和处理。
在处理过程中,应严格控制温度、湿度和其他有害因素的影响,以保证原料药的品质。
其次,需要设计一个合理的生产线流程。
该生产线应包括冻干设备、装瓶机、贴标机和密封机等设备,以实现产品的连续生产和包装。
在生产线布局中,需要考虑设备之间的合理布置以最大程度地提高产能和效率。
第三,需要根据产品要求设计合适的冻干工艺。
冻干工艺一般包括前处理、冷冻、真空干燥和包装等步骤。
在前处理阶段,需要根据药品特性选择适当的稀释剂和辅料,以获得最佳的冻干效果。
在冷冻阶段,需要使产品迅速冷冻成冰晶形态,并通过控制冷冻温度和时间来控制冰晶的大小和分布。
在真空干燥阶段,需要逐渐升高温度,使冷冻的溶剂从固态直接转化为气体状态,达到干燥的目的。
最后,在包装阶段,应根据产品的特性选择适当的包装材料和包装方式。
冻干粉针剂通常会采用小容量玻璃瓶进行包装,并通过贴标和密封来确保产品的完整性和安全性。
此外,还需要考虑车间内部的洁净度和环境控制。
洁净室的设计应符合相关的GMP规范,确保生产环境的洁净度和无菌性。
同时,应配备适当的空气过滤和恒温恒湿设备,以保证生产过程的稳定性和可靠性。
总结起来,年产4000万支冻干粉针剂的车间工艺设计,需要考虑原料药的处理、生产线流程设计、冻干工艺设计、包装阶段和洁净度等方面。
通过合理规划和设计,可以提高生产效率并保证产品质量的稳定。
无菌分装粉针剂生产车间工艺设计是根据生产要求和产品特性来确定车间内各种设备和工艺流程的布置和设计。
以下是一个关于年产1500万支无菌分装粉针剂生产车间工艺设计的1200字以上的简要描述。
一、车间布局设计:1.车间建筑面积:根据生产能力和设备的大小,预计需要约2000平方米的车间面积。
2.车间区域划分:车间可以划分为原料区、生产区、包装区和质检区等。
3.原料区:存放原料、辅助材料和包装材料等。
4.生产区:设置生产设备,包括粉针剂的制备设备、混合设备、灭菌设备和分装设备等。
5.包装区:进行产品的包装和装箱。
6.质检区:对产品进行质量检测和抽样分析。
二、工艺流程设计:1.原料准备:原料从原料区取出,根据配方进行称量和混合。
2.粉针剂的制备:将原料溶解、稀释或混合,并进行灭菌处理。
3.包装容器的准备:将包装容器从包装区取出,进行清洁和消毒处理。
4.灌装和分装:将制备好的粉针剂通过自动灌装机进行灌装到包装容器中,然后使用自动分装机将产品分装到小容量的注射器中。
6.包装和装箱:对分装好的产品进行包装和装箱。
7.清洁和消毒:对车间设备和环境进行定期的清洁和消毒。
三、设备选择和布置设计:1.粉针剂的制备设备:包括溶剂溶解设备、稀释设备和混合设备等。
2.灭菌设备:可以选择高温高压灭菌设备或气体灭菌设备。
3.灌装和分装设备:自动化程度高且工作稳定可靠的灌装机和分装机。
4.清洁和消毒设备:包括洗瓶机、消毒柜和空气净化设备等。
5.质检设备:包括物理性质测试仪器、微生物检测设备和质量控制仪器等。
6.车间布置:根据工艺流程和设备的需要,合理安排设备的摆放位置,确保流程顺畅和操作的便利性。
四、环境控制设计:1.温度和湿度控制:车间需要保持一定的温度和湿度,以满足产品的生产要求。
2.空气洁净度控制:车间应当配置合适的过滤器和空气净化设备,以确保车间内空气洁净度达到要求。
3.照明设计:车间内的照明要充分考虑工作人员的舒适度和工作安全性,应选择合适的照明设备和布置方案。
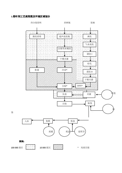
1.粉针剂工艺流程图及环境区域划分待分装原料 西林瓶 胶塞签图例:100 000级区 10 000级区 * 局部百级2.主要操作间的位置和要求3.准备工作:1 胶塞的洗涤硅化灭菌与干燥1胶塞洗涤前准备工作1)根据指令领取胶塞并检查其是否有检验合格证,同时检查胶塞是否有破损,厚薄不均等现象,应拣出堆放在指定位置。
2)工作区及胶塞清洗机已清洁,不存在任何与现场操作无关的包装材料,残留物与记录,同时审查核对批生产记录及物料标签。
3)确认洗胶塞用注射用水的各项指标均合格,同时注射用水检查其可见异物应合格后方可用于胶塞洗涤。
4) 胶塞完全吸入设备腔体后,检查胶塞机进料斗门和出料门是否关好。
5)打开注射用水、真空泵、蒸汽阀门、压缩空气阀门,检查各压力及真空度是否满足工艺要求要求注射用水压力≥,压缩空气压力≥。
2操作过程1)打开进料真空吸料阀,由真空控制器控制,将胶塞吸入清洗腔内,然后关闭进料口盖。
2)选择好清洗程序后,采用自动程序控制操作。
3程序1)粗洗:首先经过滤的注射用水进行喷淋粗洗3~5分钟,喷淋水直接由箱体底部排水阀排出。
然后进行混合漂洗15~20分钟即可,混洗后的水经排污阀排出。
2)漂洗1:粗洗后的胶塞经注射用水进行10~15分钟漂洗。
3)中间控制:漂洗1结束后从取样口取洗涤水检查可见异物应合格,如果不合格,则继续用注射用水进行洗涤至合格。
4)硅化:加硅油量为:0~20ml/箱次。
硅化温度为≥80℃。
5)漂洗2:硅化后,排完腔体内的水后,再用注射用水漂洗10~15分钟。
6)中间控制:漂洗2结束后从取样口取洗涤水检查可见异物,如果不合格,则继续用注射用水进行洗涤至合格。
7)灭菌:蒸汽湿热灭菌,温度大于121℃,时间大于15分钟,F0≥158)真空干燥:启动真空泵使真空压力不大于抽真空,抽真空后,然后打开进气阀,这样反复操作直至腔室内温度达55℃方可停机。
9)出料:将洁净胶塞盛于洁净不锈钢桶内并贴上标签,标明品名、清洗编号、数量、卸料时间、有效期,并签名,灭菌后胶塞应在24小时内使用。
年产5000万支无菌分装的头孢呋钠粉针剂的工艺设计书第一章总论1.1 项目名称年产5000万支无菌分装的头孢呋辛钠粉针剂的项目1.2主办单位名称1.3投资项目性质新建。
1.4编制依据编制依据包括:(1)厂址初步选择报告及有关供水、供电、项目征用土地意见和建设项目环境保护意见的批文及资料;(2)《化工投资项目可行性研究报告编制办法》(中石化协产发(2006)76号);(3)《中华人民共和国环境保护法》、《中华人民共和国劳动安全法》等相关的国家法律、法规。
1.5项目提出的背景全球医药市场在源源不断上市的新药的推动下已经保持了数十年的高速增长,但在美国等主要市场的增速已经放缓,而中国等新兴市场开始发力。
据美国医药市场分析权威IMS Health的数据和预测,中国是目前世界第三大西药市场,仅次于美国和日本。
2015年,中国将成为全球第二大份医药市场,仅次于美国。
但是,目前中国西药市场的绝对销售额占世界市场的比例并不大。
2009年,大约为317亿美元,占全球市场的4.2%。
预测2011年的中国西药市场的绝对销售额可超过500亿美元。
但这依然和中国人口所占世界的比例很不协调。
预计未来十年中国西药市场将是全球增长最快的市场,每年可达到20%-30%,远远超过发达的欧美国家(每年约为2-4%),市场潜力巨大。
我国医药产业保持较快发展的主要原因是居民生活水平的提高、医疗保险制度改革的全面推进和人口净增长及老龄化等。
总体而言,我国医药市场呈现旺盛的消费需求环境,主要表现在:首先,我国宏观经济平稳快速运行带动了医药产业的蓬勃发展。
我国人民生活水平不断提高,改革开发以来,人均可支配收人增长了约30倍。
从国际一般的发展历程来看,随着人民生活水平的提高,人们保健意识也随着提高,用药水平会稳步上升,医疗消费占消费性支出的比例将逐年上升。
在我国,由收人增长引发的用药需求强力支撑了行业发展。
其次,医疗保险制度发展加快推进,将进一步促进价格低廉、疗效确切的国产普药的使用。
注射用粉针剂生产车间的初步设计一、生产车间布局设计1.粉针剂生产车间应独立设置,防止其他生产车间的污染物和异味对药品产生影响。
2.根据生产工艺流程,将车间划分为原料准备区、粉剂制备区、灌装区和包装成品区等功能区,使各个功能区域互不干扰,减少交叉污染的可能性。
3.各功能区之间应设有洁净压差区和空气锁,确保车间空气洁净度符合要求。
4.生产车间内的设备和工作台应按照工艺流程的需要进行合理布置,便于操作和检查。
二、洁净度要求1.粉针剂生产车间应达到GMP(药品生产质量管理规范)的要求,空气洁净度应不低于100级。
2.车间内的墙壁、地面、天花板等装饰材料应选用易清洁、耐腐蚀的材料,以便于清洁和消毒。
3.车间内的通风系统应能够保持良好的空气流动,排除空气中的微尘和颗粒物。
三、设备选型和布置1.粉剂制备区应配置粉碎机、混合机、干燥设备等生产设备,确保原料的充分混合和制备。
2.灌装区应配备灌装机,确保粉针剂的准确灌装和包装。
4.各种设备应考虑设备维修和保养的方便性,确保设备的正常运行和生产效率。
四、环境控制1.注射用粉针剂生产车间的温度和湿度应能够控制在适宜的范围内,以防止药品的质量受到影响。
2.光线和静电应得到控制,以避免对药品质量和生产过程产生影响,可采用防静电地板、灯具和其他静电控制措施。
五、洁净区设计1.粉针剂生产车间内设置有洁净区,用于生产环境的控制。
2.洁净区内应配备洁净工作台、洁净货架等设备,以保证洁净区的洁净度和生产环境的控制。
3.洁净区内应定期进行洁净度检测和通风换气,保持洁净区空气的洁净度。
六、设备维护和清洁1.定期对生产车间内的设备进行维护和保养,确保设备的正常运行和生产效率。
2.车间内的各个区域和设备应经常进行清洁和消毒,以确保药品的生产环境符合要求。
以上是注射用粉针剂生产车间的初步设计,需要根据具体需求和实际情况进行详细设计和施工建设。
注射用粉针剂生产车间的设计应符合相关药品生产的法律法规要求,并注重洁净度控制、设备选型和布置、环境控制等关键因素。
东南大学制药工艺课程设计题目:年产1500万支注射用头孢哌酮钠粉针剂生产车间工艺设计专业及班级:192101 192111设计组成员:周艺秦()于佳()方济中()王雨曼()陈昊天()夏彭仁()项目提交人:于佳学号:指导教师:陈峻青老师东南大学化学化工学院二〇一三年八月目录全自动多功能针剂型装盒机 (11)9.参考文献 (15)1注射用青霉素钠粉针剂工艺概述粉针剂的生产概述粉针剂为注射用无菌粉末,是指供临用前用适宜的无菌溶液配制成溶液的无菌粉末或无菌块状物。
一般临用前用无菌葡萄糖溶液或生理盐水溶解后注射,该类药品运输及使用方便。
粉针剂的生产有两种方法:一种是无菌分装的粉针剂工艺生产;另一种是利用冷冻干燥法进行粉针剂药品的生产。
青霉素、头孢等,这一类粉针常为无菌分装;而其他类的抗生素,如类的注射用加替沙星,则是冷冻干燥。
这两者在外形上也有区别,无菌分装的为粉末状,而冷冻干燥粉常为块状。
本设计则是采用无菌分装技术生产制备注射用头孢哌酮钠。
注射用头孢哌酮钠的性质和使用注射用头孢哌酮钠,英文名 Cefoperazone Sodium for Injection。
主要成分头孢哌酮钠,其化学名为(6R,7R)-3-[[1-甲基-1H-四唑-5-基)硫]甲基]-7-[(R)-2-(4-乙基-2,3-二氧代-1-哌嗪碳酰氨基)-2-对羟基苯基-乙酰氨基]-8-氧代-5-硫杂-1-氮杂双环[辛-2-烯-2-甲酸钠盐。
本品为白色或类白色粉末或结晶性粉末;无臭,有引湿性;在水中易溶,在甲醇中略溶,在乙醇中极微溶解,在丙酮和乙酸乙酯中不溶;在3位甲基上以巯基杂环取代乙酰氧基的头孢菌素,此杂环的芳香性及亲水性可提高其抗菌性并显示良好的药代动力学性质,在血中的浓度较高。
对绿脓杆菌的作用较强。
临床上用于各种敏感菌所致的呼吸道、泌尿道、腹膜、胸膜、皮肤和软组织、骨和关节、五官等部位的感染,还可用于败血症和脑膜炎等。
现在对注射用头孢哌酮钠的生产采用无菌分装技术,在生产过程中严格按照《GMP》的要求进行车间设计和生产工艺的设计。
制药工程基本课程设计题目:年产万支无菌分装粉针剂生产车间工艺设计学生姓名:学号:系别:专业:指引教师:起止日期:01 月12日设计任务书一、设计题目年产万支无菌分装粉针剂生产车间工艺设计二、设计参数(1)计算产量值为:X=万支/每年(2)按两班制生产,每班8个小时每天(3)以全年250个工作日计算三、设计内容及规定(1)拟定工艺流程及净化区域划分;(2)详细论述一种无菌分装粉针剂工艺设备工作原理、构造构成及关于此设备国内外现状、研究前沿。
(3)物料衡算、设备选型(按两班制生产);(4)按GMP规范规定设计车间工艺平面图;(5)计算注射用水用量,并做注射用水制备工艺设计;(6)编写设计阐明书。
目录1、概述 (1)1.2粉针剂生产办法 (2)1.3无菌粉针剂生产工艺特点 (2)1.4粉针分装设备 (3)2.1设计目 (5)2.1.1生产能力 (5)2.1.2工艺规定 (5)2.1.3质量规定 (5)2.2设计根据 (5)2.2.1 设计根据 (5)2.2.2 设计原则 (5)3、确认设计方案 (6)3.1工艺流程图 (6)3.2生产工艺描述 (8)3.2.1胶塞洗涤硅化灭菌与干燥 (8)3.2.2西林瓶清洗和灭菌 (9)3.2.3铝盖准备 (11)3.2.4工器具灭菌消毒解决 (11)3.2.4.1分装机零部件解决 (11)3.2.4.2维修工具灭菌解决 (12)3.2.4.3其他解决 (12)3.2.5无菌分装 (12)3.2.6轧盖、灯检 (13)3.2.7包装 (13)4、工艺计算 (14)3.1生产制度 (14)3.2物料衡算 (15)5、工艺设备选型 (16)5.1重要设备选型 (16)5.2重要生产设备及型号一览表 (18)6、车间布置 (19)6.1车间设计GMP规定 (19)6.2重要操作间位置和规定 (21)6.3车间技术规定 (21)参照文献 (22)附录 (24)1、概述1.1粉针剂简介粉针剂是将药物与试剂混合后,经消毒干燥形成粉状物品。
东南大学制药工艺课程设计题目:年产1500万支注射用头孢哌酮钠粉针剂生产车间工艺设计专业及班级:192101 192111设计组成员:周艺秦(19210117)于佳(19210118)方济中(19210119)王雨曼(19211106)陈昊天(19211108)夏彭仁(19211101)项目提交人:于佳学号:19210118指导教师:陈峻青老师东南大学化学化工学院二〇一三年八月目录1注射用头孢哌酮钠粉针剂工艺概述 (4)1.1粉针剂的生产概述 (4)1.2注射用头孢哌酮钠的性质和使用 (5)1.3注射用头孢哌酮钠的生产工序 (6)1.4注射用头孢哌酮钠的发展及方向 (12)2生产制度及规模 (12)3. 无菌分装粉针剂生产工艺流程设计及洁净区域划分 (13)3.1生产场所和设备 (15)3.2关键生产设备操作规程和清洁规程 (16)4物料衡算 (17)4.5计算结果(以每天产量为准)见下图............ 错误!未定义书签。
5.主要设备选型及设备一览表 (19)5.1.洗瓶机 (19)5.2全自动胶塞清洗烘干灭菌一体机 (20)5.3灭菌烘箱 (20)5.3螺旋分装机 (21)5.4正压脉动臭氧灭菌柜 (21)5.5滚压式轧盖机 (22)5.6全自动贴标机 (11)5.7热风循环烘箱 (22)5.8全自动多功能针剂型装盒机 (11)6.车间工艺平面布置说明 (23)6.1洁净级别的设置 (24)6.2辅助功能间的设置 (24)7.车间技术要求 (26)7.1污染物控制措施 (26)7.2辅助设施 (27)7.3药品厂房设计要求 (27)7.4粉针分装剂药品 (27)8.设备综述 (28)8.1关于滚压式轧盖机的综述 (28)8.2关于全自动贴标机的综述 (28)9.参考文献 (15)1注射用青霉素钠粉针剂工艺概述1.1粉针剂的生产概述粉针剂为注射用无菌粉末,是指供临用前用适宜的无菌溶液配制成溶液的无菌粉末或无菌块状物。
一般临用前用无菌葡萄糖溶液或生理盐水溶解后注射,该类药品运输及使用方便。
粉针剂的生产有两种方法:一种是无菌分装的粉针剂工艺生产;另一种是利用冷冻干燥法进行粉针剂药品的生产。
青霉素、头孢等,这一类粉针常为无菌分装;而其他类的抗生素,如喹诺酮类的注射用加替沙星,则是冷冻干燥。
这两者在外形上也有区别,无菌分装的为粉末状,而冷冻干燥粉常为块状。
本设计则是采用无菌分装技术生产制备注射用头孢哌酮钠。
1.2注射用头孢哌酮钠的性质和使用注射用头孢哌酮钠,英文名 Cefoperazone Sodium for Injection。
主要成分头孢哌酮钠,其化学名为(6R,7R)-3-[[1-甲基-1H-四唑-5-基)硫]甲基]-7-[(R)-2-(4-乙基-2,3-二氧代-1-哌嗪碳酰氨基)-2-对羟基苯基-乙酰氨基]-8-氧代-5-硫杂-1-氮杂双环[4.2.0]辛-2-烯-2-甲酸钠盐。
本品为白色或类白色粉末或结晶性粉末;无臭,有引湿性;在水中易溶,在甲醇中略溶,在乙醇中极微溶解,在丙酮和乙酸乙酯中不溶;在3位甲基上以巯基杂环取代乙酰氧基的头孢菌素,此杂环的芳香性及亲水性可提高其抗菌性并显示良好的药代动力学性质,在血中的浓度较高。
对绿脓杆菌的作用较强。
临床上用于各种敏感菌所致的呼吸道、泌尿道、腹膜、胸膜、皮肤和软组织、骨和关节、五官等部位的感染,还可用于败血症和脑膜炎等。
现在对注射用头孢哌酮钠的生产采用无菌分装技术,在生产过程中严格按照《GMP》的要求进行车间设计和生产工艺的设计。
该药品一般为肌肉注射或静脉滴注给药,警惕:使用头孢哌酮钠前,应详细询问病人是否有对头孢菌素类,青霉素类或其他药物的过敏史。
如病人对青霉素过敏,应谨慎使用本品。
对任何曾发生过某种过敏反应,尤其是对药物过敏的病人,使用本品应特别小心。
1.3注射用头孢哌酮钠的生产工序1.3.1原料的准备工作在无菌分装操作前一天,将原料经物料员凭批生产指令从仓库领取后,在缓冲间擦拭干净,由物料员和QA检查员依据领料核料单审核原料名称,规格,批号、重量,是否有检验合格证等,审核合格后,由车间生产人员用消毒液揩擦桶外壁后,放到物料传递间原料经净化后传入万级B区,用适量的注射用水与原辅料混合配液,喷雾干燥无菌处理,经过检测后,可经传递窗紫外灯照射后传入万级A区。
原料传入万级A区后需对原料铝桶外壁用消毒液擦拭,做好状态标识摆放于后待用。
1.3.2胶塞的洗涤灭菌与干燥(1)粗洗:首先经过滤的注射用水进行喷淋粗洗3~5分钟,喷淋水直接由箱体底部排水阀排出。
然后进行混合漂洗15~20分钟即可,混洗后的水经排污阀排出。
(2)精洗:粗洗后的胶塞经注射用水进行10~15分钟精洗。
(3)中间控制:精洗结束后从取样口取洗涤水检查可见异物应合格,如果不合格,则继续用注射用水进行洗涤至合格。
≥15(4)灭菌:蒸汽湿热灭菌,温度大于121℃,时间大于15分钟,F(5)真空干燥:启动真空泵使真空压力不大于0.09Mpa抽真空,抽真空后,然后打开进气阀,这样反复操作直至腔室内温度达55℃方可停机。
(6)出料:将洁净胶塞盛于洁净不锈钢桶内并贴上标签,标明品名、清洗编号、数量、卸料时间、有效期,并签名,灭菌后胶塞应在24小时内使用。
(7)打印:自动打印记录并核对正确后,附于本批生产记录中。
1.3.3西林瓶的清洗和灭菌(1)理瓶:将人工理好的西林瓶慢慢放入分瓶区。
(2)粗洗:瓶子首先经超声波清洗,温度范围50℃~60℃.(3)精洗:用压缩空气将瓶内、外壁水吹干,用循环水进行西林瓶内、外壁的清洗,再用压缩空气将西林瓶内、外壁水吹干,然后用注射用水进行两次瓶内壁冲洗,再用洁净压缩空气把西林瓶内外壁上的水吹净。
(4)检查:操作过程中,一定要控制以下项目—―检查各喷水、气的喷针管有无阻塞情况,如有及时用1mm钢针通透。
—―检查西林瓶内外所有冲洗部件是否正常。
—―检查纯化水和注射用水的过滤器应符合要求。
—―检查注射用水冲瓶时的温度和压力。
—―检查压缩空气的压力和过滤器。
(5)洗瓶中间控制:在洗瓶开始时,取洗净后10个西林瓶目检洁净度符合要求,要求每班检查两次,并将检查结果记录于批生产记录中。
(6)灭菌洗净的西林瓶在层流保护下至隧道灭菌烘箱进行干燥灭菌,灭菌温度≥350℃,灭菌时间5分钟以上,灭菌完毕后出瓶,要求出瓶温度≤45℃。
1.3.4铝盖的准备(1)工作区已清洁,不存在任何与现场操作无关的包装材料,残留物与记录,同时审查该批生产记录及物料标签。
(2)根据批生产指令领取铝盖,并检查其是否有检验合格证,包装完整,在十万级环境下,检查铝盖,将已变形,破损,边缘不齐等铝盖拣出存放在指定地点。
(3)将铝塑盖放于臭氧灭菌柜中,开启臭氧灭菌柜70分钟。
灭菌结束后将铝盖放入带盖容器中,贴上标签,标明品名,灭菌日期,有效期待用。
1.3.5工器具的灭菌消毒处理1.3.5.1分装机零部件的处理(1)分装机的可拆卸且可干热灭菌的零部件用注射用水清洗干净后,放入对开门百级层流灭菌烘箱干热灭菌,温度180o C以上保持2小时,取出备用。
(2)分装机可拆卸不可热压灭菌的零部件用注射用水冲洗干净后,用75%乙醇擦洗浸泡消毒处理。
设备不可拆卸的表面部分每天用75%消毒液进行擦试消毒处理。
(3)其它不可干热灭菌的工器具在脉动真空灭菌柜中121℃灭菌30分钟,后转入无菌室.1.3.5.2进无菌室的维修工具零件不能干热灭菌的,必须经消毒液消毒或紫外照射30min以上方可进无菌室。
1.3.5.3纸张、眼镜经紫外照射30min以上方可进入无菌室。
1.3.6无菌分装(1)按下主电机驱动按钮,观察各运动部位转动情况是否正常,充填轮与装粉箱之间有无漏粉,并及时给予调整。
(2)调试装量,调整好装量后,每台机器抽取每个分装头各5瓶,检查装量情况,调试合格后方可正式生产。
(3)西林瓶灭菌后由隧道烘箱出口至转盘,目视检查将污瓶破瓶捡出,倒瓶用镊子扶正。
(4)西林瓶在百级层流的保护下直接用于药粉的分装,分装后压塞,操作人员发现落塞用镊子人工补齐。
(5)装量差异检查,每隔30分钟取5瓶进行检查,装量应在合格范围。
如发现有飘移,在线微调,如检查超过标准装量范围,通知现场QA,对前一阶段产品进行调查。
如发现不合格的应将前10分钟的瓶子全部退回按规定处理。
(6)在分装过程,发现分装后的产品是有落塞和装量不合格等现象,及时挑出,作为不合格品处理。
(7)分装期间,操作人员要求每30分钟用75%酒精手消毒一次。
(8)装量的计算,标准装量.7轧盖、灯检1.3.7.1已灌粉盖塞的合格的中间产品随网带传出无菌间,在轧盖间轧盖,要求轧盖要平滑,无皱褶、无缺口,并用三手指直立捻不松动为合格,若发现轧口松动、歪盖、破盖应立即停机调整。
1.3.7.2逐瓶灯检轧好盖的中间产品,将不合格品挑出,每1小时将灯检情况记录于批生产记录中,在灯检岗位必须查出破瓶、轧坏、异物、色点、松口、量差等不合品。
1.3.8包装(1)贴签:将标签装上机,调整高度,开始贴签,将第一张已打码合格的并经班组长及QA核对签名的标签贴于本记录背面。
如有倒瓶,将倒瓶扶正,使之进入贴签进料输送带上进行贴签。
在贴签过程中,随时检查贴签质量,标签是否平整,批号是否正确、清晰。
(2)装小盒(或中盒)。
小盒(或中盒)打印:按批包装指令在小盒(或中盒)上打印产品批号、生产日期和有效期至,并将第一个打码合格并经班长、QA核对签名的小盒(或中盒)附于批记录中。
然后在每个小盒(或中盒)上手工盖箱号。
装塑托时需装好说明书,装中盒时应贴好封口签(3)装大箱,打包,单支包装产品需先过塑后装箱,打包。
大箱打印:按批包装指令在包材打印记录上打印产品批号、生产日期、有效期至。
将包材打印记录交班组长及QA核对签名,附于批生产记录,并正式打印大箱。
(4)将大箱用胶带封底后放上垫板。
胶带长度为每边5~10cm(不得盖住打印内容)(5)装大箱:将包装好的中盒放于大箱内,不得倒置,放入核对正确的产品合格证一张。
包装完毕,将包装记录附入本批批记录中。
(6)包装检查:包装质检员对已装箱的每箱产品按要求进行检查。
检查完一箱,在产品合格证上签名。
全部检查完毕,将包装检查记录附入本批批记录中。
(7)封箱:用胶带对检查合格后的产品封箱,胶带长度为每边5~10cm(不得盖住打印内容)(8)打包:平行打包两条打包带,打包带距边10~15cm,松紧适宜,按顺序码放于托盘上,批号朝外。
(9)入库待检:填写成品完工单和请验单,成品入库待检。
1.4注射用头孢哌酮钠的发展及方向头孢哌酮为第三代头孢菌素,对大肠埃希菌、克雷伯菌属、变形杆菌属、伤寒沙门菌、志贺菌属、枸橼酸杆菌属等肠杆菌科细菌和铜绿假单胞菌有良好抗菌作用,对产气肠杆菌阴沟肠杆菌、鼠伤寒杆菌和不动杆菌属等的作用较差。