安全生产行政处罚流程图(一般流程)
- 格式:doc
- 大小:195.50 KB
- 文档页数:16
行政处罚流程图行政处罚是国家机关对违法行为进行的一种强制性的纠正措施。
行政处罚的流程一般包括以下几个步骤:1. 举报或发现违法行为:行政处罚流程的第一步是举报或发现违法行为。
任何单位或个人都可以向有管辖权的国家机关举报违法行为,也可以由国家机关自行发现。
2. 立案调查:接到举报或发现违法行为后,国家机关会立案进行调查。
调查的目的是确定违法行为的事实和证据,以便作出处罚决定。
3. 通知当事人:在调查期间,国家机关会通知被调查的当事人,并告知他们被调查的事实和证据,以便他们进行申辩。
4. 进行听证:如果有必要,国家机关还可以组织听证会,让当事人进行陈述和申辩。
听证会的目的是确保当事人的合法权益得到保护,同时也有助于国家机关做出科学公正的决定。
5. 处罚决定:在调查和听证结束后,国家机关会依据法律规定和事实证据,作出处罚决定。
处罚决定包括对违法行为的认定和相应的处罚措施。
6. 通知和执行:国家机关会向被处罚的当事人发出处罚决定书,并告知他们可以在规定的期限内进行行政复议或者提起行政诉讼。
同时,国家机关还会监督和执行处罚决定,确保其得到有效执行。
7. 行政复议和行政诉讼:如果当事人对处罚决定不满意,他们可以在规定的期限内提起行政复议或者行政诉讼。
行政复议是指当事人向上级行政机关申请复议,请求撤销或修改原处罚决定;行政诉讼是指当事人向人民法院提起诉讼,请求撤销或改变原处罚决定。
8. 完成处罚:一旦处罚决定得到最终确认,国家机关会按照处罚决定的内容和要求,对当事人进行相应的处罚。
当事人需要按照处罚决定履行义务,并接受相关的监督和检查。
总结起来,行政处罚的流程从举报或发现违法行为开始,经过调查、通知、听证、处罚决定、通知和执行等环节,最终完成对违法行为的处罚。
这个流程旨在保护公民和法人的合法权益,同时维护社会的公平正义。
一般程序行政处罚流程图说明
注明:1、违反市容环境卫生管理、城市绿化管理、市政设施管理、燃气管理、环境保护管理、工商行政管理、公安交通管理方面法律、法规、规章规定的行为,对公民处50元-8000元、对法人处1000元-4.5万元以下的行政处罚案件适用本流程办理;
2、流程中立案审批部分由各业务大队负责实施,立案期限不超过3日,超过立案审批期限的由相关人员注明原因后案件可以展开调查,但在案件处理审批前要补办相关审批手续;
3、案件的登记录入由各业务大队负责实施,也可经行政机关批准由办案大队集中登记录入;
4、案件处理审批阶段由办案大队负责实施,但与案件相关业务大队可以就案件的审批情况提出建议。
安监局行政权力运行流程图
一行政许可类流程图
烟花爆竹零售经营许可:法定时限:20日承诺时限:5日
危险化学品(乙类)经营许可:法定时限:30日承诺时限:6日
146
二行政处罚类流程图
1、简易程序
147
2、一般程序
备注:对严重安全生产违法行为给予责令停产停业整顿、责令停产停业、责令停止建设、责令停止施工、吊销有关许可证、撤销有关执业资格或者岗位证书、3万元以上罚款、没收违法所得、没收非法开采的煤炭产品或者采掘设备价值3万元以上的行政处罚的,应当由安全监管监察部门的负责人集体讨论决定。
148
三行政强制类流程图
1、对存在重大事故隐患的生产经营单位做出停产停业、停止施工、停止使用相关设施或者设备的决定
149
2、对不符合保障安全生产的国家标准或者行业标准的设施、设备、器材以及违法生产、储存、使用、经营的危险物品予以查封或者扣押,对违法生产、储存、使用、经营危险物品的作业场所予以查封
150
3、责令暂停导致职业病危害事故的作业、封存造成职业病危害事
故或者可能导致职业病危害事故发生的材料和设备
151
4、依法对存在重大事故隐患的生产经营单位作出停止供电、停止供应民用爆炸物品的决定
152
四其他权力类流程图备案类
153。
行政处罚流程图行政处罚是国家对违法行为采取的一种行政强制措施,其程序一般包括立案、调查、听证、裁量、处罚等环节。
下面我们将详细介绍行政处罚的流程图。
1. 立案阶段。
在发现可能存在违法行为的情况下,相关行政机关会对其进行立案调查。
立案调查的程序包括接受案件、立案登记、案件分发等环节。
一旦案件立案,就意味着行政机关将对该违法行为展开调查。
2. 调查阶段。
行政机关在立案后,会对违法行为展开调查。
调查的程序包括取证、调查取证、调查报告等环节。
在调查过程中,行政机关会收集相关证据,了解违法行为的情况,为后续的处罚决定提供依据。
3. 听证阶段。
在调查结束后,行政机关会根据调查结果决定是否进行听证。
听证是行政机关依法对当事人进行询问、质证、辩论等程序,听取当事人的陈述和申辩意见。
听证程序包括听证通知、听证准备、听证程序等环节。
4. 裁量阶段。
在听证结束后,行政机关会根据调查结果和听证情况对违法行为进行裁量。
裁量的程序包括裁量决定、裁量通知、裁量执行等环节。
行政机关会根据法律法规和实际情况对违法行为进行处罚裁量,确定处罚的种类和数额。
5. 处罚阶段。
最后,行政机关会根据裁量结果对违法行为进行处罚。
处罚的程序包括处罚决定、处罚通知、处罚执行等环节。
行政机关会向当事人发出处罚通知,并要求当事人在规定的期限内履行处罚决定,如果当事人不服处罚决定,可以依法申请行政复议或者提起行政诉讼。
以上就是行政处罚的流程图,希望能对大家有所帮助。
行政处罚是国家行政管理的重要手段,对于维护社会秩序、保护公共利益具有重要意义。
在行政处罚过程中,行政机关应当依法公正、严格执法,保障当事人的合法权益,确保行政处罚的合法性和公正性。
(二)行政处罚流程图L 市场监督管理机关行政处罚流程图 L 地域管辖一级别管辖 厂发现案源途径 —违法行为发生地县级以上市场监督管理一县(区)、市(地、州)市场监督管理机关管辖本辖区的案 —省级市场监督管理机关管辖本辖区的重大、复杂案件—对利用广播、电影、电视、报纸、期刊、互联网等媒介发布违法广告的行为,由广告发布 者所在地市场监督管理机关管辖T 旨定管辖 f 送管辖公用、独占企业不正当竞争的,由省或设区的市市场监督管理局管 管辖权发生争议,协商解决,协商不成的,由共同上级指定管辖 上级可以将自己管辖的案件交由下级管辖,也可直接查处下级管辖的案件一填写立案审批一?旨定两名以上办案人员 立案时间一依据职权一投诉、申诉、举报 J 其它—附相关材^4 ------------------------------ 一县以上局长批准(含副局长) 重大、疑难案件,可以报请上级机关确定管辖 不属于自己管辖的,移送有关管辖机关 构成犯罪的,移送司法机关管辖一投诉材料 一申诉材料 一举报材料--------------------- 移送材料一交代材料 一检查报告 I-已获取的证据收到投诉、申诉、举报、移送、交办材料七个工作日内核查,决定是 否立案,特殊情况可以延长至十五个工作日L 收集、调取证据出示证件,告知权利收集、调取原始一~有困难的一注明经核对一注明出证日期L 提供人签名或盖章 凭证作书证 可以复制与原件无误 证据出处一询问 ------- 个别进行,制作笔录 ------- 交被询问人核对」有当事人或第三人在场一拒绝到 场的在现场笔录中注明现场一出示证件检查——制作现场笔录办案人即当事人、第三人签名或盖章一无阅读能力的一宣读 一有差错、遗漏一更正、补充—涂改部分一被询问人签名、盖章或其他方式确认 一被询问人签名、盖章等方式确认 L 拒绝签字的在笔录上注明「对当事人进行人提请公安机关 身或住所检查—gg iπ≡≡ 管理机关配合「一证据可能灭失或者先行登记保存T 以后难以取得 I - 7日内作出处理决定一厂采取记录、复制、拍卖录像等保全证据措施 一需要鉴定的,送交鉴定一违法事实成立一没收一依法扣留、封存一违法事实不成立一解除一行政强制措施与违法行为有直接 关系的财物,依法—「妥善保管——扣护_易腐品征得当事人同意一先行处理(―一托运物品 ----------------------------一家存或寄存物品7令当事人取出 L⅛事人拒绝的一制作协助扣押通知书有当事人在场一抽样取证上开具物品清单J 办案人、当事——依法责令 人签名或盖章__1-加贴封条查封「一 当事人自行保管的一一出具保证书 停销售 ------------------------ ∙L≠得转移、隐匿、销毁有关财物一通知运输部门协助 J 书面通知当事人 一会同当地有关部门取出 —办理扣押手续书面告知当事人由当事人履行——负责人批准 ----- 当场清点_______________ ——开具清单----- 当事人、办案人签字,交当事人一份 ----- 送达通知书是否有管辖权 基本情况是否清楚事实是否清楚,证据是否充分定性是否准确 适用依据是否正确 处罚是否适当 程序是否合法——建议移送司法机关—提交局长或局长办公会议讨论决定一建议办案机构修改 --- 建议办案机构补正 —建议办案机构纠正 —建议办案机构移送 ——建议销案厂定性不准,适用法规不当一 一事实不清,证据不足 ----------- 一程序不合法 ------------------- 一超出管辖权 ------------------- 一事实不成立或超过追责期限 —涉嫌犯罪 --------------------- —办案、审核机构意见不一致调查一—证据书证 物证证人证言 --------------- 视听资料、计算机数据 当事人陈述 鉴定结论勘验笔录或现场笔录写出调查终结报告 草拟处罚建议书 交审核机构书面审核•程序调查终 (同级审提出审核书面 意见和建议超出管辖权 违法事实不成立一 构成犯罪的 案情复杂或给予较 重处罚的局长批准处罚建议 作出处罚的事实、理由、依据,当事人享有的陈述、申辩权听证权 -------------------------------------------------------证据异议权 ------------- 当事人对定案依据的证据发表意见厂责令停产停业 一吊销营业执照 一较大数额罚款告知 (包括处罚告知、听 以市场监督 管理机关名 义告知当事期间局长决定形式口头告知—制作告知笔录—当事人签名、盖章 —直接送达 书面告知—一委托送达 —邮寄送达 —公告送达厂办案机构调查结果—审核机构审核意见或听证报告J 当事人陈述、申辩意见-一《处罚决定书》—— 内 容当事人签收三个工作日内行使权利挂号寄出15日内行使权利(因不可抗力或者其他特殊情况,自实际 收到之日三个工作日内) 公告之日15日内行使权利 厂当事人姓名、名称、地址 一违法事实和证据——处罚内容、裱据—决定理由 ------------------确有违法行为的 作出处罚决定一证据采信理由一依据选择理由 一决定裁量理由 情节轻微,及时纠正,没有造成危害后果一不予处罚—采纳陈述、申辩的情况及理由 一履行方式和期限 一救济途径、期限 「作出决定的机关名称、日期、印章自立案之日起九十日内作出处理决定移送 销案移送司法机关 提交局长办公会 议决定一期限一案情复杂,经负责人批准,可以延长三十日一案情特别复杂,局长办公会议集体讨论决定是否继续延直接送达——宣告后当场交当事人,当事人不在场应在7日内送达 委托送达—当地市场监督管理部门代为送送达一L 原邮寄送达——挂号邮寄公告送达一发布之日起六十日内,即视为送达(记明原因和经过) 行政处罚执行 法人、经营单位;一交法定代表人,负责人、委 其他组织托代理人或收发部门签收公民、个 体市场监 拒绝卷 收的当事人应在处罚决定的期限内履行「交本人签收 一匚交同住的成年家属签收 I~邀请有关人员到场,说明情况 —在送达回证上记明拒收事由、日期 —由送达人、见证人签名或盖章 !~将文书留在当事人住处,视为送达~复议或诉讼不停止执行-收到处罚决定15日内,到指定银行缴纳罚款当场收缴 -------------------------------------------------- 逾期不履行一每日按罚款额3%加处罚数一将扣押、封存物资依法拍卖抵缴罚款 J 申请法院执行确有困难,经批准可以缓缴或分期缴纳一20元以下—公民>20元<50元,法人、其它组织1000元以 下,不当场收缴事后难以执行一边远、水上、交通不便,确有困难,当事人提出的 一出具统一罚款收据日内交所在机关,所在机关2日内交指定银行一没收 -------------------- 没收的财物公开拍卖或按国家有关规定处理,没收票据交有关部门统一处一销 毁 ------------------ 按国家规定处理,没有规定的,经县局局长批准,2名以上人员监督销毁,并制作销毁记录 一无人认领财物公告通知在6个月内认领财物,无人认领的,采取拍卖或者变卖等方式处理,变价款保存 在专门账户上,处理之日起一年内仍无人认领的,变价款扣除费用后上缴财政案卷应当一案一卷,案卷可以分正卷、副卷正卷装订顺序:立案审批表-行政处罚决定书-对当事人制发的其他法律文书-送达回证-听证笔录-证据材料-财物处 理单据-其他有关材料 副卷装订顺序:投诉、申诉、举报等案源材料-调查终结报告及批件-核审意见-听证报告-其他有关材料。
安全生产行政处罚流程图安全生产行政处罚流程图一、行政处罚的触发条件1. 发生生产安全事故;2. 违反生产安全法律法规、规章和标准;3. 安全生产责任人未履行其职责。
二、生产安全事故发生1. 发生生产安全事故后,相关部门将事故情况立即上报当地政府;2. 政府组织相关部门进行事故调查,确定事故原因并提出处理建议;3. 根据调查结果,相关部门向政府提交行政处罚申请。
三、行政处罚的主体与程序1. 当地政府接收行政处罚申请后,组织行政处罚会议;2. 行政处罚会议由政府主要负责人、生产安全监管部门、工商部门和法律人员等组成;3. 行政处罚会议讨论并决定是否对事故责任人进行行政处罚;4. 如决定行政处罚,会议将行政处罚决定书交由相关部门进行具体实施。
四、行政处罚的流程与内容1. 相关部门依据行政处罚决定书,对事故责任人发出行政处罚通知书;2. 行政处罚通知书中包含了行政处罚的相关内容,如罚款金额、违法行为事实、责任人名字等;3. 责任人在接到行政处罚通知书后,可以提出申辩意见,并提供相关证据进行申辩;4. 相关部门收到申辩意见后,按照规定的程序进行审核,对申辩意见进行回复,并作出是否采纳的决定。
五、行政处罚的强制执行1. 如果责任人不服从行政处罚决定,可以向上级行政主管部门提出申诉;2. 上级行政主管部门收到申诉后,将组织相关部门进行重新评估,并决定是否维持原处罚决定;3. 如责任人依旧不服从行政处罚决定,可以向行政法院提出行政复议申请;4. 行政法院受理行政复议申请后,将对行政处罚决定进行审理,并出具行政复议决定书。
六、行政处罚的结果1. 行政处罚决定书自送达之日起生效,责任人应当按照决定书中规定的期限履行处罚决定;2. 如责任人未按期履行处罚决定,相关部门将采取强制措施进行执行;3. 行政复议决定书为行政处罚的最终结果,责任人应当履行决定书中的处罚内容。
以上是安全生产行政处罚流程图的主要内容,通过以上流程,可以实现对违反安全法律法规的责任人进行行政处罚,以维护社会安全与稳定。
行政执法程序及流程图一、行政执法程序(-)简易程序行政处罚简易程序是指违法事实确凿并有法定依据,对公民处以二百元以下、对法人或者其他组织处以三千元以下罚款或者警告的行政处罚的,可以当场作出行政处罚决定。
执法人员当场作出行政处罚决定的,应当向当事人出示执法证件,口头告知当事人违法事实、处罚理由和依据以及享有的权利与义务;听取当事人的陈述和申辩并进行复核,当事人提出的事实、理由或者证据成立的,应当采纳;填写预定格式、编有号码的行政处罚决定书,并当场交付当事人。
当事人拒绝签收的,应当在行政处罚决定书上注明。
对当场作出的行政处罚决定,当事人应当依照规定履行。
执法人员当场作出的行政处罚决定,应当报所属行政机关备案。
(二)普通程序除简易程序作出行政处罚外,发现公民、法人或者其他组织有依法应当给予行政处罚的行为的,符合立案标准的,及时立案,并经过全面、客观、公正地调查,收集有关证据;并依照法律、法规的规定,及时作出行政处罚决定。
行政机关应当自行政处罚案件立案之日起九十日内作出行政处罚决定。
法律、法规、规章另有规定的,从其规定。
行政机关及其执法人员在作出行政处罚决定之前,未依照规定向当事人告知拟作出的行政处罚内容及事实、理由、依据,不得拒绝听取当事人的陈述、申辩。
行政处罚决定书应当在宣告后当场交付当事人;当事人不在场的,行政机关应当在七日内依照《中华人民共和国民事诉讼法》的有关规定,将行政处罚决定书送达当事人。
当事人同意并签订确认书的,行政机关可以采用传真、电子邮件等方式,将行政处罚决定书等送达当事人。
二、行政执法流程图调查取证2名及以上执法人员进行杜查,9示就法证件,依法收集整理证羯可理 审批谓查终考后,玄耳案生调查终结抠告.并按隹宇定批 拟定处罚意见机构负责人决定,欠三意见'案任主案件亩理委员会集体讨论决定当事.、的事实、理:⅛或证需成之,行政机关改变累也作出的行政处爵决定送达执行执法人员 ⅛示女法证件立案土法八灵求与立案言⅜■表.⅛⅛⅞⅞⅛⅛大罚备重处报案案档绪归告依拟及身”事实、理主、依老大若逐三线的权利 填写袁定格式的行当场送达诙法在行 备案归检搔销立案1、身〒楚儆巨弓改正;2、殳法事实不 能成立的处罚告知依法制作并送达 行政义史告知书戛事工不受.耍.二--::7fu2⅛,⅛⅛⅛,1于项罪听取当事人陈述和申辩重大处罚f≡当事人申请召开听证会依法制作处罚决定。
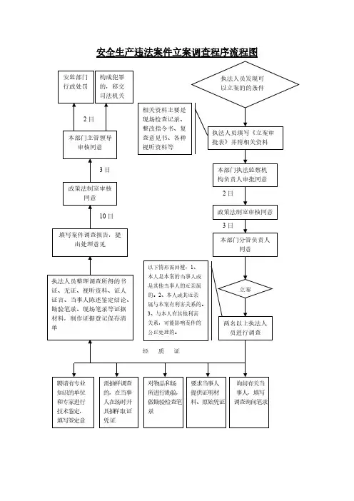
安全生产行政处罚流程图一般程序
1. 立案阶段
1.1 技术审查
安全生产监管部门会对举报或者发现的违法行为进行初步调查和
技术审查。
如果认为违法事实存在,会启动行政处罚程序。
1.2 立案
安全生产监管部门对初步审查认为需要行政处罚的事项,会进行
立案并发出行政处罚决定书。
2. 调查阶段
2.1 调查函送达
安全生产监管部门会将行政处罚调查函送达当事人,要求其在规
定的时间内进行回复或者到场协助调查。
2.2 取证调查
安全生产监管部门会进行取证调查,包括现场勘查、调取证据等。
当事人可以提供相关证据材料。
2.3 报告编制
安全生产监管部门会根据取证调查的材料编制调查报告。
3. 处罚阶段
3.1 处罚决定
安全生产监管部门会根据调查报告和相关法规,对当事人作出行
政处罚决定。
3.2 当事人接收决定
安全生产监管部门会将行政处罚决定书送达当事人,当事人可以
选择申请听证或者提起行政复议或者行政诉讼。
3.3 监督执行
安全生产监管部门对行政处罚决定书进行监督执行,确保处罚决
定得到切实落实和执行。
如果当事人不服,可以通过法律途径进行申诉。
4. 结案
安全生产监管部门对已经执行完毕的案件进行结案。
如果当事人
上诉,结案程序暂缓。
直到法律程序结束后,再进行结案。
以上就是安全生产行政处罚流程图一般程序。
如有需要,当然还
会有具体的不同的流程,但总体流程是差不多的,希望对您有所帮助。
行政处罚简易程序流程图监督检查(举报),发现违法(行为)事实两人以上执法,出示执法证,告知违法(行为)事实和处罚依据听取当事人的陈述和申辩,并复核。
现场制作笔录(执法询问笔录、陈述申辩笔录)不予处罚依法作出处罚决定,填写《行政处罚决定书》,并告知当事人权利执行行政复议决定或行政判决书结案、归档(处罚决定之日起5日内备案)按照《甘肃省交通工程质量安全监督管理局行政处罚自由裁量执行标准》和法律法规进行处罚行政处罚一般程序流程图监督检查,发现违法(行为)事实,以及上级交办、其他部门移送、举报等违法线索立 案(单位负责人审批并指定两名以上承办人)二名以上执法人员向当事人出示撤案,不处罚(移 执法证,开展调查、检查,收集证送、举报线索失实) 调查、取证 据。
调查终结,承办人写出调查终移送司法机关(构 结报告,并根据认定的违法违规事成犯罪) 实和法律、法规依据提出初步处理意见,报送单位负责人审批。
行政处罚事先告知按照《甘肃省省交通工程质量安全监督管理局行政处罚自由裁量执行标准》和法律法规进行处罚按《行政处罚法》第五十一条执行 行政复议或自觉履行拒不履行 行政诉讼按《行政强撤销 制法》第五十三条执行维持或变更处罚决定表1 立案审批表立字()第号表2现场(勘验、检查)笔录说明:现场照片、示意图等可作为本记录的组成部分附后表3询问笔录时间:年月日时分至年月日时分第次询问地点:询问人:记录人:被询问人:______ 性别:年龄:身份证号:联系电话:工作单位:联系地址:我们是的执法人员,这是我们的执法证件,执法证件号码分别是_____________、,请你确认。
答:现依法向你询问,请如实回答所问问题,如果故意作伪证或者隐匿证据,将承担相应的法律责任。
执法人员与你有直接利害关系的,你可以申请回避。
问:答:被询问人签名及时间:询问人签名及时间:第页,共页附页第页,共页注:附页每页都应当注明页码,并由相关人员逐页签字或盖章确认。
行政处罚一般程序流程图《作业指导书》,行政处罚一般程序流程图行政处罚一般程序流程图管理部门:法制与综合业务处发现涉嫌违法行为发现涉嫌违法行为的部门进行立案不符立案条件的,退回各发立案审核现部门符合立案条件的,立案调查取证审查调查报告及证据材料事实清楚,证据确适用法律、事实不清,证据违法事法规错误的凿,适用法律、法规不足或者程序不实不能正确,程序合法的合法的成立的告知予以纠正重新调查撤销案件听取当事人陈述申辩或举行听证结案行政处罚审批下达行政处罚决定15日内向上级机关备案送达执行结案立卷归档第 1 页共 9 页《作业指导书》,行政处罚一般程序流程图1.文字说明:1.1发现涉嫌违法行为的部门:指根据管辖权限~包括级别管辖、地域管辖和指定管辖的要求~有权进行行政处罚立案工作的部门。
包括宁夏局有行政执法行为的部门~以及分支局有行政执法行为的部门。
1.2宁夏局直接管辖的案件~由发现涉嫌违法行为的部门在发现之日起10日内填写《行政处罚案件立案审批表》~经法综处审查报本局主管领导决定立案。
1.3调查阶段:宁夏局由法综处负责组织调查~分支局由其调查部门负责组织调查。
1,在决定立案之日起3日内指定案件调查人员~不得少于2人~与当事人有利害关系的应当回避。
2,调查时~应当出示执法证件、制作《调查笔录》等必要证据材料~需经当事人或见证人签字或盖章。
3,需要对证据进行先行登记保存的~应当经批准~签发《证据登记保存通知书》~填写《证据登记保存物品清单》~经当事人签字或盖章确认~并对物品加贴封条。
并在7日内作出处理决定。
采取登记保存、查封、扣押、封存等措施的~应当出具《登记保存,查封,,扣押,,封存,物品决定书》~并填写《登记保存,查封,,扣押,,封存,物品清单》~由调查人员、当事人、物品保管人签名或者盖章确认~并加贴封条或者加施封识。
有见证人在场的~可以请见证人签名或者盖章。
需要解除登记保存、查封、扣押、封存等措施的~应当向当事人出具《解除登记保存,查封,,扣押,,封存,物品决定书》~并填写《解除登记保存,查封,,扣押,,封存,物品清单》~由调查人员、当事人、物品保管人签名或者盖章确认~解除登记保存、第 2 页共 9 页《作业指导书》,行政处罚一般程序流程图查封、扣押、封存等措施。
新野县安全生产监督管理局行政权力运行流程图
一、行政审批类流程图
1、危险化学品乙类经营许可(无仓储、小包装)
2、烟花爆竹零售行政许可流程图
二、行政处罚类流程图(一般流程)
三、安全生产行政处罚流程图(简易程序)
四、安全生产行政处罚流程图(听证程序)
五、行政强制类流程图
1、责令立即排除隐患、暂时停产停业或者停止使用
2、查封或者扣押设施、设备、器材
3、责令保留导致职业病危害事故的作业、封存造成职业病
危害事故或者可能导致职业病危害事故发生的材料和设备
六、行政检查类流程图
七、其他权力类流程图
1、生产安全事故调查流程图
2 、经营第三类易制毒化学品、危险化学品重大危险源和生
产安全事故应急预案的备案
3、建设项目职业病危害预评价报告审核
4、职业病危害严重的建设项目防护设施设计审核
5、非煤矿山、危险化学品建设项目安全评价、安全设施设
计审核
6、非煤矿山、危险化学品安全生产许可证审核
八、先行登记保存证据流程图。