岗位轮换流程图模板
- 格式:doc
- 大小:36.00 KB
- 文档页数:1
集团公司调岗流程图说明调岗流程(005)1.员工调岗发起可员工本人,也可由部门经理发起。
2.员工调岗需经过原部门经理面谈及调入部门经理面谈同意后,由员工本人提交调岗申请单。
3.调岗申请单需相关部门经理审核签字。
4.本流程由员工本人负责执行。
调薪流程(006)1.员工调薪发起人为员工本人或所在部门经理。
2.调薪申请单由不部门经理填写,由部门经理负责执行流程。
3.调薪申请经批准后需本人签字确认后归档人力资源部。
离职流程(007)1.离职的发起人是员工本人或者部门经理。
2.员工本人提出离职需书面提交辞职信。
3.部门经理及人力资源部经理负责与辞职或者辞退员工面谈。
4.用人部门经理负责审批,确认工作交接完毕。
5.行政部经理确认物品已经归还,相应的门禁,邮箱已经撤销。
6.人力资源部经理确认员工离职手续结束,可转财务做离职清算。
7.总经理助理确认全部离职手续完成,离职清算符合公司相关规定。
8.离职流程的执行人为离职员工本人,各部门相关助理负责协助。
差旅流程(008)1.差旅流程的发起人是员工本人。
2.项目上员工出差,在部门经理签字前需项目负责人签字确认。
3.差旅报销范围及规定详见公司相关制度。
4.部门经理负责审批差旅报销的真实性,是否符合公司相关规定和制度。
5.行政部经理负责确认是否有行政部协助定的车票,机票或酒店,费用是否已经核算。
在报销单上标注三类情况(A没有通过行政部订票或订房,B通过行政部预定了车票,机票或房间,行政部没有支付相关票款,C通过行政部预定了车票,机票或房间,行政部已经支付相关票款)6.财务部审核票据的真实性,报销内容是否符合财务制度。
7.差旅流程的执行人是员工本人。
日常借款与销账(009-1)1.借款的发起人必须是部门经理。
2.借款凭证后需附借款说明3.财务部负责确认是否有资金可以出借。
4.总经理助理负责审核借款的合理性。
5.借款应及时到财务部销账,如在归还期以外仍未销账,需书面向财务部提供说明。
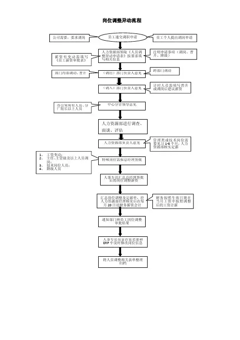
员工或部门向人力资源部提出岗位调整申请,并填写《人事变动表》
人力资源部接受申请
原部门负责人综合评估被调动人平时的部门工作表现后,意见或建议交人力资源部
面试合格后,人力资源部、原部门、申请人和用人部门负责人分别在《人事变动表》上签字确认。
向总经理递交四方确认后的《人事变动表》,待审批。
中小型公司员工内部调动流程图(样本)
人力资源部查阅被调动人以往的绩效考核
当员工被认定其绩效表现和工作能力无法
胜任现在岗位的工作需要时,用人部门有权安排其到人力资源部接受待岗培训(培训后如仍无法胜任相关工作岗位的,人力
未达成一致意见或面试不合格,
申请人继续留用原部门。
用人部门约见申请人面试,合格后,
人力资源部约见申请人、原部门和
总经理审批结束后,人力资源部向申请人、原部门和用人部门分别发布调动通知
员工办理原部门工作交接,人力资源部发布公司内部调动通告。
员工调动管理流程图员工调动管理流程图:优化组织结构,提升员工发展与企业效益流程图概述:员工调动是一项重要的人力资源管理活动,旨在优化组织结构,提升员工发展和企业效益。
本流程图将详细介绍员工调动管理的各个环节,包括需求分析、申请提交、审批流程、调动实施和后续跟踪。
流程图步骤:1. 需求分析:- 确定组织调动的目的和原因,例如组织重组、岗位优化或个人发展等。
- 分析岗位需求和员工能力,确定调动的岗位类型和要求。
2. 申请提交:- 员工向人力资源部门提交调动申请,包括个人简历、申请理由和期望调动岗位等。
- 人力资源部门收集并审核申请材料,确保申请符合组织需求和政策规定。
3. 审批流程:- 人力资源部门将调动申请提交给上级领导或相关部门负责人进行审批。
- 审批流程包括评估员工能力、岗位匹配度和调动影响等,确保调动符合组织战略和员工发展规划。
4. 调动实施:- 审批通过后,人力资源部门与相关部门协调安排调动的具体时间、岗位和工作内容。
- 通知员工调动结果,并协助员工完成相关手续,例如签订调动合同、办理薪资调整和福利变更等。
5. 后续跟踪:- 调动后,人力资源部门进行调动效果的跟踪和评估,包括员工适应情况、岗位表现和业绩改善等。
- 根据跟踪结果,提供相关培训和支持,帮助员工尽快适应新岗位并发挥潜力。
6. 结果反馈:- 根据调动效果和员工反馈,人力资源部门进行总结和改进,为未来的员工调动提供经验和指导。
流程图中的各个步骤相互关联,确保员工调动的顺利进行和有效管理。
通过优化组织结构和合理调动员工,企业可以提升员工发展和企业效益,实现人力资源的最大价值。
员工调动流程图员工调动流程图员工调动是人力资源管理中的重要环节,它涉及到员工的职位变动、部门调动以及地区调动等。
下面是员工调动的流程图:1. 调动申请阶段:- 员工向上级主管提交调动申请。
- 上级主管评估申请,决定是否支持调动。
2. 调动审批阶段:- 上级主管将调动申请提交给人力资源部门。
- 人力资源部门评估申请,决定是否批准调动。
- 如果调动涉及到薪资、福利等方面的变动,人力资源部门还需与财务部门协商确认。
3. 调动准备阶段:- 人力资源部门与员工沟通调动细节,包括新职位、新部门、新地点等。
- 人力资源部门与新部门负责人沟通,安排新员工的岗位培训计划。
- 人力资源部门与相关部门协调,完成员工档案、薪资、福利等方面的变动。
4. 调动执行阶段:- 员工正式调入新部门,开始履行新职责。
- 新部门负责人指导员工适应新环境,熟悉新工作内容。
5. 调动评估阶段:- 一定时间后,人力资源部门与新部门负责人进行调动评估。
- 考察员工在新岗位上的表现,是否适应新环境。
- 根据评估结果,人力资源部门与新部门负责人商讨是否需要进行进一步的培训或调整。
6. 调动结果阶段:- 人力资源部门将调动结果通知员工和相关部门。
- 如果调动成功,人力资源部门将更新员工档案和相关信息。
- 如果调动不成功,人力资源部门与员工沟通原因,并提供相应的解决方案。
员工调动流程图的目的是为了规范员工调动的程序,确保调动过程的公平、公正和透明。
通过明确每个阶段的责任和流程,可以提高员工调动的效率和准确性,同时也能够更好地满足员工的职业发展需求。
人事变动交接流程表通常包括以下步骤:
1. 人事变动通知:当员工发生职位变动、离职或转岗等情况时,人事部门需要及时通知相关部门和人员。
2. 交接计划制定:人事部门与离职员工或调岗员工共同制定交接计划,明确交接事项、交接时间、交接人等。
3. 交接事项准备:离职员工或调岗员工整理工作资料、文件、设备等,确保交接事项齐全。
4. 交接过程记录:在交接过程中,双方需详细记录交接事项的完成情况,以便日后查证。
5. 交接确认:交接完成后,双方需对交接事项进行确认,确保无遗漏。
6. 交接报告提交:离职员工或调岗员工将交接报告提交给人事部门,作为人事变动的依据。
7. 新岗位培训:对于调岗员工,人事部门需安排相关培训,帮助其尽快适应新岗位。
8. 工作调整:根据人事变动情况,调整相关工作分配、职责等。
9. 人事变动通知发布:人事部门将人事变动情况通知公司内部,以便其他员工了解。
10. 跟进与评估:人事部门需对人事变动后的工作情况进行跟进与评估,确保人事变动顺利进行。
中小型公司员工内部调动流程图(样本)
员工或部门向人力资源部提出岗位
调整申请,并填写《人事变动表》
人力资源部接受申
请 原部门负责人综合评估被调动人平时的部门工作表现后,意见或建议交人力资源部 人力资源部查阅被调动人以往的
绩效考核 用人部门约见申请人面试,合格后,人力资源部约见申请人、原部门和用人部门四方就申请问题交换意见。
面试合格后,人力资源部、原部门、申请人和用人部门负责人分别在《人事变动表》上签字确认。
向总经理递交四方确认后的《人事变动表》,待审批。
员工办理原部门工作交接,人力资源部发布公司内部调动通告。
总经理审批结束后,人力资源部向申请人、原部门和用人部门分别发布调动通知 未达成一致意见或面试不合格,申请人继续留用原部门。
当员工被认定其绩效表现和工作能力无法胜任现在岗位的工作需要时,用人部门有权安排其到人力资源部接受待岗培训(培训后如仍无法胜任相关工作岗位的,人力资源部经理可与当事人商量解除《劳动合同》)。
员工转岗流程图责任部门/人主要流程办理细节相关制度、表单店长、主管级店长、主管级经理级总裁人事主管行政部1、转岗员工应填写《员工岗位调动申请表》,如实填写转岗理由及相关信息;2、经申请人所在部门主管审核同意后;3、人事部审核,并填写申请人学历、教育培训、现岗位薪资等情况;3、接收部门主管审核同意并确认申请人岗位及主要工作职责;4、区域经理复核并提出参考试用薪资;(转正薪资根据转正考核情况核定)5、总经理审批并确认转岗后试用薪资;6、转岗员工有权知悉岗位变动后薪资情况,并签名确认是否同意转岗;7、表单送人事部存档,并与转岗人员重新签订人事合同。
«海博旺公司考勤管理制度»(新)«内部员工转岗制度»员工编制:批准:生效日期:年月日员工办理入职手续需要进行的工作一、必备条件:1、经面试合格,并正式录用。
2、完成入职手续:①提供有效身份证明文件——身份证或相关证明文件。
②提供任职资格证明文件——上岗资格证、毕业证(学历证明文件)。
③签订《劳动合同》及附件。
二、办理要求:1、员工申请职位:①本人填制《应聘申请表》。
②提交身份证(或有效身份证明文件)。
③提交任职资质证明——学历证明。
④提交上岗资质证明——特种岗位操作证(特殊岗位)。
2、人事部审核证件与资质:3、面试合格及有效批准:4、办理人事相关入职手续:①签订《劳动合同》及附件;②前一单位离职证明(或声明);;③编立档案——简历、复印:A身份证件、B任职资质证明、C上岗资格证(特殊工种);5、办理后勤相关手续①安排宿舍——住宿申请、外宿声明;②安排就餐——免费餐报食堂新增人数;6、入职培训①企业文化培训——住宿申请、外宿声明;②军训——免费餐报食堂新增人数;③本职岗位操作技能培训。
7、介绍至各部门。
8、安排进入所属部门,正式上岗。