公司内部管理流程图汇总
- 格式:doc
- 大小:314.50 KB
- 文档页数:34
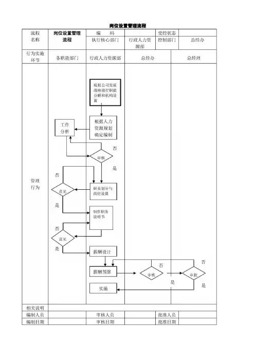
公司管理流程图大全提出内部调动申请部门负责人审核是填写内部调动申请表行政人力资源部审核是发布内部招聘信息是内部招聘申请审批是面试、考核是确定招聘人员是相关说明编制人员编制日期审核人员审核日期批准人员批准日期岗位设置管理流程:公司根据发展战略进行职能分解和机构设置,经行政人力资源部确定编制并制作职务说明书,经总经理意见后制定薪酬设计和薪酬预算,最后批准实施。
人员编制管理流程:各部门提出编制申请,XXX进行工作量分析,制定具体的人员编制并编制职位说明,经总经理办公会议审议后审核签批,最后执行编制。
增加编制申请流程:各用人部门提出增加编制的申请,XXX审核后进行内部或外部招聘,最终由总经理办公会议审议决策。
用人申请流程:用人部门因调动、流失等原因出现职位空缺,向部门负责人报告后填写用人申请表,行政人力资源部核实后进行招聘流程,最终由分管部门审核并批准实施。
公司内部招聘流程:员工原就任部门提出内部调动申请,部门负责人审核并填写内部调动申请表,行政人力资源部审核后发布内部招聘信息,经内部招聘申请审批后进行面试、考核,最终确定招聘人员。
与员工沟通时,必要时请XXX协调关键人员不应被调离,判定非关键人员应由用人部门、行政、XXX和公司员工共同决定。
在公司外部招聘时,应按照用工申请流程进行判断,决定是否外聘,对内发布招聘启事。
用人部门和人力资源部应提供相关支持进行面试和人员筛选,通过审核后通知职员并办理调动手续。
在公司内部招聘时,应按照用工申请流程进行判断,决定是否内聘,对外发布招聘启事。
用人部门和XXX应提供相关支持进行面试和人员筛选,通过审核后通知报到并进行入职流程。
在新员工入职流程中,行政人力资源部应配合行政部办理后勤工作、制度培训、签订试用合同等工作,用人部门和人力资源部应配合进行岗前培训、工作关系介绍和工作交接。
劳动合同管理流程中,应按照合同期满或试用期满进行考核、是否续签合同等决定,并在需要时进行辞退流程。
公司内部管理流程(大家都说很不错)目录1、行政-01 会议管理工作流程2、行政-02 固定资产管理流程3、行政-03 客户招待管理工作流程4、行政-04 办公用品/物料管理流程5、行政-05 办公设备管理流程6、行政-06 文书档案管理流程7、行政-07 档案借阅管理流程8、行政-08 收文管理工作流程9、行政-09 发文管理工作流程10、行政-10 名片印刷管理流程11、行政-11 宣传物料制作管理流程12、行政-12 宣传品/方案设计工作流程13、行政-13 印章使用管理流程14、储运-01 储运物流管理流程15、储运-02 发货配送工作流程16、人事-01 组织结构设计工作流程17、人事-02 人力资源规划工作流程18、人事-03 事档案管理工作流程19、人事-04 考勤管理工作流程20、人事-05 培训计划管理工作流程21、人事-06 员工招聘管理工作流程22、人事-07 员工录用管理工作流程23、人事-08 员工绩效考核管理工作流程24、人事-09 劳动合同管理工作流程25、人事-10 员工出差管理工作流程1、会议管理流程编号:行政-01-步骤表/流程图编制日期:2011-9-3此处会议性质为:招商会、展会、联谊会、客户答谢会等大型会议。
办公会议流程在“另注”中。
另注:公司内部办公会议流程:具体会议管理工作流程图如下:流程图:相关部门综合部相关领导2、固定资产管理流程编号:行政-02-步骤表/流程图编制日期:2011-9-3流程图:申请部门综合部相关领导3、客户招待管理工作流程编号:行政-03-步骤表/流程图编制日期:2011-08-09流程图:接待部门财务部门相关领导4、办公用品/物料管理流程编号:行政-04-步骤表/流程图编制日期:2011-08-09程图:申请部门综合部相关领导编号:行政-05-步骤表/流程图编制日期:2011-08-11程图:综合部综合部经理总经理编号:行政-06-步骤表/流程图编制日期:2011-08-11总人:综合部行政文员审核人:综合部经理审批人:总经理流程图:相关部门综合部相关领导编号:行政-07-步骤表/流程图编制日期:2011-08-12阅人:各部门申请人审批人:综合部经理、总经理保管人:综合部文员流程图:申请部门综合部相关领导编号:行政-08-流程图编制日期:2011-08-12 流程图:相关部门综合部相关领导编号:行政-09-流程图编制日期:2011-08-12 流程图:相关部门综合部相关领导编号:行政-10-步骤表/流程图编制日期:2011-08-13审批人:总经理制作人:行政文员流程图:申请部门综合部相关领导11、宣传物料制作管理流程编号:行政-11-步骤表/流程图编制日期:2011-08-13流程图:申请部门综合部相关领导12、宣传品/方案设计工作流程编号:行政-12-步骤表/流程图编制日期:2011-08-14流程图:相关部门企划设计部相关领导编号:行政-13-步骤表/流程图编制日期:2011-08-15审批人:总经理、综合部经理制作人:行政文员流程图:用印部门综合部相关领导编号:储运-01-步骤表/流程图编制日期:2011-08-16流程图:相关部门综合部财务部门15、发货配送工作流程编号:储运-02-步骤表/流程图编制日期:2011-08-16流程图:营销中心综合部财务部门16、组织结构设计工作流程编号:人事-01-步骤表/流程图编制日期:2011-08-17流程图:相关部门实施人事部设计公司管理层规划17、人力资源规划工作流程编号:人事-02-步骤表/流程图编制日期:2011-08-17流程图:人力资源现状人力资源规划结果和反馈18、人事档案管理工作流程编号:人事-03-步骤表/流程图编制日期:2011-08-18流程图:员工资料收集建立员工档案档案保管19、考勤管理工作流程编号:人事-04-步骤表/流程图编制日期:2011-08-20流程图:相关部门人事部相关领导编号:人事-05-步骤表/流程图编制日期:2011-08-20流程图:申请部门人事部相关领导编号:人事-06-步骤表/流程图编制日期:2011-08-21流程图:用人部门人事部相关领导编号:人事-07-步骤表/流程图编制日期:2011-08-2123、员工绩效考核管理工作流程编号:人事-08-步骤表/流程图编制日期:2011-08-22编号:人事-09-步骤表/流程图编制日期:2011-08-23流程图:用人部门人事部相关领导编号:人事-10-步骤表/流程图编制日期:2011-08-26流程图:出差部门综合部财务部门相关领导。
公司内部控制管理审批流程图下载温馨提示:该文档是我店铺精心编制而成,希望大家下载以后,能够帮助大家解决实际的问题。
文档下载后可定制随意修改,请根据实际需要进行相应的调整和使用,谢谢!并且,本店铺为大家提供各种各样类型的实用资料,如教育随笔、日记赏析、句子摘抄、古诗大全、经典美文、话题作文、工作总结、词语解析、文案摘录、其他资料等等,如想了解不同资料格式和写法,敬请关注!Download tips: This document is carefully compiled by theeditor.I hope that after you download them,they can help yousolve practical problems. The document can be customized andmodified after downloading,please adjust and use it according toactual needs, thank you!In addition, our shop provides you with various types ofpractical materials,such as educational essays, diaryappreciation,sentence excerpts,ancient poems,classic articles,topic composition,work summary,word parsing,copy excerpts,other materials and so on,want to know different data formats andwriting methods,please pay attention!深入理解:公司内部控制管理审批流程图在现代企业运营中,内部控制管理是保障企业运营效率、防范风险的重要机制。
XXXX有限公司内部管理流程目录1、行政-01 会议管理工作流程2、行政-02 固定资产管理流程3、行政-03 客户招待管理工作流程4、行政-04 办公用品/物料管理流程5、行政-05 办公设备管理流程6、行政-06 文书档案管理流程7、行政-07 档案借阅管理流程8、行政-08 收文管理工作流程9、行政-09 发文管理工作流程10、行政-10 名片印刷管理流程11、行政-11 宣传物料制作管理流程12、行政-12 宣传品/方案设计工作流程13、行政-13 印章使用管理流程14、储运-01 储运物流管理流程15、储运-02 发货配送工作流程16、人事-01 组织结构设计工作流程17、人事-02 人力资源规划工作流程18、人事-03 事档案管理工作流程19、人事-04 考勤管理工作流程20、人事-05 培训计划管理工作流程21、人事-06 员工招聘管理工作流程22、人事-07 员工录用管理工作流程23、人事-08 员工绩效考核管理工作流程24、人事-09 劳动合同管理工作流程25、人事-10 员工出差管理工作流程1、会议管理流程编号:行政-01-步骤表/流程图编制日期:2010-12-08此处会议性质为:招商会、展会、联谊会、客户答谢会等大型会议。
办公会议流程在“另注”中。
另注:公司内部办公会议流程:具体会议管理工作流程图如下:流程图:相关部门综合部相关领导2、固定资产管理流程流程图:申请部门综合部相关领导3、客户招待管理工作流程编号:行政-03-步骤表/流程图编制日期:2010-12-09财务部门相关领导流程图:接待部门程图:申请部门综合部相关领导程图:综合部综合部经理总经理汇总人:综合部行政文员 审核人:综合部经理 审批人:总经理流程图:编号:行政-07-步骤表/流程图编制日期:2010-12-12阅人:各部门申请人审批人:综合部经理、总经理保管人:综合部文员流程图:申请部门综合部相关领导编号:行政-08-流程图编制日期:2010-12-12 流程图:相关部门综合部相关领导9、发文管理工作流程编号:行政-09-流程图编制日期:2010-12-12 流程图:相关部门综合部相关领导10、名片印刷管理流程编号:行政-10-步骤表/流程图编制日期:2010-12-13审批人:总经理制作人:行政文员流程图:申请部门综合部相关领导11、宣传物料制作管理流程编号:行政-11-步骤表/流程图编制日期:2010-12-13流程图:申请部门综合部相关领导12、 宣传品/方案设计工作流程编号:行政-12-步骤表/流程图 编制日期:2010-12-14流程图: 相关部门企划设计部 相关领导13、印章使用管理流程编号:行政-13-步骤表/流程图编制日期:2010-12-15审批人:总经理、综合部经理制作人:行政文员流程图:用印部门综合部相关领导14、储运物流管理流程编号:储运-01-步骤表/流程图编制日期:2010-12-16流程图:相关部门综合部财务部门15、发货配送工作流程编号:储运-02-步骤表/流程图编制日期:2010-12-16流程图:营销中心综合部财务部门16、组织结构设计工作流程编号:人事-01-步骤表/流程图编制日期:2010-12-17流程图:相关部门实施人事部设计公司管理层规划17、人力资源规划工作流程编号:人事-02-步骤表/流程图编制日期:2010-12-17流程图:人力资源现状人力资源规划结果和反馈18、人事档案管理工作流程编号:人事-03-步骤表/流程图编制日期:2010-12-18流程图:员工资料收集建立员工档案档案保管19、考勤管理工作流程编号:人事-04-步骤表/流程图编制日期:2010-12-20流程图:相关部门人事部相关领导20、培训计划管理工作流程编号:人事-05-步骤表/流程图编制日期:2010-12-20流程图:申请部门人事部相关领导21、员工招聘管理工作流程流程图:用人部门人事部相关领导22、员工录用管理工作流程23、员工绩效考核管理工作流程24、劳动合同管理工作流程相关领导流程图:用人部门人事部财务部门相关领导流程图:出差部门综合部。
预算管理业务流程图1、预算编制流程图预算编制财政部门预算管理委员会财务部门业务部门开始部署预算编报工作组织预算编报工作落实预算编报工作部门负责人审核初审通过汇总、调整各部门预算预算建议数审核审核预算批复流程结束阶段1.预算编制2.预算上报审核不通过预算建议数不通过不通过2、预算批复流程图预算批复财政部门预算管理委员会财务部门业务部门开始下达预算控制数控制数初步分解审批不通过调整细化形成单位预算草案汇总平衡审定审批通过预算下达流程结束不通过通过阶段1.财政控制数下达2.内部控制数下达3.内部细化再报批不通过3、预算下达流程图预算下达财政部门预算管理委员会财务部门业务部门开始年度预算下达预算指标分解细化审定年度预算指标下达预算指标下达通知预算执行流程预算追加流程结束2.预算指标下达1.指标细化分解阶段4、预算追加流程图预算追加调整财政部门预算管理委员会财务部门业务部门开始提出追加调整申请预算追加调整申请表审核审批通过是否需财政审批通过调整预算下达批复否审批下达预算追加调整数追加预算指标匹配预算执行流程结束不通过不通过通过阶段2.预算追调批复不通过1.预算追加申请5、预算调整流程图预算调整决策机构单位负责人分管领导财务部门经办部门开始提出预算调整需求预算调整申请表汇总预算调整事项预算调整方案因项目发生终止、撤销、变更等引起预算调整审核否审批是审议否否否预算编制是否下达各处室执行结束阶段1.提出预算调整申请2.预算调整编制3.预算下达6、预算执行申请及执行流程图预算执行预算管理委员会财务部门业务部门1.预算执行申请开始是否需要申请执行是否借款否结束否资金支付流程是结束提出执行申请是预算招待申请单审定审批是否采购通过政府采购流程是资金支付流程结束通过不通过不通过否2.预算执行阶段7、决算管理业务流程图决算流程财政部门预算管理委员会财务部门业务部门开始数据准备统计预算的执行情况决算编制决算报告草案审定审批通过决算报告通过接受反馈接受反馈接受反馈绩效评价流程结束不通过阶段1.决算编制2.决算审批3.决算报告8、绩效评价流程图考评控制财政部门预算管理委员会财务部门业务部门开始预算执行监控跟踪、监控预算执行情况汇总、分析预算执行情况预算执行分析报告绩效评价报告审定审批通过不通过不通过绩效考评结果报告通过应用报告结果应用报告结果应用报告结果预算编制流程结束1.绩效考评表报审批阶段2.绩效考评结果反馈。
工作(运行)流程图表目录:一、管理流程1.决议2.执行3 .调动服从调动全体人员二、制度流程1、行政部监管2、总经办督察3、部门内部制度制度(行政部)反馈出台监管部门公司执行全体人员三、运营流程1、市场运营(市场部运营)2、业务运营3、公司部门运营监察监管运营下属配合监督管理区域监控校园(渠道)四、财务流程1、股东监察总经办管理2、财务运作管理监督抽查总经办下发监管审批核实部门报账财务经费五、人事流程1、管理2、部门股东会任命控制任命管理人事部负责考核监管组织人事招聘、面试、培训部门管理人员六、决议流程1、公司职务股东会下发总经办商议组织下发管理层会通知行政部下发执行监督部门管理执行人员七、会议流程1、股东会议(董事长组织)2、管理会议(行政部组织)八、考勤流程1、行政部监管,总经办督察2、部门内部总经办督查督查行政部监管考勤实施公司执行遵守部门人员九、市场流程1、市场部执行2、业务渠道总经办反馈行政部下发通知市场部监督执行区域(渠道)下发执行人员十、业务流程1、市场部执行2、财务部记录3、总经办监察办理流程:业务员对接业务主管下划总经办(监察)汇报业务流程:业务主管(接待)准备资料(填分期资料表、身份证、对接银行卡、学生证)业务部(办理)下划渠道部(产品对接)财务部(开发票、记录)。
公司管理流程图大全
岗位设置管理流程
2
·人员编制管理流程
4
·
增加编制申请流程
6
·用人申请流程
8
·公司内部招聘流程
10
·公司外部招聘流程
12
·
新员工入职流程
14
·劳动合同管理流程
16
·
新员工试用期满转正流程
18
·
岗位轮换流程
20
·
员工工作调动流程
22
·
职务任命流程
24
·
考勤管理流程
26
·员工加班申请流程
28
·员工请假管理流程
30
·员工出差管理流程
32
·绩效管理工作流程
34
·员工绩效考核流程
36
·薪酬方案审批流程
38
·工资发放流程
40
·员工奖励流程
42
员工申诉流程
44
·培训管理总体流程
46
·培训计划流程
48
·培训方案制定流程
50。
岗位设置管理流程•用人申请流程•公司内部招聘流程新员工入职流程程流程新员工试用期满编码受控状态岗位轮换流程流程岗位轮换编码受控状态流程员工工作调动编码受控状态员工工作调动流程流程~~ 员工工作调动编~~码~~ 受控状态流程职务任命编码受控状态流程~~ 职务任命编~~码~~ 受控状态名称行为实施环节管理行为相关说明编制人员编制日期流程各职能部门提出任命名单(部门负责人以下职位)执行核心部门行政人力资源控制部门部行政人力资源部制定晋升制度及各级人员任职资格考察是否下发任命通知存档备案总经办总经理办公会议总经理董事会否否审批审议是是否签发是否审议是审议任命除财务负责人之外的部门级管理人员提请任命主管、财务负责人任命公司经理下发任命通知否审议任命权限根据《公司法》而定。
此处任命范围,不包括股东会、董事会选举人员审核人员审核日期批准人员批准日期流程考勤管理编码受控状态流程员工加班申请编码受控状态•员工请假管理流程流程员工请假管理受控状态流程员工出差管理编码受控状态绩效管理工作流程编码受控状态执行核心部门行政人力资源部控制部门总经办流程名称审议签批 审核 执行奖励 档案记录审查核实相关说明 行为实施 环节 各职能部门 行政人力资源部 总经理办公会议 总经理编制人员 审核人员 批准人员 编制日期审核日期 批准日期 否是是否管理行为 否是否是 根据通知 精神,填写 考核表,进 行部门内 考制定考核制度 (含原则、措 施、指标、方汇总当期考核结 果,制定报告下达考核 通知编码受控状态流程名称员工奖励流程执行核心部门各职能部门控制部门总经办编码受控状态流程名称员工申诉流程执行核心部门行政人力资源部控制部门总经办流程名称编码受控状态执行核心部门行政人力资源部控制部门总经办培训管理总体流程•培训计划流程•岗前培训流程•外派培训管理流程•员工辞退审批流程同意 审 审 审 批 批 断 是否 接受结束行为实施 环节 管理 行为 相关说明 编制人员 编制日期辞职员工 I 员工离职 I 交接流程审核人员 审核日期 批准人员 批准日期 否 是 部门负责人 行政人力资源部 分管主管 总经理V同 不 同 意 超越权限 同意 不 同 意 同 意 非 正 常 ,'\正常判'— 再申请或申诉或仲 裁做思想 工作消 除问题 提前30天 提出申请 辞辞职原因调查 办理离母 职手续员工工作调动流程相关说明编制人员编制日期•员工离职交接流程流程名称员工离职交接流程编码受控状态执行核心部门各职能部门控制部门总经办行为实施环节各用人部门分管主管行政人力资源部总经办总经理管理行为员工离职交接流程1审核人员审核日期批准人员批准日期提出辞退报告原因调查审 审 审 批核核是结束是否 补充行为实施 环节管理 行为相关说明 编制人员 编制日期离职人员 部门负责人 审核人员 审核日期批准人员 批准日期财务部员工辞) 职审批I否部是招聘 流程是行政人力资源总经理 否否是否超越权限清退办公用 具等,结算 工资奖金部门与员 工签订离 职协议 填写工作 交接单实施工 作交接.审 阅。
内部控制和合同管理流程图2022年3月一、前言本文档旨在规范公司的内部控制和合同管理流程,确保公司的业务活动合法、合规、高效。
本文档涵盖了内部控制和合同管理的基本概念、职责分配、流程图、以及实施细则等方面的内容。
二、内部控制1.基本概念内部控制是指公司为实现业务目标而在企业内部建立的、运转良好的制度和管理机制,包括风险识别、风险评估、风险控制等方面的内容。
2.职责分配(1)执行内部控制的责任主体为全体员工,每一个员工都应当在其职责范围内执行内部控制。
(2)内部控制部门为公司的内部监管部门,负责内部控制的制定、实施、监督等方面的工作。
3.流程图内部控制的流程图如下所示:三、合同管理1.基本概念合同管理是指公司对所签订合同的执行过程进行管理,以确保其合法、合规、高效进行。
2.职责分配(1)合同管理部门为公司的合同管理部门,负责合同的起草、审核、签订、执行以及后续管理等方面的工作。
(2)每一个签订合同的部门或者人员需对其所签订的合同进行全面负责,确保合同的履行和执行符合法律法规及公司要求。
3.流程图合同管理的流程图如下所示:四、实施细则1.内部控制和合同管理的实施应当严格按照流程图执行,遵守公司各项管理制度和政策。
2.公司应当加强对内部控制和合同管理的监督,及时发现和纠正问题。
3.公司应当对内部控制和合同管理进行持续改进,提高管理水平和效率。
五、总结本文档是针对公司内部控制和合同管理流程所制定的指导性文件,其中涵盖了基本概念、职责分配、流程图、实施细则等方面的内容。
公司应当严格按照本文档执行,遵守相关的法律法规及公司政策,不断加强内部控制和合同管理,提高管理水平和效率。
简要注释如下:1. 内部控制:是指公司为实现业务目标而在企业内部建立的、运转良好的制度和管理机制。
2. 合同管理:是指公司对所签订合同的执行过程进行管理,以确保其合法、合规、高效进行。
3. 风险识别:是指通过对企业内外环境的分析,识别出可能会浮现的各种风险。
华为内控流程图一、华为公司组织结构图示总裁管理工程部决策、协调委员会总裁办公室审计部法律事物部研究开发系统生产系统市场系统财务系统行政部中中物进生市财管行基公培人研试料出产场务理政建关训力部部部口总总会会管部部部资部部部计计理源部部部部一、华为公司组织结构图示总裁管理工程部决策、协调委员会总裁办公室审计部法律事务处研究、开发系统生产系统市场系统财务系统行政系统中中物进生市财管人研试行基公培料出产场务理政建关训力部部部口总总会会部资部管部部部部计计理源部部部部Ⅱ-1二、华为公司管理职位设置及职责本公司管理职位分为以下四个层次:第一层次:“公司总裁”第二层次:各大系统,职位名称“系统总裁”第三层次:各一级部门,职位名称“部门总监”第四层次:各二级部门,职位名称“部门经理”决策、协调委员会组成人员:公司总裁、各系统总裁、各部总监及各有关专业资深顾问。
主要任务:a确定公司的战略发展方向、经营理念;b产品开发、市场拓展的战略规划;c制定人力资源开发、管理、运用策略;d财经管理;议事方式:a常规会议议事:每两周一次;b临时会议议事:由各委员提议;主任委员视议题缓急之轻重程度予以批准后即可召开;会议须有议程;各委员会前须有准备;会议结论力求确定可行。
总裁办公室职位名称:总裁办公室主任主要任务:协助公司总裁,完成各项日常行政事务工作,负责总裁与各系统之间的信息沟通工作,负责各系统之间的沟通与协调工作。
Ⅱ-2管理工程部职位名称:管理工程总监主要任务:承担公司管理工程项目的规划和组织实施工作,为公司各业务系统及部门提供专项管理辅导。
审计部职位名称:审计总监主要任务:在公司总裁的直接领导下,对公司经营管理的各方面各环节进行独立监督和评价,以确定其是否遵循了公司的方针、政策和计划,是否符合公司规定的程序和标准,是否有效和经济地使用了资源,是否正在实现公司的目标。
法律事务部职位名称:法律事务总监主要任务:负责公司日常法律事务的处理,公司对外纠纷、诉讼事宜的处理,为公司的对外投资各项制度改革等重大事宜提供法律意见,起草或审订公司重要的法律文件。
商贸有限公司内部管理流程1、会议管理流程编号:行政-01-步骤表/流程图编制日期:2011-11-12此处会议性质为:客户答谢会等大型会议。
办公会议流程在“另注”中。
另注:公司内部办公会议流程:具体会议管理工作流程图如下:流程图:相关部门行政部相关领导2、固定资产管理流程编号:行政-02-步骤表/流程图编制日期:2011-11-12流程图:申请部门行政部相关领导3、客户招待管理工作流程编号:行政-03-步骤表/流程图编制日期:2011-11-12流程图:接待部门财务部门相关领导4、办公用品/物料管理流程编号:行政-04-步骤表/流程图编制日期:2011-11-12流程图:申请部门行政部相关领导5、办公设备管理流程编号:行政-05-步骤表/流程图编制日期:2011-11-12流程图:行政部行政总监总经理6、文书档案管理流程编号:行政-06-步骤表/流程图编制日期:2011-11-12汇总人:行政文员审核人:行政总监审批人:总经理流程图:相关部门行政部相关领导7、档案借阅管理流程编号:行政-07-步骤表/流程图编制日期:2011-11-12查阅人:各部门申请人审批人:行政总监、总经理保管人:行政文员流程图:申请部门行政部相关领导8、收文管理工作流程编号:行政-08-流程图编制日期:2011-11-12流程图:相关部门行政部相关领导9、发文管理工作流程编号:行政-09-流程图编制日期:2011-11-12流程图:相关部门行政部相关领导10、名片印刷管理流程编号:行政-10-步骤表/流程图编制日期:2011-11-13审批人:总经理制作人:行政文员流程图:申请部门行政部相关领导11、印章使用管理流程编号:行政-11-步骤表/流程图编制日期:2011-11-15审批人:总经理、行政总监制作人:行政文员流程图:用印部门行政部相关领导12、组织结构设计工作流程编号:人事-01-步骤表/流程图编制日期:2011-11-17流程图:相关部门实施行政部设计公司管理层规划13、人力资源规划工作流程编号:人事-02-步骤表/流程图编制日期:2011-11-17流程图:人力资源现状人力资源规划结果和反馈14、人事档案管理工作流程编号:人事-03-步骤表/流程图编制日期:2011-11-16流程图:员工资料收集建立员工档案档案保管15、考勤管理工作流程编号:人事-04-步骤表/流程图编制日期:2011-11-20流程图: 相关部门 行政部 相关领导16、 培训计划管理工作流程编号:人事-05-步骤表/流程图 编制日期:2011-11-16流程图:申请部门行政部相关领导17、员工招聘管理工作流程编号:人事-06-步骤表/流程图编制日期:2011-11-16流程图:用人部门行政部相关领导18、员工录用管理工作流程编号:人事-07-步骤表/流程图编制日期:2011-11-1619、员工绩效考核管理工作流程编号:人事-08-步骤表/流程图编制日期:2011-11-1620、劳动合同管理工作流程编号:人事-09-步骤表/流程图编制日期:2011-11-16流程图:用人部门行政部相关领导21、员工出差管理工作流程编号:人事-10-步骤表/流程图编制日期:2011-11-16流程图:出差部门行政部财务部门相关领导22、订单流程图订单流程图23、提前入库流程图提前入库流程图24、强配品项分配流程图强配品项分配流程图25 车辆维修流程图修理厂物流部行政部财务部相关领导驾驶员车队长总监。
公司内部管理流程(大家都说很不错)
目录
1、行政-01 会议管理工作流程
2、行政-02 固定资产管理流程
3、行政-03 客户招待管理工作流程
4、行政-04 办公用品/物料管理流程
5、行政-05 办公设备管理流程
6、行政-06 文书档案管理流程
7、行政-07 档案借阅管理流程
8、行政-08 收文管理工作流程
9、行政-09 发文管理工作流程
10、行政-10 名片印刷管理流程
11、行政-11 宣传物料制作管理流程
12、行政-12 宣传品/方案设计工作流程
13、行政-13 印章使用管理流程14、储运-01 储运物流管理流程
15、储运-02 发货配送工作流程
16、人事-01 组织结构设计工作流程
17、人事-02 人力资源规划工作流程
18、人事-03 事档案管理工作流程
19、人事-04 考勤管理工作流程
20、人事-05 培训计划管理工作流程
21、人事-06 员工招聘管理工作流程
22、人事-07 员工录用管理工作流程
23、人事-08 员工绩效考核管理工作
流程
24、人事-09 劳动合同管理工作流程
25、人事-10 员工出差管理工作流程
1、会议管理流程
编号:行政-01-步骤表/流程图编制日期:2011-9-3
此处会议性质为:招商会、展会、联谊会、客户答谢会等大型会议。
办公会议流程在“另注”中。
另注:公司内部办公会议流程:
具体会议管理工作流程图如下:
流程图:相关部门综合部相关领导
2、固定资产管理流程
编号:行政-02-步骤表/流程图编制日期:2011-9-3
流程图:申请部门综合部相关领导
3、客户招待管理工作流程
编号:行政-03-步骤表/流程图编制日期:2011-08-09
流程图:接待部门财务部门相关领导
4、办公用品/物料管理流程
编号:行政-04-步骤表/流程图编制日期:2011-08-09
流程
图: 申请部
门 综合部 相关领导
5、 办公设备管理流程
编号:行政-05-步骤表/流程图 编制日期:2011-08-11
程
图:
综
合
部
综
合
部
经
理总经理
6、文书档案管理流程
编号:行政-06-步骤表/流程图编制日期:2011-08-11
总
人:
综
合
部
行
政
文
员
审
核人:综合部经理审批人:总经理
流程图:相关部门综合部相关领导
7、档案借阅管理流程
编号:行政-07-步骤表/流程图编制日期:2011-08-12
阅
人:
各
部
门
申
请
人
审
批
人:
综合部经理、总经理保管人:综合部文员
流程图:申请部门综合部相关领导
8、收文管理工作流程
编号:行政-08-流程图编制日期:2011-08-12流程图:相关部门综合部相关领导
9、发文管理工作流程
编号:行政-09-流程图编制日期:2011-08-12流程图:相关部门综合部相关领导
10、名片印刷管理流程
编号:行政-10-步骤表/流程图编制日期:2011-08-13
审批人:总经理制作人:行政文员
流程图:申请部门综合部相关领导
11、宣传物料制作管理流程
编号:行政-11-步骤表/流程图编制日期:2011-08-13
流程图:申请部门综合部相关领导
12、宣传品/方案设计工作流程
编号:行政-12-步骤表/流程图编制日期:2011-08-14
流程图:相关部门企划设计部相关领导
13、印章使用管理流程
编号:行政-13-步骤表/流程图编制日期:2011-08-15
审批人:总经理、综合部经理 制作人:行政文员
流程图: 用印部门 综合部 相关领导
14、 储运物流管理流程
编号:储运-01-步骤表/流程图
编制日期:2011-08-16
流程图:相关部门综合部财务部门
合同签订
15、发货配送工作流程
编号:储运-02-步骤表/流程图编制日期:2011-08-16
流程图:营销中心综合部财务部门
16、组织结构设计工作流程
编号:人事-01-步骤表/流程图编制日期:2011-08-17
流程图:相关部门实施人事部设计公司管理层规划
17、人力资源规划工作流程
编号:人事-02-步骤表/流程图编制日期:2011-08-17
流程图:人力资源现状人力资源规划结果和反馈
18、人事档案管理工作流程
编号:人事-03-步骤表/流程图编制日期:2011-08-18
流程图:员工资料收集建立员工档案档案保管
19、考勤管理工作流程
编号:人事-04-步骤表/流程图编制日期:2011-08-20
流程图: 相关部门 人事部 相关领导
20、 培训计划管理工作流程
编号:人事-05-步骤表/流程图
编制日期:2011-08-20
流程图:申请部门
人事部相关领导
21、员工招聘管理工作流程
编号:人事-06-步骤表/流程图编制日期:2011-08-21
流程图:用人部门人事部相关领导
22、员工录用管理工作流程
编号:人事-07-步骤表/流程图编制日期:2011-08-21
23、员工绩效考核管理工作流程
编号:人事-08-步骤表/流程图编制日期:2011-08-22
24、劳动合同管理工作流程
编号:人事-09-步骤表/流程图编制日期:2011-08-23
流程图: 用人部门 人事部 相关领导
25、 员工出差管理工作流程
编号:人事-10-步骤表/流程图
编制日期:2011-08-26
流程图:出差部门综合部财务部门相关领导。