质量控制流程管理大全(18个doc)20
- 格式:doc
- 大小:59.50 KB
- 文档页数:4
一·目的为提高员工在工作过程中的质量自主管理意识,加强质量控制,将质量控制过程异常及异常损失降到最低范围,同时保证在处理质量控制过程异常及发生异常损失时有章可循,本着“风险共担,利益共享”的原则,制定本管理制度。
二·范围适用于本公司所有与质量控制及异常处理相关的过程。
三·职责3.1生产中心品质组:负责在质量控制异常发生的当日,组织分析或填写《品质异常处理报告》;核算质量异常损失金额,监督责任车间责任人及处罚金额的落实情况;验证异常改善的效果。
3.2业务部:负责以书面、电邮或ERP系统中发出客户投诉单形式提供客户抱怨的信息至品质组。
3.3生产中心各车间:负责反馈各工序所出现的质量异常信息和对质量异常进行调查分析、责任落实处理及改善措施的实施。
四·质量异常损失的定义因供应商/外协商或公司内部员工主客观原因违反《质量控制管理制度》及《供应商/外协质量保证协议》的相关条款而产生的经济损失。
五.质量异常损失的核算方法5.1供应商/外协商的质量异常损失核算:直接材料费、菲林费、印版费、外协加工费、工时费(以10元/小时计)、运费及其它产品异常产生的费用,将以上实际发生的项目费用相加。
5.2内部的质量异常损失核算:直接材料费、菲林费、印版费、外协加工费,将以上实际发生的项目费用相加。
5.3内部原因导致的订单欠数或折价的质量异常损失按直接销售价格计算。
5.4所有内部的质量异常损失扣款总额上限以不超过责任员工当月工资的1/3为准。
六·质量处罚规定及责任承担规则6.1各部门/车间异常分类及责任承担规则6.1.1业务部:1、因业务员提供的资料有误或确认错误,而生产部门凭资料无法发现错误造成的质量损失,业务部承担100%责任,以损失金额的50%扣罚责任业务员。
2、因业务提供资料错(在操作标准执行中可发现)或订单信息不明确,但由于生产过程工作粗心未能发现错误或未反馈确认而造成质量损失的,业务部承担70%责任(责任业务员以70%损失金额的50%扣款),生产中心承担30%责任(如存在多个车间则进行平均责任分摊),对生产操作责任人以部门/车间承担损失金额的50%进行扣款。
质量控制流程标题:质量控制流程引言概述:质量控制流程是指企业为保证产品或服务质量而制定的一系列规范和步骤。
通过严格执行质量控制流程,企业可以确保产品或服务的一致性和稳定性,提升客户满意度,增强市场竞争力。
本文将详细介绍质量控制流程的五个部分。
一、质量控制流程的制定1.1 确定质量标准:根据产品或服务的特性和客户需求,制定明确的质量标准,包括外观、功能、性能等方面。
1.2 制定质量控制计划:根据质量标准,制定质量控制计划,明确质量控制的流程、责任人和时间节点。
1.3 确定质量控制流程:明确质量控制的各个环节和步骤,确保每个环节都能被有效监控和控制。
二、质量控制流程的执行2.1 严格执行质量控制计划:质量控制计划是质量控制的基础,必须严格执行,确保每个步骤都按照计划进行。
2.2 完善质量控制记录:记录每个环节的执行情况和结果,及时发现和解决问题,确保质量控制的有效性。
2.3 培训和监督员工:员工是质量控制的执行者,必须接受相关培训,提高执行质量控制流程的能力和意识。
三、质量控制流程的监控3.1 设立质量控制监控点:在关键环节设立监控点,监测质量指标,及时发现异常情况。
3.2 定期进行内部审核:定期对质量控制流程进行内部审核,评估执行情况和效果,及时调整和改进流程。
3.3 建立反馈机制:建立质量问题反馈机制,收集客户反馈和投诉,及时处理并改进质量控制流程。
四、质量控制流程的改进4.1 分析质量问题根本原因:对质量问题进行分析,找出根本原因,避免问题再次发生。
4.2 提出改进措施:根据问题分析结果,提出改进措施,调整质量控制流程,提升产品或服务质量。
4.3 实施改进措施:将改进措施落实到质量控制流程中,确保改进措施的有效性和持续性。
五、质量控制流程的评估5.1 设立质量控制绩效指标:根据质量目标和标准,设立质量控制绩效指标,评估质量控制流程的有效性。
5.2 进行质量控制绩效评估:定期对质量控制流程进行绩效评估,分析绩效指标的达成情况,发现问题和改进空间。
质量控制管理程序质量控制管理程序简介质量控制管理程序是指在生产过程中,通过采取一系列的管理措施和控制方法,以确保产品或服务符合预期质量要求的管理程序。
质量控制管理程序是企业质量管理体系的核心部分,对于提高产品质量、降低生产成本、提升客户满意度具有重要作用。
目标质量控制管理程序的目标是确保产品或服务的质量符合标准和客户需求,通过提供一致的质量管理流程来保证产品或服务的稳定和可持续性。
流程质量控制管理程序一般包括以下流程:1. 规划阶段:确定质量控制管理程序的目标、范围和资源需求。
制定质量控制计划,包括质量指标、质量检查点和评估方法。
2. 实施阶段:按照质量控制计划执行质量控制活动。
这包括质量检查、质量测试、质量评估等。
3. 监控阶段:对质量控制过程进行监控和评估,并进行必要的纠正措施。
这可以通过质量审查、数据分析和监测指标来实现。
4. 改进阶段:根据质量监控结果,进行持续改进。
这包括修改和优化质量控制程序,以提高产品或服务的质量。
方法质量控制管理程序可以采用以下方法:1. 标准化:通过制定和遵守一系列标准和规范,确保产品或服务具有一致的质量。
2. 过程控制:通过定义和管理生产过程中的关键环节和控制点,确保产品或服务的稳定性和一致性。
3. 数据分析:通过收集、分析和解释产品或服务的质量数据,识别问题和改进机会。
4. 培训和教育:提供必要的培训和教育,确保员工具备进行质量控制的知识和技能。
5. 团队合作:建立跨职能的质量控制团队,促进信息共享和问题解决。
重要性和好处质量控制管理程序的重要性和好处包括:1. 提高产品或服务质量:通过质量控制管理程序,可以及时发现和纠正生产过程中的问题,提高产品或服务的质量。
2. 降低生产成本:质量控制管理程序可以帮助企业减少次品率和损失,降低生产成本。
3. 改善客户满意度:通过提供符合预期质量要求的产品或服务,提升客户满意度,增加客户忠诚度。
4. 建立企业声誉:高质量的产品或服务可以树立企业的良好声誉,提高市场竞争力。
质量控制制度及控制流程(完整版)1. 引言本文档旨在规范质量控制制度及控制流程,有效提升产品和服务的质量水平,确保客户满意度。
2. 质量控制制度2.1 质量目标确立明确的质量目标是质量控制的起点。
我们的质量目标是提供高质量的产品和服务,满足客户需求,最大限度地减少缺陷和客户投诉。
2.2 质量策略制定质量策略是为了达成质量目标。
我们的质量策略包括:- 以客户为中心,满足客户需求和期望;- 遵循相关法律法规和标准要求;- 强化内部沟通和协作,确保质量问题及时发现和解决;- 持续改进,不断提升质量管理水平。
2.3 质量责任在质量控制制度中,明确各部门和职责人员的质量责任非常重要。
以下是各部门的主要质量责任:- 管理层:制定质量目标和策略,为质量控制提供资源和支持;- 部门质量负责人:负责各部门的质量控制并定期报告;- 员工:遵守质量控制制度,积极参与质量改进活动。
2.4 质量培训提供全员的质量培训是确保质量控制顺利进行的关键。
我们将定期组织培训,包括但不限于以下内容:- 产品和服务质量要求的理解和落实;- 缺陷预防和纠正的方法和技巧;- 质量工具和技术的应用。
3. 质量控制流程3.1 质量计划在项目开始之前制定质量计划,明确质量控制的目标、范围、方法和资源。
3.2 质量检查通过定期的质量检查来评估产品和服务的质量水平是否符合要求:- 进行抽样检查,检验产品的功能和性能;- 审查过程文件和数据,确保质量控制过程符合相关要求;- 制定并进行内部审核,发现潜在问题并提出改进措施。
3.3 缺陷管理发现缺陷后,需要及时进行记录、分析和解决:- 建立缺陷管理系统,记录和跟踪缺陷的整个处理过程;- 发起缺陷分析并找出根本原因;- 制定改进措施并检查其有效性。
3.4 持续改进我们鼓励员工积极参与质量改进活动,不断提升产品和服务的质量水平:- 收集并分析客户投诉和反馈,找出潜在问题;- 制定改进计划,并对改进措施进行跟踪评估;- 定期召开质量改进会议,分享经验和最佳实践。
质量控制流程标题:质量控制流程引言概述:质量控制流程是指企业为保证产品或者服务质量而制定的一系列规范和步骤。
通过严格执行质量控制流程,企业可以确保产品或者服务的一致性和稳定性,提升客户满意度,增强市场竞争力。
本文将详细介绍质量控制流程的五个部份。
一、质量控制流程的制定1.1 确定质量标准:根据产品或者服务的特性和客户需求,制定明确的质量标准,包括外观、功能、性能等方面。
1.2 制定质量控制计划:根据质量标准,制定质量控制计划,明确质量控制的流程、责任人和时间节点。
1.3 确定质量控制流程:明确质量控制的各个环节和步骤,确保每一个环节都能被有效监控和控制。
二、质量控制流程的执行2.1 严格执行质量控制计划:质量控制计划是质量控制的基础,必须严格执行,确保每一个步骤都按照计划进行。
2.2 完善质量控制记录:记录每一个环节的执行情况和结果,及时发现和解决问题,确保质量控制的有效性。
2.3 培训和监督员工:员工是质量控制的执行者,必须接受相关培训,提高执行质量控制流程的能力和意识。
三、质量控制流程的监控3.1 设立质量控制监控点:在关键环节设立监控点,监测质量指标,及时发现异常情况。
3.2 定期进行内部审核:定期对质量控制流程进行内部审核,评估执行情况和效果,及时调整和改进流程。
3.3 建立反馈机制:建立质量问题反馈机制,采集客户反馈和投诉,及时处理并改进质量控制流程。
四、质量控制流程的改进4.1 分析质量问题根本原因:对质量问题进行分析,找出根本原因,避免问题再次发生。
4.2 提出改进措施:根据问题分析结果,提出改进措施,调整质量控制流程,提升产品或者服务质量。
4.3 实施改进措施:将改进措施落实到质量控制流程中,确保改进措施的有效性和持续性。
五、质量控制流程的评估5.1 设立质量控制绩效指标:根据质量目标和标准,设立质量控制绩效指标,评估质量控制流程的有效性。
5.2 进行质量控制绩效评估:定期对质量控制流程进行绩效评估,分析绩效指标的达成情况,发现问题和改进空间。
1。
目的:规范和指导本公司品控部在质量控制方面的管理流程。
2。
适用范围:适用于本公司产品从来料到成品出入库的整个生产活动过程。
3。
定义:3.1首件:①批次生产的前三件产品;②换班后生产的前三件产品;③设备经维修或调试后所生产的前三件产品。
3。
2关键工序: 指对产品质量起决定性作用的工序.。
3.3特殊工序:指通过检验和试验难以准确评定其质量的过程。
3.4可靠性:产品在规定的条件下、在规定的时间内完成规定的功能的能力。
4。
职责和权限:4。
1品控部IQC:负责编制来料检验标准,并对来料实施检验,依检验结果作出判定,并对来料不良品质问题与供应商进行沟通,跟踪不合格来料的改善和验证。
4。
2品控部IPQC:负责编制生产过程中需要的检验作业指导文件,对生产过程中的产品质量实施控制,并组织对检验中发现的问题进行分析和处理,并对生产异常的处理进行跟进和验证。
4。
3品控部QA:负责编制成品检验作业指导文件,对成品实施质量控制,并组织对检验中发现的问题进行分析和处理,并对异常的处理进行跟进和验证。
负责成品最终放行的判定。
4.4品控部经理:负责品保部相关检验标准、作业指导文件的批准。
负责自主产品、外购件和外购检验设备的品质评定,及合格供应商评定,生产品质监管等工作。
对涉及产品质量的相关事项和判定拥有最终判定权利.5.工作流程图:(见附件1)6。
工作程序和内容:6。
1来料检验:6。
1.1材料接收6.1。
1.1材料入库、储存、搬运、防护依《物料控制管理程序》执行;6.1。
1.2物料清单(BOM)中标注的A类物料,仓库人员针对来料核对其厂商名、厂商代号、订单代号、品名、交货数量等并作来料暂收,并开据《送检单》(填写物料基本信息)送检到IQC;送检时依据采购提供该物料的紧急信息标注是否加急。
6.1。
1.3物料清单(BOM)中标注的B、C类物料,仓库人员针对来料核对其厂商名、厂商代号、订单代号、品名、交货数量等作来料暂收。
并开据《送检单》(填写物料基本信息)到IQC;送检时依据采购提供该物料的紧急信息标注是否加急.6.1.2来料检验6.1.2.1 A类物料的检验:6。
质量控制管理
(一)质量管理标准表
产品名称:
(二)质量标准变动表
(三)产品质量管理表
(四)质量因素变动表
编号:填写日期:
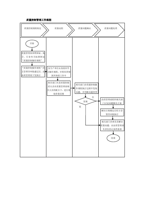
1.质量控制管理工作流程
(八)QC小组资料登记表
(九)QC小组会议报告表
填写日期:
(十)QC小组活动计划表
(十一)QC小组活动记录表
(十二)QC小组活动报告表
填写日期:
(十三)QC小组活动成果评审表
4.QC小组组织建立流程
5.QC小组活动组织流程
(十六)整理和整顿活动检查表
姓名:填写日期:
(十七)整理和整顿效果检查表
姓名:
填写日期:
(十八)清扫和清洁活动检查表
姓名:填写日期:
(十九)清扫和清洁效果检查表
姓名:填写日期:
(二十)素养活动检查表
姓名:填写日期:
(二十一)素养效果检查表
姓名:填写日期:。
质量控制流程质量控制是一个组织内部的关键过程,旨在确保产品或服务达到预期的质量标准。
质量控制流程是一系列经过规划和执行的步骤,以确保产品或服务在生产过程中的各个阶段都符合质量要求。
下面是一个标准格式的质量控制流程的详细描述。
1. 质量目标和标准的制定在质量控制流程开始之前,首先需要明确质量目标和标准。
这些目标和标准应该是可衡量的,并与组织的战略目标和客户需求相一致。
例如,一个制造公司的质量目标可能是将产品的不良率控制在1%以下。
2. 质量计划的制定制定质量计划是质量控制流程的关键步骤之一。
质量计划应包括质量控制的具体措施和方法,以及质量控制的时间表和责任分工。
例如,质量计划可能包括定期的质量检查、产品测试和员工培训等措施。
3. 质量控制的实施在质量控制流程的实施阶段,各项质量控制措施将按照质量计划的要求进行执行。
这可能包括原材料的检验、生产过程的监控、产品的抽样检测等。
质量控制的实施需要有专门的人员和设备来支持。
4. 数据收集与分析在质量控制流程中,数据的收集与分析是非常重要的一步。
通过收集和分析质量数据,可以评估产品或服务的质量水平,并及时发现问题和改进机会。
例如,可以使用统计方法来分析产品的不良率和故障率,并找出造成质量问题的主要原因。
5. 问题解决与改进当质量问题出现时,质量控制流程应该能够及时解决问题并采取纠正措施。
这可能包括对不良产品进行返工或报废,对生产过程进行调整,以及对员工进行培训等。
同时,质量控制流程也应该能够从质量问题中吸取教训,并不断改进产品或服务的质量。
6. 质量审核与认证质量控制流程的最后一步是质量审核与认证。
通过定期的质量审核,可以评估质量控制流程的有效性,并确保其符合相关的质量标准和要求。
一些组织还可能选择进行质量认证,以证明其质量控制流程符合国际标准,如ISO 9001。
总结:质量控制流程是一个组织内部的关键过程,通过一系列的步骤来确保产品或服务符合质量要求。
这些步骤包括质量目标和标准的制定、质量计划的制定、质量控制的实施、数据收集与分析、问题解决与改进,以及质量审核与认证。
一、内部质量管理控制流程(一)、原材料外协件进货检验⑴、原材料由物流部部采购员按照经评审后确认的原材料合格供应商名录”组织比价采购。
⑵、原材料到厂后由库管员清点数量并确认无误后入库,,待检标识”,并开具原材料进货检验通知”一式三份,交检查员依据原材料检验指导为,在两个工作日内对进货原材料进行材料包装、标识(确认供货厂家、生产日期、批次)等外观检验。
如合格,在“进货检验通知单”上加盖检查员合格印章并签字,一份库管员留存,一份交采购员备案,另一份检查员存档备查进货检验手续完成后取消“待检标识” 库管员填写原材料标识卡,登记原材料出入库统计台”,按先进先出原则组织正常出库。
如不合格,检查员在原材料进货检验通知单上签字确认后,由库管员反馈物流采购部组织退、换货,并重新组织二次采购。
⑶、由技术质量部制定供应商年度评审计划和临时评审计蛤同物流采购人员定期对供应商供货能力进行评审,对不具备评审条件的中间商进行资质审核,形成供应商档案。
(二)、注塑件检验1、首末件检验⑴、批次首件检验检查员、操作者、工艺员依据图纸对每批次首模进行尺寸、观检验,并如实登记产品首末件确认书'(注明批次首件)当班完成并做好对比检验(填写检查员工作日志)后,由检查员做好标识(标识应注明产品名称、零件号、批号、腔号、操作者)并三方会签后,由检查员负责保存,直至本批次生产过程完毕,进行批次首末件对比后,首件交操作者作为合格件入库。
检验合格后,工艺员应将本批次首模重要工艺尺寸(如温度、时间、压力、背压、模温等)记录交接班记录上。
⑵、班次首件检验检查员、操作者、工艺员每天每班次分别对首模进行全腔产品尺寸、外观检验,并如实登记“产品首末件确认”。
如合格,将首件袋装封存,做合格标识,置于首件摆放架内,作为日、夜班操作者自检标准件,由操作者负责保管首件,下一班次交接时,由班长、操作者、工艺员共同交接,并登记交接班记录。
待上班次首件与下班次首件完成对比检验后,上班次首件由当班操作者作为合格件包装入库。
质量控制流程一、引言质量控制是确保产品或者服务达到预期质量标准的关键过程。
一个有效的质量控制流程能够匡助组织提高产品或者服务的质量,减少缺陷率,提高客户满意度,并最终提升组织的竞争力。
本文将详细介绍质量控制流程的标准格式。
二、质量控制流程的步骤1. 设定质量标准在质量控制流程开始之前,首先需要明确产品或者服务的质量标准。
这些标准应该基于客户需求、行业标准和组织内部的要求。
例如,对于一个创造企业,质量标准可能包括产品的尺寸、外观、功能等方面的要求。
2. 制定质量控制计划制定质量控制计划是质量控制流程的重要一步。
质量控制计划应该明确质量控制的目标、方法、频率和责任人。
例如,可以使用抽样检验、统计过程控制等方法来监控质量。
3. 进行质量检验质量检验是质量控制流程的核心环节。
通过对产品或者服务进行检验,可以发现潜在的缺陷,并及时采取纠正措施。
质量检验可以包括外观检查、功能测试、性能评估等方面的内容。
检验可以由专门的质量控制人员或者经过培训的员工进行。
4. 记录和分析质量数据在质量控制流程中,记录和分析质量数据是非常重要的。
通过记录质量数据,可以及时发现质量问题,并分析问题的根本原因。
常用的质量数据包括缺陷率、不合格品数、客户投诉数等。
分析质量数据可以使用统计方法、质量工具等。
5. 采取纠正措施当发现质量问题时,需要及时采取纠正措施。
纠正措施可以包括修复缺陷、改进工艺、培训员工等。
纠正措施应该根据问题的严重程度和影响范围进行评估,并及时跟踪和验证纠正效果。
6. 持续改进质量控制流程是一个不断改进的过程。
在质量控制流程中,应该建立反馈机制,采集和分析客户反馈、员工建议等信息,以不断改进产品或者服务的质量。
持续改进可以通过质量管理工具如PDCA循环、六西格玛等来实现。
三、质量控制流程的关键要素1. 质量标准的明确性质量标准应该明确、具体,并能够量化。
惟独明确的质量标准才干够为质量控制流程提供明确的目标。
2. 质量控制计划的有效性质量控制计划应该能够全面、有效地监控质量。
质量控制管理及流程质量控制管理及流程1·概述质量控制管理是指组织内部通过制定一系列标准、规程和程序,确保产品或服务符合质量要求的一种管理方法。
本文档旨在详细介绍质量控制管理及流程的各个方面。
2·质量控制管理流程2·1 质量目标设定在质量控制管理流程开始之前,首先需要进行质量目标的设定。
质量目标应具体、可衡量和可跟踪,并与组织的整体战略目标相一致。
2·2 质量策划质量策划是质量控制管理的重要环节。
在质量策划中,需要明确质量活动的范围、目标和要求,并制定相关的计划和措施。
2·3 质量控制质量控制是质量控制管理的核心步骤。
在质量控制中,需要建立一套完整的质量控制体系,包括质量检验、测试和评估等环节,以确保产品或服务符合质量要求。
2·4 质量改进质量改进是质量控制管理的重要环节。
通过对质量过程进行不断的分析和改进,可以提高产品或服务的质量水平,满足客户的要求。
3·质量控制管理工具3·1 PDCA循环PDCA循环是质量控制管理的核心工具之一。
PDCA循环包括计划(Plan)、执行(Do)、检查(Check)和改进(Act)四个步骤,通过循环反馈,不断优化质量控制管理。
3·2 统计过程控制(SPC)统计过程控制(SPC)是一种通过统计方法对过程进行控制的工具。
通过对过程的实时监控和统计分析,可以及时发现和纠正过程中的问题,提高产品或服务的质量。
3·3 矩阵图矩阵图是一种用于分析和解决复杂问题的工具。
通过将问题的关键要素和因素进行横纵坐标的排列,可以清晰地看到问题的关联性和影响程度,从而制定相应的控制措施。
4·附件本文档涉及的附件包括但不限于:●质量控制管理计划表●质量检验记录表●质量改进报告表5·法律名词及注释5·1 质量管理体系质量管理体系是指基于国家和行业标准,建立并运行一套完整的质量管理体系,以实现组织对产品或服务质量的控制和管理。
质量控制管理程序⒈引言⑴目的⑵范围⑶定义⑷参考文献⒉质量方针和目标⑴质量方针⑵质量目标⑶质量管理体系⒊质量组织结构⑴质量部门⑵质量管理代表⑶负责人员职责和权限⒋质量控制流程⑴产品设计和开发阶段的质量控制⒋⑴需求分析⒋⑵设计评审⒋⑶原型验证⒋⑷设计验证⒋⑸设计验证报告⑵供应商选择和评估的质量控制⒋⑴供应商选择标准⒋⑵供应商评估程序⒋⑶供应商管理计划⑶生产过程中的质量控制⒋⑴原材料检验⒋⑵生产线检测⒋⑶成品检验⒋⑷过程控制和纠正措施⑷客户服务和投诉的质量控制⒋⑴客户服务流程⒋⑵投诉处理⒋⑶客户反馈和改进措施⒌质量记录和文档管理⑴质量记录要求⑵质量文件控制⑶文档变更控制⒍质量培训和提升⑴培训需求分析⑵培训计划和实施⑶培训效果评估⑷质量意识提升活动⒎内部审核和管理评审⑴内部审核程序⑵管理评审流程⑶改进措施的实施⒏度量和监控⑴质量度量指标⑵监控措施和频率⑶报告和分析⒐风险管理⑴风险识别和评估⑵风险控制措施⑶事件和事故管理⒑附件附件A: 质量管理组织结构图本文档涉及附件:附件A: 质量管理组织结构图本文所涉及的法律名词及注释:⒈质量管理体系:指根据国际标准化组织(ISO)的相关标准,建立和实施的组织质量管理方案。
⒉供应商选择标准:指根据一定的评估标准和要求,选择符合质量要求和业务需求的供应商。
⒊检验:指对产品或原材料进行外观、尺寸、性能等方面的测试和检查,以确定其是否符合规定的质量标准和要求。
⒋客户投诉:指客户对产品或服务存在质量问题或不满意的情况提出的反馈和意见。
⒌内部审核:指由独立于被审核部门的人员进行的对组织质量管理体系的审核活动。