全套生产订单管理流程及表单
- 格式:doc
- 大小:434.50 KB
- 文档页数:23
生产订单管理流程生产订单管理流程是指企业在生产商品或提供服务时,根据客户需求而制定的一系列管理手段和程序。
通过科学、规范的生产订单管理流程,企业能够更好地组织生产活动,提高生产效率,降低成本,增强市场竞争力。
本文将详细介绍生产订单管理流程的各个环节及其重要性。
一、订单接收环节订单接收环节是生产订单管理的第一步,也是重要环节之一。
在该环节中,企业需要从客户手中接收订单,并对订单进行审核和确认。
在接收订单时,需要注意以下几个方面:1. 确保订单准确无误。
在接收订单时,要仔细核对订单中的产品型号、数量、交货时间等信息,确保订单准确无误。
2. 与客户进行沟通。
如果确认订单存在问题或与实际情况不符,需要及时与客户进行沟通,寻求解决方案,以避免出现交货延误或产品质量问题。
二、订单确认环节订单确认环节是对接收到的订单进行进一步审核和确认,以确保订单的有效性和可操作性。
在订单确认环节中,需要完成以下几个步骤:1. 审核订单信息。
对接收到的订单进行仔细审核,确保订单中的产品型号、数量、价格等信息准确无误。
2. 确认订单可操作性。
根据企业的生产能力和资源情况,确认订单是否能够按时完成,并提前与客户沟通交货时间。
3. 反馈订单确认结果。
将订单确认结果及时反馈给客户,以便客户对交货时间和订单信息进行调整。
三、生产计划环节生产计划环节是根据接收到的订单信息,制定生产计划,安排生产资源,保证订单按时完成。
在生产计划环节中,需要开展以下主要工作:1. 制定生产计划。
根据订单的要求和交货时间,制定详细的生产计划,确定产品的生产数量、生产线的安排等。
2. 调配生产资源。
根据生产计划,合理调配生产设备、人力、原材料等资源,确保生产过程的顺利进行。
3. 监控生产进度。
在生产过程中,及时监控生产进度,及时处理生产中的问题,确保订单能够按时完成。
四、生产执行环节生产执行环节是根据生产计划,按照产品生产工艺和质量标准进行实际生产。
在生产执行环节中,需要注意以下几个方面:1. 控制生产过程。
生产订单管理流程生产订单管理流程是指制定、执行和控制生产订单的一系列活动,以确保生产过程的顺利进行并达到预期的生产目标。
以下是一种典型的生产订单管理流程。
第一步:订单接收和评估生产订单管理流程的第一步是接收和评估订单。
销售部门收到客户订单后,将订单信息录入系统,并向生产部门发出通知。
生产部门根据订单的要求和生产能力进行评估,包括所需的人力资源、物料和设备。
评估结果将决定是否接受订单,以及是否需要对订单进行调整。
第二步:订单计划和排产一旦订单被接受,生产部门将制定订单的计划和排产。
这涉及确定生产的时间表、所需的资源和物料,并进行排程以确保生产的顺利进行。
这一步通常需要与供应链部门进行协调,以保证所需的物料按时到达。
第三步:资源调配资源调配是确保所需的人力资源、设备和物料能够及时供应的关键环节。
生产部门将评估现有的资源,并与其他部门协调,以满足生产订单的要求。
这可能涉及到调整员工的工作时间表、增加设备的使用率,或与供应商合作,以确保所需的物料能够按时供应。
第四步:生产过程控制生产过程控制是生产订单管理流程中的重要环节。
生产部门将制定并执行生产的操作计划,包括设备操作、工序控制和质量检查。
同时,生产部门还将监控生产过程中的各项指标,如生产进度、资源利用率和质量指标。
如果出现问题,生产部门将采取相应的纠正措施,以确保生产目标的实现。
第五步:产品交付和验收生产过程完成后,生产部门将进行产品的交付和验收。
生产部门将与物流部门协调,确保产品按时送达客户。
在交付后,客户将对产品进行验收,以确保产品符合订单的要求和质量标准。
第六步:订单结算和反馈订单结算是生产订单管理流程的最后一步。
销售部门将与客户进行结算,并反馈订单的结果和客户的反馈意见。
同时,生产部门将对订单的执行进行评估,并提出改进措施,以提高生产订单管理的效率和质量。
综上所述,生产订单管理流程是一个复杂的过程,涉及多个部门的协调和合作。
通过有效的订单接收和评估、订单计划和排产、资源调配、生产过程控制、产品交付和验收、订单结算和反馈等环节,可以实现生产订单管理的顺利进行,并确保生产目标的实现。
订单管理流程1.目的加强公司生产订单流程管理,体现从销售到生产环节的更好衔接,实现产品生产过程顺利、高效、低耗、按期交货。
2、适应范围:南城内衣有限公司3、流程管理层3.1订单评审管理流程3.1.1该流程由销售部(内、外销),设计部、生产部、材料部,品质部、跟单员等对订单进行用料及技术评审,提出处理意见。
(优先考虑库存现料) 3.1.2对能满足客户(合同)要求的订单准备原材料预案,对生产难度较大的产品订单由销售部和客户进行沟通,达成处理意见,由销售部报请总经理签批。
3.1.3根据总经理签批。
3.1.3.1由销售部制定《生产通知单》,设计部制定《工艺要求表》《单件用料用量表》。
3.1.3.2设计部完成产品标准版及纸样,并按《工艺要求表》制作齐码产前样交销售部与客户确认订单产品具体细节及要求.3.1.3.3跟单员根据与客户达成的产品具体细节及要求,确认《生产通知单》细节要求是否准确,同标准版一同交生产部.3.1.3.4对需提前备料的,跟单员可根据与客户达成的产品要求,及设计部制作的初样和《单件用料用量表》交材料仓清料备料。
(优先考虑库存现料,确保所备材料准确)3.1.3.4对返单产品订单只报总经理签批,不再进行评审。
3.1.5流程图(图1)销售部 PMC部综合部开发部所属相关部门3.1.6工作节点和部门分工订单评审管理流程执行说明3.2订单协调管理流程3.2.1该流程由公司销售部部门组织研发部、生产部、品质部、综合部、销售部,根据客户提出的特殊技术要求,进行产品结构和工艺参数的确定。
(针对特殊订单)3.2.2确定后的产品结构和工艺参数。
报事业部技术开发总监签批。
3.2.3签批方案执行3.2.3.1图纸、工艺资料、物料清单(BOM)(BOM)的编制,产品试制的,技术测试试、终试到样品。
3.2.3.2只做结构调整变化的,由订单主管部门下达《订单通知书》,进入《订单计划管理流程》。
3.2.4流程图销售部门研发部生产部 PMC部采购部品管部3.2.5工作节点及部门分工订单协调管理流程说明3.3.订单计划生产综合管理流程3.3.1本流程主要节点是对前两个流程的跟进。
公司生产订单管理流程1.目的加强公司生产订单流程管理,体现从销售到生产环节的无缝衔接,实现产品生产过程安全、高效、低耗、按期交货。
2.适应范围:适用于青岛红福麟自动化设备有限公司。
3.流程管理层订单评审管理流程该流程由销售部组织公司生产技术、质检、生产部对订单进行技术评审,提出处理意见。
对能满足客户(合同)要求的一般订单准备技术、原材料预案,对技术偏离较大的特殊订单由销售部和客户进行沟通,达成处理意见,由销售部报请公司领导签批。
流程图(图1)销售部生产部生产技术工作节点和部门分工订单评审管理流程执行说明订单协调管理流程该流程由公司生产调度组织生产技术、质检、采购部,根据客户提出的特殊技术要求,进行配方和工艺结构的调整。
(针对特殊订单)调整后的配置和工艺结构方案,由公司生产调度会同生产生产技术、质检、采购部意见,整理后通知销售部。
销售部得到客户同意后签订合同,下单执行。
需要进行产品试制的,由生产技术牵头生产部协助实施。
只做配置调整变化的,由生产调度下达《订单通知书》,进入《订单作业进度管理流程》。
流程图销售部生产技术生产部采购部采购质检工作节点及部门分工订单协调管理流程说明.订单作业进度管理流程本流程主要节点是对前两个流程的跟进。
生产部根据接收《订单通知书》一般订单启动生产正常流程,纳入生产体系管理生产进度计划以周计划化形式上报公司生产调度特殊订单制定生产工艺,编制技术规程。
制定产品原材料、半成品、产成品检验标准、检验方法。
安排生产计划。
检查生产设备状况。
查看材料库存,编写材料购进表,交采购部备料。
协调人员,组织进行产品生产。
编写生产纠偏措施。
填报日生产计划报表报公司生产调度,并安排值班人员按时汇报日产量。
生产生产技术、销售部跟踪生产进度,协助解决生产技术、装备事宜。
质检跟踪质量检验。
流程图:采购部采购质检生产部仓储工作节点与部门分工订单作业进度管理流程说明紧急插单管理流程本流程为满足客户急需而设置的特殊流程,启动本流程有可能影响其它订单的交期,必须经公司领导批准方能启动。
公司生产订单管理流程1.目的加强公司生产订单流程管理,体现从销售到生产环节的无缝衔接,实现产品生产过程安全、高效、低耗、按期交货。
2.适应范围:适用于青岛红福麟自动化设备有限公司。
3.流程管理层3.1订单评审管理流程3.1.1该流程由销售部组织公司生产技术、质检、生产部对订单进行技术评审,提出处理意见。
3.1.2对能满足客户(合同)要求的一般订单准备技术、原材料预案,对技术偏离较大的特殊订单由销售部和客户进行沟通,达成处理意见,由销售部报请公司领导签批。
3.1.5流程图(图1)销售部生产部生产技术3.1.6工作节点和部门分工订单评审管理流程执行说明3.2订单协调管理流程3.2.1该流程由公司生产调度组织生产技术、质检、采购部,根据客户提出的特殊技术要求,进行配方和工艺结构的调整。
(针对特殊订单)3.2.2调整后的配置和工艺结构方案,由公司生产调度会同生产生产技术、质检、采购部意见,整理后通知销售部。
3.2.3销售部得到客户同意后签订合同,下单执行。
3.2.3.1需要进行产品试制的,由生产技术牵头生产部协助实施。
3.2.3.2只做配置调整变化的,由生产调度下达《订单通知书》,进入《订单作业进度管理流程》。
3.2.4流程图销售部生产技术生产部采购部采购质检3.2.5工作节点及部门分工订单协调管理流程说明3.3.订单作业进度管理流程3.3.1本流程主要节点是对前两个流程的跟进。
3.3.2生产部根据接收《订单通知书》3.3.2.1一般订单3.3.2.1.1启动生产正常流程,纳入生产体系管理3.3.2.2.2生产进度计划以周计划化形式上报公司生产调度3.3.2.2特殊订单3.3.2.2.1制定生产工艺,编制技术规程。
3.3.2.2.2制定产品原材料、半成品、产成品检验标准、检验方法。
3.3.2.2.3安排生产计划。
检查生产设备状况。
3.3.2.2.4查看材料库存,编写材料购进表,交采购部备料。
3.3.2.2.5协调人员,组织进行产品生产。
生產訂單管理
訂單落實管理流程1.生產經理生產人員訂單管理人員
開单接訂單審訂單評審
術、品控生产配訂單審批次下達訂制訂生產計生產實施交貨後管理(成品管理)生產回饋结束訂單落實管理流程說明
专业资料
品质人员采购人员生产人员物料控制人员销售主管研发人员
生產品質協調檢驗準備出貨结束單協調管理流程說明
专业资料
品質人員物控人員採購人員生產人員研發人員
物料採購物料控制物料盤點執行生產品質檢驗结束訂單計畫安排流程說明
专业资料
倉儲主管物控人員採購人員品質人員生產主管
否存在差異是分析差異原因補救客戶溝通结束訂單作業進度管理流程說明
专业资料
5.緊急插單管理流程生產主管設備工程人員生產計畫人員物料控制人員
調查與準備初定計劃指標瞭解作業人員掌握設備運行物料供應確定計劃指標状态状态監督作業進度抽查產品合格率否合格是出貨结束专业资料
緊急插單管理流程說明
专业资料
6.外協訂單管理流程
資訊調查人員品質人員採購人員輔導人員
開始外協訂單管理流程說明
专业资料
专业资料
专业资料
產品報價單
報價日期:年月日专业资料
樣品追蹤表
专业资料
客戶資訊卡建卡日期:編號:
专业资料
訂單評審表
专业资料
供貨週期計畫表
专业资料
訂單安排表
专业资料
訂單統計表
专业资料
訂單安排記錄表
专业资料
產銷協調計畫表
专业资料
工時損失記錄表
专业资料
生產能力分析表月份:
专业资料
专业资料。
生产订单执行管理
1.订单执行管理流程
订单管理生产人員
订单执行管理流程說明
2.订单协调管理流程
订单协调管理流程說明
3.订单计划安排流程
訂單計畫安排流程說明
4.订单作业进度管理流程
订单作业进度管理流程說明
5.紧急插单管理流程
紧急插单管理流程說明
6.外加工订单管理流程
外加工订单管理流程說明
產品報價單
報價日期:年月日
樣品追蹤表
編號:日期:
客戶資訊卡
編號:建卡日期:
訂單評審表
供貨週期計畫表
訂單安排表
訂單統計表
訂單安排記錄表
產銷協調計畫表
工時損失記錄表
生產能力分析表月份:。
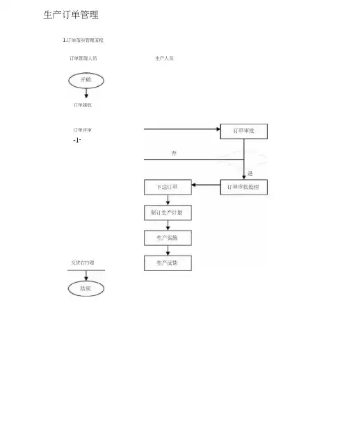
生产订单管理
1.订单落实管理流程
订单管理人员生产人员
订单接收
订单评审
-1-
交货右竹理
订单落实管理流程说明
2.订单协调管理流程
销售主管研发人员生产人员物料控帝0人员采购人员品质人员
准备
3.订单计划安排流程
生产人员研发人员物控人员木购人员品质人员订单评审
制订计划一》产品研发
控制进度■
物料控制►物料米购执行生产 4 --------------------------- 物料盘点
品质检验
4.订单作业进度管理流程
物控人员采购人员品质人员生产主管仓储主管
5 •紧急插单管理流程
生产计划人员物料控制人员设备工程人员生产主管
结束
6 •外协订单管理流程
信息调查人员品质人员采购人员辅导人员选择外协厂商
调查外协厂商
外协订单管理流程说明
7.产品报价单
8.样品追踪农编号:
口期:
9. 客户信息卡
编号•
10.
11
说明:•急件周期加价
2•特急周期加价20%
12.订单安排表
13.订单统计表
15.产销协调计划表
17.生产能力分析表月份:。
生產訂單管理
1.訂單落實管理流程
訂單管理人員生產人員生產經理
訂單落實管理流程說明
2.訂單協調管理流程
销售主管研发人员生产人员物料控制人员采购人员品质人员
單協調管理流程說明
3.訂單計畫安排流程
生產人員研發人員物控人員採購人員品質人員
訂單計畫安排流程說明
4.訂單作業進度管理流程
物控人員採購人員品質人員生產主管倉儲主管
訂單作業進度管理流程說明
5.緊急插單管理流程
生產計畫人員物料控制人員設備工程人員生產主管
緊急插單管理流程說明
6.外協訂單管理流程
資訊調查人員品質人員採購人員輔導人員
外協訂單管理流程說明
產品報價單
報價日期:年月日
樣品追蹤表
編號:日期:
客戶資訊卡
編號:建卡日期:
訂單評審表
供貨週期計畫表
訂單安排表
訂單統計表
訂單安排記錄表
產銷協調計畫表
工時損失記錄表
生產能力分析表月份:。
生产订单执行管理
1.订单执行管理流程
订单管理人員生产人員生产经理
订单执行管理流程說明
2.订单协调管理流程
销售主管研发人员生产人员物料控制人员采购人员品质
订单协调管理流程說明
3.订单计划安排流程
生產人員研發人員物控人員採購人員品
訂單計畫安排流程說明
4.订单作业进度管理流程
物控人員採購人員品質人員生產主管倉
订单作业进度管理流程說明
5.紧急插单管理流程
生產計畫人員物料控制人員設備工程人員生產
紧急插单管理流程說明
6.外加工订单管理流程
資訊調查人員品質人員採購人員輔
外加工订单管理流程說明
產品報價單
報價日期:年月日
樣品追蹤表
編號:日期:
客戶資訊卡
編號:建卡日期:
訂單評審表
供貨週期計畫表
訂單安排表
訂單統計表
訂單安排記錄表
產銷協調計畫表
工時損失記錄表
備
生產能力分析表月份:
2 4
2 5
2 6
2 7
2 8
2 9
3 0
3 1。
生产订单管理流程1.目的加强公司生产订单流程管理,体现从销售到生产环节的无缝衔接,实现产品加工过程安全、高效、低耗、按期交货。
2、适应范围:公司所有3、定义:常规产品:已定型生产正式对外销售的现有产品。
新产品:尚处于开发试制阶段未正式量产的产品。
特殊产品:有特殊技术要求、在功能上保持一致,有所区别现有与常规产品有所区别系列。
标准交期:人机物料正常的情况下,从下达订单到出货的时间4、职责4.1商务部负责常规产品以与特殊产品的接单(包括对接集团内其他公司的供货需求),以与组织订单评审回复客服交期,生成销售供货订单。
4.2技术部负责新产品以与特殊产品的物料清单4.3生产部负责老产品的物料清单以与确定自主生产装配型产品的供货周期4.4财务部负责所有物料清单的审核4.5 采购负责确定外购型常规产品供货周期以与、以与物料采购、跟催与到位4.6生产部负责确定按订单计划组织生产按时供货以与进出仓管理3.1订单评审管理流程3.1.23.1.1该流程由商务部根据产品类型组织相关部门(生产部、采购部、技术部)确定交期,对于新产品订单与特殊订单,技术偏离较大的订单由技术部和客户进行沟通,达成处理意见,由销售部报请公司领导签批。
3.1.2与客户沟通同意交期后,商务部生成销售订单,转PMC3.1.3PMC对销售订单进行跟踪3.1.3.1对常规订单,生产部直接编制物料清单,经财务部审核后,转PMC 3.1.3.2对新产品订单,由技术部编制物料清单,经财务部审核后,转PMC3.1.3PMC与仓库确认物料/产品库存情况后,编制《采购计划》,制订《采购订单》,实施采购;同时下达《生产通知单》与《发料清单》至生产部,如有库存产品,则直接下达《出货通知单》3.1.4生产部接到生产通知单编制《生产计划》,根据《发料清单》领料生产,完成生产任务。
3.1.5生产完成之后,销售有销售订单时,PMC结合人机物料实际情况,答复交期3.1.3根据领导签批3.1.3.1由订单主管部门下达《订单通知书》,转入《订单作业进度管理流程》。
生产订单管理流程1.目的加强公司生产订单流程管理,体现从销售到生产环节的无缝衔接,实现产品加工过程安全、高效、低耗、按期交货。
2、适应范围:公司所有3、定义:常规产品:已定型生产正式对外销售的现有产品。
新产品:尚处于开发试制阶段未正式量产的产品。
特殊产品:有特殊技术要求、在功能上保持一致,有所区别现有与常规产品有所区别系列。
标准交期: 人机物料正常的情况下,从下达订单到出货的时间4、职责4.1商务部负责常规产品以及特殊产品的接单(包括对接集团内其他公司的供货需求),以及组织订单评审回复客服交期,生成销售供货订单。
4.2技术部负责新产品以及特殊产品的物料清单4.3生产部负责老产品的物料清单以及确定自主生产装配型产品的供货周期4.4财务部负责所有物料清单的审核4.5采购负责确定外购型常规产品供货周期以及、以及物料采购、跟催及到位4.6生产部负责确定按订单计划组织生产按时供货以及进出仓管理3.1 订单评审管理流程3.1.23.1.1该流程由商务部根据产品类型组织相关部门(生产部、采购部、技术部)确定交期,对于新产品订单及特殊订单,技术偏离较大的订单由技术部和客户进行沟通,达成处理意见,由销售部报请公司领导签批。
3.1.2与客户沟通同意交期后,商务部生成销售订单,转PMC3.131对常规订单,生产部直接编制物料清单,经财务部审核后,转PMC 3.132对新产品订单,由技术部编制物料清单,经财务部审核后,转PMC3.1.3PMC与仓库确认物料/产品库存情况后,编制《采购计划》,制订《采购订单》,实施采购;同时下达《生产通知单》与《发料清单》至生产部,如有库存产品,则直接下达《出货通知单》3.1.4生产部接到生产通知单编制《生产计划》,根据《发料清单》领料生产,完成生产任务。
3.1.5生产完成之后,销售有销售订单时,PMC吉合人机物料实际情况,答复交期3.1.3根据领导签批由订单主管部门下达《订单通知书》,转入《订单作业进度管理流程》。
生产订单管理
1.订单落实管理流程
订单管理人员生产人员生产经理
订单落实管理流程说明
2.订单协调管理流程
销售主管研发人员生产人员物料控制人员采购人员品质人员
订单协调管理流程说明
3.订单计划安排流程
生产人员研发人员物控人员采购人员品质人员
订单计划安排流程说明
4.订单作业进度管理流程
物控人员采购人员品质人员生产主管仓储主管
订单作业进度管理流程说明
5.紧急插单管理流程
生产计划人员物料控制人员设备工程人员生产主管
紧急插单管理流程说明
6.外协订单管理流程
信息调查人员品质人员采购人员辅导人员
外协订单管理流程说明
7.产品报价单
报价日期:年月日
8.样品追踪表
编号:日期:
9.客户信息卡
编号:建卡日期:
10.订单评审表
11.供货周期计划表
14.订单安排记录表
15.产销协调计划表
16.工时损失记录表
17.生产能力分析表月份:。