业务订单管理流程表
- 格式:xlsx
- 大小:21.67 KB
- 文档页数:4
订单管理办法为有效地对订单履行进行控制,确保保质、保量、按时满足顾客需要,特制订订单相关流程管理办法.本管理办法用语释义:1、常规订单:指产品工艺技术成熟,且现有技术工艺图纸能直接或简单改动后能指导生产的产品订单.2、非常规订单:指根据用户要求需重新进行技术设计的产品;公司虽然生产过,但已停产或多年未生产,市场基本淘汰的老产品;质量要求超出公司常规标准的产品;交付期限紧,且有罚款条款或逾期交货影响公司声誉的订单.一、订单承接管理一流程:订单信息→要求确认→订单评审→商务报价→签订订单购销单→生产指令二管理标准:一要求确认销售内勤在接到经销商订货信息时,应同顾客经销商就产品的订货要求规格、型号、数量、技术和质量要求,以及交货期进行确认,确保顾客的要求准确无误;获得成套产品等工程项目业务信息,应了解项目相关信息,并进行登记.二订单评审1、常规订单由内勤与生产部、物控部进行交货期可能性评审,可行的则进行商务报价;不可能的则与客户进行沟通,能否适当延期,客户不能延期的,呈送产品公司总经理或副总经理核准不接订单.2、非常规订单由内勤与设计部、生产部、物控部进行交货期可能性评审,可行的则进行商务报价;不可能的则与客户进行沟通,能否适当延期,客户不能延期的,呈送产品公司总经理或副总经理核准不接订单.三商务报价1、常规订单按公司报价表执行2、非常规订单视情况按异型更改标准收费四签订订单购销单订单购销单由销售内勤拟定,经销商确认签字,付款后订单正式生效.五生产指令1、订单购销单经双方签订后,销售部销售内勤应及时4小时内,准确下达生产指令单通知单到ERP系统内.2、所有订单购销单履行过程中用户有更改的,销售员、销售内勤应在接到用户更改通知的第一时间内一般为30分钟内,根据更改情况作出反映:1对产品要求的小范围或局部的更改,不涉及产品结构变化或主要元件变动,且不影响原生产计划时,填写合同订单更改通知单,通知产品公司的生产部经理,生产部经理应负责在接到通知后的第一时间同上流转相关涉及部门进行调整,避免不必要的损失.2当产品要求的更改或修订影响原生产交货期计划时,应报告部门领导同时通报产品公司的生产部经理重新进行交货期评审,并将结果尽快与客户取得联系,争取延迟交货时间,并将结果以合同订单更改通知单的形式下达产品公司的生产部经理.3当涉及产品结构变化或主要元件变动,应报告部门领导同时通报产品公司的生产部经理按非常规订单评审管理要求,重新组织相关部门进行评审,必要时补签相关合同增加合同价等,并将结果以合同订单更改通知单的形式下达产品公司的生产部经理.二、订单生产管理一流程:生产指令→生产计划→过程管控→完成入库二管理标准:一计划管理1、产品公司生产部经理在接到生产指令通知单后,应及时进行订单完成所需工作任务的分解成套产品在24小时内、其它产品在4小时内:常规产品可与工段车间领导直接进行必要时请技术部门参加,在检查核实库存配件情况下,制订生产计划,包括技术设计如需、配套件生产协作、配件采购、装配开始和完成、包装计划,计划要求有完成的时间要求.计划表参考附表.非常规产品要召开由技术、工段车间、采购部门领导,必要时请质量部门领导参加的计划协调会,制订订单生产计划,包括技术设计、配套生产协作、配件采购、装配开始和完成计划,计划要求有工作任务完成的时间要求.计划表参考附表.生产协作加工需按设计图纸进行的,图纸应和指令单同时下达,为赶时间需提前准备的急件,可事先电话通知.2、金加工、包装木箱加工协作服务公司生产部经理接到生产协作指令通知单后,与工段车间领导必要时请技术部门参加,在检查核实库存配件、原材料情况下,制订各工段、工序生产计划,明确各制订各工段、工序的开始作业和完成时间,以及采购计划明确到货时间.计划表参考附表.3、采购部门领导接到计划后,应及时组织核实集团公司所有库存情况,如通过公司间调拨可解决的,则办理调拨手续;需采购的,则根据采购计划和采购单规范进行订货,并制定采购进货进度计划表.采购数量如有调整减少的需与计划下达部门沟通后方可.4、技术设计部门领导接到计划后,应根据已有任务,合理安排分工,制订需要的进度计划.5、相关部门对任务计划完成时间有异议的应当时或接计划后1个工作日内向计划下达部门提出,以利计划的切实可行.计划下达部门不能协调的,本公司内部由该公司总经理载定,跨公司的报所提异议公司总经理载定.影响原计划交货期的,生产部经理应将调整后的交货期通知合同订单管理部,以便与客户联系沟通,争取延迟交货时间.6、因公司产能和其它特发问题,经计划编排不能全部按期完成订单,需调整订单生产计划或次序的,由生产部经理和销售管理中心合同订单管理部经理商定.并将调整后的计划下发相关部门.7、公司之间工作完成的界定,除不需及时表面处理的铜材加工件外,其它以电镀、喷塑后送达下达协作任务的公司仓库为准;采购件以到达公司仓库为准;技术设计以无明显差错,能满足指导生产为准;产成品按产品出厂包装要求包装完毕入库为准.二过程管控1、销售管理中心合同订单管理部根据合同和经评审确认的交货期,提前2-3天进行跟单管理,了解生产实际进度情况,与计划有差异时应要求生产部门领导采取措施补救,必要时上报该公司总经理,要求督促协调落实.若确实无法按时交货则尽快与客户沟通,取得客户理解,并将最后交货期限以“催促单”的形式通报生产部经理及该公司总经理或生产副总.2、各公司生产部1部经理应根据生产计划,提前1-2天提醒和督促工段车间领导进行生产前准备工作人、机、物协作、采购、设计等计划执行进度等的检查,以保证生产计划的实施.若有问题,则应联系相关部门、人员采取应对措施及时解决,必要时下发“跨部门工作联系单”,明确要求解决的问题和时间要求. 2生产部门领导每天应巡检本部门工段、车间计划实施的进度、质量、数量情况,发现差异,应采取补救措施如拆分为多道岗位工序生产、临时调岗增加生产人员、加班、增加生产量等,保证计划按时、保质、保量完成. 3当特殊零件无法购得现货,也无法自制时或集团子公司协作不能保证产品按期交货时,以及因人员、设备原因,自制不能按计划完成时,产品公司总经理可考虑进行外协,报集团总经理核批.4经采取补救加班、外协等措施,确实不能按期解决问题,影响计划按时完成时,各部门领导应及时与任务下达部门汇报,以便调整生产计划.5各产品公司应在可包装发货前成套产品3天,其它产品1天通知包装部门做好准备工作.包装部门领导要合理安排,保证合格产品按期完成包装,并做到附件、随机资料不遗漏,产品公司领导及检验员应给予必须的协助. 6当遇缺件发货时,产品公司应事先与销售公司联系,取得用户谅解和同意后方可,并记录缺件情况,明确事后处理部门.缺件到位后及时与处理部门联系补救.3、各公司技术部1部门领导每天应检查和掌握本部门计划实施的进度情况,指导和帮助下属解决实际难题,审查设计质量,保证计划按时、保质、保量完成.2设计人员在进行设计中如有不同见解或不明确情况,应及时与用户进行沟通,有更改的,应得到用户的书面认可方可改动,并及时与生产部经理通报,避免不必要损失.经用户认可的改动书面资料,应交销售公司存档.3对生产过程中提出的技术支持和要求需处理的技术问题,应作为当前的首要任务,及时予以解决或回复,保障产品按时交货.4因客户不能按我方要求时间进行设计方案确认,影响部门工作计划按时完成时,应及时向计划下达部门通报,以便组织催促客户和调整生产计划. 5沟通中如客户进行调整、变更技术方案时,应及时一般为30分钟内,根据更改情况作出反映:1当调整、变更技术方案不涉及产品整体结构或元件规格型号及指定厂家变动,且不影响部门生产计划时,则应将用户改动要求的书面资料交销售公司存档,不需填写“合同订单技术更改通知单”;2当调整、变更技术方案涉及产品整体结构或元件规格型号及指定厂家变动时,应报告部门领导,填写“合同订单技术更改通知单”附用户改动要求的书面资料发至产品公司的生产部、合同订单管理部领导,由合同订单管理部确定是否需要按非常规订单评审管理要求,重新组织相关部门进行评审和补签增价合同等相关事宜.6图纸、规范下发后,若发现有设计失误差错,以及客户要求更改时,应及时书面事由及更证内容通知生产部门、质检、供应等关联部门,避免不必要的生产和采购损失.如客户更改的需再填写“合同订单技术更改通知单”,附用户改动要求的书面资料,报合同订单管理部领导处理商务事宜.4、采购部1部门领导每天应督导下属做好计划执行情况检查工作,以通过对供应商送发货的时间、数量、质量进行控制,确保生产计划采购指标得以实现:1按制定的采购进度计划,提前5个工作日,与供应商进行联系,确定它们的实际可送发货时间.若不能按计划进度时间到货,则应及时一般为30分钟内向部门领导报告,以便采取补救措施向兄弟单位借用、督促供应商提前或按期交货、与生产部门沟通采取分批到货、取消采购合同,向其它厂家采购、与设计和销售部门沟通,更换生产厂家或型号等.2根据采购合同或事先经联系确定的送发货时间的当天,应与供应商电话联系确定货物是否发出,以及承运方和联系方式,以便跟踪.若未发出,应查询原因,影响到货计划时间的,需向部门领导汇报.3检查和掌握按订单采购和常规采购到货物资的实际交货合格数量是否与计划量一致,如有差异,应调查原因,采取补救措施不合格品退货补发、缺货追查供应商补发及补发时间商定;降价让步接收等.4到达物资,采购员应按公司存货仓库管理办法Q /JY G9-002-2010规定,及时办理入库.2部门领导根据以上情况,经采取补救措施仍然不能满足生产计划时间要求时,应及时向生产计划下达部门领导汇报,以便与销售部门沟通,争取客户同意延期交货.5、各公司质管部1部门领导应每天检查督促下属,及时跟进和配合生产计划进度,严格按检验要求对产品、自制配件、采购物资进行及时检验.为保证按期交货,当岗位人员经加班后仍不能完成任务时,应调派其他岗位检验人员进行支持. 2检验人员在检验过程中发现的问题,除做好相关记录外,应及时一般为20分钟内作出反映:1属于本公司内部生产及工艺质量,经返工后能符合质量要求的,可直接通知操作人员进行返工,并通报该员工直接领导;2属于跨公司的生产及工艺质量,向本部门领导汇报,领导自接到报告后应及时一般为30分钟内进行协调处理.3属采购物资的一般质量问题,则通知采购员处理.当批量合格率低于95%或严重问题规格型号不符、缺件、外观不良、数量与送货单不符时,直接报告本部门和采购部门领导处理;4属技术设计,以及自我不能判定的,报本部门领导处理,领导自接到报告后应及时一般为30分钟内进行协调处理,本部门经协调、研究不能解决的,应报告总经理,并将处理办法通知检验人员.三、订单产品交付管理一流程:下达发货指令→组织发运→信息记录和反馈二管理标准:1、发货指令下达合同订单管理部根据订单跟踪和产品实际库存情况,在认真核对合同和货款到位情况后,按管理要求开具发货通知单,一般提前1天向成品库和储运部门下达发货指令.通知单需明确到货时间、地点等要求,防止多发、错发和延迟到货时间.2、发运组织1成品库保管理员接到发货通知单后,应根据通知单上的客户名称、订单项目、产品规格、型号、数量、备件或配套件要求等信息,在发货前进行确认、组织和标识,产品、备件或配套件需组合包装的,组织包装工进行包装. 2储运部门接到发货通知单后,在考虑公司车辆不可行时,依照公司物流运输管理办法之规定联系和确定承运方,按时发运和收回承运方签字回执.因特殊原因不能按时发出的,应当天报告合同订单管理部原因、可发运时间和估算到达时间,以便与客户沟通,取得理解.3、信息记录和反馈1销售内勤内务人员接到发运回执后,应在当天电告客户发运情况,同时进行销售台账记录,督促销售员按公司规定收回发货回执;2销售内勤内务人员当接到客户反馈没有收到货物信息时,应及时通知储运部门人员,进行查找原因,并将结果回复客户.3销售内勤内务人员当接到客户反馈收到货物有损坏信息时,应及时通知产品公司售后服务部门、储运部门领导和运输费用支付审核人员.由售后服务部门研究确定服务办法回复客户;储运部门领导组织质量、生产部门领导进行损坏原因分析和进行索赔.四、订单交付后续管理一流程:售后服务→收回货款二管理标准:1、售后服务1销售内勤内务和销售人员接到客户服务需求信息,应认真填写用户服务、质量信息反馈接受单QR/JY-2005,附客户电传资料,及时一般为接到要求后的60分钟内传递到售后服务部门.2售后服务部门领导应按公司售后服务管理办法之要求,及时一般为接到要求后的2小时内与客户联系进行处理.3订单合同约定,公司需提供客户现场设备指导安装、调试等服务的,销售员应了解掌握客户工程进度情况,及时向售后服务部门领导反馈服务时间.2、收回货款销售员应按公司资金管理要求和合同协议约定货款支付条款,检查货款回笼和发票开具情况,催促客户按期支付货款,防止货款流失凤险.。
业务下单流程
首先,客户需要向公司提交订单需求。
客户可以通过多种途径
提交订单,包括电话、邮件、网站在线下单等。
在提交订单时,客
户需要提供详细的订单信息,包括产品型号、数量、交付时间等。
这些信息将作为订单的基本依据,对于后续的订单处理非常重要。
接下来,公司接收到客户的订单需求后,需要对订单进行确认。
确认订单的过程包括核实订单信息、检查库存情况、核算成本和利
润等。
只有在确认订单后,公司才能够进行后续的生产和交付准备
工作。
确认订单后,公司需要安排生产计划。
生产计划包括确定生产
工艺、制定生产进度、安排生产人员等。
通过合理的生产计划,可
以有效地提高生产效率,保证订单按时交付。
在生产过程中,公司需要对生产进度进行监控和管理。
这包括
对生产过程中出现的问题进行及时处理,确保生产进度不受影响。
同时,公司还需要对产品质量进行严格把控,保证产品符合客户的
要求。
最后,当产品生产完成后,公司需要进行产品交付。
交付过程包括产品包装、运输安排、交付文件准备等。
在交付过程中,公司需要确保产品能够安全、准时地送达客户手中。
以上就是业务下单流程的主要环节和步骤。
在实际操作中,公司需要严格按照这些步骤进行操作,确保订单能够顺利进行并按时交付。
同时,公司还需要不断地优化流程,提高效率,提升客户满意度。
通过良好的业务下单流程,可以有效地提升公司的竞争力,赢得客户的信任和支持。
配送中心业务流程一、订单接收与处理1. 订单接收:当顾客下单后,订单会通过网站或移动端系统自动发送至配送中心。
同时,销售人员也会将电话或线下接收的订单传递给配送中心。
2. 订单核对:配送中心收到订单后,会进行核对,确保订单信息准确无误。
包括商品名称、数量、收货地址、联系电话等。
3. 库存查询:配送中心会根据订单信息查询库存情况,确保所需商品有足够的库存。
如果库存不足,需要及时通知销售部门进行补货或调货。
4. 订单分配:根据订单的收货地址,配送中心将订单分配给最近的配送员或者物流公司。
二、商品准备与包装1. 商品准备:根据订单信息,配送中心会从库存中挑选出对应的商品,并进行清点和准备。
2. 商品包装:配送中心会对商品进行包装,以保护商品的完整性和安全性。
不同类型的商品可能需要不同的包装方式,例如易碎品、液体或冷藏品。
3. 标签贴码:在包装完成后,配送中心会在包裹上贴上相应的标签和条码,以便于跟踪和管理。
三、配送与运输1. 配送员接收:配送中心会将包装好的商品交给配送员,配送员会根据配送路线和安排逐一接收包裹。
2. 运输方式选择:配送中心根据订单的重量、体积和地理位置等因素,选择合适的运输方式,可能是自有物流车辆、第三方快递公司或者航空/铁路运输。
3. 跟踪和通知:配送中心会对配送过程进行实时跟踪和监控,以确保商品能够按时送达。
同时,配送中心会时刻与顾客保持联系,及时通知配送进度和可能的延迟情况。
四、签收与售后服务1. 签收确认:配送员到达收货地址后,顾客需要在配送员的指导下进行签收确认。
配送员会对商品的完整性进行检查,确保没有损坏。
2. 售后服务:如果顾客对商品有任何问题或需要退换货,配送中心会提供相应的售后服务,包括退货退款、换货和维修等。
3. 数据记录与反馈:配送中心会对每个订单的配送过程进行数据记录和反馈,以便于后期的分析和改进。
同时,配送中心还会与销售部门、客服部门等进行及时的数据共享和沟通。
客户订单管理流程1、目的:为规范订单/合同管理,使订单/合同执行有序进行,特制定本流程。
2、适用范围适用于业务部门、集团各分公司所有订单/合同执行的全过程。
3、职责3.1分公司各部门3.1.1业务部门1)负责接收订单/合同,与客户进行沟通,提供客户所有要求信息。
(2)负责组织相关部门进行订单/合同评审。
3)负责编制“报价联系单”、“大货采购单/购销合同”。
3.1.2技术部门1)负责编制“报价单”,“工程更改通知单”。
2)负责产品技术、工艺可行性评审及价格评审。
3.1.3生产部门1)负责产品生产保证可行性评审。
2)负责按照订单的各项要求安排生产。
3.1.4品质部门1)负责产品的质量保证可行性评审。
2)负责依照订单的各项要求及检验规范安排产品检验。
3.2服务管理委员会3.2.1采购部1)负责原材料、外购件资源配套能力、价格的评审。
2)负责每天对钢材等主要原材料价格进行通报,做出“主要原材料价格趋势图”,并通过电子邮件知会各分公司总经理、总裁及董事长,作为各分公司总经理决策参考。
3.2.2财务部1)负责产品报价单销售毛利率、销售费用率、销售利润率的评审。
(2)负责对汇率、出口退税等影响产品报价因素进行及时通报,每月出具汇率、出口关税报表,作为各分公司总经理决策参考。
当汇率、出口退税出现变动时,第一时间通知各分公司总经理。
3.2.3品质监督部1)负责产品质量保证可行性评审;负责订单/合同的备案管理。
2)负责监视和检查各分公司在出产之前完成检验规范、检验尺度的制订。
3.2.4总裁负责订单/合同的审批。
4、工作程序4.1订单/合同的评审4.1.1分公司初评4.1.1.1营业部门接到客户的询价要求时,应详细咨询所询价产品的信息、技术信息(包括图纸、包装信息等)和所用原材料的详细情况及尺度(如:规格、型号、材质、外表质量、特殊检验要求,特殊加工要求等),填写“报价接洽单”,连同以上详细信息报各分公司总经理,作为订单评审的依据。
(BPM业务流程管理)业务流程及操作供应链系统业务流程及操作手册供应链系统单据中选择基础资料(供应商、客户、物料、仓库等)都可以按F7快捷键进行获取。
所有的单据录入完毕都需要进行保存审核,没有审核的单据不参加成本核算,而且不能与其他单据进行关联操作。
所有单据录入完毕保存之后要对单据进行操作(比如:修改、删除、审核、反审核等,在单据维护界面点右键或者点编辑菜单下相应按钮即可)都是在对应的单据序时簿中进行。
在单据序时簿界面选择多条连续记录为shift键,多条不连续记录为ctrl键。
所有的核算功能都包括在存货核算模块中,成本核算可以在月底一次性做。
存货核算系统生成的凭证必须在存货核算下的凭证管理里面进行修改删除。
成本核算步骤:第一步:入库核算――购入库核算(核算外购入库单成本)第二步:出库核算――料出库核算(核算生产领料单成本)第三步:自制入库核算(粉、粒、片,分步骤做)具体操作步骤1.通过仓存管理――领料发货――生产领料汇总表,查看生产领用材料的金额,分摊生产领用的共耗部分(备品备件、包装、辅料等),及工资、水电等。
2.手工算出粉的成本,通过存货核算――库核算――制入库核算,录入粉的成本,并进行核算(核算粉产成品入库单的成本)3.通过存货核算――库核算――成品出库核算,核算出生产粒领用的粉的成本(核算涉及到粉的出库的成本)4.手工算出粒的成本,通过存货核算――库核算――制入库核算,录入粒的成本,并进行核算(核算粒的产成品入库单的成本)5.通过存货核算――库核算――成品出库核算,核算出生产粒领用的粒的成本(核算涉及到粒的出库的成本)6.手工算出片的成本,通过存货核算――库核算――制入库核算,录入片的成本,并进行核算(核算片的产成品入库单的成本)第四步:产成品出库核算(核算销售出库成本)特殊业务处理丛外单位购买产成品自己更换包装:因为是丛其他单位采购的所以应该录入“外购入库”,更换用的包装属于单位自己的而且不能计入本单位生产的产品成本里所以录入“其他出库”里做库费用处理。
订单管理制度流程一、制度概述订单管理制度是企业内部管理的关键环节,它关系到客户满意度、产品质量、企业效益等方面。
有效的订单管理制度可以保证订单的准确、及时、完整的执行,从而提高客户满意度,降低企业的成本,提高管理效率。
本制度的编制是为了规范公司内部订单的管理流程,有效处理订单产生的各类问题,确保订单的正确执行,做到质量、速度、效益的统一。
二、制度内容1. 订单接受阶段(1)接受方式:订单的接受方式主要包括客户电话、传真、邮件、网站下单、拜访下单和展会现场下单等多种方式。
销售人员要根据客户的下单方式及时、正确地收集订单信息,并填写订单收集表。
(2)订单信息核对:销售人员在接受订单后应及时核对订单的内容、数量、交货时间等信息,并与客户确认,确保订单信息的准确性。
(3)订单处理表:接受订单后,销售人员应填写订单处理表,并将订单交由订单管理员进行处理。
2. 订单处理阶段(1)订单录入:订单管理员根据订单处理表的信息进行订单录入,同时对订单信息进行核对、完善,并及时通知生产部门和物流部门。
(2)生产计划:订单管理员将订单信息传达给生产部门,生产部门根据订单的要求和数量制定生产计划,并进行排产。
(3)物流安排:订单管理员将订单信息传达给物流部门,物流部门负责安排运输,选定合适的运输方案和运输工具,并与客户协商确定交货时间和地点。
(4)客户通知:订单管理员应及时向客户通知订单的交货时间和地点,以确保客户能够按时接收货物。
3. 订单执行阶段(1)生产执行:生产部门根据订单的要求和生产计划进行生产作业,保证产品的质量和交货时间。
(2)物流配送:物流部门按照订单的要求和交货时间将产品配送到客户指定的地点。
(3)客户跟踪:销售人员和客户服务人员应随时关注客户的反馈信息,确保订单的执行情况得到客户的满意度。
4. 订单结算阶段(1)订单结算管理:订单管理部门负责对订单的结算工作,包括结算单据的审核、账务处理等工作。
(2)客户满意度调查:销售人员应及时进行客户满意度调查,了解客户对订单执行情况的评价,并及时做好客户关系管理。
订货及出入库管理流程及规定1、货物订购流程:(一)、标准机型订购流程:有存货无存货1、销售人员或者销售助理接到客户订单信息后,首先与客户确认好客户要求的交货时间后,查询库存,有库存直接与客户签订销售合同,如果是销售助理与客户确认的合同必须告知销售人员确认签字。
待客户回传合同后,由销售助理或销售人员填写《内部订单》并注明库存,同时由销售助理更新到《订单跟进表》中,由销售助理根据付款方式协助开单发货。
2、无存货的情况下,先由销售助理根据销售人员提供或者客户要求的货期交采购助理询问供应商,销售人员根据货期与客户及供应商达成一致后,与客户签订销售合同。
待客户回传合同后,由销售助理或销售人员填写《内部订单》并注明库存,同时由销售助理更新到《订单跟进表》中,由销售助理根据付款方式协助开单发货。
备注:1、《内部订单》必须填写完整,字迹清晰,不得涂改;如果不清晰,采购助理有权要求重新填写;2、《内部订单》原则上由销售人员填写,特别是新客户及特殊要求的客户订货,如果由销售助理代写,销售人员必须签字确认。
2、如厂家提供的交货时间不能达到客户的要求,销售人员必须上报给上级主管,由上级主管出面协调;不能未经批准强行下单,否则产生的费用由销售人员和采购助理各承担50%。
(二)、非标机订购流程:1、销售人员收到客户关于非标机型的订购信息,首先确认好客户的要求(各种技术参数、安装形式、外形、图纸等具体要求),交由采购助理与供应商确认后回复销售人员,销售人员根据客户要求、供应商回复以及我公司技术人员进行最终确认。
2、待确认后,交由采购助理进行询价及货期(附上相关技术要求和图纸等);3、采购助理将厂家询问价格报给客服部经理,由客服经理指导进行报价。
4、由销售助理做合同给客户,待客户回传后方能下单。
(3)、特价订单订购流程:1、当销售人员所报价格低于自身权限价时,必须向上级主管申请价格,经批准后方可与客户签订合同;2、采购助理根据客服经理指示向供应商申请特价。
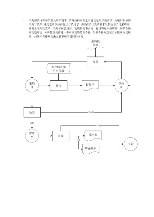
1、采购部查询库存信息及用户需求,若商品的库存量不能满足用户的需求,则编制相应的采购订货单,并交送给供应商提出订货请求。
供应商按订货单要求发货给该公司采购部,并附上采购收货单。
采购部在验货后,发现货物不合格,将货物退回供应商,如果合格则交送库房。
库房管理员再进一步审核货物是否合格,如果合格则登记流水账和库房账目,如果不合格则交由主管审核后退回供应商。
2、在盘点管理流程中,库管员根据仓库数据首先编制盘存报表并提交给仓库主管,仓库主管查询库存清单和盘点流水账,然后根据盘点规定进行审核,如果合格则提交合格盘存报表递交给库管员。
如果不合格则仓库主管返回不合格盘存报表给库管员重新查询数据进行盘点。
根据以上情况画出业务流程图。
3、若库房里的货品由于自然或其他原因而破损,且不可用的,需进行报损处理,即这些货品清除出库房。
具体报损流程如下:由库房相关人员定期按库存计划编制需要对货物进行报损处理的报损清单,交给主管确认、审核。
主管审核后确定清单上的货品必须报损,则进行报损处理,并根据报损清单登记流水账,同事修改库存台账;若报损单上的货品不符合报损要求,则将报损单退回库房。
4、“生产资料出库”主要指生产部门员工到仓库中领取生产原料和各种生产工具等产品,其流程描述如下:首先由生产部门员工向仓库主任提交原料提货单,然后仓库主任根据当前库存情况和用料计划对提货单进行审核,将不合格的提货单返回给生产部门员工,并将合格原料提货单交给库管员,库管员根据合格原料提货单更新库存台账并记录出库流水账。
(1)根据以上描述,绘出生产资料“出库”的业务流程图。
(10分)分)(2)根据上题的业务流程绘出生产资料“出库”的数据流程图(55、采购员从库房收到缺货通知单以后,查阅订货合同单,若已订货,向供货单位发出催货请求,否则,填写订货单交供货单位。
供货单位发出货物后,立即向采购员发出取货通知单。
采购员取货后,发出入库单给库房。
库房进行验货入库处理,如发现有不合格货品,发出验收不合格通知单给采购员,采购员据此填写退货单给供货单位。
(ERPMRP 管理)标准业 务流程图 ERP标准业务流程一、销售部分:(一) 销售合同管理流程:业务编号 流程适用范围ZML-001业务名称销售订单管理所有的销售业务必须以审核后的销售订单作为业务起点岗位操作相关岗位及权限销售经理 销售副总 财务销售订单整理,填表,备案 销售订单审核并签字 销售订单核算利润相关部门或岗位销售经理销售经理工程部人员权限填销售订单 审核并签字 核算利润财务项目核算员具 体 工 作 流 程1、 销售部门销售业务员签订销售合同(参见公司合同审批流程)。
所有的销售订单必须填写销售合同描审批单(见表:PR-SA-01),进行各部门审批。
总调室调度人员在接到销售合同审批单后,根据订述单内容、存货情况、产品技术设计情况在【物料需求计划】模块增加存货档案并建立相关的产品结构;根据销售合同审批单上总调室增加的存货档案、产品结构情况财务部门项目核算人员在【总账】模块增加成本对象项目的项目目录;2、 销售助理根据审批后的销售合同审批单在【销售管理】模块中录入销售订单(见表:PR-SA--02),录入完毕后检查无误后,销售助理在【销售管理】模块对销售订单进行审核;3、 财务部门项目核算人员根据销售合同审批单在【总账】模块增加成本对象项目的项目目录,以便进行项目的统计核算;4、 总调室调度人员根据审核后的销售订单在【物料需求计划】模块安排生产计划及采购计划;产品操作要点:1、 销售类型(按照产品项)分为五种:车体改装销售 机加产品销售 多媒体商品销售 材料销售 系统集成销售重点提示:根据销售统计和核算的需要,在销售订单的表头栏目内必须选择对应的销售类型, 从以上五种分类中进行选择。
2、 销售业务类型(按照结算情况界定)为三种: 普通销售业务:无论赊销、现销,当月完成发货后(含多次发货)当月结算完毕(含 多次结算)的销售业务,在增加销售订单时选择业务类型为普通销售业务。
具体操作 见普通销售业务处理流程 分期收款业务:当月完成发货后(含多次发货),需分次、跨月进行结算、开发票, 分批结转收入成本的销售业务,在增加销售订单时选择业务类型为:分期收款。
销售订单客户名称订单时间编号交货地址订购产品信息产品代码型号单位数量金额合计金额(大写)(小写)赠品信息产品代码型号单位数量备注摘要销售人员经理审批销售订单客户名称订单编号时间交货地址订购产品信息产品代码型号单位数量金额合计金额(大写)(小写)赠品信息产品代码型号单位数量备注摘要销售人员经理审批订单填写规定1、目的:为了规范公司的订单处理流程,提高工作效率,特制定本规定。
2、适用:本规定适用于国内贸易批发部订单处理。
3、起效:自本规定公布之日起,本规定开始实施。
4、填写要求:1)客户基本信息部分,包括客户全称、交货地址、订单编号、下单时间四个科目。
2)客户全称为所下订单客户的全称,与客户信息档案表中客户登记的名称保持一致;3)交货地址一般为客户在客户信息表中登记的地址;4)订单编号书写格式为:2012-09-05-01,具体为订单所在年份,订单所在月份,订单所在日,最后为订单序号。
5)订购产品信息部分,包括产品代码、产品型号、产品单位、产品数量、产品金额及合计总金额。
订购产品信息产品代码型号单位数量金额DA341 个27DA341 个11DA341 个13DA341 个10 1合计金额(大写)捌仟伍佰伍拾元整(小写)6)赠品信息部分,包括产品代码、型号、单位、数量及备注赠品信息产品代码型号单位数量备注DA341 39-41/左个 37)摘要部分:填写如:圆通快递(DA341都要白色,其中大号右2个拿回公司)8)最后一部分销售人员经理审批销售订单由销售本人填写,由部门经理进行审批,最后由销售内勤人员进行订单执行。
9)销售订单一经审批不得轻易修改。
5、销售订单的保存:由销售内勤进行统一保管,以备后查对。
保存要求按订单序号、按日进行装订。
6、其他:根据使用情况,再作局部调整。
7、附件《销售订单》营销管理部。
业务下单管理制度第一章总则第一条为规范业务下单流程、明确各部门职责、提高工作效率,根据公司实际情况,制定本制度。
第二条本制度适用于公司内部所有业务下单管理工作。
第三条业务下单是指客户向公司提出订单需求,公司接收订单并进行处理的整个流程。
第四条业务下单管理应遵循便捷、规范、准确、高效的原则。
第二章业务下单流程第五条客户向销售人员提出订单需求。
第六条销售人员与客户沟通确认订单细节,并填写订单表格。
第七条销售人员将订单表格交给业务助理进行审核。
第八条业务助理审核订单表格,并进行录入系统。
第九条订单信息系统自动生成订单号,销售人员向客户确认订单号。
第十条业务助理将订单信息传递给生产部门。
第十一条生产部门根据订单信息安排生产计划,并通知仓库储备物料。
第十二条生产完成后,生产部门通知质检部门进行质量检验。
第十三条质检合格后,质检部门通知仓库进行配送。
第三章各部门职责第十四条销售部门负责与客户沟通、确定订单细节、填写订单表格。
第十五条业务助理负责审核订单表格、录入系统、传递订单信息。
第十六条生产部门负责生产计划、通知仓库储备物料。
第十七条仓库负责配送产品。
第十八条质检部门负责产品质量检验。
第四章管理措施第十九条公司建立健全业务下单管理制度,明确各部门职责,加强沟通协作,提高工作效率。
第二十条公司加强对业务下单流程的监督和检查,发现问题及时纠正。
第二十一条公司鼓励创新,采用先进技术手段,提高业务下单的自动化、智能化水平。
第二十二条公司建立健全绩效考核体系,对业务下单相关岗位进行绩效考核。
第五章附则第二十三条本制度解释权属于公司相关部门。
第二十四条本制度自颁布之日起正式施行。
第二十五条本制度未尽事宜,由公司相关部门解释。