设备验收流程图
- 格式:docx
- 大小:61.43 KB
- 文档页数:1
到场物资验收实施办法为了加强内蒙古蒙大新能源化工基地开发有限公司(以下简称公司)到场设备(材料)数量、质量与项目建设相符合的需要,避免不合格品流入公司,投入使用;根据公司《物资库存管理实施办法》、《成立设备(材料)验收小组的通知》有关要求,结合实际,制定本办法。
一、非EP物资验收公司仓储管理员接到采购员到货通知后,通知保管员进行验收准备,通知相关部门人员参加验收,核对凭证、清点数量、核实质量;无误后,填写设备(材料)入库验收单,签字确认,接收货物,到货处理安排。
二、EP物资验收1、东华工程科技股份有限公司[(现场采购代表)以下简称东华公司]接到到货通知后,及时通知采供部仓储管理员,并通知所有参加验收部门(单位)参加验收工作,联系施工管理部做好机具、人员的调用准备。
2、东华公司据职责做好开箱验收准备,核对设备(材料)与设备(材料)运输司机《发运单》,开箱后的《装箱单》,数量相符后,核实质量,无误后,并填写《现场开箱检验/接收记录表》,签字确认,填写合格字样,并移交施工单位。
3、开箱后,发现装箱单与所装设备(材料)不符时(或质量有缺陷时),东华公司速联系厂家(驻厂代表)确认长退短补(或退货),并反馈采购供应部相关人员。
到场设备(材料)开箱验收流程图二、到场设备(材料)出库实施办法1、设备(材料)领用部门(单位),先到仓储管理员(仓储保管员)处询问到货的规格、数量。
2、核实后,到采购供应部材料统计员处打印申领单,经仓储管理员、领用部门负责人、分管领导签字,到材料统计员那里办理申领单,签字确认。
3、仓储保管员凭出库单,办理领用手续,仓储保管员、材料统计员各自建立领用台账。
4、对于未办入库而又急需的物资领用、在计划外物资领用,金额不超5万元的,申领单上需经采购供应部负责人、分管领导签字,方可出库。
5、对于未办入库而又急需的物资领用、在计划外物资领用,金额超过5万元以上的或涉及贵重物品、重大危险源物资的领用,总经理签字,方可出库.物资入库流程图物资出库流程图1、严格执行公司各项规章制度,必须熟知各种材料的性能、价格、产地、用途。
机电设备进场验收流程英文版:Equipment Acceptance Process for Mechanical and Electrical Equipment1.Equipment Inventory Check: Compare the arrived equipment against the purchase contract and equipment inventory, ensuring that the model, quantity, etc., match the inventory.2.Visual Quality Inspection: Inspect the equipment visually for any damage, deformation, rust, or other defects, ensuring that the exterior of the equipment is intact.3.Technical Documentation Review: Examine the accompanying technical documentation, such as the certificate of conformity, operating instructions, installation drawings, etc., to verify their completeness and accuracy.4.Performance Index Testing: Test the performance indicators of the equipment, such as voltage, current, power, speed, etc., to ensure that the equipment's performance meets the contract agreement.5.Safety Protection Device Inspection: Inspect the safety protection devices of the equipment, such as overload protection, short-circuit protection, earthing protection, etc., to ensure they are intact.6.Accessories Inventory Check: Count and inventory the accompanying accessories, such as cables, bolts, seals, etc., to ensure that the quantity matches the inventory.7.Installation Condition Confirmation: Inspect the on-site installation conditions, such as power supply, space, temperature, etc., to confirm that they meet the equipment installation requirements.8.Acceptance Record Signing: Record the acceptance process and results in an acceptance report and have relevant personnel sign for confirmation.中文版:1.设备清单核对:对照采购合同和设备清单,检查到货设备型号、数量等是否与清单一致。
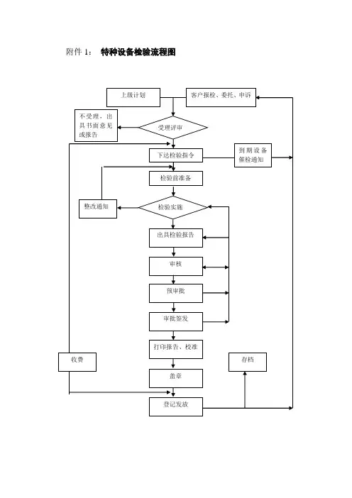
附件1:特种设备检验流程图附件2:特种设备(普查)注册登记表附件3:载荷试验重量确认书湖北省特种设备安全检验检测研究院:我单位□安装□改造的□电梯□起重机台,规格型号,额定载重量Gn t。
按载荷试验要求,试验现场已组织重量为100%Gn t,110%Gn t,125% Gn t的试重。
现申明:此重量已得到安装单位(或制造单位)、使用单位(或产权单位)共同确认,并对试重重量的准确性负责。
使用单位(或产权单位)负责人:(单位盖章)安装单位(或制造单位)负责人(单位盖章)年月日附件4:文件编号:ZLJL09.01检验申请书编号:湖北省特种设备安全检验检测研究院:我单位使用的特种设备□锅炉台,□压力容器台,□压力管道米,□起重机械台,□电梯台,□厂内机动车辆台,□游乐设施台 (必要时附明细表) ,上周期检验时间为年月日。
按照《特种设备安全监察条例》第二十八条的规定,特申请定期检验( ),请予安排。
申请单位:(公章)申请日期:年月日经办联系人:电话:附:报检设备明细表文件编号:ZLJL09.02检验申请书回执/检验通知编号::你单位检验申请已受理,我院检验人员将依据国家有关规定进行检验,特殊情况将根据本院规定程序采取必要的检验方法,检验联系人,联系电话:。
请按以下要求作好检验前准备及配合工作:①检验设备档案资料准备齐全(在用设备申请定期检验的,包括上周期检验报告、运行、维修保养记录等);②电源、水源及环境条件满足检验要求,需要设置隔离区的,已经进行了隔离,并设置了安全标志;③被检设备按照规定进行了清理,盛装的介质排放干净,并与其他相关设备进行了可靠的隔离;④盛装易燃、有毒的设备进行了置换、中和、消毒、清洗,并保持分析合格;⑤需要打开、拆卸的,已经按照规定完成;⑥高温设备已经得到可靠冷却,满足检验工作条件;⑦需要运行试验的,设备调试完毕,运转正常;⑧需要进行载荷试验的,试验重物已到位并做好转(搬)运准备;⑨管理和操作人员(如行车司机)到位, 人员按要求持证并准备相应操作证书;⑩指定现场协调和安全责任人负责检验现场安全协调工作;其他必要准备。
修订状态1.0目的为确保产品质量,使公司产品符合其品质要求。
规范设备内部/外部验收工作,确保不合格产品不入库,不出厂。
2.0范围适用于公司内所有设备的内部/外部验收。
3.0职责3.1市场部:负责内部/外部验收工作中所需物料的提供,以客户的角度对验收设备提出要求,将客户提出的外部验收日期反馈给项目部。
3.2项目部:内部验收根据合同、生产计划对设备进行内部验收的时间安排和跟进。
外部验收根据市场部通知的设备验收信息对设备进行外部验收的时间安排和跟进。
3.3装配部:负责在项目部安排验收时间内以技术协议为标准,完成设备的安装、调试工作,并提出内部设备验收申请。
3.4品质部:负责设备内部/外部验收的组织工作,以技术协议为为准,记录验收数据及过程并出具验收报告。
3.5技术部:负责设备内部/外部验收中易损件图纸、清单、说明书等技术资料的提供。
3.6售后部:配合品质部门对设备进行内部/外部验收。
负责对验收设备的合格率、故障率、节拍等关键指标进行验证。
3.7采购部:根据项目部安排的验收的时间联络外发设备供应商做好验收工作准备。
4.作业内容4.1外发设备验收流程4.1.1项目部应提前两天组织相关部门根据合同、生产计划对外发设备进行验收的时间安排和跟进。
4.1.2采购部根据项目部安排的验收的时间联络外发设备供应商做好验收工作准备。
4.1.3 品质部根据项目部安排的验收的时间组织相关部门对外发设备以技术协议为为准进行验收工作,并记录验收数据及过程并现场出具验收报告。
4.1.4外发验收不通过的设备,采购部须在接到不合格《设备预验收报告》后1日内向外发设备供应商传达,以及要求供应商回复问题点的改善对策和完成时间。
4.1.5验收人员4.2设备内部验收流程4.2.1项目部应提前两天组织相关部根据合同、生产计划对设备进行内部验收的时间安排和跟进。
4.2.2装配部在项目部安排验收时间内以技术协议为标准,完成设备的安装、调试工作。
验收申请应提前1天向品质部提出,同时提供不少于0.5小时的设备运行数据记录(《设备调试记录表》),带料运行时间不少于15分钟。
1.供应商提前三天通知药械科注:医院监事会全程参与设备验收工作2.设备到医院3.1 设备组专人接货,清点数量;3.药械科专人负责接货3.2 若发现外包装有破损,应做好拍照或摄像等记录,作为索赔依据。
4.会同厂商、药械科科长、固定资产管理人员、使用科室负责人同时开箱验收5.安装调试6.1 功能配置验收:应根据招标文件和合同技术配置清单中提供的各项功能(包括软件功能版本)逐项进行核对并进行操作演示,检查是否有缺少或与合同内的规格不相符,设备是否能正常工作,并作记录。
此项工作也可以在设备调试时同时进行;6.技术性能指标验收6.2 技术性能指标检测:应根据招标文件或合同技术配置的各项可测技术性能指标,按厂方提供的测试条件、测试设备逐项进行测试,如对照初测的技术指标实际测量,对检测结果做出合格与不合格的结论,并做好记录;检测验收报告应由参加检测的各方共同签字;对不合格的检测项目应由生产厂商负责重新调度或更换部件,直至测试合格;6.3 对功能配置不符或技术性指标达不到要求,又无法调整者,应向供应商提出更换或技术索赔;进口设备索赔工作应通过华信集团向经销商索赔。
7.收集技术资料7.1 包括使用手册、维修手册、安装手册、图纸、原产地证书、质保书、合格证等,将作为随机资料存入设备档案。
8.填写医疗设备验收单8.1 医疗设备的验收报告格式,要有使用科室、设备管理部门、固定资产管理部门、医院监事会、厂商代表共同签字;8.2 保修日期应从验收合格之日起开始计算,而不是安装日期。
设备验收流程4.1 所有人员一起开箱清点货物,应注意原包装是否完好,检查设备外观,确认设备是否全新,防止是展品或翻新设备;4.2 与合同配制清单一一核对规格型号、数量及原产地证书等,并做好记录 ;4.3 若是法定商检产品,还应有商检人员到场验收,若已经商检,则要核查商检证书与实物是否相符。
9.库房人员依据《验收单》和发票办理入库和使用部门领用手续9.1 维修组负责设备运行情况标识、《设备操作流程》和维护卡的粘贴。
环评验收流程图环评验收流程图一、验收前准备1、施工单位自验合格,向监理单位提交验收申请。
2、编制验收方案。
验收方案应当包括验收范围、验收标准、验收内容、验收人员、验收时间等内容,并经过相关部门审查。
二、编制验收计划1、根据验收方案,编制验收计划。
2、验收计划应当报经相关部门审查,经批准后组织实施。
三、验收申请1、施工单位应当向监理单位提交验收申请,并提交相关资料。
2、监理单位应当对验收申请进行审核,审核合格的,报经监理单位负责人批准后,向建设单位提交验收申请。
四、验收审核1、建设单位收到验收申请后,应当组织相关部门进行验收审核。
2、验收审核应当包括以下内容:(1)工程是否符合国家规定的标准、规范和设计要求;(2)工程质量是否达到合同约定的标准;(3)工程是否具备使用条件;(4)工程是否存在质量问题或安全隐患;(5)其他需要审核的内容。
五、验收合格1、经过验收审核,符合标准的工程,应当给予验收合格结论。
2、验收合格后,施工单位应当及时办理竣工手续,并向监理单位提交相关资料。
六、验收不合格1、经过验收审核,不符合标准的工程,应当给予验收不合格结论。
2、施工单位应当根据审核意见进行整改,整改完成后重新提交验收申请。
七、其他事项1、验收过程中发现的问题,应当及时处理,并做好记录。
2、验收合格后,应当及时办理竣工手续,并向相关部门提交相关资料。
一般验收流程图在开始验收之前,需要进行一些必要的前期准备。
这些步骤包括:1、需求分析: 理解并明确验收测试的需求,包括测试的目标、测试的条件以及预期的结果。
2、测试环境搭建: 根据测试需求,搭建相应的测试环境。
这包括软件和硬件设备的准备、安装和配置。
3、测试数据准备: 创建并准备好用于测试的应用程序或系统所需的数据。
4、编写测试用例: 根据需求分析,为每一个需要测试的功能或流程编写详细的测试用例。
在前期准备完成后,可以开始实际的验收测试过程。
1、安装并配置测试工具: 根据测试需求,选择合适的测试工具,并进行安装和配置。
设备验收质量控制流程图英文回答:The process of quality control for equipment acceptance can be depicted in a flowchart. This flowchart outlines the steps involved in ensuring the quality of the equipment being accepted. The following is a description of the flowchart:1. Start: The process begins with the start symbol, indicating the initiation of the quality control processfor equipment acceptance.2. Document Review: The first step is to review the relevant documentation, including the equipment specifications, manuals, and any other related documents. This helps in understanding the requirements and specifications of the equipment.3. Inspection: The next step is to conduct a physicalinspection of the equipment. This involves visually examining the equipment to check for any damages, defects, or discrepancies.4. Testing: After the inspection, the equipment needs to undergo various tests to ensure its functionality and performance. These tests may include functionality tests, performance tests, safety tests, and any other specific tests as per the equipment requirements.5. Test Results Evaluation: The test results are then evaluated to determine whether the equipment meets the specified requirements. This evaluation may involve comparing the test results with the predefined acceptance criteria or standards.6. Non-Conformance Handling: If any non-conformance or deviation from the specified requirements is identified during the evaluation, it needs to be addressed. This may involve documenting the non-conformance, investigating the root cause, and implementing corrective actions.7. Acceptance Decision: Based on the evaluation of the test results and non-conformance handling, a decision is made regarding the acceptance of the equipment. If the equipment meets all the specified requirements and any identified non-conformances are resolved, it can be accepted. Otherwise, further actions may be required, such as retesting or rejection of the equipment.8. Documentation: Finally, the acceptance decision and all the relevant information, including the test results, non-conformance reports, and any other supporting documents, are documented for future reference.End: The process ends with the end symbol, indicating the completion of the quality control process for equipment acceptance.中文回答:设备验收质量控制流程图描述了设备验收过程中的质量控制步骤。
到场物资验收实施办法为了加强内蒙古蒙大新能源化工基地开发有限公司(以下简称公司)到场设备(材料)数量、质量与项目建设相符合的需要,避免不合格品流入公司,投入使用;根据公司《物资库存管理实施办法》《成立设备(材料)验收小组的通知》有关要求,结合实际,制定本办法。
一、非EP 物资验收公司仓储管理员接到采购员到货通知后,通知保管员进行验收准备,通知相关部门人员参加验收,核对凭证、清点数量、核实质量;无误后,填写设备(材料)入库验收单,签字确认,接收货物,到货处理安排。
二、EP物资验收1 、东华工程科技股份有限公司[(现场采购代表)以下简称东华公司]接到到货通知后,及时通知采供部仓储管理员,并通知所有参加验收部门(单位)参加验收工作,联系施工管理部做好机具、人员的调用准备。
2、东华公司据职责做好开箱验收准备,核对设备(材料)与设备(材料)运输司机《发运单》,开箱后的《装箱单》,数量相符后,核实质量,无误后,并填写《现场开箱检验/ 接收记录表》,签字确认,填写合格字样,并移交施工单位。
3、开箱后,发现装箱单与所装设备(材料)不符时(或质量有缺陷时),东华公司速联系厂家(驻厂代表)确认长退短补(或退货),并反馈采购供应部相关人员。
到场设备(材料)开箱验收流程图到场设备(材料)出入库实施办法为了加强内蒙古蒙大新能源化工基地开发有限公司(以下简称公司)物资库存管理,规范设备(材料)出入库流程,保障项目建设顺利投产,根据公司《物资库存管理实施办法》有关要求,结合公司实际,制定本办法。
一、到场设备(材料)入库实施办法1、仓储管理员接到入库通知,会同仓储保管员、材料统计员协商后,制定入库计划、审核单据。
2、根据供应商提供的采购计划单、采购订单(采购合同)、入库验收单、财务部门检验过的发票,让材料统计员在系统内录入,并打印公司入库单,共同在入库单上签字确认,部门负责人审核后,仓储保管员、材料统计员各自办理入库明细账。
3、以物资到场时间的先后顺序办理入库手续。
设备开箱验收流程1、目的为了规公司新购设备(含备件)到厂开箱验收管理工作,严格管理新购设备装箱单、文件技术资料的归档、协议符合情况的监控,特制定本设备开箱验收流程。
2、适用围适用于公司各部门设备开箱验收工作。
3、流程负责单位设备部4、机构职责设备部:负责新购设备到厂组织开箱验收工作、负责联系采购单位或安装公司开箱;负责入库单的填写会签、协议与实物对照检查(仅针对技术部、设备部签订的技术要求、技术协议的设备)。
随机资料的收集、查收、归档。
采购单位:依据装箱单清点设备、附件、备品、备件、随机工具;签收装箱单、入库单。
负责保管随机备品、备件、附件、随机工具。
负责包装箱的开箱,包装箱的回收利用,现场清理(开箱时所产生的木屑、木块、铁皮、铁钉等废弃物)、开箱过程中的安全。
5、国产设备开箱管理流程5.1关键控制点A2、B2、C2、B5、B7、A9、B105.2管理指标设备装箱单符合率=实际装箱物品数量/装箱单罗列物品数量×100%;目标值100%实物与协议符合率=实际装箱物品/协议规定物品×100%;目标值:100%5.3流程图5.4节点说明5.4.1 C1节点:开箱验收申请供货厂商在确认设备全部运送到我公司,并已对安装现场进行检查确认具备安装条件,准备好安装工具。
应确定开箱数目,在安装之日起前两日向设备部提交《开箱验收申请单》。
5.4.2 B1节点:发出开箱验收通知单设备部在接到供货厂商提交的《开箱验收申请》后,向设备采购单位(项目管理单位)、供货厂商发出《开箱验收通知单》,说明具体的开箱时间、地点和相关参加单位等容。
5.4.3 A2节点:实施开箱开箱负责人在规定时间、地点即开箱现场清点设备采购单位、供货厂商、设备部等相关人员全部到场后,向采购单位下达开箱指令(口头指令)。
采购单位在接到《开箱验收通知单》后,采购人员、设备员、技术员、库管员、设备部档案管理员、设备工程师等相关人员到场,在规定时间、地点等待开箱组织负责人下达开箱指令后实施开箱。