新药临床申请审批流程图
- 格式:doc
- 大小:34.50 KB
- 文档页数:7
新药(生物制品)申报流程准备报临床申报资料向省食品药品监督管理局报送申请资料省局,受理,5工作日内组织对药物研制情况及原始资料进行现场核查;30工作日内完成现场核查,将初审意见,《药品注册研制现场核查报告》;生物制品抽3批样品;向中检院发出注册检验通知国家食品药品监督管理局药品审评中心(CDE )CDE 对申报资料进行技术审评(90工作日) 如果必要,CDE 将要求申请人补充资料(补充资料准备时间4个月,审评30工作日,一般最多要求补充2次)CDE 完成审评,提出技术审评意见,送国家食品药品监督管理局(SFDA )审批符合规定,SFDA30工作日内作出审批,发给《药物临床试验批件》临床试验备案(SFDA,申报省局,临床试验基地所在省局3处备案)进行药物临床试验拿到受理号,相关进度,便可以从SFDA 网站上查询 审评进度,审评人员名单及联系方式可以从CDE 网站查询。
中检院进行生物制品样品检验,标准复核临床试验完成后,准备报生产申报资料向省食品药品监督管理局报送申请资料省局受理,5工作日内组织对药物临床试验情况及原始资料进行现场核查;30工作日内完成现场核查,同时抽取3批样品。
CDE 技术审评(150工作日)如果必要,CDE 将要求申请人补充资料(补充资料准备时间4个月,审评50工作日,一般最多要求补充2次)CDE 审评符合规定的,通知申请人申请生产现场检查,并抄送国家食品药品监督管理局药品认证中心,申请人6个月内向国家药品认证中心提出申请国家药品认证中心30日内完成生产现场检查,同时抽取3批样品10日内《生产现场检查报告》寄送初审意见,《药品注册研制现场核查报告》,申报资料样品送中检院,60工作日完成注册检验,标准复核,《药检报告》寄送CDE样品送中检院检验,30工作日,药检报告寄送CDECDECDE完成审评,提出技术审评意见,送国家食品药品监督管理局(SFDA)审批SFDA审批(30工作日)符合规定的发给药品批准文号改变剂型不改变给药途径,增加新适应症不属新药,靶向制剂,缓释,控释制剂等特殊剂型除外。
项目名称:新药生产的申报与审批
许可依据:《药品管理法》、《药品管理法实施条例》、《药品注册管理办法》
申报资料:
1、提交<药品注册申请表〉纸质原件一式四份及电子版一份
按〈药品注册管理办法〉附件一、附件二和附件三的要求提交申报资料四套,包括原件二套,复印件一套及综述资料复印件一套.
办理程序:申请人向省局药品注册处提出注册申请,按要求提交〈药品注册申请〉及申报资料;省局进行形式审查并决定是否受理;省局对受理的注册申请进行现场核查、抽取3批样品注册检验并进行初步资料审查,符合要求的上报国家局药审中心进行技术审评;经审评符合要求的,由药审中心通知国家局药品认证中心进行生产现场检查,并抽取1批样品(生物制品抽取3批)进行检验。
均符合要求的,国家局发给新药证书.申请人已持有《药品生产许可证》并具备生产条件的,同时发给药品批准文号。
办理时限:205(175)日,其中:
省局受理、现场核查及资料初审:35日
国家局技术审评:150日,获准进入特殊审批程序的品种:120日
国家局审批:20日
收费标准:3500元
新药生产的申报与审批流程图。
新药申报审批一般程序图总则第一条根据《中华人民共和国药品管理法》、《中华人民共和国药品管理法实施办法》的规定,为规范新药的研制,加强新药的审批管理,制定本办法。
第二条新药系指我国未生产过的药品。
已生产的药品改变剂型、改变给药途径、增加新的适应症或制成新的复方制剂,亦按新药管理。
第三条国家药品监督管理局主管全国新药审批工作。
新药经国家药品监督管理局批准后方可进行临床研究或生产上市。
第四条凡在中华人民共和国境内进行新药研究、生产、经营、使用、检验、监督及审批管理的单位或个人,都必须遵守本办法。
第五条国家鼓励研究创制新药。
新药的分类第六条新药按审批管理的要求分以下几类:一、中药第一类:1. 中药材的人工制成品。
2. 新发现的中药材及其制剂。
3. 中药材中提取的有效成分及其制剂。
4. 复方中提取的有效成分。
第二类:1. 中药注射剂。
2. 中药材新的药用部位及其制剂。
3. 中药材、天然药物中提取的有效部位及其制剂。
4. 中药材以人工方法在动物体内的制取物及其制剂。
5. 复方中提取的有效部位群。
第三类:1. 新的中药复方制剂。
2. 以中药疗效为主的中药和化学药品的复方制剂。
3. 从国外引种或引进养殖的习用进口药材及其制剂。
第四类:1. 改变剂型或改变给药途径的制剂。
2. 国内异地引种或野生变家养的动植物药材。
第五类:增加新主治病证的药品。
二、化学药品第一类:首创的原料药及其制剂。
1. 通过合成或半合成的方法制成的原料药及其制剂。
2. 天然物质中提取的或通过发酵提取的有效单体及其制剂。
3. 国外已有药用研究报道,尚未获一国药品管理当局批准上市的化合物。
第二类:1. 已在国外获准生产上市,但未载入药典,我国也未进口的药品。
2. 用拆分、合成的方法首次制得的某一已知药物中的光学异构体及其制剂。
3. 国外尚未上市的由口服、外用或其他途径改变为注射途径给药者,或由局部用药改为全身给药者(如口服、吸入等制剂)。
第三类:1. 由化学药品新组成的复方制剂。
新药生产的申报与审
批流程图
精品文档
项目名称:新药生产的申报与审批
许可依据:《药品管理法》、《药品管理法实施条例》、《药品注册管理办法》
申报资料:
1、提交〈药品注册申请表〉纸质原件一式四份及电子版一份
按〈药品注册管理办法〉附件一、附件二和附件三的要求提交申报资料四套,包括原件二套,复印件一套及综述资料复印件一套。
办理程序:申请人向省局药品注册处提出注册申请,按要求提交〈药品注册申请〉及申报资料;省局进行形式审查并决定是否受理;省局对受理的注册申请进行现场核查、抽取3批样品注册检验并进行初步资料审查,符合要求的上报国家局药审中心进行技术审评;经审评符合要求的,由药审中心通知国家局药品认证中心进行生产现场检查,并抽取1批样品(生物制品抽取3批)进行检验。
均符合要求的,国家局发给新药证书。
申请人已持有《药品生产许可证》并具备生产条件的,同时发给药品批准文号。
办理时限:205(175)日,其中:
省局受理、现场核查及资料初审:35日
国家局技术审评:150日,获准进入特殊审批程序的品种:120日
国家局审批:20日
收费标准:3500元
收集于网络,如有侵权请联系管理员删除
精品文档
新药生产的申报与审批流程图
收集于网络,如有侵权请联系管理员删除。
新药审批流程详解新药获批的流程和要求新药的研发和获批对于保障公众的用药安全和创新药物的推出至关重要。
然而,由于新药的研发与上市过程十分复杂,需要经历一系列严格的审批流程和满足一定的要求。
本文将详细解析新药审批流程,并解释新药获批的要求。
一、研发前期在开始新药的研发之前,科研人员需要确定治疗的目标和治疗的途径。
他们会从已知的疾病机理出发,设计并合成化合物。
此阶段的研发主要是在实验室中进行。
二、临床前试验在临床前试验阶段,新药需要通过一系列体外和动物实验来评估其安全性和毒理学信息。
这些试验通常包括体外药物代谢和毒性研究、动物毒性学试验、药物代谢动力学试验等。
通过这些试验,科研人员能够初步判断新药的潜力和安全性,为后续的临床试验提供依据。
三、临床试验临床试验是评价新药疗效和安全性的最关键阶段。
通常分为三个阶段进行。
阶段Ⅰ : 这一阶段的试验对象是健康志愿者,目的是评估新药的耐受力和安全性,确定适当的用药剂量。
阶段Ⅱ : 在这一阶段,新药将被测试在具有目标疾病的患者身上。
研究人员将评估药物的疗效和安全性,并与传统治疗药物进行比较。
阶段Ⅲ : 这是最后一个临床试验阶段,也是最大规模的阶段。
大规模的受试者将被纳入试验,以充分验证新药的疗效和安全性。
实验结果将会提交给药监部门进行审查和批准。
四、药物注册当新药的临床试验证明其疗效和安全性以后,研发者需要向药监部门提交药物注册申请。
申请材料通常包括临床试验数据、药物成分和质量标准、生产工艺和质量控制等信息。
五、审批过程药监部门针对药物注册申请进行评审。
评审过程包括核查申请材料、专家评审会、临床试验报告的评估等。
在评审过程中,药监部门将综合各方意见,对新药的质量、疗效和安全性进行综合评估。
六、获批和上市在通过审查并满足相关要求后,新药将正式获得批准,并获得药品注册证书。
获批后,制药企业将正式开始生产和销售新药。
七、监测和评估新药上市后,药监部门将继续对新药的疗效和安全性进行监测和评估。
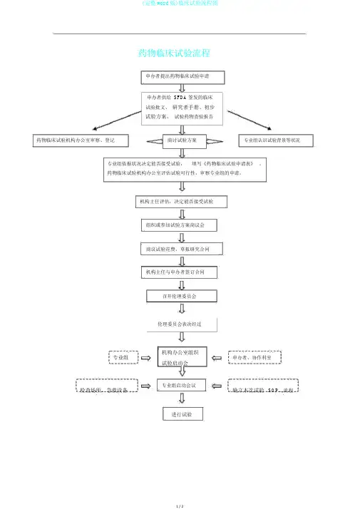
药物临床试验流程
申办者提出药物临床试验申请
申办者供给SFDA 签发的临床
试验批文、研究者手册、初步
试验方案、试验药物查验报告
药物临床试验机构办公室审察、登记商讨试验方案专业组认识试验背景等状况
专业组依据状况决定能否接受试验,填写《药物临床试验申请表》。
药物临床试验机构办公室评估试验可行性,审察专业组的申请。
机构主任评估,决定能否接受试验
组织或参加试验方案商议会
商议试验花费,草拟研究合同
机构主任与申办者签订合同
召开伦理委员会
伦理委员会表决经过
机构办公室组织
专业组申办者、协作科室
试验启动会
检查场所、急救设备专业组启动会议
确立本次试验SOP、流程进行试验
进行试验
受试者挑选药品管理
知情赞同过程、签知情赞同书中期试验文件采集、归档
协作会
试验数据记录项目负责人监察试验质量
监查员、机构办公室的监查不良事件监查、办理、记录
试验结束
向机构和有
严重不
良事件关单位报告
专业组整理、自查、审察CRF,移交
CRF及其余文件资料,退回试验用药
解盲
机构办公室审察CRF,整理、归档文件资料
机构办公室向申办者提交CRF 第一联,退回试验用药物
项目负责人依据统计结果撰写小结
报告,组长单位撰写总结报告
机构办公室审察小结报告,最
后交申办者,小结报告归档
组长单位与申办者组织召开临床试验总结会
总结报告归档,与申办者办理有关手续
机构办公室提交财务报告,机构主任
审批,财务科发放劳务费或一致划帐。
现在有三种申报方法一.申报1.1类药进口(进口药)(1)方法:a.等药品在国外上市后,不在国内生产。
申请分包进口(类似于代理)。
b.等药品在国外上市后,完善国内厂房技术,在国内生产。
(2)费用:临床实验37.6万,生产59.39万。
(3)难点:a.需要等药物在国外上市后才可以进行,延长周期。
b.如果在国内生产,需要完善国内厂房技术,延长周期、增加费用。
c.如果国外生产,分包进入国内时可以申请免除临床实验,但是不能确定可以申请成 功。
d.需要所有的临床资料,包括所有的实验数据。
二.申报1.1类新药临床试验(国产药)(1)方法:直接在国内申报1类新药,相关药理毒理研究资料由国外进行,提供相关证明,然后工艺研究、质量研究跟稳定性研究在国内进行,等国内药厂达到生产要求后,将药品在国内生产,按照国内药来报。
(2).费用:申请临床实验19.2万,申请生产43.2万。
(3)难点:a.需要等国内工厂具备相关生产条件后才可以进行申报。
b.无法申请避免临床。
三.申报国际多中心临床试验(1)基本流程+费用+时间:主要临床基地伦理委员会审(费用...,时间...)+临床审批(费用37.6万,时间205天)+药品清关(费用...+时间...)(时间相对较短)(2)方法:申报程序与国内1.1类化学新药临床试验申报大致相同,但是需要更多的临床资料和证明性文件。
(3)申请地点:国家药监局 北京市西城区宣武门西大街28号大成广场3门一层(总局办公大楼 西侧),邮编100053(4)流程图:注:斜线前为一般审批时限,斜线后为特殊审批时限,均为工作日。
(5)申报资料列表:(一)概要部分1. 药品名称通用名:替拉扎明汉语拼音:Ti La Zha Ming英文名:Tirapazamine (TPZ)化学名:3-amino-1,2,4-benzotriazine 1,4-di-N-oxide)化学结构式:分子式:C 7H 6N 4O 2分子量:178.14812. 证明性文件 已有资料已整理至“申报资料2_证明性文件_20161203”,其余需根据实际情况请申办人提供国家局药审中心接受审查意见、核查报告、申报资料 药检所检验样品,复核标准(60/30/90日) 药审中心技术审评(90/80) 申请人在4个月内1次性补充资料 药审中心对补充资料的审评(30/20日) 国家局审批(20日) 不批准或退审,发给《审批意见通知件》(10日) 批准进行药物临床试验,发给《药物临床试验批件》(205/195) 临床试验方案及参加单位报国家局、省局备案 实施药物临床试验•申请国际多中心临床试验的,应提供其临床试验用药物在符合药品生产质量管理规范的条件下制备的情况说明。
新药临床申请技术审评流程图及说明新药临床申请技术审评是指针对新药研发企业提交的新药临床试验申请材料进行技术审查和评估。
审评的主要目的是评价新药的安全性、有效性和合理性,并确定是否符合上市注册要求。
下面是新药临床申请技术审评的流程图及详细说明。
流程图:1.申请提交:新药研发企业将临床试验申请材料提交给相关药品监管部门。
2.初审:药品监管部门对申请材料进行初步审查,确认材料是否齐全、符合法规要求。
3.受理:药品监管部门确认符合要求的申请材料,并颁发受理通知书。
4.技术审查:药品监管部门指派专家进行技术审查,评估新药的质量、有效性、安全性等方面的数据。
5.专家会议:独立的专家团队就新药的技术审评结果进行讨论和评估。
6.缺陷通知:如果审评中存在不符合要求或需要补充材料的情况,药品监管部门向申请人发出缺陷通知,并要求补充或修正材料。
7.补正材料:申请人根据缺陷通知要求,补充或修正相关材料。
8.二次审查:药品监管部门对补正后的材料进行二次审查。
9.复审:药品监管部门组织复审专家对新药的技术审评结果进行终审。
10.审评报告:药品监管部门形成审评报告,并将结果告知申请人。
11.上市注册:如果审评结果符合上市注册要求,药品监管部门颁发准入证书,允许新药上市。
详细说明:1.申请提交:新药研发企业向药品监管部门提交新药临床试验申请材料,包括药物化学、制剂工艺、药理毒理、临床试验等方面的数据。
2.初审:药品监管部门对申请材料进行初步审查,确认材料是否齐全、符合法规要求。
如果申请材料不完整或不符合要求,药品监管部门将要求申请人进行补充或修正。
3.受理:药品监管部门确认符合要求的申请材料,并颁发受理通知书。
受理后,新药临床申请正式开始。
4.技术审查:药品监管部门指派专家进行技术审查,评估新药的质量、有效性、安全性等方面的数据。
专家会通过阅读申请材料、讨论研究结果、与申请人交流等方式进行审查评估。
5.专家会议:专家团队就新药的技术审评结果进行讨论和评估。
新药临床研究审批流程下载温馨提示:该文档是我店铺精心编制而成,希望大家下载以后,能够帮助大家解决实际的问题。
文档下载后可定制随意修改,请根据实际需要进行相应的调整和使用,谢谢!并且,本店铺为大家提供各种各样类型的实用资料,如教育随笔、日记赏析、句子摘抄、古诗大全、经典美文、话题作文、工作总结、词语解析、文案摘录、其他资料等等,如想了解不同资料格式和写法,敬请关注!Download tips: This document is carefully compiled by the editor. I hope that after you download them, they can help yousolve practical problems. The document can be customized and modified after downloading, please adjust and use it according to actual needs, thank you!In addition, our shop provides you with various types of practical materials, such as educational essays, diary appreciation, sentence excerpts, ancient poems, classic articles, topic composition, work summary, word parsing, copy excerpts,other materials and so on, want to know different data formats and writing methods, please pay attention!新药研发是一个复杂而又漫长的过程,其中临床研究是药物从实验室走向临床应用的最后一步,也是最重要的一步。
新药申报审批一般程序图总则第一条根据《中华人民共和国药品管理法》、《中华人民共和国药品管理法实施办法》的规定,为规范新药的研制,加强新药的审批管理,制定本办法。
第二条新药系指我国未生产过的药品。
已生产的药品改变剂型、改变给药途径、增加新的适应症或制成新的复方制剂,亦按新药管理。
第三条国家药品监督管理局主管全国新药审批工作。
新药经国家药品监督管理局批准后方可进行临床研究或生产上市。
第四条凡在中华人民共和国境内进行新药研究、生产、经营、使用、检验、监督及审批管理的单位或个人,都必须遵守本办法。
第五条国家鼓励研究创制新药。
新药的分类第六条新药按审批管理的要求分以下几类:一、中药第一类:1. 中药材的人工制成品。
2. 新发现的中药材及其制剂。
3. 中药材中提取的有效成分及其制剂。
4. 复方中提取的有效成分。
第二类:1. 中药注射剂。
2. 中药材新的药用部位及其制剂。
3. 中药材、天然药物中提取的有效部位及其制剂。
4. 中药材以人工方法在动物体内的制取物及其制剂。
5. 复方中提取的有效部位群。
第三类:1. 新的中药复方制剂。
2. 以中药疗效为主的中药和化学药品的复方制剂。
3. 从国外引种或引进养殖的习用进口药材及其制剂。
第四类:1. 改变剂型或改变给药途径的制剂。
2. 国内异地引种或野生变家养的动植物药材。
第五类:增加新主治病证的药品。
二、化学药品第一类:首创的原料药及其制剂。
1. 通过合成或半合成的方法制成的原料药及其制剂。
2. 天然物质中提取的或通过发酵提取的有效单体及其制剂。
3. 国外已有药用研究报道,尚未获一国药品管理当局批准上市的化合物。
第二类:1. 已在国外获准生产上市,但未载入药典,我国也未进口的药品。
2. 用拆分、合成的方法首次制得的某一已知药物中的光学异构体及其制剂。
3. 国外尚未上市的由口服、外用或其他途径改变为注射途径给药者,或由局部用药改为全身给药者(如口服、吸入等制剂)。
第三类:1. 由化学药品新组成的复方制剂。
新药申报审批(药品注册流程)之总结版第一条根据《中华人民共和国药品管理法》、《中华人民共和国药品管理法实施办法》的规定,为规范新药的研制,加强新药的审批管理,制定本办法。
第二条新药系指我国未生产过的药品。
已生产的药品改变剂型、改变给药途径、增加新的适应症或制成新的复方制剂,亦按新药管理。
第三条国家药品监督管理局主管全国新药审批工作。
新药经国家药品监督管理局批准后方可进行临床研究或生产上市第四条凡在中华人民共和国境内进行新药研究、生产、经营、使用、检验、监督及审批管理的单位或个人,都必须遵守本办法。
第五条国家鼓励研究创制新药。
第六条新药按审批管理的要求分以下几类: 一、中药第一类:1. 中药材的人工制成品。
2. 新发现的中药材及其制剂。
3. 中药材中提取的有效成分及其制剂。
4. 复方中提取的有效成分。
第二类:1. 中药注射剂。
2. 中药材新的药用部位及其制剂。
3. 中药材、天然药物中提取的有效部位及其制剂。
4. 中药材以人工方法在动物体内的制取物及其制剂。
5. 复方中提取的有效部位群。
第三类:1. 新的中药复方制剂。
2. 以中药疗效为主的中药和化学药品的复方制剂。
3. 从国外引种或引进养殖的习用进口药材及其制剂。
第四类:1. 改变剂型或改变给药途径的制剂。
2. 国内异地引种或野生变家养的动植物药材。
第五类:增加新主治病证的药品。
、化学药品第一类:首创的原料药及其制剂。
1. 通过合成或半合成的方法制成的原料药及其制剂。
2. 天然物质中提取的或通过发酵提取的有效单体及其制剂。
3. 国外已有药用研究报道,尚未获一国药品管理当局批准上市的化合物第二类:1. 已在国外获准生产上市,但未载入药典,我国也未进口的药品。
2. 用拆分、合成的方法首次制得的某一已知药物中的光学异构体及其制剂。
3. 国外尚未上市的由口服、外用或其他途径改变为注射途径给药者,或由局部用药改为全身药者(如口服、吸入等制剂)。
第三类:1. 由化学药品新组成的复方制剂。
新药申报审批一般程序图总则第一条根据《中华人民共和国药品管理法》、《中华人民共和国药品管理法实施办法》的规定,为规范新药的研制,加强新药的审批管理,制定本办法。
第二条新药系指我国未生产过的药品。
已生产的药品改变剂型、改变给药途径、增加新的适应症或制成新的复方制剂,亦按新药管理。
第三条国家药品监督管理局主管全国新药审批工作。
新药经国家药品监督管理局批准后方可进行临床研究或生产上市。
第四条凡在中华人民共和国境内进行新药研究、生产、经营、使用、检验、监督及审批管理的单位或个人,都必须遵守本办法。
第五条国家鼓励研究创制新药。
新药的分类第六条新药按审批管理的要求分以下几类:一、中药第一类:1. 中药材的人工制成品。
2. 新发现的中药材及其制剂。
3. 中药材中提取的有效成分及其制剂。
4. 复方中提取的有效成分。
第二类:1. 中药注射剂。
2. 中药材新的药用部位及其制剂。
3. 中药材、天然药物中提取的有效部位及其制剂。
4. 中药材以人工方法在动物体内的制取物及其制剂。
5. 复方中提取的有效部位群。
第三类:1. 新的中药复方制剂。
2. 以中药疗效为主的中药和化学药品的复方制剂。
3. 从国外引种或引进养殖的习用进口药材及其制剂。
第四类:1. 改变剂型或改变给药途径的制剂。
2. 国内异地引种或野生变家养的动植物药材。
第五类:增加新主治病证的药品。
二、化学药品第一类:首创的原料药及其制剂。
1. 通过合成或半合成的方法制成的原料药及其制剂。
2. 天然物质中提取的或通过发酵提取的有效单体及其制剂。
3. 国外已有药用研究报道,尚未获一国药品管理当局批准上市的化合物。
第二类:1. 已在国外获准生产上市,但未载入药典,我国也未进口的药品。
2. 用拆分、合成的方法首次制得的某一已知药物中的光学异构体及其制剂。
3. 国外尚未上市的由口服、外用或其他途径改变为注射途径给药者,或由局部用药改为全身给药者(如口服、吸入等制剂)。
第三类:1. 由化学药品新组成的复方制剂。