住院业务流程图
- 格式:docx
- 大小:536.86 KB
- 文档页数:11
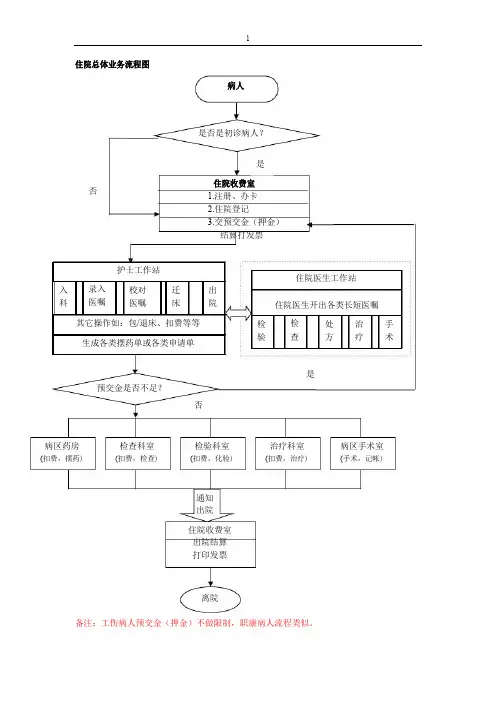
住院总体业务流程图否1病人是否是初诊病人?是住院收费室 1.注册、办卡 2.住院登记3.交预交金(押金) 结算打发票是预交金是否不足?否病区药房(扣费,摆药)检查科室(扣费,检查)检验科室(扣费,化验)治疗科室(扣费,治疗) 病区手术室 (手术,记帐)通知 出院住院收费室 出院结算 打印发票离院备注:工伤病人预交金(押金)不做限制,职康病人流程类似。
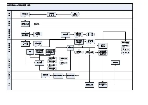
护士工作站入 科录入 医嘱校对 医嘱迁 床出 院其它操作如:包/退床、扣费等等 生成各类摆药单或各类申请单住院医生工作站住院医生开出各类长短医嘱 检 验 检 查处 方治 疗手 术住院收费住院预交金催缴流程图2重新 结帐开单扣费流程图退费流程图住院费用结算流程图查原因重开各类医嘱住院费别转换流程图病人发生费用是否有新开单据?有取消单据无全部重新计算 部分重新计算全不重新计算费别转换住院医生住院医嘱流程图开各类长短医嘱发送医嘱校对医嘱申请执行取消发送作废医嘱否发送是否成功是停止医嘱是预交金是否不足否药房配药执行相应项目补交预交金取消入科信息登记转科退床出院包床 转床退费流程图开退费单单据作废医生有退费权医生无退费权执行单据收费处执行 单据护理病人管理流程图新入科病人 转入的病人入科分配床位、收取床位费 取消转科在科病人 取消出院收取或退还床位费住院医嘱流程图开单扣费流程图开单退费流程图住院摆药流程图退药操作流程图(单一入库方式)退药开单退药退费参数?退药与退费分开退药并入库退费手术管理流程图手术申请手术审核退药与退费合一退药、退费并入库手术撤消麻醉安排手术室退费麻醉管理流程图手术排台手术安排手术执行术后情况登记手术记费开住院手术医嘱药房摆药向药房开单退药药房9开单退费流程图医技系统申请单执行流程图预约单管理流程图1011开单退费流程图。
前言住院系统是医院信息系统(HIS)的重要组成模块之一。
在药剂系统的正常运转基础上,全面管理着整个病区的日常业务。
住院总体业务流程图1、住院收费子系统用于住院病人的住院登记,结算,住院预交金管理,病人催款与欠款管理、退款管理、住院财务统计报表、各种住院费用查询与发票打印等,实现了住院病人医疗费用结算、收费处财务管理和病人信息共享等管理工作。
电脑能自动查帐、对帐、结帐、核算报表等。
可通过该系统提高工作效率,提高医院的社会效益和经济效益,促进医疗卫生事业的发展。
住院收费系统包括以下几个项目:住院登记管理:为病人办理入院登记,建立住院号,对于新住院病人,分配新的永久性住院号;再住院病人,则只需输入曾经住院号,即可以将病人以往信息调出;费用信息查询:可按科室、医师、病人、费用类别、时间等多个条件查询病人费用,并可以打印任意时间段费用明细帐;可随时查询病人住院总费用、明细帐、用药信息等。
催款管理:按照医院指定费用控制限制条件,随时查询与打印需要补交预交金的病人催款单,加强费用控制管理。
担保欠费管理:若病人已欠费,又有具相应权限的工作人员为其担保,可进行担保欠费管理操作。
费用结算:病人在院中途结算(暂结)或出院结算;结帐处理,退预交金管理。
统计报表及汇总:根据医院需要统计各种费用、收入、帐款,统计科室、医师各种业务工作量及统计收款员工作量,编制相应的日、月、年财务摄表,收款员收入统计等。
查询住院病人基本信息、病人费用、结算情况、预计出院病人,汇总在院病人费用等操作。
住院管理流程图住院预交金催缴流程图收款员结帐流程图退费流程图住院费用结算流程图重新 结帐2、住院医生工作站住院医生的医疗工作是全院工作的中心环节,与医院其它科室有广泛的联系,也是全院医疗质量的关键所在,因此,住院医生工作站也必然是医院信息系统(HIS)的核心部分。
住院医生工作站的设计内容包括了住院医生所有医疗活动活动和日常事务工作,主要功能有:医嘱录入、开检查单、化验单、入院记录、电子病历、病程记录、出院处理、医技报告查询、统计功能等。
住院病人入院流程图 医师开具住院通知单一般患者急诊患者分诊护士协助办理入院手续,生命体征相对平稳,准备入院通知病区做好准备,护送患者至指定病区住院处办理入院手续患者持入院证到达指定病区接诊医生通知分诊护士患者门诊就诊需住院病区护士接待患者,核对患者身份信息,做好交接住院病人出院流程图 主管医师向患者及家属讲明利害关系,签署《自动出院协议书》下达出院(自动出院)医嘱并通知患者及家属值班护士执行出院医嘱,停所有医嘱,提交出院证明责任护士评估病人,做好出院指导(出院带药的用法和注意事项,与疾病有关的康复、饮食、活动的知识,复查时间等)通知患者或家属办理出院手续责任护士协助患者整理物品,同时清点医院物品护士长和(或)责任护士送患者出病区病情允许,主管医生提前一天通知患者做好出院准备病情不允许,患者主动要求出院主管医师对病人定期进行电话回访,征求病人及家属对医院工作的意见和建议,询问病人在家的身体状况及用药情况并给予健康指导住院病人留观流程图门诊医师决定是否留观住院门诊复诊或转院留观下留观医嘱,联系留观床位,记录病例,指出观察项目、要求及注意事项留观室护士接收病人,负责巡视、观察,向医师汇报留观医师查房、下医嘱,护士执行出院转科转院住院病人转院流程图医师开具住院通知单课内讨论或科主任提出尽可能与转入医院联系必要时由医护、救护车护送按规定报医务科(或主管业务副院长告知家属必要性及途中风险家属同意并签因医院限于技术和设备条件或特殊疾病诊治困难或不宜在本院治疗的病人住院部办理出院转上级医院。
医院住院流程图住院流程是指患者进入医院接受治疗并留在医院的过程。
下面是一份标准的医院住院流程图,详细描述了患者住院的各个环节。
1. 就诊和诊断阶段:- 患者到达医院后,前台工作人员会登记患者的个人信息,包括姓名、年龄、性别、联系方式等。
- 患者需要提供医生开具的住院证明或者转院申请。
- 患者前往挂号处进行挂号,挂号员会为患者分配住院号,并提供住院指引。
- 患者根据指引前往相应科室进行初步检查和诊断,医生会根据检查结果制定治疗方案。
2. 住院准备阶段:- 患者需要前往财务处进行费用结算,包括住院押金和预交费用。
- 患者需要前往药房购买所需药品,或者医院会提供药品发放服务。
- 患者需要前往住院部办理入院手续,包括签署住院知情允许书和相关授权文件。
- 患者需要办理住院护理等级评定,根据需要安排病房。
3. 入院阶段:- 患者根据指引前往指定病房,护士会进行入院登记和接待。
- 护士会为患者提供床位、床单、被褥等生活用品,并向患者介绍病房设施和注意事项。
- 护士会问询患者的过敏史、病史、用药情况等,并记录在病历中。
- 医生会对患者进行详细的身体检查,包括测量体温、血压、心率等。
- 医生会制定治疗方案,并向患者解释治疗内容和预期效果。
4. 治疗和护理阶段:- 患者按医嘱进行治疗,包括药物治疗、手术、放疗、化疗等。
- 护士会定期测量患者的体温、血压、心率等生命体征,并记录在病历中。
- 护士会按时给患者服药、更换输液瓶、处理伤口等。
- 护士会提供日常护理,包括患者的个人卫生、营养饮食等。
5. 出院准备阶段:- 医生会根据患者的病情进行评估,确定出院日期。
- 医生会制定出院指导,告知患者出院后的注意事项、用药情况等。
- 护士会匡助患者办理出院手续,包括结算费用、退还住院押金等。
6. 出院阶段:- 患者完成出院手续后,可以离开医院回家。
- 医院会提供出院小结和相关检查报告,供患者持续治疗和复诊使用。
- 医院会与患者保持联系,关注患者的康复情况。
医院住院流程图住院是指患者在医院接受治疗和护理的过程,是医疗服务的重要环节之一。
下面是一份标准的医院住院流程图,详细描述了患者从入院到出院的整个流程。
1. 门诊就诊:- 患者首先到医院门诊部进行就诊,填写相关的病历和个人信息。
- 医生进行初步检查和诊断,并根据情况决定是否需要住院治疗。
2. 住院申请:- 如果医生决定患者需要住院治疗,会向患者提供住院申请表格。
- 患者填写住院申请表格,包括个人信息、病情描述等,并提交给医生或者护士。
3. 住院安排:- 医院根据患者的病情和床位情况进行住院安排。
- 护士或者医务人员会通知患者住院的具体时间和床位号。
4. 入院登记:- 患者按照通知的时间到医院进行入院登记。
- 在住院处,患者需要提供个人身份证明、住院申请表格等相关文件。
- 医院工作人员会核对患者的信息,并为患者办理入院手续。
5. 住院费用:- 患者需要在入院时交纳一定的住院押金。
- 医院会根据患者的病情和治疗方案制定相应的费用清单。
- 患者可以选择自费或者使用医保等方式支付住院费用。
6. 医疗检查和治疗:- 患者入院后,医生会根据病情制定相应的医疗检查和治疗方案。
- 护士会按照医嘱进行各项检查和治疗,如抽血、输液、拍片等。
- 医生会定期查房,了解患者的病情并调整治疗方案。
7. 膳食和护理:- 医院会提供患者所需的膳食和护理服务。
- 护士会定期测量患者的体温、血压等生命体征,并记录在病历中。
- 患者可以向护士提出特殊的膳食需求或者护理要求。
8. 医嘱执行:- 医生会根据患者的病情和治疗方案开具医嘱。
- 护士会按照医嘱的要求赋予患者相应的药物和治疗。
- 护士会记录医嘱执行情况,并及时向医生汇报患者的病情变化。
9. 病情观察和记录:- 护士会定期观察患者的病情变化,如体温、呼吸、心率等。
- 护士会记录患者的病情变化和治疗效果,并及时向医生汇报。
10. 康复和护理:- 如果患者需要康复治疗,医院会安排康复师进行相应的康复训练。
患者住院、住院、出院(死亡)连续流程图患者门诊就诊向就诊人群发放健康教育宣传资料门诊咨询服务台及分诊台门诊挂号各科门诊医师诊治交费挂号收费处白天有10 个窗口,夜间有 1个窗口,并代办就诊住院手续白天门诊药房开放3个窗口配药,夜间住院部药房21 点今后按门铃取药急诊科120 接回的分诊室病人根据病情分诊绿急急急色诊诊诊生抢观儿命救察科病情较重者分诊至急诊科急急诊诊外内科科住院收费室办理一般患者分流到内、外、妇、儿、五官、口腔、康复、皮肤等科室就诊(专家门诊)对疑似感老、弱、病、染性疾病残、孕由护的患者由士护送至就护士分诊诊科室和辅检科室检查、治疗、取药将病人排队时间控制在 10 分钟以内内镜室夜间急诊随叫随到感染性疾病科(发热、腹泻门诊)通室室道抢留救观需要住的病人,先电话通知相关科室,准备床单元检验(血库)影像( B 超、 CT、放射)快速检测,24 小市价班应诊HIV 初筛、细菌培养、快速血型判断等病区住院ICU 重症监护手术室手术如需住院手术或抢救,电话通知二线会诊,并通知病区(手术室)做相关准备相关住院手续护送病员至相关科如确诊为感染室护士站与当班护性疾病,就地士进行病情交接,隔断,报疾病并双签字控制中心办理患者病区护士依照病情准备好床单元及用物、通知医生迎接病人、作自我介绍、病情赞同称体重佩戴腕带、测量生命体征、认识患者病情完成住院见告、住院评估及干净护理与医生沟通确定护理级别、遵医嘱推行相关治疗与护理病情控制(好转)病员或家属(监护人)提出申请出院医生见告自动出院的不良结果入院医生咨询病史、检查病员初步诊断见告、签署协议开医嘱检查治疗病员病情严重吻合转院指针/ 病员或家属(监护人)要求转院上报医务科(节假日报行政值班)病人或家属(监护人)坚持自动出院申请人签字注明:自动出院,结果正常出院自负医生依照病情开出院医嘱开出院带药、出院证明医师、护士出院指导住院处办理出院手续、完清住院花销病员离院门诊(电话)随访与转入医院联系医生见告转院相关事项,家属签字医生出具病情说明办理转院手续住院处完清住院住院费用(特别情况下可先转院再完清)病员自行前往转入医院监护人陪同前往转入医院医院医护人员特意护送病员前往转入医院转入医院接收患者死亡护工(秦师)对遗体进行衣着移送至太平间对无名氏或家属不清楚遗体办理的,由病房护士通知殡仪馆。
病人住院手续办理流程图
1. 病人到达医院,前往接待处办理初诊登记手续。
2. 接待处工作人员核对病人身份信息,并提供住院申请表。
3. 病人填写住院申请表,包括个人信息、病症描述等内容。
4. 病人将填写好的住院申请表交回接待处。
5. 接待处收到住院申请表后,会安排病人进行初步诊断和体检。
6. 如果初步诊断结果需要住院治疗,接待处会将病人指引到住
院办公室。
7. 住院办公室工作人员会核对病人的住院申请表,确认是否满
足住院条件。
8. 如满足住院条件,住院办公室会为病人安排病床,并将相关
信息记录下来。
9. 病人需要缴纳住院押金,办理住院费用结算手续。
10. 病人办理住院费用结算手续后,住院办公室会颁发住院通
知单和病床号码。
11. 病人根据住院通知单和病床号码前往相应的病房入住。
12. 病人入住病房后,医护人员会进行详细的病情评估和治疗
方案制定。
13. 病人在医院期间,按照医生的治疗计划进行治疗和康复。
14. 病人康复出院时,需要到住院办公室办理出院手续,并结
清相关费用。
15. 病人办理出院手续后,到接待处领取相关医疗文件和离院
证明。
以上为病人住院手续办理的流程图,具体办理流程可能会因医
院而有所不同。
请病人配合医院工作人员的指引并按流程进行办理。
医院入院、出院流程图
入院流程
1. 患者到达医院接待处登记;
2. 接待处工作人员向患者提供住院登记表格,并要求填写个人信息;
3. 患者填写完个人信息后,将住院登记表格交还给接待处工作人员;
4. 接待处工作人员核对患者个人信息是否准确无误;
5. 若个人信息无误,接待处工作人员为患者办理住院手续,并分配病床;
6. 接待处工作人员将患者住院手续办理完成后,引导患者前往所分配的病床安置。
出院流程
1. 医生判断患者病情已康复或达到出院条件;
2. 医生向患者及家属说明出院的具体原因和注意事项;
3. 医生签发出院通知书,并将药物处方转交至药房;
4. 护士将出院通知书和药物处方交给患者或家属,并解答相关问题;
5. 患者或家属携带出院通知书和药物处方前往医院财务处办理住院费用结算;
6. 医院财务处审核患者住院费用,并告知需缴纳的费用金额;
7. 患者或家属缴纳住院费用后,领取费用结算单;
8. 患者或家属携带出院通知书、药物处方和费用结算单前往患者所在病房处办理出院手续;
9. 病房护士核对相关文件是否齐全,并记录患者出院时间;
10. 患者或家属离开医院,完成出院手续。
以上是医院入院、出院的基本流程图。
具体情况可能因医院的不同而略有差异,请患者根据实际情况咨询医院工作人员或具体指导。
住院总体业务流程图
否
备注:工伤病人预交金(押金)不做限制,职康病人流程类似。
否
住院收费 住院管理流程图
住院预交金催缴流程图
收款员结帐流程图
Y
开单扣费流程图退费流程图
重新
结帐
是
否
住院费用结算流程图
住院发票操作流程图。
住院费用减免流程图
住院费别转换流程图
住院医生
无
查原因重开各类医嘱
是
否
是
退费流程图
护理
病人管理流程图。
住院医嘱流程图。
开单扣费流程图
开单退费流程图
住院摆药流程图
护士工作站
退药操作流程图(汇总入库方式)
手术管理流程图
药房麻醉管理流程图
开单退费流程图
医技系统
申请单执行流程图
预约单管理流程图
科室中新开状态的申请单
开单退费流程图
THANKS !!!
致力为企业和个人提供合同协议,策划案计划书,学习课件等等
打造全网一站式需求
欢迎您的下载,资料仅供参考。
医院住院流程图一、患者入院前准备阶段:1. 患者预约住院:患者通过电话或线上平台预约住院,提供个人基本信息和病情描述。
2. 医生初步评估:医生根据患者提供的信息进行初步评估,确定是否需要住院治疗。
3. 住院安排:医院根据住院需求和床位情况,安排患者的住院时间和床位。
二、患者入院阶段:1. 报到登记:患者到达医院后,前往住院部门的接待处进行报到登记,提供个人身份证明和住院预约信息。
2. 住院费用结算:患者在报到登记后,前往财务部门进行住院费用结算,包括押金缴纳和签署住院费用支付协议。
3. 安排床位:负责床位安排的工作人员根据患者的病情和医疗需求,安排合适的床位。
4. 住院须知告知:护士向患者及家属提供住院须知,包括住院期间的注意事项、医院规定等。
5. 健康评估:护士对患者进行健康评估,包括测量身高、体重、血压等基本生命体征,并记录在病历中。
三、住院期间:1. 医生查房:主治医生每天对患者进行查房,询问病情变化、调整治疗方案等。
2. 护理服务:护士根据医嘱执行各项护理措施,包括给药、更换伤口敷料、监测生命体征等。
3. 检查与检验:根据医生的要求,患者需要进行各种检查和检验,如血液检查、X光检查、CT扫描等。
4. 治疗与手术:根据患者的病情,医生可能会进行药物治疗或手术治疗,患者需要按时服药或准备手术前的相关准备工作。
5. 饮食与营养:医院提供患者的饮食安排,根据患者的病情和医生的建议,提供适当的饮食和营养支持。
6. 疼痛管理:医院提供疼痛管理服务,包括药物治疗和非药物治疗,以确保患者的舒适度。
7. 病情观察与记录:护士定期观察患者的病情变化,记录在病历中,包括体温、呼吸、心率等。
8. 家属陪护:医院允许患者的家属陪护,但需遵守医院的规定,如控制探视时间、遵守病区规定等。
四、出院准备阶段:1. 医生评估:医生对患者的病情进行评估,判断是否可以出院或转院。
2. 出院指导:医生和护士向患者及家属提供出院指导,包括继续治疗的建议、用药注意事项、饮食调理等。
患者入院流程图三、医生签发住院证护士接待(白班主班,
中班、晚夜班当班责任
护士接待)责任护士进行入院处置患者家属持门诊或急诊医师签发的住院证,按规定办理入院手续
1.热情接待患者,核对住院证及患者信息,告知医保相关事项
2.办理入科手续,进行入科登记
3.磅体重
4.通知责任护士
5.建立住院病历
6.通知管床或值班医生
1.备好床单位(根据病情合理安排床位与所需物品),安放床头卡,对急诊手术或危重患者立即做好术前准备或抢救准备
2.卫生处置,更换病员服,给有需要的患者发放便器
3.入院告知并签名,详细介绍病室环境、呼叫器的使用、作息时间、相关制度、患者权利与义务、贵重物品的保管等,向患者/家属作自我介绍并介绍主管医生及病区护士长
4.四测和入院评估,了解病情及心理状态、生
活习惯等,并进行相关疾病知识宣教
5.通知营养室按医嘱要求订餐,备好饮用水
6.执行医嘱,完成治疗,落实分级护理
7.书写患者主要病情、处理情况,交班。