零件的加工(复杂零件的加工)
- 格式:doc
- 大小:106.50 KB
- 文档页数:4
一、实训目的与要求(1)了解数控车床综合加工工艺,比较其与普通车床加工工艺的异同。
(2)掌握直线、圆弧、螺纹、复合循环、刀偏及半径补偿等编程指令,提高综合运用能力。
二、实训仪器与设备(1)配备华中世纪星数控系统的CJK6032-4卧式车床。
(2) 配HNC—2 lT车床数控系统的CK6140数控车床。
(3) 石蜡棒一根(长160~170mm,直径约30mm,毛坯见图4—1中双点画线部分)。
(4) 螺纹车刀一把,外圆及端面车刀各两把。
三、相关知识概述在复杂零件的数控车削加工中,常使用复合循环指令。
这里简述有凹槽的外圆粗加工复合循环指令G71的用法。
格式:G71U( △u)R(r)P( ns)Q(nf)E(e)F(f)S(s)T(t )执行该指令将进行如图4—1所示的粗加工和精加工,其中精加工路径为 A →A′→B′→B。
式中,△u为切削深度(每次切削量),指定时不加符号,方向由矢量AA′决定;r为每次退刀量;,ns:为精加工路径第一程序段(即图4—1中的AA′)的顺序号;nf为精加工路径最后图4-1内(外)径粗车复合循环指令G71程序段(即图4—l中的BB′)的顺序号;e为精加工余量,X方向的等高距离(进行外径切削时为正,进行内径切削时为负);f、s、t ,粗加工时,程序的F、S、T参数有效,而精加工时处于ns到nf程序段之间的F、S、T参数有效。
注意:(1)G71指令必须带有参数P、Q的地址ns、nf,且与精加工路径起始顺序号对应,否则不能进行该循环加工;(2)ns程序段必须为G00/G0l指令,即从A到A′的动作必须是直线运动或点定位运动;(3)ns到nf的程序段,不应包含子程序。
四、实训内容(1)工艺分析。
1)技术要求。
如图4—2所示:M20螺纹为双头螺纹,其导程为2mm,螺距为1mm。
图4-2 加工零件图2)加工工艺的确定。
①装夹定位的确定:三爪卡盘夹紧加顶尖定位,工件前端面距卡爪端面距离90mm。
零件的加工工艺概念和特点
零件的加工工艺是指通过一系列的生产加工工艺,将原材料转化为满足特定要求的产品零件。
以下是零件的加工工艺的概念和特点:
1. 概念:
加工工艺是指在一定的生产条件下,通过合理的加工工艺路线和加工工艺参数,对原材料进行物理或化学方法加工以满足零件的设计要求。
2. 特点:
(1)多样性:根据不同的零件要求,加工工艺可以分为铸造、锻造、机械加工、焊接、热处理等多种方式,以满足不同的产品特点和功能要求。
(2)复杂性:零件的加工工艺往往需要多道工序,每个工序都需要合理地选择加工方法、工艺参数和工艺设备,以确保零件的精度和质量要求。
(3)经济性:加工工艺的选择要兼顾产品质量、生产效率和成本控制。
通过合理的工艺设计和流程优化,可以提高生产效率、降低成本,并保证产品的质量要求。
(4)灵活性:加工工艺需要根据产品的设计要求和市场需求进行调整和改变,以适应不同产品的加工需求和变化。
(5)高精度:现代工业对零件的尺寸、形状、表面质量等方面要求越来越高,加工工艺需要具备高精度、高稳定性以及表面处理等要求。
总之,零件的加工工艺是一系列工艺操作的有机结合,通过合理的工艺选择和控制,使原材料转化成具有所需形状、尺寸和性能的零件。
典型零件的加工工艺1. 引言典型零件的加工工艺是指对常见的机械零件进行加工的工艺流程和方法。
随着制造业的发展,加工工艺也不断发展和创新,以提高产品的质量和生产效率。
本文将介绍几种典型零件的加工工艺,包括铣削、车削、钻孔和焊接等。
2. 铣削工艺铣削是现代制造业中最常用的加工工艺之一,用于加工各种形状复杂的零件。
其基本原理是利用旋转的刀具对工件进行切削。
铣削工艺包括以下几个步骤:•工件固定:将待加工的工件固定在铣床上。
•刀具选择:根据工件材料和形状选择合适的刀具。
•加工参数设置:包括切削速度、进给速度和轴向进给量等。
•铣削操作:根据零件的要求进行铣削操作,包括平面铣削、立体铣削和孔加工等。
•完成后的处理:对加工好的零件进行检查和清洁。
3. 车削工艺车削是将工件固定在车床上,利用刀具对工件进行旋转切削的加工工艺。
车削工艺适用于加工外圆、内圆和螺纹等形状的零件。
车削工艺的步骤如下:•工件固定:将工件用卡盘或卡钳固定在车床上。
•选择刀具:根据工件的材质和形状选择合适的刀具。
•加工参数设置:包括转速、进给速度和切削深度等参数的设定。
•车削操作:根据零件的要求进行车削操作,包括外圆车削、内圆车削和螺纹车削等。
•检查和修整:对加工好的零件进行检查和修整,确保质量要求。
4. 钻孔工艺钻孔是在工件上使用钻床或钻头进行孔加工的一种工艺。
钻孔工艺的步骤如下:•工件固定:将待加工的工件固定在钻床工作台上。
•选择合适的钻头:根据孔径和材质选择合适的钻头。
•加工参数设置:设置钻削转速、进给速度和冷却液的使用等。
•钻孔操作:用钻头对工件进行孔加工,按照要求进行孔的深度和直径的控制。
•清洁和检查:对加工好的孔进行清理和检查,确保孔的质量。
5. 焊接工艺焊接是将两个或多个工件通过熔化和凝固的过程连接在一起的工艺。
焊接工艺的步骤如下:•工件准备:准备待焊接的工件,包括清洁和坡口处理等。
•焊接机器设置:根据材料和焊接方式设置焊接机器的参数,包括电流、电压和焊接速度等。
零件加工中的镶嵌加工技术随着制造业的发展,零件加工技术变得越来越精细和复杂。
在各种零件加工中,镶嵌加工技术更是深受生产和制造领域的重视。
镶嵌加工技术是一种高精度、高效率、高重复性的加工方式,用于制造各种精密零件和复杂零件。
在本文中,我们将探讨镶嵌加工技术的基本原理、流程和应用。
一、镶嵌加工技术的基本原理镶嵌加工技术是一种加工方法,适用于加工多种材料的零件。
与传统加工方法不同,镶嵌加工技术将多种材料镶嵌在一起,然后再进行精确加工。
这种方法既可以减少成本,又可以提高加工精度。
在镶嵌加工技术中,主要有两种加工方式:切入式加工和切断式加工。
(1)切入式加工切入式加工是将两种以上的材料按一定的规律排列成堆,在堆中钻孔、铣槽等加工方式。
这种加工方式常用于微小零件加工中。
在切入式加工中,加工质量的控制主要依靠工艺参数,如加工速度、切削深度、进给率等。
(2)切断式加工切断式加工是将材料用粘合剂粘结在一起,再进行加工。
这种加工方式比切入式加工更加精细和复杂,可以制造更加复杂的零件。
在切断式加工中,加工质量的控制除了工艺参数外,还依赖于粘合剂的质量和加工前的热处理。
二、镶嵌加工技术的流程镶嵌加工技术的流程分为四个步骤:制备、加工前准备、加工和检测。
(1)制备制备是镶嵌加工技术中的重要步骤。
在制备过程中,需要选取不同的材料,并将它们加工成适当的形状和大小。
制备可以采用传统的加工方法,如钻孔、铣削、磨削等。
同时,为了保证加工质量,制备的工件必须经过热处理,以提高材料的硬度、强度、韧性和耐磨性等性能。
(2)加工前准备加工前准备包括制定合适的加工工艺流程、选取合适的刀具和夹具,并进行加工序列的计划和程序编程。
在加工前准备的过程中,还要进行加工面和定位面的加工和检查。
(3)加工加工是镶嵌加工技术的核心步骤。
加工时,需要根据加工方案,进行精细的切削和切割。
在切削的过程中,必须确保加工参数的准确控制和加工刀的及时更换。
在切割时,要根据要求选择不同的切割方式和切割深度,确保加工质量。
一、课题名称:复杂数控加工零件加工工艺和程序设计二、毕业论文(设计)主要内容:本毕业设计针对一个复杂数控加工零件进行加工工艺设计和程序设计,利用所学知识对该零件的图样进行分析,制定该产品零件的加工工艺方案,并针对该零件进行加工程序设计,完成该零件比较完整的设计方案。
1.零件分析2. 零件造型3.选用加工设备4.零件加工工艺分析5.加工程序设计三、计划进度:第8 周查阅资料、确定设计方案;第9-11 周确定工艺方案以及零件的加工路线;第12 周完成毕业设计;第13 周答辩。
四、毕业论文(设计)结束应提交的材料:1、毕业设计论文;2、零件图;3、零件造型图4、UG生成的加工程序指导教师教研室主任年10 月18 日年月日摘要本文简单的介绍了数控技术、数控的发展趋势、数控加工工艺、UG在数控方面的应用(三维造型与数控自动加工)及手工编程。
主要运用所学知识对零件图进行工艺分析、制定工艺路线、确定工艺方案,包括机床的选择、基准的选择、确定装夹方式、刀具的介绍与选择、切削用量及切削液的选择,深入了解了零件制造的全过程,加工完成后零件也达到了加工要求。
并运用UG软件在数控加工方面的功能进行三维造型和自动编程与加工,通过三维造型了解零件的工艺特点,通过加工模拟零件的加工过程,通过自动编程以最简单、最快捷的方式生成了G代码,并且达到了预期要求。
关键词:数控技术加工工艺 UG 编程AbstractThis article describes a simple numerical control technology, the development trend of CNC, CNC machining technology, UG in the application of CNC (CNC automatic three-dimensional modeling and processing) and manual programming. The main use of the knowledge of the parts diagram for process analysis, development of process routes, determine the process plan, including the machine's choice, the choice of benchmarks to determine the clamping method, the introduction and selection tool, cutting parameters and the choice of cutting fluid, in-depth understanding of whole process of manufacturing of parts, the processing is complete part processing requirements are met. And using UG software's capabilities in CNC machining three-dimensional modeling and automatic programming and processing, through the three-dimensional modeling to understand part of the process characteristics, through the processing of the processing of analog components, by automatically programming the easiest and fastest way to generate the G code, and met expectations.Key words:Numerical control technology Processing technology UG Programming目录第一章绪论 (5)1.1数控加工技术的发展趋势 (6)1.1.1继续向开放式、基于PC的第六代方向发展 (6)1.1.2向高速化和高精度化发展 (6)1.1.3向智能化方向发展 (6)1.2UG数控铣削编程的关键技术及应用 (6)1.2.1 数控编程模块 (7)1.2.2 刀具轨迹的生成 (7)1.2.3刀具轴的导动方式 (8)1.2.4刀具轨迹编辑的修改 (8)1.2.5加工仿真 (8)1.2.6后置处理 (9)1.2.7切削参数库设置 (9)1.2.8 CAM二次开发功能接口 (9)1.3U NIGRAHPICS NX/CAM数控编程流程 (10)第二章零件图纸的工艺分析 (10)2.1零件图分析 (11)2.1.1读图和审图 (11)2.1.2零件结构的工艺性 (12)2.2毛坯、余量分析 (13)2.2.1毛坯的种类 (13)2.2.2加工余量 (13)第三章加工准备及工艺路线的确定 (13)3.1机床及工艺装备的选择 (14)3.1.1夹具的选择 (14)3.1.2刀具选择 (14)3.2基准的选择 (16)3.3切削用量及切削液的选择 (17)3.3.1吃刀量 (17)3.3.2进给速度 (17)3.3.3切削速度 (18)3.3.4切削液的选择 (20)3.4确定工艺路线 (20)3.5确定进给路线 (21)3.6数控加工工序卡 (21)第四章 UG加工和编程设计 (23)4.1加工并生成程序 (23)4.1.1工艺参数设定 (24)4.1.2生成加工轨迹 (25)4.1.3生成部分程序 (27)4.1.4例举自动生成的程序 (27)4.2手工编程 (37)参考文献 (40)附录..............................................................................................错误!未定义书签。
复杂数控加工零件加工工艺和程序设计随着科技的飞速发展,数控加工技术已经成为现代制造业中不可或缺的一部分。
其中,复杂数控加工零件的加工工艺和程序设计更是制造业的核心技术之一。
本文将探讨复杂数控加工零件的加工工艺和程序设计。
一、加工工艺1、前期准备在开始加工之前,需要准备好相关的图纸、材料和机床。
根据零件的特点和要求,选择合适的材料和机床,并确保机床的精度和性能满足加工需求。
2、装夹定位装夹定位是数控加工过程中的重要环节。
为了保证加工精度和稳定性,需要选择合适的装夹方式和定位基准。
同时,需要考虑到装夹操作的简便性和效率。
3、切削路径规划切削路径规划是数控加工过程中的关键环节之一。
它决定了刀具的运动轨迹和切削速度。
合理的切削路径可以有效地提高加工效率、减小刀具磨损和避免过切。
4、切削参数选择切削参数的选择直接影响到加工效率和零件质量。
需要根据材料的性质、刀具的类型和切削条件等因素,选择合适的切削参数,如切削深度、进给速度和切削速度等。
二、程序设计1、选择编程语言数控程序通常由G代码和M代码组成。
G代码控制机床的移动,M代码控制机床的功能。
根据需要,选择合适的编程语言,如CAM软件或者手工编程。
2、坐标系设定在编程过程中,需要设定工件坐标系和机床坐标系。
通过坐标系的设定,可以确定工件的位置和机床的运动轨迹。
3、切削参数设定在编程过程中,需要根据切削路径和材料性质等因素,设定合理的切削参数,如切削深度、进给速度和切削速度等。
4、程序调试与优化完成程序编写后,需要进行程序调试和优化。
通过模拟加工过程,检查程序是否存在错误或者冲突。
如果存在错误或者冲突,需要进行修正和优化。
同时,也可以通过优化程序来提高加工效率或者减小刀具磨损。
三、总结复杂数控加工零件的加工工艺和程序设计是现代制造业的核心技术之一。
为了确保零件的加工质量和效率,需要深入了解数控加工技术和编程原理。
需要不断探索和创新,提高加工工艺和程序设计水平,以满足不断变化的市场需求。
复杂零件是数控加工生产中十分常见的加工产品。
在对复杂零件进行加工的时候,其加工工艺路线会包含选择加工方法、划分加工阶段、划分工序、加工顺序的安排和确定进给加工路线等等。
下面我们就来具体介绍一下复杂零件的数控加工工艺分析以及设计。
1、零件毛坯的确定根据零件工艺设计时,毛坯的选择是指确定毛坯的种类、制造方法以及余量确定后的毛坯尺寸。
零件材料为钢,根据技术要求,要求零件进行去毛刺的处理,即要求外形光洁且美观,根据零件的结构形状及外形尺寸以及生产纲领的大小可选择锻件。
零件毛坯材质需要选择经过处理的钢,因为其具有较高的硬度,适合切削加工。
该零件除了处理毛坯至图纸尺寸外其他的加工部位一次装夹可完成整个零件的加工。
2、复杂零件的定位基准的确定在进行加工选择粗基准时,考虑的重点是如何保证各加工表面有足够的余量,使不加工表面与加工表面间的尺寸、位置符合图纸要求。
因此,粗基准选择毛坯的平面即可。
根据凹台的加工,孔的加工的要求,定位基准选择底板的底面。
3、复杂零件工艺路线的制定选择粗基准时,主要考虑的是如何保证各加工表面有足够的余量,使之不加工。
根据凹台的加工,孔的加工的要求,定位基准选择上压板板的底面。
4、机床选择不同类型的零件应在不同的数控机床上加工,要根据零件的设计要求选择机床:(1)数控车床适于加工形状比较复杂的轴类零件和由复杂曲线回转形成的模具内型腔。
(2)数控立式镗、铣床和立式加工中心适于加工箱体、箱盖、平面凸轮、样板、形状复杂平面或立体零件以及模具的内外型腔。
(3)数控卧式镗、铣床和卧式加工中心适于加工各种复杂的箱体零件、泵体、阀体、壳体等。
多坐标联动的卧式加工中心还可用于加工各种复杂曲线、曲面、叶轮、模具等。
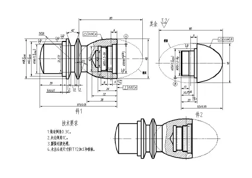
用数控车床完成图所示零件的加工。
零件材料为45钢,毛坯为件1:¢50×100、件2:¢50×80,按图纸要求完成零件节点、基点计算,设定工件坐标系,制定正确的工艺方案,选择合理的刀具和切削工艺参数,编制数控加工程序。
1.刀具的选择:1号刀:93度菱形外圆车刀;2号刀:60度外螺纹刀;3号刀:外切槽刀(3mm);4号刀:内孔镗刀;5号刀:60度内螺纹刀;6号刀:内切槽刀(2.5mm)。
2.切削参数的选择各工序刀具的切削参数见表2-3表2-3 各工序刀具的切削参数FANUC-0i系统参考程序工艺路线:(1)用G71粗加工件2左端,用G70精加工件2左端,留¢25×30工艺搭子。
(2)调头夹¢25×30工艺搭子,粗加工右端椭圆,留双边1mm余量。
(3)手工切断,保证长度52。
(4)用G71粗加工件1左端,用G70精加工1左端。
(5)切40度槽及椭圆左端槽。
(6)调头夹¢36×28,用用G71粗加工加工件1右端内孔部分,用G70精加工件1右端内孔部分。
(7)切4×¢31槽。
(8)用G76螺纹复合循环加工M30×1.5内螺纹。
(9)粗加工1右端外部椭圆,留双边1mm余量。
(10)将件2旋入件1,精加工椭圆。
参考程序:件2左端加工程序:O0001 主程序名N5 G98 分进给N10 T0101 S800 M3 转速800r/mim,换1号93度菱形外圆车刀N15 G0X51Z3 快进到外径粗车循环起刀点N20 G71U1.5R1 外径粗车循环U:每次切深单边1.5mm, R:退刀量单边1mmN25 G71P30Q70U0.5W0.1F150 P30:粗加工第一程序段号,Q70:粗加工最后程序段号, U:精加工余量双边0.5 mm ,W:精加工余量0.1 mm,F:粗车进给率150mm/mimN30 G1X25 进到外径粗车循环起点N35 Z0N40 G1Z-30N45 X28N50 X29.8Z-31 倒角N55 Z-46.5N60 X34.988N65 Z-50N70 X50 N30——N70外径循环轮廓程序N75 G0X100Z50 退刀N80 M5 主轴停转N85 M0 程序暂停N90 S1500M3F80T0101 精车转速1500r/mim,进给80mm/mimN95 G0X51Z3 快速进刀N100 G70P30Q70 P30:精加工第一程序段号,Q70:精加工最后程序段号N105 G0X100Z50 退刀N110 M5 主轴停转N115 M0 程序暂停N120 T0202S1000M3 转速1000r/mim换2号60度外螺纹刀N110 G0X32Z-25 进到外螺纹复合循环起刀点N115 G76P10160Q80R0.1 外螺纹复合循环P10160:1精加工次数1次,01:螺纹尾部斜向倒角量0.1个导程,60:刀尖角度60,Q:螺纹最小切削深度0.08mm,R:精加工余量0.1 mmN120 G76X28.14Z-40R0P930Q350F1.5 X:有效螺纹终点X坐标,Z:有效螺纹终点Z坐标,R:螺纹半径差,P:螺纹牙高度单边0.93 mm,Q:第一次切削深度单边0.35 mm,F:螺纹导程1.5 mmN125 G0X100Z50 退刀N130 M5 主轴停转N135 M30 程序停止件二右端加工程序:O0002 主程序名N5 G98 分进给N10 T0101S800M3F150 转速800r/mim,进给150mm/mim换1号93度菱形外圆车刀N15 G0X51Z2 快进N20 #150=50 设置最大切削余量50mmN25 IF[ #150 LT 1] GOTO45 毛坯余量小于1,则跳转到N45程序段N30 M98 P0003 调用椭圆子程序N35 #150=#150-2 每次切深双边2mmN40 GOTO25 跳转到N25程序段N45 G0X100Z50 退刀N50 M5 主轴停转N55 M30 程序停止O0003 椭圆子程序N5 #101=40 长半轴N10 #102=24 短半轴N15 #103=40 Z轴起始尺寸N20 IF[ #103 LT 8] GOTO50 判断是否走到Z轴终点,是则跳到N50程序段N25 #104=SQRT[#101*#101-#103*#103]N30 #105=24*#104/40 X轴变量N35 G1X[2*#105+#150]Z[#103-40] 椭圆插补N40 #103=#103-0.5 Z轴步距,每次0.5N45 GOTO20 跳转到N20程序段N50 W-1N55 G0U2N60 Z2 退回起点N65 M99 子程序结束件1左端加工程序:O0004 主程序名N5 G98 分进给N10 T0101S800M3 转速800r/mim,换1号93度菱形外圆车刀N15 G0X51Z2 快进到外径粗车循环起刀点N20 G71U1.5R1 外径粗加工循环U:每次切深单边1.5mm, R:退刀量单边1mm ,N25 G71P30Q65U0.5W0.1F150 P30:粗加工第一程序段号,Q65:粗加工最后程序段号, U:精加工余量双边0.5 mm ,W:精加工余量0.1 mm,F:粗车进给率150mm/mimN30 G1X0 进到外径粗车循环起点N35 Z0N40 G3X35.992Z-4.534R38N45 G1Z-28N50 X41.992N55 Z-33N60 X47.992N65 Z-60 N30——N65外径循环轮廓程序N70 G0X100Z50 退刀N75 M5 主轴停转N80 M0 程序暂停N85 S1500M3F80T0101 精车转速1500r/mim,进给80mm/mimN90 G0X51Z2 快进N95 G70P30Q65 P30:精加工第一程序段号,Q65:精加工最后程序段号N100 G0X100Z50 退刀N105 M5 主轴停转N110 M0 程序暂停N115 T0303S600M3F25 转速600r/mim,进给25mm/mim,换3号切槽刀N120 G0X51Z-38.862 快进到切糟起点N125 G1X32.5 切槽N130 G0X51 退刀N135 W-1 进刀N140 G1X32.272 切槽N145 W1 精车槽底N150 G0X48 退刀N155 G1Z-36 进到倒角起点N160 X32.272Z-38.862 倒角N165 G0X48 退刀N170 G1Z-42.724 进到倒角起点N175 X32.272Z-39.862 倒角N180 G0X48 退刀N185 Z-51.586 进刀N190 G1X32.5 切槽N195 G0X48 退刀N200 Z-55 进刀N205 G1X32.272 切槽N210 Z-51.586 精车槽底N215 G0X48 退刀N220 W2.862 进到倒角起点N225 G1X32.272W-2.862 倒角N230 G0X100N235 Z50 退刀N240 M5 主轴停转N245 M30 程序停止件1 右端加工程序:O0005主程序名N5 G98 分进给N10 T0404S800M3 转速800r/mim,换4号内孔镗刀N15 G0X19.5Z2 快进到内孔循环起刀点N20 G71U1R0.5 内径粗车循环U:每次切深单边1mm, R:退刀量单边0.5mm ,N25 G71P30Q70U-0.5W0.1F150 P30:粗加工第一程序段号,Q70:粗加工最后程序段号, U:精加工余量双边0.5 mm ,W:精加工余量0.1 mm,F:粗车进给率150mm/mimN30 G1X37 进到内径循环起点N35 Z0N40 X35.02Z-1N45 Z-6N50 X31N55 Z-12N60 X28.5Z-13N65 Z-24N70 X25 N30——N70内径循环轮廓程序N75 G0Z100N80 X100 退刀N85 M5 主轴停转N90 M0 程序暂停N95 S1200M3T0404F80 精车转速1200r/mim,进给80mm/mimN100 G0X39Z1 进刀N105 G70P30Q70 P30:精加工第一程序段号,Q70:精加工最后程序段号N110 G0Z100N115 X100 退刀N120 M5 主轴停转N125 M00 程序暂停N130 S600M3T0606F25 转速600r/mim进给25mm/mim换6号内切槽刀N135 G0X26Z5 快进N140 Z-23 快进到切糟起点N145 G1X31 切槽N150 X26 退刀N155 Z-24 进刀N160 X31 切槽N165 X26 退刀N170 G0Z100N175 X100 退刀N180 M5 主轴停转N185 M0 程序暂停N190 S1000M3T0505 转速1000r/mim,换5号内螺纹刀N195 G0X26N200 Z3 快进到内螺纹复合循环起刀点N205 G76P10160Q80R0.1 内螺纹复合循环P10160:1精加工次数1次,01:螺纹尾部斜向倒角量0.1个导程,60:刀尖角度60,Q:螺纹最小切削深度0.08mm,R:精加工余量0.1 mmN210 G76X30.05Z-20.5R0P930Q350F1.5 X:有效螺纹终点X坐标,Z:有效螺纹终点Z坐标,R:螺纹半径差,P:螺纹牙高度单边0.93 mm,Q:第一次切削深度单边0.35 mm,F:螺纹导程1.5 mmN215 G0Z100N220 X50 退刀N225 M5 主轴停转N230 M0 程序暂停N235 T0101S800M3F150 转速800r/mim,进给150mm/mim换1号93度菱形外圆车刀N240 G0X51Z2 快进N245 #150=50 设置最大切削余量50mmN250 IF[ #150 LT 1] GOTO270 毛坯余量小于1,则跳转到N270程序段N255 M98 P0006 调用椭圆子程序N260 #150=#150-2 每次切深双边2mmN265 GOTO250 跳转到N250程序段N270 G0X100Z50 退刀N275 M5 主轴停转N280 M30 程序停止O0006 椭圆子程序N5 #101=40 长半轴N10 #102=24 短半轴N15 #103=8 Z轴起始尺寸N20 IF[ #103 LT -30] GOTO50 判断是否走到Z轴终点,是则跳到N50程序段N25 #104=SQRT[#101*#101-#103*#103]N30 #105=24*#104/40 X轴变量N35 G1X[2*#105+#150]Z[#103-8] 椭圆插补N40 #103=#103-0.5 Z轴步距,每次0.5N45 GOTO20 跳转到N20程序段N50 W-1N55 G0U20N60 Z2 退回起点N65 M99 子程序结束精车椭圆加工程序:O0007 主程序名N5 G99 转进给N10 G50S2500 限定主轴最高转速2500r/mimN15 T0101S1500M3F0.06 转速1500r/mim,换1号93度菱形外圆车刀N20 G0G42X5Z2 快进,引入半径补偿N25 G96S120 规定恒线速度120m/minN30 #101=40 长半轴N35 #102=24 短半轴N40 #103=40 Z轴起始尺寸N45 IF[#103 LT–30] GOTO75 判断是否走到Z轴终点,是则跳到N75程序段N50 #104=SQRT[#101*#101-#103*#103]N55 #105=24*#104/40 X轴变量N60 G1X[2*#105]Z[#103-40] 椭圆插补N65 #103=#103-0.5 Z轴步距,每次0.5mmN70 GOTO45 跳转到N45程序段N75 W-1N80 G40G0U25 退刀,撤消半径补偿N85 G97S600 撤消恒线速,转速600转N90 Z2 退回起点N95 M5 主轴停转N100 M30 程序停止。
数控变成分为手工变成和自动变成。
手工编程是由人工完成刀具轨迹计算及加工程序的编制工作。
自动变成是利用计算机通过自动变成软件完成对刀具运动轨迹的计算。
这两种编程方法的优势,手动编程方便、经济,自动编程则精度较高。
对于一些复杂零件来说,由于其加工工艺繁琐,需要的程序较多,因此可以选择手工和自动编程编制。
一、具体编程方法(1)手工编程手工编程就是指数控编程内容的工作全部由人工完成。
对加工形状较简单的工件,其计算量小,程序短,手工编程快捷、简单。
对形状复杂的工件采用手工编程有一定的难度,有时甚至无法实现。
一般来说,由直线和圆弧组成的工件轮廓采用手工编程,非圆曲线、列表曲线组成的轮廓采用自动编程。
(2)自动编程自动编程使用计算机进行数控机床程序编制工作,即由计算机自动地进行数值计算,编写零件加工程序单,自动地打印输出加工程序单,并将程序记录到穿孔纸带上或其他的数控介质上。
二、复杂零件的自动编程(1)启动NX6.0。
双击UGNX6.0的图标,进入UGNX6.0界面。
(2)打开模型文件。
在主菜单中选择【文件】—【打开】命令,在系统自动弹出的“打开”对话框中选择正确的路径和文件名,单击“OK”按钮,打开零件模型。
(3)进入加工模块。
点击【开始】—【加工】命令,然后在【加工环境】中的“要创建的CAM设置”中选择“mill_contour”,点击“确定”,进入加工模块。
(4)工件原点坐标系的设置点击屏幕右下角【几何视图】,屏幕会弹出【操作导航器-几何】对话框,双击【MCS_MILL】,对话框”按钮,在【机床坐标系】中的下拉菜单中选择“自动判断”,鼠标单击工件凸台上表面。
在【间隙】对话框的【安全设置选项】下拉菜单中选择“平面”,点击“指定平面”图标,鼠标点击工件凸台上表面,在“偏置”中输入10,点击“确定”。
复杂加工零件加工工艺与程序设计摘要:本课题主要是针对典型零件的加工工艺,通过对零件进行工艺的分析和比较,最终确定工艺路线。
该课题从产品结构工艺性,具体零件结构出发,对零件的材料选择、零件结构的分析、工艺路线的确定、设备的选用、选择合理的刀具和切削工艺参数、编制数控加工程序、都有详细的设计,同时并简单的编制了零件的加工工艺。
通过整个设计过程表明该零件能够达到所要求的加工工艺。
根据题目设计的主要任务是典型零件的加工工艺与分析。
也就是设计一个零件工艺路线,以实现自动化提高产量。
针对零件的具体结构,该零件是3件配合零件。
通过零件设计表明该零件能达到质量和加工工艺的要求。
关键词:复杂零件工艺程序设计第1章装配图分析此设计课题是一个装配体(装配图见图 2.1),主要由底座、轴套、凸轮轴、叶轮轴组成。
轴套是此装配体中的核心零件,它与其它三件相互配合,同时各零件间也相互配合,相互牵连。
轴套的加工精度直接制约着装配的精度。
底座上有4个销钉孔用来固定底座,起固定作用。
此装配体各零件由四个部分组成,我本次所设计加工的零件是轴套车削部分。
其具体工艺设计见第2章。
图1.1装配图第2章轴套加工工艺设计2.1 零件图分析2.1.1 结构特点图2.1零件图1.图2.1为较复杂的轴套类零件,该零件由内、外圆柱表面、斜面、圆弧、平面等表面组成。
其中多个直径尺寸与轴向尺寸有较高的尺寸精度和表面粗糙度要求。
该零件中间有一长槽,并在该曲面上铣出一对称平面,在平面上铣一对称的柱形孔。
该轴套内装有叶轮轴和凸轮轴,叶轮轴和凸轮轴装配体在轴套内旋转应灵活,所以要求较高的同轴度,故需要夹具装夹。
在这零件上,有多个直径尺寸与轴向尺寸有较高的尺寸精度和表面粗糙度要求,零件尺寸标注完整,符合数控加工尺寸标注要求;轮廓描述清楚完整;零件材料为45号钢,加工切削性能较好,无热处理和硬度要求。
通过上述分析,采取以下几点工艺措施:①零件图样上带公差的尺寸因公差值较小,故编程时必取其平均值。
机械零件加工工时计算公式机械零件加工工时计算是制定有效的生产计划和工艺流程的重要环节之一、合理地计算机械零件加工工时可以预测出产量、确定生产周期和制定零件所需资源等,对于提高生产效率和质量管理非常重要。
下面将介绍几种常用的机械零件加工工时计算公式。
一、最基本的机械零件加工工时计算公式为:T=K×N其中,T为机械零件加工工时,单位为小时;K为加工零件的单位工时,单位为小时/个;N为加工零件数量,单位为个。
这个公式比较简单,适用于同类型零件的加工,且加工工时基本一致的情况。
但实际情况中,不同零件的加工工时会有较大的差异,这就需要考虑其他因素。
二、当考虑多个因素时,可以使用如下公式进行加工工时的计算:T=∑(mi×ti)其中,T为机械零件加工工时,单位为小时;mi为加工零件中第i个工序的单位工时,单位为小时/个;ti为加工零件中第i个工序的加工次数,单位为个。
这个公式比较适用于多工序、多工艺的加工过程。
根据实际情况,将加工过程分解成多个工序,计算每个工序的加工工时,并求和得到总的加工工时。
三、对于复杂机械零件的加工,可以使用如下公式:T=∑(αi×mi×ti)其中,T为机械零件加工工时,单位为小时;αi为加工零件中第i 个工序的调整系数,考虑到该工序加工的复杂程度,取值一般在0.8~1.2之间;mi为加工零件中第i个工序的单位工时,单位为小时/个;ti为加工零件中第i个工序的加工次数,单位为个。
这个公式更为精细地考虑了不同工序的复杂程度对加工工时的影响。
通过调整系数αi,可以根据实际情况对不同工序的难易程度进行量化,更准确地计算加工工时。
除了以上的几种常用的加工工时计算公式,实际情况中还需要考虑其他因素,如加工人员的技术水平、设备的性能等。
可以根据实际情况进行调整和修正,制定出适合企业自身的机械零件加工工时计算公式。
复杂零件的车削加工工艺技巧一、判断题1.定位误差是由于夹具定位元件制造不准确所造成的加工误差。
答案:错2.普通车床导轨在垂直面内的直线度误差对加工精度影响不大。
答案:对3.车削具有圆度误差的毛坯时,由于“误差复映”而使工件产生与毛坯同样大小的圆度误差。
答案:错4.假若一批工件加工尺寸的实际分布与正态分布基本相符,则其分布曲线的位置和形状都受加工系统中的常值系统误差的影响。
答案:错5.零件表面粗糙度值越小,其耐磨性越好。
答案:错6.滚压加工能使工件表面金属组织细化,形成压缩残余应力。
答案:对7.固定调整法采用改变调整件的相对位置来保证装配精度。
答案:错8.采用互换装配时,选择的协调环不能为标准件或公共环。
答案:对9.粗糙表面易被腐蚀。
答案:对10.工件表面残余应力的数值及性质一般取决于工件最终工序的加工方法。
答案:对11.附加基准是起辅助定位作用的基准。
答案:错12.孔的直径公差,如果按“入体原则”标注,则其下偏差为零。
答案:对13.遵守“基准统一”原则,可以避免产生基准不重合误差。
答案:错14.对于平面磨床,床身导轨在垂直面的直线度要求应该高于水平平面内的直线度要求。
答案:对15.加工丝杠时常采用弹性或液压尾顶尖,是为了避免工件受热伸长而产生弯曲变形。
答案:对16.如果工艺过程稳定,则加工中就不会出现废品。
答案:错17.定位支承点不超过六个,就不会出现过定位。
答案:错18.一般来说,夹具误差对加工表面的位置误差影响最大。
答案:对19.工件的内应力不影响加工精度。
答案:错20.加工误差的点图分析法可用于估算加工过程中的合格率和不合格率1.不完全定位在机械加工定位方案中是不允许出现的。
答案:错2.有色金属的精加工不宜采用磨削加工。
答案:对3.过定位和欠定位在机械加工定位方案中是不允许出现的。
答案:错4.淬火一般安排在磨削加工之前进行。
答案:对5.工件一旦夹紧,则它的六个自由度就全被限制了。
答案:错6.在大量生产中,单件工时定额可忽略准备与终结时间答案:对7.中批生产中,机械加工工艺规程多采用机械加工工序卡片的形式。
精密零件加工工艺流程
《精密零件加工工艺流程》
精密零件加工是一项非常精细并且需要高度专业技能的工艺,它涉及到复杂的机械加工和精密加工技术。
精密零件加工工艺流程通常包括以下几个步骤:
1. 设计和规划:在开始加工之前,工程师需要对零件进行设计和规划。
这包括确定材料、尺寸、形状和加工工艺等。
设计和规划阶段的质量将直接影响到后续加工的效果。
2. 材料准备:选取适合的材料,并进行材料切割、车削、铣削等预加工工艺,将材料加工成符合要求的形状和尺寸。
3. 精密加工:精密零件加工通常需要高精度的机床和工具。
根据设计要求,通过车削、铣削、钻孔等工艺,将原始材料加工成最终要求的形状和尺寸。
4. 精度检验:在加工完成后,需要对零件进行精度检验。
这通常包括尺寸、形状、表面光洁度等多方面指标的检测。
只有符合要求的零件才能被用于下一步。
5. 表面处理:一些精密零件需要进行表面处理,如打磨、喷涂、电镀等工艺,以提高零件的表面质量和防腐蚀性能。
6. 装配和调试:最后,根据实际需求,将加工好的零件进行装配并进行调试。
只有保证零件在实际使用中的稳定性和可靠性,
才算完成了整个加工工艺流程。
需要注意的是,精密零件加工要求加工精度高、表面质量好,要求工艺过程中的所有细节都要考虑到位。
任何一个环节的失误都可能导致整个工艺流程的失败,因此需要高度的专业技能和经验。
1五轴数控加工简介复杂曲面零件作为数字化制造的主要研究对象之一,在航空、航天、能源和国防等领域中有着广泛的应用,其制造水平代表着一个国家制造业的核心竞争力。
复杂曲面零件往往具有形状和结构复杂、质量要求高等难点,是五轴数控加工的典型研究对象。
当前,复杂曲面零件主要包括轮盘类零件、航空结构件以及火箭贮箱壁板等,如图1所示。
轮盘类零件是发动机完成对气体的压缩和膨胀的关键部件,主要包括整体叶盘类零件和叶片类零件。
整体叶盘类零件的叶展长、叶片薄且扭曲度大,叶片间的通道深且窄,开敞性差,零件材料多为钛合金、高温合金等难加工材料,因此零件加工制造困难。
叶片是一种特殊的零件,数量多、形状复杂、要求高、加工难度大且故障多发,一图1复杂曲面零件直以来都是各发动机厂生产的关键。
航空整体结构件由整块大型毛坯直接加工而成,在刚度、抗疲劳强度以及各种失稳临界值等方面均比铆接结构胜出一筹,但由于其具有尺寸大、材料去除率大、结构复杂、刚性差等缺点,因此加工后会产生弯扭组合等加工变形。
随着新一代大型运载火箭设计要求的提高,为保证火箭的可靠性,并减轻结构质量,提高有效载荷,对火箭贮箱壁板网格壁厚精度和根部圆弧过渡尺寸都提出了更严格的要求。
五轴数控铣削加工具有高可达性、高效率和高精度等优势,是加工大型与异型复杂零件的重要手段。
五轴数控机床在3个平动轴的基础上增加了2个转动轴,不但可以使刀具相对于工件的位置任意可控,而且刀具轴线相对于工件的方向也在一定的范围内任意可控。
五轴数控加工的主要优势包括:①提高刀具可达性。
通过改变刀具方向可以提高刀具可达性,实现叶轮、叶片和螺旋桨等复杂曲面零件的数控加工。
②缩短刀具悬伸长度。
通过选择合理刀具方向可以在避开干涉的同时使用更短的刀具,提高铣削系统的刚度,改善数控加工中的动态特性,提高加工效率和加工质量。
③可用高效加工刀具。
通过调整刀轴方向能够更好地匹配刀具与工件曲面,增加有效切宽,实现零件的高效加工。
五轴典型的加工案例
五轴加工是数控加工技术中的一种高级加工方式,可以完成复杂形状
的加工任务。
以下列举了五轴加工的一些典型案例。
1.航空零部件加工:
五轴加工在航空零部件加工中得到了广泛应用。
例如,飞机发动机的
涡轮叶片、涡轮盘等复杂形状部件的加工。
五轴加工可以在一次夹持中完
成多个面的加工,减少零部件的夹持次数,提高加工精度和效率。
2.模具加工:
五轴加工在模具加工领域也有重要应用。
传统的模具加工方式需要多
次夹持和调整工件位置,而五轴加工可以通过工件的旋转和倾斜,使刀具
能够更自由地进入难以到达的角度,从而提高加工精度和效率。
3.医疗器械加工:
五轴加工在医疗器械加工领域也具有广泛的应用。
例如,人工关节的
加工中,五轴加工可以将刀具沿关节表面旋转和倾斜,使得关节表面得到
更好的加工质量和适配性。
4.船舶零部件加工:
五轴加工在船舶零部件加工中有重要作用。
例如,船舶螺旋桨的加工,五轴加工可以通过刀具的旋转和倾斜,使刀具能够更好地机械切削螺旋桨
的复杂表面,并提高螺旋桨的加工质量和效率。
5.汽车零部件加工:
五轴加工在汽车零部件加工中也得到广泛应用。
例如,汽车车身的冲压模具加工,五轴加工可以使刀具在模具表面的各个角度进行切削,使模具内部空腔的加工更加准确和高效。
总之,五轴加工的典型案例涵盖了航空、模具、医疗器械、船舶和汽车等多个领域。
这些案例体现了五轴加工在实际应用中的重要性和优势,通过五轴加工,可以实现复杂形状零部件的高精度、高效率的加工。
复杂零件加工工艺的优化与成本控制
一、工艺优化
1.增加自动化程度:采用自动化设备和工艺流程,能够提高生产效率,降低人力成本,并且减少操作工人的失误带来的质量问题。
2.优化刀具选择:根据加工要求和工件材料,选择合适的切削刃数、
刀具材质和刀具类型等,能够提高加工质量和生产效率,并降低刀具磨损
和更换频率。
3.优化加工工序:通过合理的加工工序选择和制定加工方案,减少不
必要的工序,提高生产效率和降低生产成本。
4.优化夹持方式:合理选择夹具和夹具布置方案,保证工件加工的稳
定性和精度,避免夹持装置对工件的损伤,提高工件的成品率和加工效率。
5.优化设备配置:根据加工需求选择适当的加工设备,提高设备的利
用率和生产效率,尽量避免设备的闲置和浪费。
二、成本控制
1.节约原材料:通过合理的工艺设计和优化加工工序,减少废品率和
损耗率,最大限度地利用原材料,降低生产成本。
2.严格控制加工误差:通过精密的加工控制和质量管理,尽量避免加
工误差和不合格品的产生,减少返工和废品的成本。
3.降低能源消耗:采用节能设备和工艺,优化能源利用和消耗,减少
能源成本。
4.精细化管理:通过信息化和数据化管理手段,实施生产过程的精细
化管理和监控,提高生产效率和质量稳定性,降低管理成本。
5.管理措施:加强对人员素质的培训和管理,提高员工的技能水平和
工作效率,减少人力成本。
综上所述,复杂零件加工工艺的优化与成本控制需要通过工艺优化和
成本控制相结合的方法来实现。
只有通过不断优化加工工艺,提高生产效
率和质量稳定性,降低生产成本,才能够满足市场需求,提升企业竞争力。
精密复杂零件数控加工在线检测误差补偿研究发布时间:2021-09-06T11:23:55.217Z 来源:《科学与技术》2021年4月11期作者:王晓庆[导读] 精密复杂零件制造是一个国家制造业水平的集中体现。
随着王晓庆航空工业哈尔滨飞机工业集团有限责任公司黑龙江省哈尔滨市 150000摘要:精密复杂零件制造是一个国家制造业水平的集中体现。
随着我国数控加工技术的飞速发展,对在线检测技术提出了更高要求。
本文详细论述了精密复杂零件数控加工在线检测误差补偿。
关键词:精密复杂零件;数控加工;在线检测;误差补偿随着现代技术的高速发展,机械制造行业零件形状越来越复杂,且零件的质量问题是在机械制造业中急需解决的问题。
零件的加工误差评定和误差补偿技术是零件质量的关键问题。
由于传统离线方案利用三坐标测量机(CMM)对零件进行检测,存在二次装夹误差问题,以及大型零件难以实现检测和评价的技术难题,在线检测方案应时而生,在加工制造业中应用较广泛。
一、数控加工技术的特点数控加工的基本含义较模糊,一般只要是在数控机床上进行的零件加工,均可归入到数控加工领域。
数控机床控制通过计算机实现,使机械生产过程中“人”的影响降到最低,用于实现这个控制过程的计算机被称作数控系统,数控系统能根据基本程序控制数控机床的运动,其基本程序是程序员在深入研究工件材质、机床性能、加工需要等问题后,联系系统指令格式编制而成。
系统的输出指令一般需要包括机床和主轴的启停指令、主轴的旋转及转速控制指令、进给运动控制指令、刀具更换及运动指令等。
1、精度高。
因采用了计算机插补技术,即便是机床各部件存在着一定误差,也能通过及时的反馈,修正这一误差,从而实现高精度加工。
2、加工速度快。
数控加工工序集中,自动化程度高,同一批零件许多工序都能在同一台机床上进行加工,不仅省去了频繁编写程序的麻烦,且不会出现人为误差,工序集中后,省去了繁杂的零件装卸工序,有效提升了加工速度。